| Key Data Set Information | |
| Location | KR |
| Geographical representativeness description | Republic of Korea |
| Reference year | 2021 |
| Name |
Base name
; Mix and location types
Gasoline; Production mix, at plant
|
| Classification |
Class name
:
Hierarchy level
|
| General comment on data set | The dataset represents the gasoline, production mix in Korea. It is based on the models created for the Korea EPD database by Korea Environmental Industry & technology Insutiture(KEITI). The data is based on industry data supplied by companies which have representative technology and thus reflecting the realtity in gasoline, production mix. The foreground data have been combined with LCI models integrating Korea LCI dataset and Ecoinvent v3.8 & Sphera on energy supply systems, ancillary processes and materials as background data. Therefore, the data set covers all relevant process steps / technologies over the supply chain of the represented "cradle to gate" inventory. |
| Copyright | Yes |
| Owner of data set | |
| Quantitative reference | |
| Reference flow(s) |
|
| Time representativeness | |
| Data set valid until | 2024 |
| Time representativeness description | Annual data (2020) |
| Technological representativeness | |
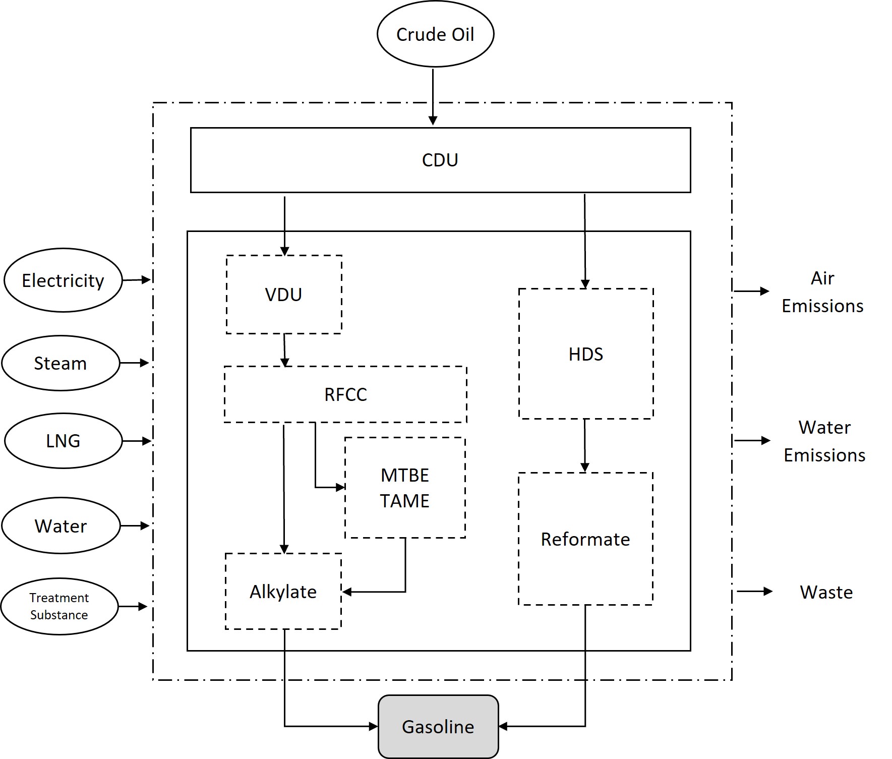
| Technology description including background system | This dataset represents the production of gasoline by refinery |
| Included data sets | |
| Flow diagram(s) or picture(s) | |
| LCI method and allocation | |||||||||||||||||||||||||
| Type of data set | LCI result | ||||||||||||||||||||||||
| LCI Method Principle | Attributional | ||||||||||||||||||||||||
| LCI method approaches |
| ||||||||||||||||||||||||
| Data sources, treatment and representativeness | |||||||||||||||||||||||||
| Data cut-off and completeness principles | No cut-off criteria | ||||||||||||||||||||||||
| Data selection and combination principles | Spefic data(questionnaire or survey) | ||||||||||||||||||||||||
| Data treatment and extrapolations principles | Vertical aggregation | ||||||||||||||||||||||||
| Percentage supply or production covered | 100.0 % | ||||||||||||||||||||||||
| Data collection period | 2020.11~2021.02 | ||||||||||||||||||||||||
| Completeness | |||||||||||||||||||||||||
| Completeness of product model | No statement | ||||||||||||||||||||||||
| Supported impact assessment methods | |||||||||||||||||||||||||
| Completeness elementary flows, per topic |
| ||||||||||||||||||||||||
| Validation | |||||||||||||||||||||||||
| |||||||||||||||||||||||||
| Data generator | |
| Data set generator / modeller | |
| Data entry by | |
| Time stamp (last saved) | 2024-08-22T16:01:42.000 |
| Data set format(s) | |
| Data entry by | |
| Publication and ownership | |
| UUID | c6a62851-83b8-41c5-8e5d-aba03b2b3332 |
| Date of last revision | 2024-08-22T16:01:42.000 |
| Data set version | 00.00.001 |
| Workflow and publication status | Working draft |
| Registration authority | |
| Owner of data set | |
| Copyright | Yes |
| License type | Free of charge for all users and uses |
Inputs
| Type of flow | Classification | Flow | Mean amount | Resulting amount | Minimum amount | Maximum amount |
|---|---|---|---|---|---|---|
| Elementary flow | Land use / Land occupation | 4.94754574771419E-6 m2*a | 4.94754574771419E-6 m2*a | |||
| Elementary flow | Resources / Resources from water / Renewable material resources from water | 1.1938883110214E-5 m3 | 1.1938883110214E-5 m3 | |||
| Elementary flow | Land use / Land transformation | 3.62759863876455E-16 m2 | 3.62759863876455E-16 m2 | |||
| Elementary flow | Resources / Resources from water / Renewable material resources from water | 2.22364331136918E-9 m3 | 2.22364331136918E-9 m3 | |||
| Elementary flow | Land use / Land transformation | 4.82512279852153E-11 m2 | 4.82512279852153E-11 m2 | |||
| Elementary flow | Land use / Land occupation | 6.44832582476382E-11 m2*a | 6.44832582476382E-11 m2*a | |||
| Elementary flow | Land use / Land transformation | 1.79417530731692E-9 m2 | 1.79417530731692E-9 m2 | |||
| Elementary flow | Land use / Land occupation | 7.85698907804223E-9 m2*a | 7.85698907804223E-9 m2*a | |||
| Elementary flow | Land use / Land transformation | 2.77728051679228E-6 m2 | 2.77728051679228E-6 m2 | |||
| Elementary flow | Land use / Land transformation | 7.34319982914543E-18 m2 | 7.34319982914543E-18 m2 | |||
| Elementary flow | Land use / Land transformation | 7.75324613424277E-11 m2 | 7.75324613424277E-11 m2 | |||
| Elementary flow | Land use / Land transformation | 6.80275562907934E-9 m2 | 6.80275562907934E-9 m2 | |||
| Elementary flow | Resources / Resources from ground / Non-renewable element resources from ground | 2.14209511444418E-9 kg | 2.14209511444418E-9 kg | |||
| Elementary flow | Land use / Land transformation | 1.14765260207196E-12 m2 | 1.14765260207196E-12 m2 | |||
| Elementary flow | Land use / Land transformation | 1.6203579730174E-29 m2 | 1.6203579730174E-29 m2 | |||
| Elementary flow | Land use / Land transformation | 1.14272634512321E-13 m2 | 1.14272634512321E-13 m2 | |||
| Elementary flow | Land use / Land transformation | 7.42122281917215E-6 m2 | 7.42122281917215E-6 m2 | |||
| Elementary flow | Land use / Land occupation | 1.05092389719308E-9 m2*a | 1.05092389719308E-9 m2*a | |||
| Elementary flow | Land use / Land transformation | 4.46455371166693E-11 m2 | 4.46455371166693E-11 m2 | |||
| Elementary flow | Resources / Resources from water / Renewable energy resources from water | 5.16255371641621E-14 MJ | 5.16255371641621E-14 MJ | |||
| Elementary flow | Land use / Land transformation | 7.35097072016423E-14 m2 | 7.35097072016423E-14 m2 | |||
| Elementary flow | Land use / Land occupation | 4.09890864936535E-6 m2*a | 4.09890864936535E-6 m2*a | |||
| Elementary flow | Resources / Resources from water / Renewable energy resources from water | 0.1801745730493029 MJ | 0.1801745730493029 MJ | |||
| Elementary flow | Resources / Resources from ground / Non-renewable element resources from ground | 2.1870355794497643E-7 kg | 2.1870355794497643E-7 kg | |||
| Elementary flow | Resources / Resources from ground / Non-renewable material resources from ground | 0.28301496738205123 kg | 0.28301496738205123 kg | |||
| Elementary flow | Land use / Land transformation | 3.87944672528838E-11 m2 | 3.87944672528838E-11 m2 | |||
| Elementary flow | Land use / Land transformation | 4.52032380095036E-11 m2 | 4.52032380095036E-11 m2 | |||
| Elementary flow | Land use / Land transformation | 4.94754574772091E-6 m2 | 4.94754574772091E-6 m2 | |||
| Elementary flow | Land use / Land transformation | 3.62759863876455E-16 m2 | 3.62759863876455E-16 m2 | |||
| Elementary flow | Resources / Resources from water / Renewable material resources from water | 1.0595829437834267E-5 m3 | 1.0595829437834267E-5 m3 | |||
| Elementary flow | Land use / Land transformation | 3.21588317362499E-5 m2 | 3.21588317362499E-5 m2 | |||
| Elementary flow | Land use / Land occupation | 1.39792636860679E-11 m2*a | 1.39792636860679E-11 m2*a | |||
| Elementary flow | Resources / Resources from ground / Non-renewable energy resources from ground | 52.84757296619912 MJ | 52.84757296619912 MJ | |||
| Elementary flow | Land use / Land transformation | 2.14271097829529E-11 m2 | 2.14271097829529E-11 m2 | |||
| Elementary flow | Resources / Resources from ground / Non-renewable material resources from ground | 2.8875255884721E-8 kg | 2.8875255884721E-8 kg | |||
| Elementary flow | Resources / Resources from ground / Renewable material resources from ground | 5.02663898103513E-17 kg | 5.02663898103513E-17 kg | |||
| Elementary flow | Land use / Land transformation | 3.78649412749709E-13 m2 | 3.78649412749709E-13 m2 | |||
| Elementary flow | Land use / Land transformation | 5.04733711944859E-10 m2 | 5.04733711944859E-10 m2 | |||
| Elementary flow | Land use / Land transformation | 1.9903163583806E-15 m2 | 1.9903163583806E-15 m2 | |||
| Elementary flow | Resources / Resources from air / Renewable material resources from air | 0.00744795728566998 kg | 0.00744795728566998 kg | |||
| Elementary flow | Land use / Land occupation | 6.24823423563268E-11 m2*a | 6.24823423563268E-11 m2*a | |||
| Elementary flow | Land use / Land transformation | 7.24868498749005E-7 m2 | 7.24868498749005E-7 m2 | |||
| Elementary flow | Land use / Land occupation | 1.1630924739772E-12 m2*a | 1.1630924739772E-12 m2*a | |||
| Elementary flow | Resources / Resources from water / Renewable material resources from water | 1.16680580662623E-6 m3 | 1.16680580662623E-6 m3 | |||
| Elementary flow | Land use / Land transformation | 1.24242765025785E-12 m2 | 1.24242765025785E-12 m2 | |||
| Elementary flow | Land use / Land occupation | 2.26481443750767E-11 m2*a | 2.26481443750767E-11 m2*a | |||
| Elementary flow | Resources / Resources from ground / Non-renewable element resources from ground | 9.53469160826747E-11 kg | 9.53469160826747E-11 kg | |||
| Elementary flow | Land use / Land transformation | 3.49141420880762E-9 m2 | 3.49141420880762E-9 m2 | |||
| Elementary flow | Land use / Land transformation | 1.59335194647137E-9 m2 | 1.59335194647137E-9 m2 | |||
| Elementary flow | Resources / Resources from ground / Non-renewable element resources from ground | 2.0309352143124175E-5 kg | 2.0309352143124175E-5 kg | |||
| Elementary flow | Resources / Resources from biosphere / Renewable energy resources from biosphere | 0.07020950580696166 MJ | 0.07020950580696166 MJ | |||
| Elementary flow | Land use / Land occupation | 2.16117544050407E-19 m2*a | 2.16117544050407E-19 m2*a | |||
| Elementary flow | Resources / Resources from ground / Non-renewable element resources from ground | 4.50745447377238E-10 kg | 4.50745447377238E-10 kg | |||
| Elementary flow | Resources / Resources from water / Renewable material resources from water | 4.23844681123252E-9 m3 | 4.23844681123252E-9 m3 | |||
| Elementary flow | Land use / Land transformation | 1.30949817967371E-10 m2 | 1.30949817967371E-10 m2 | |||
| Elementary flow | Land use / Land occupation | 9.91943321395922E-11 m2*a | 9.91943321395922E-11 m2*a | |||
| Elementary flow | Land use / Land occupation | 2.52166366344977E-11 m2*a | 2.52166366344977E-11 m2*a | |||
| Elementary flow | Land use / Land occupation | 8.09157198262826E-5 m2*a | 8.09157198262826E-5 m2*a | |||
| Elementary flow | Land use / Land transformation | 9.88113055424351E-17 m2 | 9.88113055424351E-17 m2 | |||
| Elementary flow | Resources / Resources from ground / Non-renewable element resources from ground | 3.0639090203868E-13 kg | 3.0639090203868E-13 kg | |||
| Elementary flow | Land use / Land occupation | 9.62464762532581E-12 m2*a | 9.62464762532581E-12 m2*a | |||
| Elementary flow | Land use / Land transformation | 1.38963535036256E-10 m2 | 1.38963535036256E-10 m2 | |||
| Elementary flow | Resources / Resources from ground / Non-renewable energy resources from ground | 7.910613873543633 MJ | 7.910613873543633 MJ | |||
| Elementary flow | Land use / Land transformation | 4.24836780532905E-13 m2 | 4.24836780532905E-13 m2 | |||
| Elementary flow | Resources / Resources from water / Renewable material resources from water | 1.3515927984456162 m3 | 1.3515927984456162 m3 | |||
| Elementary flow | Resources / Resources from ground / Non-renewable element resources from ground | 2.41347697881263E-4 kg | 2.41347697881263E-4 kg | |||
| Elementary flow | Resources / Resources from ground / Non-renewable material resources from ground | 1.0075817404932E-5 kg | 1.0075817404932E-5 kg | |||
| Elementary flow | Land use / Land transformation | 1.6203579730174E-29 m2 | 1.6203579730174E-29 m2 | |||
| Elementary flow | Resources / Resources from water / Renewable material resources from water | 7.76513899750498E-9 m3 | 7.76513899750498E-9 m3 | |||
| Elementary flow | Resources / Resources from ground / Non-renewable material resources from ground | 0.030524385240073 kg | 0.030524385240073 kg | |||
| Elementary flow | Land use / Land occupation | 1.24812670206686E-10 m2*a | 1.24812670206686E-10 m2*a | |||
| Elementary flow | Land use / Land transformation | 5.17024687448825E-10 m2 | 5.17024687448825E-10 m2 | |||
| Elementary flow | Resources / Resources from water / Renewable material resources from water | 6.10153381960754E-8 m3 | 6.10153381960754E-8 m3 | |||
| Elementary flow | Land use / Land occupation | 1.31596051741185E-4 m2*a | 1.31596051741185E-4 m2*a | |||
| Elementary flow | Land use / Land transformation | 4.10263410993604E-13 m2 | 4.10263410993604E-13 m2 | |||
| Elementary flow | Resources / Resources from ground / Non-renewable material resources from ground | 8.5599036539737E-10 kg | 8.5599036539737E-10 kg | |||
| Elementary flow | Resources / Resources from ground / Non-renewable material resources from ground | 0.00537924295384634 kg | 0.00537924295384634 kg | |||
| Elementary flow | Land use / Land occupation | 4.3646218863853E-4 m2*a | 4.3646218863853E-4 m2*a | |||
| Elementary flow | Land use / Land transformation | 6.88612577464914E-9 m2 | 6.88612577464914E-9 m2 | |||
| Elementary flow | Resources / Resources from air / Renewable element resources from air | 0.0021044509587398 kg | 0.0021044509587398 kg | |||
| Elementary flow | Land use / Land occupation | 3.21588321490902E-5 m2*a | 3.21588321490902E-5 m2*a | |||
| Elementary flow | Land use / Land transformation | 5.38179985355223E-11 m2 | 5.38179985355223E-11 m2 | |||
| Elementary flow | Land use / Land transformation | 3.15728837832786E-12 m2 | 3.15728837832786E-12 m2 | |||
| Elementary flow | Land use / Land occupation | 1.21309773619465E-11 m2*a | 1.21309773619465E-11 m2*a | |||
| Elementary flow | Land use / Land transformation | 8.3005613218949E-11 m2 | 8.3005613218949E-11 m2 | |||
| Elementary flow | Land use / Land transformation | 1.42082339175791E-9 m2 | 1.42082339175791E-9 m2 | |||
| Elementary flow | Land use / Land transformation | 1.72714778432144E-13 m2 | 1.72714778432144E-13 m2 | |||
| Elementary flow | Land use / Land transformation | 1.43583819808277E-11 m2 | 1.43583819808277E-11 m2 | |||
| Elementary flow | Land use / Land transformation | 8.13906505289224E-13 m2 | 8.13906505289224E-13 m2 | |||
| Elementary flow | Resources / Resources from ground / Non-renewable element resources from ground | 5.17552032312418E-14 kg | 5.17552032312418E-14 kg | |||
| Elementary flow | Resources / Resources from water / Renewable material resources from water | 1.78867610514172E-6 m3 | 1.78867610514172E-6 m3 | |||
| Elementary flow | Land use / Land transformation | 3.00897660776122E-11 m2 | 3.00897660776122E-11 m2 | |||
| Elementary flow | Resources / Resources from ground / Non-renewable element resources from ground | 0.00199990122157104 kg | 0.00199990122157104 kg | |||
| Elementary flow | Land use / Land transformation | 4.32418013181356E-10 m2 | 4.32418013181356E-10 m2 | |||
| Elementary flow | Land use / Land transformation | 7.67783377338389E-13 m2 | 7.67783377338389E-13 m2 | |||
| Elementary flow | Land use / Land transformation | 9.84919641463188E-14 m2 | 9.84919641463188E-14 m2 | |||
| Elementary flow | Land use / Land occupation | 2.78028683596858E-11 m2*a | 2.78028683596858E-11 m2*a | |||
| Elementary flow | Land use / Land transformation | 1.6327814312679E-9 m2 | 1.6327814312679E-9 m2 | |||
| Elementary flow | Land use / Land occupation | 3.51674648741602E-8 m2*a | 3.51674648741602E-8 m2*a | |||
| Elementary flow | Land use / Land transformation | 1.42441427791659E-13 m2 | 1.42441427791659E-13 m2 | |||
| Elementary flow | Resources / Resources from water / Renewable material resources from water | 5.88522669799283E-5 m3 | 5.88522669799283E-5 m3 | |||
| Elementary flow | Resources / Resources from water / Renewable material resources from water | 2.89621166595548E-8 m3 | 2.89621166595548E-8 m3 | |||
| Elementary flow | Land use / Land transformation | 1.14272634512321E-13 m2 | 1.14272634512321E-13 m2 | |||
| Elementary flow | Land use / Land occupation | 2.38804994092873E-10 m2*a | 2.38804994092873E-10 m2*a | |||
| Elementary flow | Land use / Land occupation | 2.08885074984421E-10 m2*a | 2.08885074984421E-10 m2*a | |||
| Elementary flow | Resources / Resources from water / Renewable material resources from water | 1.12284797438409E-7 m3 | 1.12284797438409E-7 m3 | |||
| Elementary flow | Land use / Land transformation | 5.01846118415084E-10 m2 | 5.01846118415084E-10 m2 | |||
| Elementary flow | Land use / Land occupation | 3.29538268523424E-11 m2*a | 3.29538268523424E-11 m2*a | |||
| Elementary flow | Land use / Land transformation | 1.5023829731471E-9 m2 | 1.5023829731471E-9 m2 | |||
| Elementary flow | Resources / Resources from water / Renewable material resources from water | 2.67001409052896E-8 m3 | 2.67001409052896E-8 m3 | |||
| Elementary flow | Land use / Land transformation | 1.41680513998769E-13 m2 | 1.41680513998769E-13 m2 | |||
| Elementary flow | Land use / Land transformation | 9.31283771001773E-11 m2 | 9.31283771001773E-11 m2 | |||
| Elementary flow | Land use / Land occupation | 2.0998678055354E-10 m2*a | 2.0998678055354E-10 m2*a | |||
| Elementary flow | Land use / Land transformation | 6.94795302075411E-9 m2 | 6.94795302075411E-9 m2 | |||
| Elementary flow | Resources / Resources from ground / Non-renewable element resources from ground | 2.8022246289000987E-5 kg | 2.8022246289000987E-5 kg | |||
| Elementary flow | Land use / Land transformation | 1.02865692928196E-12 m2 | 1.02865692928196E-12 m2 | |||
| Elementary flow | Land use / Land transformation | 2.46470845197548E-15 m2 | 2.46470845197548E-15 m2 | |||
| Elementary flow | Land use / Land transformation | 2.43580174585707E-12 m2 | 2.43580174585707E-12 m2 | |||
| Elementary flow | Land use / Land transformation | 2.74671346365089E-10 m2 | 2.74671346365089E-10 m2 | |||
| Elementary flow | Land use / Land occupation | 3.28269321257771E-5 m2*a | 3.28269321257771E-5 m2*a | |||
| Elementary flow | Land use / Land transformation | 6.06883345372464E-12 m2 | 6.06883345372464E-12 m2 | |||
| Elementary flow | Land use / Land occupation | 6.52346657777026E-13 m2*a | 6.52346657777026E-13 m2*a | |||
| Elementary flow | Resources / Resources from water / Renewable material resources from water | 8.19648770205889E-10 m3 | 8.19648770205889E-10 m3 | |||
| Elementary flow | Land use / Land occupation | 1.45223192175623E-11 m2*a | 1.45223192175623E-11 m2*a | |||
| Elementary flow | Land use / Land transformation | 1.06407658605134E-9 m2 | 1.06407658605134E-9 m2 | |||
| Elementary flow | Land use / Land transformation | 6.21073673295091E-9 m2 | 6.21073673295091E-9 m2 | |||
| Elementary flow | Resources / Resources from water / Renewable material resources from water | 8.16514713697921E-6 m3 | 8.16514713697921E-6 m3 | |||
| Elementary flow | Land use / Land transformation | 7.12973158525075E-21 m2 | 7.12973158525075E-21 m2 | |||
| Elementary flow | Resources / Resources from water / Renewable material resources from water | 1.52995707683514E-5 m3 | 1.52995707683514E-5 m3 | |||
| Elementary flow | Resources / Resources from water / Renewable material resources from water | 2.46039097794057E-6 m3 | 2.46039097794057E-6 m3 | |||
| Elementary flow | Land use / Land transformation | 5.14296417307885E-12 m2 | 5.14296417307885E-12 m2 | |||
| Elementary flow | Resources / Resources from ground / Non-renewable material resources from ground | 3.43838719895032E-5 kg | 3.43838719895032E-5 kg | |||
| Elementary flow | Land use / Land occupation | 0.00438793849786437 m3*a | 0.00438793849786437 m3*a | |||
| Elementary flow | Land use / Land transformation | 1.5023829731471E-9 m2 | 1.5023829731471E-9 m2 | |||
| Elementary flow | Land use / Land transformation | 1.78879410322388E-10 m2 | 1.78879410322388E-10 m2 | |||
| Elementary flow | Resources / Resources from water / Renewable material resources from water | 4.7777778620377E-4 m3 | 4.7777778620377E-4 m3 | |||
| Elementary flow | Land use / Land transformation | 3.82537387796676E-14 m2 | 3.82537387796676E-14 m2 | |||
| Elementary flow | Land use / Land occupation | 9.52963814594058E-12 m2*a | 9.52963814594058E-12 m2*a | |||
| Elementary flow | Resources / Resources from water / Renewable material resources from water | 0.00720317202044426 m3 | 0.00720317202044426 m3 | |||
| Elementary flow | Land use / Land occupation | 4.09051665624717E-7 m2*a | 4.09051665624717E-7 m2*a | |||
| Elementary flow | Land use / Land transformation | 1.05237823161234E-14 m2 | 1.05237823161234E-14 m2 | |||
| Elementary flow | Land use / Land transformation | 7.36502135611078E-12 m2 | 7.36502135611078E-12 m2 | |||
| Elementary flow | Land use / Land occupation | 1.58142023816576E-15 m2*a | 1.58142023816576E-15 m2*a | |||
| Elementary flow | Land use / Land transformation | 1.45240508760263E-8 m2 | 1.45240508760263E-8 m2 | |||
| Elementary flow | Land use / Land occupation | 1.1980595321658E-9 m2*a | 1.1980595321658E-9 m2*a | |||
| Elementary flow | Land use / Land transformation | 1.3134655636602E-11 m2 | 1.3134655636602E-11 m2 | |||
| Elementary flow | Land use / Land occupation | 1.42539509572377E-10 m2*a | 1.42539509572377E-10 m2*a | |||
| Elementary flow | Resources / Resources from water / Renewable material resources from water | 7.87758946775587E-8 m3 | 7.87758946775587E-8 m3 | |||
| Elementary flow | Resources / Resources from ground / Non-renewable element resources from ground | 9.12880847496953E-8 kg | 9.12880847496953E-8 kg | |||
| Elementary flow | Land use / Land occupation | 4.56334229644086E-10 m2*a | 4.56334229644086E-10 m2*a | |||
| Elementary flow | Resources / Resources from water / Renewable material resources from water | 1.2218146624667898E-4 m3 | 1.2218146624667898E-4 m3 | |||
| Elementary flow | Land use / Land occupation | 7.66608205450607E-12 m2*a | 7.66608205450607E-12 m2*a | |||
| Elementary flow | Resources / Resources from water / Renewable material resources from water | 0.6940979654130619 m3 | 0.6940979654130619 m3 | |||
| Elementary flow | Land use / Land occupation | 1.50233429637819E-7 m2*a | 1.50233429637819E-7 m2*a | |||
| Elementary flow | Land use / Land transformation | 2.14130695452049E-10 m2 | 2.14130695452049E-10 m2 | |||
| Elementary flow | Land use / Land occupation | 3.73190704368276E-6 m2*a | 3.73190704368276E-6 m2*a | |||
| Elementary flow | Resources / Resources from ground / Non-renewable element resources from ground | 1.6818205030872323E-5 kg | 1.6818205030872323E-5 kg | |||
| Elementary flow | Resources / Resources from ground / Non-renewable material resources from ground | 1.626319479919211E-9 kg | 1.626319479919211E-9 kg | |||
| Elementary flow | Land use / Land transformation | 7.38643148011979E-6 m2 | 7.38643148011979E-6 m2 | |||
| Elementary flow | Land use / Land transformation | 7.57063190350138E-11 m2 | 7.57063190350138E-11 m2 | |||
| Elementary flow | Land use / Land transformation | 1.44318065521961E-10 m2 | 1.44318065521961E-10 m2 | |||
| Elementary flow | Land use / Land occupation | 7.60031013421683E-12 m2*a | 7.60031013421683E-12 m2*a | |||
| Elementary flow | Resources / Resources from water / Renewable material resources from water | 1.24827820975726E-6 m3 | 1.24827820975726E-6 m3 | |||
| Elementary flow | Land use / Land occupation | 2.87477420154947E-8 m3 | 2.87477420154947E-8 m3 | |||
| Elementary flow | Resources / Resources from water / Renewable material resources from water | 7.27697115162957E-5 m3 | 7.27697115162957E-5 m3 | |||
| Elementary flow | Land use / Land occupation | 1.92717948549289E-12 m2*a | 1.92717948549289E-12 m2*a | |||
| Elementary flow | Land use / Land transformation | 4.1874621704371E-11 m2 | 4.1874621704371E-11 m2 | |||
| Elementary flow | Land use / Land transformation | 5.42365447739823E-11 m2 | 5.42365447739823E-11 m2 | |||
| Elementary flow | Land use / Land transformation | 9.73925900133894E-9 m2 | 9.73925900133894E-9 m2 | |||
| Elementary flow | Land use / Land transformation | 7.42126905439026E-6 m2 | 7.42126905439026E-6 m2 | |||
| Elementary flow | Land use / Land transformation | 4.80651118584194E-8 m2 | 4.80651118584194E-8 m2 | |||
| Elementary flow | Land use / Land transformation | 1.50559438062322E-13 m2 | 1.50559438062322E-13 m2 | |||
| Elementary flow | Land use / Land transformation | 8.50083083992617E-15 m2 | 8.50083083992617E-15 m2 | |||
| Elementary flow | Land use / Land occupation | 2.12621277079225E-11 m2*a | 2.12621277079225E-11 m2*a | |||
| Elementary flow | Land use / Land transformation | 5.41615655583236E-6 m2 | 5.41615655583236E-6 m2 | |||
| Elementary flow | Land use / Land transformation | 2.46470845197548E-15 m2 | 2.46470845197548E-15 m2 | |||
| Elementary flow | Land use / Land transformation | 3.44596642429376E-9 m2 | 3.44596642429376E-9 m2 | |||
| Elementary flow | Land use / Land transformation | 1.79821759135965E-11 m2 | 1.79821759135965E-11 m2 | |||
| Elementary flow | Land use / Land transformation | 2.50314280901592E-12 m2 | 2.50314280901592E-12 m2 | |||
| Elementary flow | Land use / Land occupation | 5.2764593447793E-9 m2*a | 5.2764593447793E-9 m2*a | |||
| Elementary flow | Land use / Land transformation | 2.79552977677167E-9 m2 | 2.79552977677167E-9 m2 | |||
| Elementary flow | Resources / Resources from water / Renewable material resources from water | 1.02103989145355E-12 m3 | 1.02103989145355E-12 m3 | |||
| Elementary flow | Land use / Land transformation | 3.21587986183211E-5 m2 | 3.21587986183211E-5 m2 | |||
| Elementary flow | Land use / Land transformation | 5.8720846899923E-13 m2 | 5.8720846899923E-13 m2 | |||
| Elementary flow | Land use / Land transformation | 3.14485434996648E-4 m2 | 3.14485434996648E-4 m2 | |||
| Elementary flow | Resources / Resources from water / Renewable material resources from water | 3.571753907803531E-4 m3 | 3.571753907803531E-4 m3 | |||
| Elementary flow | Resources / Resources from ground / Non-renewable element resources from ground | 1.24690484678957E-8 kg | 1.24690484678957E-8 kg | |||
| Elementary flow | Land use / Land transformation | 1.4528748950657E-10 m2 | 1.4528748950657E-10 m2 | |||
| Elementary flow | Resources / Resources from ground / Non-renewable material resources from ground | 1.05603027891905E-5 kg | 1.05603027891905E-5 kg | |||
| Elementary flow | Resources / Resources from ground / Non-renewable element resources from ground | 3.04364568602247E-7 kg | 3.04364568602247E-7 kg | |||
| Elementary flow | Land use / Land transformation | 9.69188608864134E-11 m2 | 9.69188608864134E-11 m2 | |||
| Elementary flow | Land use / Land transformation | 3.61700693397538E-5 m2 | 3.61700693397538E-5 m2 | |||
| Elementary flow | Land use / Land transformation | 2.53366865455895E-10 m2 | 2.53366865455895E-10 m2 | |||
| Elementary flow | Land use / Land transformation | 1.73288568952664E-11 m2 | 1.73288568952664E-11 m2 | |||
| Elementary flow | Land use / Land transformation | 7.34319982914543E-18 m2 | 7.34319982914543E-18 m2 | |||
| Elementary flow | Land use / Land transformation | 2.27113042162404E-12 m2 | 2.27113042162404E-12 m2 | |||
| Elementary flow | Resources / Resources from water / Renewable material resources from water | 8.70794957064461E-10 m3 | 8.70794957064461E-10 m3 | |||
| Elementary flow | Resources / Resources from water / Renewable material resources from water | 3.063512940494324E-4 m3 | 3.063512940494324E-4 m3 | |||
| Elementary flow | Land use / Land transformation | 1.03230174250264E-11 m2 | 1.03230174250264E-11 m2 | |||
| Elementary flow | Land use / Land transformation | 2.15544652721754E-10 m2 | 2.15544652721754E-10 m2 | |||
| Elementary flow | Land use / Land transformation | 4.94754574771419E-6 m2 | 4.94754574771419E-6 m2 | |||
| Elementary flow | Resources / Resources from water / Renewable material resources from water | 1.2746902919354518E-11 m3 | 1.2746902919354518E-11 m3 | |||
| Elementary flow | Resources / Resources from ground / Non-renewable material resources from ground | 1.183765837978999E-15 kg | 1.183765837978999E-15 kg | |||
| Elementary flow | Land use / Land transformation | 7.66256779936136E-8 m2 | 7.66256779936136E-8 m2 | |||
| Elementary flow | Land use / Land transformation | 1.98259754745992E-6 m2 | 1.98259754745992E-6 m2 | |||
| Elementary flow | Land use / Land occupation | 7.59986285416886E-10 m2*a | 7.59986285416886E-10 m2*a | |||
| Elementary flow | Land use / Land transformation | 5.7160561425521E-7 m2 | 5.7160561425521E-7 m2 | |||
| Elementary flow | Land use / Land transformation | 4.07472212296404E-12 m2 | 4.07472212296404E-12 m2 | |||
| Elementary flow | Land use / Land transformation | 8.30070633413321E-14 m2 | 8.30070633413321E-14 m2 | |||
| Elementary flow | Land use / Land transformation | 9.52394048190362E-12 m2 | 9.52394048190362E-12 m2 | |||
| Elementary flow | Resources / Resources from water / Renewable material resources from water | 4.94035239194351E-9 m3 | 4.94035239194351E-9 m3 | |||
| Elementary flow | Resources / Resources from ground / Non-renewable energy resources from ground | 0.3879412853894917 MJ | 0.3879412853894917 MJ | |||
| Elementary flow | Land use / Land transformation | 5.56341823392727E-13 m2 | 5.56341823392727E-13 m2 | |||
| Elementary flow | Land use / Land transformation | 2.00187186597742E-12 m2 | 2.00187186597742E-12 m2 | |||
| Elementary flow | Land use / Land occupation | 1.87478216295746E-11 m2*a | 1.87478216295746E-11 m2*a | |||
| Elementary flow | Land use / Land transformation | 1.79417530731692E-9 m2 | 1.79417530731692E-9 m2 | |||
| Elementary flow | Land use / Land transformation | 5.86393442075728E-7 m2 | 5.86393442075728E-7 m2 | |||
| Elementary flow | Land use / Land transformation | 5.28399597050122E-12 m2 | 5.28399597050122E-12 m2 | |||
| Elementary flow | Resources / Resources from water / Renewable material resources from water | 23.18392185151867 kg | 23.18392185151867 kg | |||
| Elementary flow | Land use / Land occupation | 6.7661298094198E-8 m2*a | 6.7661298094198E-8 m2*a | |||
| Elementary flow | Land use / Land transformation | 1.67645280168923E-10 m2 | 1.67645280168923E-10 m2 | |||
| Elementary flow | Land use / Land transformation | 2.1576979673042E-9 m2 | 2.1576979673042E-9 m2 | |||
| Elementary flow | Land use / Land transformation | 1.65470035677663E-18 m2 | 1.65470035677663E-18 m2 | |||
| Elementary flow | Resources / Resources from water / Renewable material resources from water | 3.697183471692885E-7 m3 | 3.697183471692885E-7 m3 | |||
| Elementary flow | Land use / Land transformation | -6.93829906011352E-16 m2 | -6.93829906011352E-16 m2 | |||
| Elementary flow | Land use / Land occupation | 2.66449612001171E-10 m2*a | 2.66449612001171E-10 m2*a | |||
| Elementary flow | Land use / Land transformation | 4.94754574772091E-6 m2 | 4.94754574772091E-6 m2 | |||
| Elementary flow | Land use / Land transformation | 2.31541621790431E-11 m2 | 2.31541621790431E-11 m2 | |||
| Elementary flow | Resources / Resources from water / Renewable material resources from water | -1.833446998701109E-7 m3 | -1.833446998701109E-7 m3 | |||
| Elementary flow | Land use / Land occupation | 1.82263284521519E-10 m2*a | 1.82263284521519E-10 m2*a | |||
| Elementary flow | Land use / Land transformation | 1.66897118174785E-13 m2 | 1.66897118174785E-13 m2 | |||
| Elementary flow | Land use / Land transformation | 1.59832762214588E-9 m2 | 1.59832762214588E-9 m2 | |||
| Elementary flow | Land use / Land transformation | 6.2086066964959E-4 m2 | 6.2086066964959E-4 m2 | |||
| Elementary flow | Land use / Land occupation | 5.72014085930212E-5 m2*a | 5.72014085930212E-5 m2*a | |||
| Elementary flow | Land use / Land transformation | 2.47376097360894E-6 m2 | 2.47376097360894E-6 m2 | |||
| Elementary flow | Resources / Resources from air / Renewable material resources from air | 2.50915587068199E-4 kg | 2.50915587068199E-4 kg | |||
| Elementary flow | Land use / Land transformation | 1.84182476852586E-5 m2 | 1.84182476852586E-5 m2 | |||
| Elementary flow | Resources / Resources from water / Renewable material resources from water | 1.41942030726514E-9 m3 | 1.41942030726514E-9 m3 | |||
| Elementary flow | Land use / Land transformation | 5.03417992528236E-18 m2 | 5.03417992528236E-18 m2 | |||
| Elementary flow | Land use / Land transformation | 9.61364321053681E-14 m2 | 9.61364321053681E-14 m2 | |||
| Elementary flow | Land use / Land transformation | 5.62404482411161E-12 m2 | 5.62404482411161E-12 m2 | |||
| Elementary flow | Land use / Land transformation | 3.38475591526646E-12 m2 | 3.38475591526646E-12 m2 | |||
| Elementary flow | Resources / Resources from ground / Non-renewable material resources from ground | 6.42182163937046E-6 kg | 6.42182163937046E-6 kg | |||
| Elementary flow | Land use / Land transformation | -8.77968120641706E-14 m2 | -8.77968120641706E-14 m2 | |||
| Elementary flow | Land use / Land transformation | 3.93242603834189E-12 m2 | 3.93242603834189E-12 m2 | |||
| Elementary flow | Resources / Resources from water / Renewable material resources from water | 1.25019505009765E-8 m3 | 1.25019505009765E-8 m3 | |||
| Elementary flow | Land use / Land transformation | 4.24862578375944E-9 m2 | 4.24862578375944E-9 m2 | |||
| Elementary flow | Land use / Land occupation | 5.75639777890882E-12 m2*a | 5.75639777890882E-12 m2*a | |||
| Elementary flow | Resources / Resources from water / Renewable material resources from water | 6.17186528485541E-9 m3 | 6.17186528485541E-9 m3 | |||
| Elementary flow | Land use / Land transformation | 1.59508485252689E-12 m2 | 1.59508485252689E-12 m2 | |||
| Elementary flow | Land use / Land transformation | 2.22637565044166E-5 m2 | 2.22637565044166E-5 m2 | |||
| Elementary flow | Resources / Resources from ground / Non-renewable element resources from ground | 1.18309045486909E-5 kg | 1.18309045486909E-5 kg | |||
| Elementary flow | Land use / Land transformation | 7.8180831536769E-12 m2 | 7.8180831536769E-12 m2 | |||
| Elementary flow | Land use / Land occupation | 4.90987242213234E-5 m2*a | 4.90987242213234E-5 m2*a | |||
| Elementary flow | Land use / Land transformation | 9.83618483729914E-12 m2 | 9.83618483729914E-12 m2 | |||
| Elementary flow | Resources / Resources from ground / Non-renewable element resources from ground | 1.07323460469873E-9 kg | 1.07323460469873E-9 kg | |||
| Elementary flow | Land use / Land occupation | 3.34197511893036E-7 m2*a | 3.34197511893036E-7 m2*a | |||
| Elementary flow | Land use / Land occupation | 6.70742853992269E-11 m2*a | 6.70742853992269E-11 m2*a | |||
| Elementary flow | Land use / Land occupation | 4.1759472421792E-11 m2*a | 4.1759472421792E-11 m2*a | |||
| Elementary flow | Land use / Land transformation | 3.95897725723877E-5 m2 | 3.95897725723877E-5 m2 | |||
| Elementary flow | Land use / Land transformation | 3.78649412749709E-13 m2 | 3.78649412749709E-13 m2 | |||
| Elementary flow | Land use / Land transformation | 3.08235844872599E-12 m2 | 3.08235844872599E-12 m2 | |||
| Elementary flow | Resources / Resources from water / Renewable material resources from water | 1.059092160880683E-6 m3 | 1.059092160880683E-6 m3 | |||
| Elementary flow | Resources / Resources from water / Renewable material resources from water | 9.058396544066838E-6 m3 | 9.058396544066838E-6 m3 | |||
| Elementary flow | Land use / Land transformation | 2.60716851127807E-14 m2 | 2.60716851127807E-14 m2 | |||
| Elementary flow | Land use / Land transformation | 1.05237823161234E-14 m2 | 1.05237823161234E-14 m2 | |||
| Elementary flow | Land use / Land transformation | 2.10513458151996E-11 m2 | 2.10513458151996E-11 m2 | |||
| Elementary flow | Land use / Land occupation | 2.14837657675179E-11 m2*a | 2.14837657675179E-11 m2*a | |||
| Elementary flow | Land use / Land transformation | 1.27006689343977E-21 m2 | 1.27006689343977E-21 m2 | |||
| Elementary flow | Resources / Resources from water / Renewable material resources from water | 9.05446792818952E-8 m3 | 9.05446792818952E-8 m3 | |||
| Elementary flow | Land use / Land transformation | 4.15796302718129E-10 m2 | 4.15796302718129E-10 m2 | |||
| Elementary flow | Resources / Resources from water / Renewable material resources from water | 5.956386354031414E-6 m3 | 5.956386354031414E-6 m3 | |||
| Elementary flow | Land use / Land transformation | 3.19181313998581E-8 m2 | 3.19181313998581E-8 m2 | |||
| Elementary flow | Resources / Resources from water / Renewable material resources from water | 6.1134383764299E-8 m3 | 6.1134383764299E-8 m3 | |||
| Elementary flow | Resources / Resources from water / Renewable material resources from water | 1.0887328505906E-5 m3 | 1.0887328505906E-5 m3 | |||
| Elementary flow | Land use / Land transformation | 1.03510474174836E-11 m2 | 1.03510474174836E-11 m2 | |||
| Elementary flow | Resources / Resources from ground / Non-renewable element resources from ground | 2.5166783866421482E-5 kg | 2.5166783866421482E-5 kg | |||
| Elementary flow | Resources / Resources from water / Renewable material resources from water | 2.307388018066776E-6 m3 | 2.307388018066776E-6 m3 | |||
| Elementary flow | Land use / Land transformation | 4.00502487152348E-11 m2 | 4.00502487152348E-11 m2 | |||
| Elementary flow | Land use / Land transformation | 3.02920079731872E-5 m2 | 3.02920079731872E-5 m2 | |||
| Elementary flow | Land use / Land transformation | 7.74489219274208E-19 m2 | 7.74489219274208E-19 m2 | |||
| Elementary flow | Land use / Land transformation | 4.94750855902766E-6 m2 | 4.94750855902766E-6 m2 | |||
| Elementary flow | Land use / Land occupation | 4.81500068775062E-8 m2*a | 4.81500068775062E-8 m2*a | |||
| Elementary flow | Resources / Resources from water / Renewable material resources from water | 3.4832150934334665E-6 m3 | 3.4832150934334665E-6 m3 | |||
| Elementary flow | Resources / Resources from water / Renewable material resources from water | 8.01673950753059E-4 m3 | 8.01673950753059E-4 m3 | |||
| Elementary flow | Land use / Land transformation | 5.01876096776986E-14 m2 | 5.01876096776986E-14 m2 | |||
| Elementary flow | Land use / Land occupation | 4.44827891408438E-11 m2*a | 4.44827891408438E-11 m2*a | |||
| Elementary flow | Resources / Resources from ground / Non-renewable material resources from ground | 5.32805769405102E-6 kg | 5.32805769405102E-6 kg | |||
| Elementary flow | Land use / Land transformation | 6.59136426728622E-13 m2 | 6.59136426728622E-13 m2 | |||
| Elementary flow | Land use / Land transformation | 5.20909500960998E-11 m2 | 5.20909500960998E-11 m2 | |||
| Elementary flow | Land use / Land occupation | 1.94949470219378E-11 m2*a | 1.94949470219378E-11 m2*a | |||
| Elementary flow | Land use / Land transformation | 2.78721470475713E-12 m2 | 2.78721470475713E-12 m2 | |||
| Elementary flow | Land use / Land occupation | 1.44034242912303E-10 m2*a | 1.44034242912303E-10 m2*a | |||
| Elementary flow | Resources / Resources from ground / Non-renewable element resources from ground | 4.30665446088786E-13 kg | 4.30665446088786E-13 kg | |||
| Elementary flow | Land use / Land transformation | 1.90053294191154E-9 m2 | 1.90053294191154E-9 m2 | |||
| Elementary flow | Land use / Land transformation | 2.78499243170538E-13 m2 | 2.78499243170538E-13 m2 | |||
| Elementary flow | Resources / Resources from water / Renewable material resources from water | 7.26702201061983E-5 m3 | 7.26702201061983E-5 m3 | |||
| Elementary flow | Land use / Land transformation | 7.56814769883769E-15 m2 | 7.56814769883769E-15 m2 | |||
| Elementary flow | Resources / Resources from water / Renewable material resources from water | 3.6206148484412E-6 m3 | 3.6206148484412E-6 m3 | |||
| Elementary flow | Land use / Land occupation | 5.7559896455306E-10 m2*a | 5.7559896455306E-10 m2*a | |||
| Elementary flow | Land use / Land transformation | 2.64966360694798E-8 m2 | 2.64966360694798E-8 m2 | |||
| Elementary flow | Land use / Land transformation | 4.09890864936535E-6 m2 | 4.09890864936535E-6 m2 | |||
| Elementary flow | Resources / Resources from ground / Non-renewable material resources from ground | 0.00676352975783858 kg | 0.00676352975783858 kg | |||
| Elementary flow | Resources / Resources from water / Renewable material resources from water | 1.35286409479674E-9 m3 | 1.35286409479674E-9 m3 | |||
| Elementary flow | Land use / Land occupation | 1.45507010693925E-5 m2*a | 1.45507010693925E-5 m2*a | |||
| Elementary flow | Land use / Land transformation | 5.36655236379189E-5 m2 | 5.36655236379189E-5 m2 | |||
| Elementary flow | Land use / Land occupation | 2.32095579571791E-11 m2*a | 2.32095579571791E-11 m2*a | |||
| Elementary flow | Resources / Resources from water / Renewable material resources from water | 1.998060822453223E-5 m3 | 1.998060822453223E-5 m3 | |||
| Elementary flow | Land use / Land occupation | 2.79385131300533E-9 m2*a | 2.79385131300533E-9 m2*a | |||
| Elementary flow | Land use / Land occupation | 2.32766803517303E-9 m2*a | 2.32766803517303E-9 m2*a | |||
| Elementary flow | Land use / Land transformation | 6.08841195482648E-7 m2 | 6.08841195482648E-7 m2 | |||
| Elementary flow | Resources / Resources from water / Renewable material resources from water | 8.97779353802279E-7 m3 | 8.97779353802279E-7 m3 | |||
| Elementary flow | Land use / Land transformation | 1.53880045586087E-11 m2 | 1.53880045586087E-11 m2 | |||
| Elementary flow | Land use / Land transformation | 1.67205407499028E-11 m2 | 1.67205407499028E-11 m2 | |||
| Elementary flow | Land use / Land occupation | 7.42122281917172E-6 m2*a | 7.42122281917172E-6 m2*a | |||
| Elementary flow | Land use / Land occupation | 6.54726919708476E-7 m2*a | 6.54726919708476E-7 m2*a | |||
| Elementary flow | Land use / Land transformation | 4.38050972738555E-12 m2 | 4.38050972738555E-12 m2 | |||
| Elementary flow | Land use / Land transformation | 5.86354700238476E-7 m2 | 5.86354700238476E-7 m2 | |||
| Elementary flow | Land use / Land transformation | 2.1571692223649E-14 m2 | 2.1571692223649E-14 m2 | |||
| Elementary flow | Land use / Land occupation | 4.05502169171513E-7 m2*a | 4.05502169171513E-7 m2*a | |||
| Elementary flow | Land use / Land occupation | 4.37163167812487E-10 m2*a | 4.37163167812487E-10 m2*a | |||
| Elementary flow | Land use / Land transformation | 5.12520337524674E-15 m2 | 5.12520337524674E-15 m2 | |||
| Elementary flow | Land use / Land transformation | 7.2756008703952E-7 m2 | 7.2756008703952E-7 m2 | |||
| Elementary flow | Land use / Land transformation | 3.11026021603399E-8 m2 | 3.11026021603399E-8 m2 | |||
| Elementary flow | Land use / Land occupation | 3.25036305885288E-5 m2*a | 3.25036305885288E-5 m2*a | |||
| Elementary flow | Land use / Land transformation | 2.5964217865924E-13 m2 | 2.5964217865924E-13 m2 | |||
| Elementary flow | Land use / Land occupation | -4.06018982036271E-14 m2*a | -4.06018982036271E-14 m2*a | |||
| Elementary flow | Land use / Land occupation | 3.00499775493502E-10 m2*a | 3.00499775493502E-10 m2*a | |||
| Elementary flow | Land use / Land transformation | 1.28375185389442E-6 m2 | 1.28375185389442E-6 m2 | |||
| Elementary flow | Land use / Land occupation | 1.03628867059287E-11 m2*a | 1.03628867059287E-11 m2*a | |||
| Elementary flow | Land use / Land transformation | 1.07235286565805E-9 m2 | 1.07235286565805E-9 m2 | |||
| Elementary flow | Resources / Resources from water / Renewable material resources from water | 1.8876976563112453E-5 m3 | 1.8876976563112453E-5 m3 | |||
| Elementary flow | Land use / Land transformation | 8.05131630933292E-7 m2 | 8.05131630933292E-7 m2 | |||
| Elementary flow | Land use / Land transformation | 4.69038337862485E-16 m2 | 4.69038337862485E-16 m2 | |||
| Elementary flow | Land use / Land occupation | 2.31788998616143E-10 m2*a | 2.31788998616143E-10 m2*a | |||
| Elementary flow | Land use / Land transformation | 4.64165405284231E-12 m2 | 4.64165405284231E-12 m2 | |||
| Elementary flow | Resources / Resources from water / Renewable material resources from water | 7.45942195801782E-7 m3 | 7.45942195801782E-7 m3 | |||
| Elementary flow | Land use / Land transformation | 4.46455371166693E-11 m2 | 4.46455371166693E-11 m2 | |||
| Elementary flow | Land use / Land occupation | 6.8655437463656E-12 m2*a | 6.8655437463656E-12 m2*a | |||
| Elementary flow | Resources / Resources from water / Renewable material resources from water | 6.5413487166016E-8 m3 | 6.5413487166016E-8 m3 | |||
| Elementary flow | Land use / Land transformation | 5.27810161705194E-13 m2 | 5.27810161705194E-13 m2 | |||
| Elementary flow | Land use / Land occupation | 2.47376097360894E-6 m2*a | 2.47376097360894E-6 m2*a | |||
| Elementary flow | Land use / Land transformation | 8.13906505289224E-13 m2 | 8.13906505289224E-13 m2 | |||
| Elementary flow | Land use / Land occupation | 4.16968320932223E-9 m2*a | 4.16968320932223E-9 m2*a | |||
| Elementary flow | Land use / Land occupation | 3.2144650730609E-8 m2*a | 3.2144650730609E-8 m2*a | |||
| Elementary flow | Land use / Land transformation | 9.89496185277429E-6 m2 | 9.89496185277429E-6 m2 | |||
| Elementary flow | Land use / Land transformation | 1.18493108994836E-11 m2 | 1.18493108994836E-11 m2 | |||
| Elementary flow | Land use / Land transformation | 1.31596061011151E-4 m2 | 1.31596061011151E-4 m2 | |||
| Elementary flow | Land use / Land occupation | 4.94754574772091E-6 m2*a | 4.94754574772091E-6 m2*a | |||
| Elementary flow | Land use / Land occupation | 5.16834633053966E-8 m2*a | 5.16834633053966E-8 m2*a | |||
| Elementary flow | Resources / Resources from ground / Non-renewable element resources from ground | 8.707603613661087E-5 kg | 8.707603613661087E-5 kg | |||
| Elementary flow | Resources / Resources from ground / Non-renewable element resources from ground | 5.205442690961606E-5 kg | 5.205442690961606E-5 kg | |||
| Elementary flow | Resources / Resources from ground / Non-renewable element resources from ground | 7.11172111604592E-8 kg | 7.11172111604592E-8 kg | |||
| Elementary flow | Land use / Land occupation | 3.25054355478605E-9 m2*a | 3.25054355478605E-9 m2*a | |||
| Elementary flow | Resources / Resources from water / Renewable material resources from water | 7.405428770919653E-5 m3 | 7.405428770919653E-5 m3 | |||
| Elementary flow | Resources / Resources from ground / Non-renewable element resources from ground | 5.44083834665647E-10 kg | 5.44083834665647E-10 kg | |||
| Elementary flow | Land use / Land transformation | 1.25157380884858E-12 m2 | 1.25157380884858E-12 m2 | |||
| Elementary flow | Land use / Land occupation | 1.23513428970455E-13 m2*a | 1.23513428970455E-13 m2*a | |||
| Elementary flow | Land use / Land transformation | 4.94754588838399E-6 m2 | 4.94754588838399E-6 m2 | |||
| Elementary flow | Resources / Resources from ground / Non-renewable element resources from ground | 1.0394926750687016E-5 kg | 1.0394926750687016E-5 kg | |||
| Elementary flow | Land use / Land occupation | 4.41024422462463E-10 m2*a | 4.41024422462463E-10 m2*a | |||
| Elementary flow | Land use / Land transformation | 1.17728423304395E-12 m2 | 1.17728423304395E-12 m2 | |||
| Elementary flow | Resources / Resources from water / Renewable material resources from water | 9.579288221509426E-6 m3 | 9.579288221509426E-6 m3 | |||
| Elementary flow | Resources / Resources from water / Renewable material resources from water | 3.606135100264804E-6 m3 | 3.606135100264804E-6 m3 | |||
| Elementary flow | Resources / Resources from water / Renewable material resources from water | 5.18548787602693E-10 m3 | 5.18548787602693E-10 m3 | |||
| Elementary flow | Land use / Land transformation | 2.39401950695057E-13 m2 | 2.39401950695057E-13 m2 | |||
| Elementary flow | Land use / Land occupation | 5.7160561425521E-7 m2*a | 5.7160561425521E-7 m2*a | |||
| Elementary flow | Land use / Land transformation | 1.9699400991107E-9 m2 | 1.9699400991107E-9 m2 | |||
| Elementary flow | Land use / Land transformation | 9.2628952737031E-12 m2 | 9.2628952737031E-12 m2 | |||
| Elementary flow | Land use / Land occupation | 5.38503236634971E-8 m2*a | 5.38503236634971E-8 m2*a | |||
| Elementary flow | Land use / Land transformation | 1.2473416525755E-12 m2 | 1.2473416525755E-12 m2 | |||
| Elementary flow | Land use / Land transformation | 1.15356509190835E-11 m2 | 1.15356509190835E-11 m2 | |||
| Elementary flow | Land use / Land transformation | 5.24652719263723E-12 m2 | 5.24652719263723E-12 m2 | |||
| Elementary flow | Resources / Resources from water / Renewable material resources from water | 4.24008739917631E-11 m3 | 4.24008739917631E-11 m3 | |||
| Elementary flow | Land use / Land transformation | 6.53282986528932E-12 m2 | 6.53282986528932E-12 m2 | |||
| Elementary flow | Land use / Land transformation | 8.50760116293807E-13 m2 | 8.50760116293807E-13 m2 | |||
| Elementary flow | Land use / Land occupation | 2.67078022955426E-11 m2*a | 2.67078022955426E-11 m2*a | |||
| Elementary flow | Land use / Land transformation | 3.67262710193507E-7 m2 | 3.67262710193507E-7 m2 | |||
| Elementary flow | Land use / Land occupation | 1.19418981502836E-13 m2*a | 1.19418981502836E-13 m2*a | |||
| Elementary flow | Land use / Land transformation | 5.60362603676632E-17 m2 | 5.60362603676632E-17 m2 | |||
| Elementary flow | Land use / Land occupation | 1.84679942498711E-14 m2*a | 1.84679942498711E-14 m2*a | |||
| Elementary flow | Resources / Resources from water / Renewable material resources from water | 2.79115242255437E-6 m3 | 2.79115242255437E-6 m3 | |||
| Elementary flow | Land use / Land occupation | 2.37649855629178E-8 m2*a | 2.37649855629178E-8 m2*a | |||
| Elementary flow | Resources / Resources from water / Renewable material resources from water | 5.506678812194479E-5 m3 | 5.506678812194479E-5 m3 | |||
| Elementary flow | Land use / Land occupation | 1.9399902323994E-10 m2*a | 1.9399902323994E-10 m2*a | |||
| Elementary flow | Land use / Land transformation | 7.21705876035608E-13 m2 | 7.21705876035608E-13 m2 | |||
| Elementary flow | Land use / Land transformation | 3.87944672528838E-11 m2 | 3.87944672528838E-11 m2 | |||
| Elementary flow | Land use / Land transformation | 9.25237176249255E-7 m2 | 9.25237176249255E-7 m2 | |||
| Elementary flow | Land use / Land transformation | 3.58635611462286E-10 m2 | 3.58635611462286E-10 m2 | |||
| Elementary flow | Land use / Land transformation | 4.79970266644746E-12 m2 | 4.79970266644746E-12 m2 | |||
| Elementary flow | Resources / Resources from water / Renewable material resources from water | 1.29949986750461E-7 m3 | 1.29949986750461E-7 m3 | |||
| Elementary flow | Land use / Land transformation | 5.41615655583236E-6 m2 | 5.41615655583236E-6 m2 | |||
| Elementary flow | Land use / Land transformation | 3.18691248964384E-4 m2 | 3.18691248964384E-4 m2 | |||
| Elementary flow | Land use / Land occupation | 8.76528253254163E-10 m2*a | 8.76528253254163E-10 m2*a | |||
| Elementary flow | Land use / Land occupation | 4.21951461740539E-12 m2*a | 4.21951461740539E-12 m2*a | |||
| Elementary flow | Land use / Land transformation | 3.15280178931316E-16 m2 | 3.15280178931316E-16 m2 | |||
| Elementary flow | Land use / Land transformation | 8.77478405685993E-12 m2 | 8.77478405685993E-12 m2 | |||
| Elementary flow | Land use / Land transformation | 1.14272634512321E-13 m2 | 1.14272634512321E-13 m2 | |||
| Elementary flow | Resources / Resources from ground / Non-renewable element resources from ground | 6.0618159219069E-8 kg | 6.0618159219069E-8 kg | |||
| Elementary flow | Land use / Land transformation | 4.88184940786042E-11 m2 | 4.88184940786042E-11 m2 | |||
| Elementary flow | Resources / Resources from ground / Non-renewable element resources from ground | 0.007002587287019576 kg | 0.007002587287019576 kg | |||
| Elementary flow | Land use / Land transformation | 7.15093658403819E-16 m2 | 7.15093658403819E-16 m2 | |||
| Elementary flow | Resources / Resources from ground / Non-renewable element resources from ground | 5.348207142533267E-5 kg | 5.348207142533267E-5 kg | |||
| Elementary flow | Land use / Land occupation | 2.67873222700017E-9 m2*a | 2.67873222700017E-9 m2*a | |||
| Elementary flow | Land use / Land transformation | 8.65824614875148E-13 m2 | 8.65824614875148E-13 m2 | |||
| Elementary flow | Resources / Resources from ground / Non-renewable element resources from ground | 1.0078952368483E-5 kg | 1.0078952368483E-5 kg | |||
| Elementary flow | Land use / Land occupation | 3.04816859767574E-9 m2*a | 3.04816859767574E-9 m2*a | |||
| Elementary flow | Land use / Land occupation | 1.20624430453979E-10 m2*a | 1.20624430453979E-10 m2*a | |||
| Elementary flow | Land use / Land transformation | 7.65500766644204E-14 m2 | 7.65500766644204E-14 m2 | |||
| Elementary flow | Land use / Land transformation | 1.25157380884858E-12 m2 | 1.25157380884858E-12 m2 | |||
| Elementary flow | Land use / Land transformation | 2.44707860424844E-11 m2 | 2.44707860424844E-11 m2 | |||
| Elementary flow | Land use / Land occupation | 7.33381340349086E-11 m2*a | 7.33381340349086E-11 m2*a | |||
| Elementary flow | Land use / Land transformation | 5.14296417307885E-12 m2 | 5.14296417307885E-12 m2 | |||
| Elementary flow | Resources / Resources from water / Renewable material resources from water | 6.56674724228903E-7 m3 | 6.56674724228903E-7 m3 | |||
| Elementary flow | Land use / Land transformation | 4.60670026403033E-14 m2 | 4.60670026403033E-14 m2 | |||
| Elementary flow | Land use / Land occupation | 9.71424792621463E-10 m2*a | 9.71424792621463E-10 m2*a | |||
| Elementary flow | Land use / Land transformation | 1.05237823161234E-14 m2 | 1.05237823161234E-14 m2 | |||
| Elementary flow | Land use / Land occupation | 6.00226417183121E-4 m2*a | 6.00226417183121E-4 m2*a | |||
| Elementary flow | Land use / Land occupation | 3.9307784723558E-11 m2*a | 3.9307784723558E-11 m2*a | |||
| Elementary flow | Land use / Land occupation | 1.50762056838091E-11 m2*a | 1.50762056838091E-11 m2*a | |||
| Elementary flow | Land use / Land transformation | 1.07178883646171E-9 m2 | 1.07178883646171E-9 m2 | |||
| Elementary flow | Land use / Land transformation | 3.28269765247662E-5 m2 | 3.28269765247662E-5 m2 | |||
| Elementary flow | Resources / Resources from ground / Non-renewable material resources from ground | -3.7976217039975033E-8 kg | -3.7976217039975033E-8 kg | |||
| Elementary flow | Land use / Land occupation | 4.38785674156749E-9 m2*a | 4.38785674156749E-9 m2*a | |||
| Elementary flow | Land use / Land occupation | 1.49864916249737E-10 m2*a | 1.49864916249737E-10 m2*a | |||
| Elementary flow | Land use / Land transformation | 4.88127874454934E-11 m2 | 4.88127874454934E-11 m2 | |||
| Elementary flow | Land use / Land transformation | 2.94865413222944E-8 m2 | 2.94865413222944E-8 m2 | |||
| Elementary flow | Land use / Land occupation | 3.32205893858411E-19 m2*a | 3.32205893858411E-19 m2*a | |||
| Elementary flow | Resources / Resources from biosphere / Renewable material resources from biosphere | 3.286865830705015E-6 m3 | 3.286865830705015E-6 m3 | |||
| Elementary flow | Land use / Land transformation | 3.64162316231365E-9 m2 | 3.64162316231365E-9 m2 | |||
| Elementary flow | Land use / Land transformation | 5.28587298734871E-14 m2 | 5.28587298734871E-14 m2 | |||
| Elementary flow | Land use / Land transformation | 9.69362788364774E-13 m2 | 9.69362788364774E-13 m2 | |||
| Elementary flow | Resources / Resources from ground / Non-renewable element resources from ground | 6.4599816837728E-12 kg | 6.4599816837728E-12 kg | |||
| Elementary flow | Land use / Land occupation | 5.81617673018865E-11 m2*a | 5.81617673018865E-11 m2*a | |||
| Elementary flow | Land use / Land transformation | 1.26836474320056E-16 m2 | 1.26836474320056E-16 m2 | |||
| Elementary flow | Land use / Land transformation | 8.2769958531828E-12 m2 | 8.2769958531828E-12 m2 | |||
| Elementary flow | Resources / Resources from water / Renewable material resources from water | 7.42860888924595E-8 m3 | 7.42860888924595E-8 m3 | |||
| Elementary flow | Resources / Resources from water / Renewable material resources from water | 3.64129505697946E-10 m3 | 3.64129505697946E-10 m3 | |||
| Elementary flow | Land use / Land transformation | 7.65500766644204E-14 m2 | 7.65500766644204E-14 m2 | |||
| Elementary flow | Land use / Land transformation | 2.40660645236539E-11 m2 | 2.40660645236539E-11 m2 | |||
| Elementary flow | Land use / Land transformation | 8.09156774482788E-5 m2 | 8.09156774482788E-5 m2 | |||
| Elementary flow | Land use / Land transformation | 1.37846362054122E-16 m2 | 1.37846362054122E-16 m2 | |||
| Elementary flow | Land use / Land occupation | 3.59063782431881E-5 m2*a | 3.59063782431881E-5 m2*a | |||
| Elementary flow | Land use / Land transformation | 8.17536509357901E-14 m2 | 8.17536509357901E-14 m2 | |||
| Elementary flow | Land use / Land occupation | 1.53246439151546E-18 m2*a | 1.53246439151546E-18 m2*a | |||
| Elementary flow | Land use / Land occupation | 4.12915568750299E-10 m2*a | 4.12915568750299E-10 m2*a | |||
| Elementary flow | Land use / Land transformation | 2.42370432923255E-7 m2 | 2.42370432923255E-7 m2 | |||
| Elementary flow | Resources / Resources from water / Renewable material resources from water | 1.16631899575843E-7 m3 | 1.16631899575843E-7 m3 | |||
| Elementary flow | Land use / Land occupation | 2.16460429434293E-9 m2*a | 2.16460429434293E-9 m2*a | |||
| Elementary flow | Land use / Land transformation | 3.91190532014165E-13 m2 | 3.91190532014165E-13 m2 | |||
| Elementary flow | Land use / Land transformation | 2.08021117011144E-12 m2 | 2.08021117011144E-12 m2 | |||
| Elementary flow | Land use / Land occupation | 1.84182476854047E-5 m2*a | 1.84182476854047E-5 m2*a | |||
| Elementary flow | Land use / Land occupation | 9.51387931884344E-14 m2*a | 9.51387931884344E-14 m2*a | |||
| Elementary flow | Land use / Land transformation | 8.52867243488322E-7 m2 | 8.52867243488322E-7 m2 | |||
| Elementary flow | Land use / Land transformation | 1.98259786532666E-6 m2 | 1.98259786532666E-6 m2 | |||
| Elementary flow | Land use / Land transformation | 1.25204584241045E-12 m2 | 1.25204584241045E-12 m2 | |||
| Elementary flow | Resources / Resources from ground / Non-renewable material resources from ground | 1.46161360863045E-18 kg | 1.46161360863045E-18 kg | |||
| Elementary flow | Land use / Land transformation | 1.93848745662866E-14 m2 | 1.93848745662866E-14 m2 | |||
| Elementary flow | Resources / Resources from water / Renewable material resources from water | 0.00672956595625003 m3 | 0.00672956595625003 m3 | |||
| Elementary flow | Resources / Resources from water / Renewable material resources from water | 3.82343289947357E-9 m3 | 3.82343289947357E-9 m3 | |||
| Elementary flow | Land use / Land transformation | 5.12520337524674E-15 m2 | 5.12520337524674E-15 m2 | |||
| Elementary flow | Land use / Land occupation | 8.78795449274433E-11 m2*a | 8.78795449274433E-11 m2*a | |||
| Elementary flow | Land use / Land transformation | 8.97739466444581E-10 m2 | 8.97739466444581E-10 m2 | |||
| Elementary flow | Land use / Land transformation | 6.45336601096477E-11 m2 | 6.45336601096477E-11 m2 | |||
| Elementary flow | Resources / Resources from air / Renewable energy resources from air | 0.0759421139186183 MJ | 0.0759421139186183 MJ | |||
| Elementary flow | Resources / Resources from ground / Non-renewable material resources from ground | 2.4238242464154E-4 kg | 2.4238242464154E-4 kg | |||
| Elementary flow | Land use / Land occupation | 1.33647804023124E-9 m2*a | 1.33647804023124E-9 m2*a | |||
| Elementary flow | Land use / Land occupation | 8.6574378279573E-19 m2*a | 8.6574378279573E-19 m2*a | |||
| Elementary flow | Land use / Land occupation | 1.19039344186056E-10 m2*a | 1.19039344186056E-10 m2*a | |||
| Elementary flow | Resources / Resources from water / Renewable material resources from water | 8.14453580378256E-8 m3 | 8.14453580378256E-8 m3 | |||
| Elementary flow | Land use / Land occupation | 3.51265238518584E-11 m2*a | 3.51265238518584E-11 m2*a | |||
| Elementary flow | Land use / Land transformation | 2.02136901083145E-12 m2 | 2.02136901083145E-12 m2 | |||
| Elementary flow | Resources / Resources from water / Renewable material resources from water | 4.84688502046576E-7 m3 | 4.84688502046576E-7 m3 | |||
| Elementary flow | Resources / Resources from water / Renewable material resources from water | 1.29872349380928E-7 m3 | 1.29872349380928E-7 m3 | |||
| Elementary flow | Resources / Resources from water / Renewable material resources from water | 2.055601320062982E-6 m3 | 2.055601320062982E-6 m3 | |||
| Elementary flow | Land use / Land occupation | 3.09937412237272E-8 m2*a | 3.09937412237272E-8 m2*a | |||
| Elementary flow | Resources / Resources from ground / Non-renewable element resources from ground | 1.06155994248386E-4 kg | 1.06155994248386E-4 kg | |||
| Elementary flow | Land use / Land transformation | 1.45240508760263E-8 m2 | 1.45240508760263E-8 m2 | |||
| Elementary flow | Land use / Land occupation | 1.77392891975324E-7 m2*a | 1.77392891975324E-7 m2*a | |||
| Elementary flow | Land use / Land transformation | 2.92833935672118E-8 m2 | 2.92833935672118E-8 m2 | |||
| Elementary flow | Land use / Land occupation | 5.86643840723854E-7 m2*a | 5.86643840723854E-7 m2*a | |||
| Elementary flow | Land use / Land transformation | 6.1938104677165E-13 m2 | 6.1938104677165E-13 m2 | |||
| Elementary flow | Resources / Resources from ground / Non-renewable energy resources from ground | 1.1052680703127997 MJ | 1.1052680703127997 MJ | |||
| Elementary flow | Resources / Resources from water / Renewable material resources from water | 2.87847231183261E-7 m3 | 2.87847231183261E-7 m3 | |||
| Elementary flow | Land use / Land occupation | 5.41615655583236E-6 m2*a | 5.41615655583236E-6 m2*a | |||
| Elementary flow | Land use / Land transformation | 1.66897118174785E-13 m2 | 1.66897118174785E-13 m2 | |||
| Elementary flow | Land use / Land transformation | 7.35040704104104E-12 m2 | 7.35040704104104E-12 m2 | |||
| Elementary flow | Land use / Land transformation | 4.94242200015306E-12 m2 | 4.94242200015306E-12 m2 | |||
| Elementary flow | Land use / Land occupation | 3.08577850384731E-10 m2*a | 3.08577850384731E-10 m2*a | |||
| Elementary flow | Resources / Resources from ground / Non-renewable element resources from ground | 1.83351374111516E-7 kg | 1.83351374111516E-7 kg | |||
| Elementary flow | Land use / Land occupation | 1.96782580706315E-7 m2*a | 1.96782580706315E-7 m2*a | |||
| Elementary flow | Resources / Resources from water / Renewable material resources from water | 3.2122746099002886E-4 m3 | 3.2122746099002886E-4 m3 | |||
| Elementary flow | Land use / Land transformation | 2.54394991757082E-6 m2 | 2.54394991757082E-6 m2 | |||
| Elementary flow | Land use / Land occupation | 9.03356628373931E-12 m2*a | 9.03356628373931E-12 m2*a | |||
| Elementary flow | Land use / Land transformation | 5.80769083610659E-12 m2 | 5.80769083610659E-12 m2 | |||
| Elementary flow | Resources / Resources from ground / Non-renewable element resources from ground | 7.72775702200715E-10 kg | 7.72775702200715E-10 kg | |||
| Elementary flow | Land use / Land occupation | 4.94750841837131E-6 m2*a | 4.94750841837131E-6 m2*a | |||
| Elementary flow | Resources / Resources from water / Renewable material resources from water | 1.565219158590726E-4 m3 | 1.565219158590726E-4 m3 | |||
| Elementary flow | Land use / Land transformation | 3.99127728175288E-11 m2 | 3.99127728175288E-11 m2 | |||
| Elementary flow | Land use / Land transformation | 2.72981814039473E-11 m2 | 2.72981814039473E-11 m2 | |||
| Elementary flow | Land use / Land transformation | 1.27657082810607E-9 m2 | 1.27657082810607E-9 m2 | |||
| Elementary flow | Land use / Land transformation | 1.43641170417034E-14 m2 | 1.43641170417034E-14 m2 | |||
| Elementary flow | Land use / Land occupation | 1.5023829731471E-9 m2*a | 1.5023829731471E-9 m2*a | |||
| Elementary flow | Land use / Land transformation | 7.42122281917172E-6 m2 | 7.42122281917172E-6 m2 | |||
| Elementary flow | Land use / Land transformation | 1.58564655314058E-15 m2 | 1.58564655314058E-15 m2 | |||
| Elementary flow | Land use / Land occupation | 6.53657501226555E-11 m2*a | 6.53657501226555E-11 m2*a | |||
| Elementary flow | Resources / Resources from ground / Non-renewable material resources from ground | 2.44204319220029E-7 kg | 2.44204319220029E-7 kg | |||
| Elementary flow | Land use / Land transformation | 1.57674389859693E-12 m2 | 1.57674389859693E-12 m2 | |||
| Elementary flow | Land use / Land transformation | 2.53748316115054E-12 m2 | 2.53748316115054E-12 m2 | |||
| Elementary flow | Land use / Land occupation | 1.4098713939397E-6 m2*a | 1.4098713939397E-6 m2*a | |||
| Elementary flow | Land use / Land transformation | 8.97939279312504E-11 m2 | 8.97939279312504E-11 m2 | |||
| Elementary flow | Land use / Land occupation | 3.33805094035637E-11 m2*a | 3.33805094035637E-11 m2*a | |||
| Elementary flow | Land use / Land transformation | 1.37393058963601E-6 m2 | 1.37393058963601E-6 m2 | |||
| Elementary flow | Resources / Resources from ground / Non-renewable material resources from ground | 7.04218324387207E-12 kg | 7.04218324387207E-12 kg | |||
| Elementary flow | Land use / Land occupation | 2.07527559058311E-10 m2*a | 2.07527559058311E-10 m2*a | |||
| Elementary flow | Land use / Land occupation | 5.19494768925089E-11 m2*a | 5.19494768925089E-11 m2*a | |||
| Elementary flow | Land use / Land transformation | 2.07301511881365E-13 m2 | 2.07301511881365E-13 m2 | |||
| Elementary flow | Land use / Land occupation | 4.94754574772091E-6 m2*a | 4.94754574772091E-6 m2*a | |||
| Elementary flow | Land use / Land transformation | 2.69088167694984E-11 m2 | 2.69088167694984E-11 m2 | |||
| Elementary flow | Resources / Resources from water / Renewable material resources from water | 6.84143370351393E-8 m3 | 6.84143370351393E-8 m3 | |||
| Elementary flow | Land use / Land occupation | 4.33023525621366E-11 m2*a | 4.33023525621366E-11 m2*a | |||
| Elementary flow | Resources / Resources from ground / Non-renewable element resources from ground | 1.58528693885406E-7 kg | 1.58528693885406E-7 kg | |||
| Elementary flow | Land use / Land occupation | 8.23183635474909E-10 m2*a | 8.23183635474909E-10 m2*a | |||
| Elementary flow | Land use / Land occupation | 4.58471280847911E-8 m2*a | 4.58471280847911E-8 m2*a | |||
| Elementary flow | Resources / Resources from ground / Non-renewable material resources from ground | 1.2514236140481784E-5 kg | 1.2514236140481784E-5 kg | |||
| Elementary flow | Land use / Land transformation | 5.38179985355223E-11 m2 | 5.38179985355223E-11 m2 | |||
| Elementary flow | Land use / Land occupation | 3.07224916616247E-6 m2*a | 3.07224916616247E-6 m2*a | |||
| Elementary flow | Resources / Resources from water / Renewable material resources from water | 1.033137581526E-4 m3 | 1.033137581526E-4 m3 | |||
| Elementary flow | Land use / Land occupation | 9.85799159162672E-11 m2*a | 9.85799159162672E-11 m2*a | |||
| Elementary flow | Land use / Land transformation | 1.34789309327402E-12 m2 | 1.34789309327402E-12 m2 | |||
| Elementary flow | Land use / Land transformation | 1.68383474184271E-11 m2 | 1.68383474184271E-11 m2 | |||
| Elementary flow | Resources / Resources from ground / Non-renewable element resources from ground | 2.1122001631561E-10 kg | 2.1122001631561E-10 kg | |||
| Elementary flow | Resources / Resources from water / Renewable material resources from water | 1.45709848706856E-9 m3 | 1.45709848706856E-9 m3 | |||
| Elementary flow | Resources / Resources from water / Renewable material resources from water | 5.74494035601388E-7 m3 | 5.74494035601388E-7 m3 | |||
| Elementary flow | Resources / Resources from water / Renewable material resources from water | 9.68219600904422E-4 m3 | 9.68219600904422E-4 m3 | |||
| Elementary flow | Land use / Land occupation | 1.29176603576596E-9 m2*a | 1.29176603576596E-9 m2*a | |||
| Elementary flow | Land use / Land transformation | 1.45840924582934E-8 m2 | 1.45840924582934E-8 m2 | |||
| Elementary flow | Land use / Land occupation | 1.84759838435482E-10 m2*a | 1.84759838435482E-10 m2*a | |||
| Elementary flow | Land use / Land occupation | 6.85635807073924E-12 m2*a | 6.85635807073924E-12 m2*a | |||
| Elementary flow | Land use / Land transformation | 5.38503236634971E-8 m2 | 5.38503236634971E-8 m2 | |||
| Elementary flow | Land use / Land transformation | 1.25157380884858E-12 m2 | 1.25157380884858E-12 m2 | |||
| Elementary flow | Land use / Land transformation | 3.62759863876455E-16 m2 | 3.62759863876455E-16 m2 | |||
| Elementary flow | Land use / Land occupation | 1.62129437740583E-7 m2*a | 1.62129437740583E-7 m2*a | |||
| Elementary flow | Land use / Land transformation | 1.9903163583806E-15 m2 | 1.9903163583806E-15 m2 | |||
| Elementary flow | Land use / Land transformation | 1.97230220770462E-12 m2 | 1.97230220770462E-12 m2 | |||
| Elementary flow | Land use / Land occupation | 6.47150766709469E-13 m2*a | 6.47150766709469E-13 m2*a | |||
| Elementary flow | Land use / Land occupation | 2.15284614130915E-11 m2*a | 2.15284614130915E-11 m2*a | |||
| Elementary flow | Resources / Resources from ground / Non-renewable material resources from ground | 7.6266489481777084E-6 kg | 7.6266489481777084E-6 kg | |||
| Elementary flow | Land use / Land transformation | -1.85697695090275E-10 m2 | -1.85697695090275E-10 m2 | |||
| Elementary flow | Resources / Resources from water / Renewable material resources from water | 2.406055611158147E-5 m3 | 2.406055611158147E-5 m3 | |||
| Elementary flow | Land use / Land transformation | 1.95173244566717E-10 m2 | 1.95173244566717E-10 m2 | |||
| Elementary flow | Resources / Resources from water / Renewable material resources from water | 2.84310203137762E-6 m3 | 2.84310203137762E-6 m3 | |||
| Elementary flow | Land use / Land occupation | 3.63171117849762E-11 m2*a | 3.63171117849762E-11 m2*a | |||
| Elementary flow | Resources / Resources from water / Renewable material resources from water | 8.44195392598485E-8 m3 | 8.44195392598485E-8 m3 | |||
| Elementary flow | Land use / Land occupation | 1.78799548128154E-7 m2*a | 1.78799548128154E-7 m2*a | |||
| Elementary flow | Land use / Land transformation | 8.15078251048601E-7 m2 | 8.15078251048601E-7 m2 | |||
| Elementary flow | Land use / Land transformation | 2.46470845197548E-15 m2 | 2.46470845197548E-15 m2 | |||
| Elementary flow | Land use / Land transformation | 4.23397841116038E-9 m2 | 4.23397841116038E-9 m2 | |||
| Elementary flow | Land use / Land transformation | 3.34386171495978E-13 m2 | 3.34386171495978E-13 m2 | |||
| Elementary flow | Land use / Land transformation | -2.29290802368719E-14 m2 | -2.29290802368719E-14 m2 | |||
| Elementary flow | Land use / Land occupation | 3.7825508209819E-12 m2*a | 3.7825508209819E-12 m2*a | |||
| Elementary flow | Resources / Resources from water / Renewable material resources from water | 1.083819757227E-8 m3 | 1.083819757227E-8 m3 | |||
| Elementary flow | Land use / Land transformation | 6.31469257069208E-9 m2 | 6.31469257069208E-9 m2 | |||
| Elementary flow | Land use / Land transformation | 1.19126328512394E-4 m2 | 1.19126328512394E-4 m2 | |||
| Elementary flow | Resources / Resources from ground / Non-renewable element resources from ground | 9.21956467340363E-9 kg | 9.21956467340363E-9 kg | |||
| Elementary flow | Land use / Land transformation | 7.21577495698627E-14 m2 | 7.21577495698627E-14 m2 | |||
| Elementary flow | Land use / Land occupation | 3.30391673267994E-8 m2*a | 3.30391673267994E-8 m2*a | |||
| Elementary flow | Land use / Land transformation | 3.09689857093307E-8 m2 | 3.09689857093307E-8 m2 | |||
| Elementary flow | Land use / Land transformation | 4.67801269835249E-10 m2 | 4.67801269835249E-10 m2 | |||
| Elementary flow | Land use / Land transformation | 6.505896571259E-10 m2 | 6.505896571259E-10 m2 | |||
| Elementary flow | Emissions | 3.07898309234156E-18 kg | 3.07898309234156E-18 kg | |||
| Elementary flow | Resources / Resources from ground / Non-renewable material resources from ground | 0.00229498499466977 kg | 0.00229498499466977 kg | |||
| Elementary flow | Resources / Resources from water / Renewable material resources from water | 1.21064023193608E-6 m3 | 1.21064023193608E-6 m3 | |||
| Elementary flow | Land use / Land transformation | 1.95727604146782E-11 m2 | 1.95727604146782E-11 m2 | |||
| Elementary flow | Land use / Land transformation | 2.47585124208069E-6 m2 | 2.47585124208069E-6 m2 | |||
| Elementary flow | Land use / Land transformation | 1.9903163583806E-15 m2 | 1.9903163583806E-15 m2 | |||
| Elementary flow | Land use / Land transformation | 1.76956375358954E-11 m2 | 1.76956375358954E-11 m2 | |||
| Elementary flow | Land use / Land occupation | 1.20112311958645E-10 m2*a | 1.20112311958645E-10 m2*a | |||
| Elementary flow | Land use / Land transformation | 6.68695959629378E-11 m2 | 6.68695959629378E-11 m2 | |||
| Elementary flow | Land use / Land transformation | 3.32205893858411E-19 m2 | 3.32205893858411E-19 m2 | |||
| Elementary flow | Resources / Resources from water / Renewable material resources from water | 4.6669388224769853E-5 m3 | 4.6669388224769853E-5 m3 | |||
| Elementary flow | Land use / Land transformation | 2.02644872835677E-12 m2 | 2.02644872835677E-12 m2 | |||
| Elementary flow | Land use / Land transformation | 8.99102027293511E-10 m2 | 8.99102027293511E-10 m2 | |||
| Elementary flow | Land use / Land occupation | 3.96974469527536E-9 m2*a | 3.96974469527536E-9 m2*a | |||
| Elementary flow | Land use / Land occupation | 1.0712117272701E-9 m2*a | 1.0712117272701E-9 m2*a | |||
| Elementary flow | Land use / Land occupation | 1.60654804387448E-6 m2*a | 1.60654804387448E-6 m2*a | |||
| Elementary flow | Land use / Land occupation | 3.19516815596245E-9 m2*a | 3.19516815596245E-9 m2*a | |||
| Elementary flow | Land use / Land transformation | 1.95198755793366E-9 m2 | 1.95198755793366E-9 m2 | |||
| Elementary flow | Land use / Land transformation | 7.08114702839184E-10 m2 | 7.08114702839184E-10 m2 | |||
| Elementary flow | Land use / Land transformation | 1.99087734910374E-6 m2 | 1.99087734910374E-6 m2 | |||
| Elementary flow | Land use / Land transformation | 3.28201191647272E-11 m2 | 3.28201191647272E-11 m2 | |||
| Elementary flow | Land use / Land transformation | 1.37518423091666E-6 m2 | 1.37518423091666E-6 m2 | |||
| Elementary flow | Land use / Land occupation | 1.27006689343977E-21 m2*a | 1.27006689343977E-21 m2*a | |||
| Elementary flow | Land use / Land occupation | 2.75428131217896E-9 m2*a | 2.75428131217896E-9 m2*a | |||
| Elementary flow | Land use / Land transformation | 8.21389382635858E-7 m2 | 8.21389382635858E-7 m2 | |||
| Elementary flow | Land use / Land transformation | 2.19395840459443E-14 m2 | 2.19395840459443E-14 m2 | |||
| Elementary flow | Land use / Land transformation | 2.62141836059591E-16 m2 | 2.62141836059591E-16 m2 | |||
| Elementary flow | Resources / Resources from ground / Non-renewable element resources from ground | 1.34034992984771E-8 kg | 1.34034992984771E-8 kg | |||
| Elementary flow | Land use / Land transformation | 1.12642254899803E-11 m2 | 1.12642254899803E-11 m2 | |||
| Elementary flow | Resources / Resources from ground / Non-renewable material resources from ground | 4.79763436495563E-6 kg | 4.79763436495563E-6 kg | |||
| Elementary flow | Land use / Land transformation | 3.51053511092145E-12 m2 | 3.51053511092145E-12 m2 | |||
| Elementary flow | Land use / Land occupation | 1.98250742416307E-6 m2*a | 1.98250742416307E-6 m2*a | |||
| Elementary flow | Land use / Land transformation | 1.08724442962838E-14 m2 | 1.08724442962838E-14 m2 | |||
| Elementary flow | Land use / Land occupation | 1.77553065022817E-8 m2*a | 1.77553065022817E-8 m2*a | |||
| Elementary flow | Resources / Resources from water / Renewable material resources from water | 3.02389582652226E-7 m3 | 3.02389582652226E-7 m3 | |||
| Elementary flow | Resources / Resources from water / Renewable material resources from water | 8.8167890515852E-9 m3 | 8.8167890515852E-9 m3 | |||
| Elementary flow | Resources / Resources from ground / Non-renewable material resources from ground | 2.7121653267545564E-5 kg | 2.7121653267545564E-5 kg | |||
| Elementary flow | Land use / Land transformation | 1.14765260207196E-12 m2 | 1.14765260207196E-12 m2 | |||
| Elementary flow | Land use / Land transformation | 2.50314280901592E-11 m2 | 2.50314280901592E-11 m2 | |||
| Elementary flow | Land use / Land transformation | 4.38050972738555E-12 m2 | 4.38050972738555E-12 m2 | |||
| Elementary flow | Resources / Resources from ground / Non-renewable element resources from ground | 4.152336607676841E-5 kg | 4.152336607676841E-5 kg | |||
| Elementary flow | Land use / Land transformation | 9.39808578203905E-12 m2 | 9.39808578203905E-12 m2 | |||
| Elementary flow | Resources / Resources from ground / Non-renewable element resources from ground | 2.41797380482402E-9 kg | 2.41797380482402E-9 kg | |||
| Elementary flow | Land use / Land occupation | 2.73750372718405E-8 m2*a | 2.73750372718405E-8 m2*a | |||
| Elementary flow | Resources / Resources from water / Renewable material resources from water | 1.39737410428656E-6 m3 | 1.39737410428656E-6 m3 | |||
| Elementary flow | Land use / Land transformation | 1.03880836556454E-10 m2 | 1.03880836556454E-10 m2 | |||
| Elementary flow | Land use / Land occupation | 2.0997098624121E-11 m2*a | 2.0997098624121E-11 m2*a | |||
| Elementary flow | Resources / Resources from water / Renewable material resources from water | 2.99809490977929E-5 m3 | 2.99809490977929E-5 m3 | |||
| Elementary flow | Land use / Land occupation | 1.70397895723465E-11 m2*a | 1.70397895723465E-11 m2*a | |||
| Elementary flow | Land use / Land occupation | 1.4083104424953E-9 m2*a | 1.4083104424953E-9 m2*a | |||
| Elementary flow | Land use / Land occupation | 1.56597645541005E-10 m2*a | 1.56597645541005E-10 m2*a | |||
| Elementary flow | Land use / Land occupation | 3.09893674574034E-11 m2*a | 3.09893674574034E-11 m2*a | |||
| Elementary flow | Resources / Resources from water / Renewable material resources from water | 0.13620349287474 kg | 0.13620349287474 kg | |||
| Elementary flow | Resources / Resources from ground / Non-renewable element resources from ground | 5.3387837270983E-7 kg | 5.3387837270983E-7 kg | |||
| Elementary flow | Resources / Resources from water / Renewable material resources from water | 2.41868129435988E-8 m3 | 2.41868129435988E-8 m3 | |||
| Elementary flow | Land use / Land occupation | 6.73781164219743E-8 m2*a | 6.73781164219743E-8 m2*a | |||
| Elementary flow | Land use / Land transformation | 2.47376097360894E-6 m2 | 2.47376097360894E-6 m2 | |||
| Elementary flow | Land use / Land occupation | 1.86127257048073E-7 m3 | 1.86127257048073E-7 m3 | |||
| Elementary flow | Land use / Land transformation | 4.00502487152348E-11 m2 | 4.00502487152348E-11 m2 | |||
| Elementary flow | Land use / Land occupation | 1.62822164304178E-10 m2*a | 1.62822164304178E-10 m2*a | |||
| Elementary flow | Resources / Resources from ground / Non-renewable element resources from ground | 1.11309658103633E-8 kg | 1.11309658103633E-8 kg | |||
| Elementary flow | Land use / Land transformation | 5.19663839872027E-11 m2 | 5.19663839872027E-11 m2 | |||
| Elementary flow | Resources / Resources from water / Renewable material resources from water | 7.83090921815653E-10 m3 | 7.83090921815653E-10 m3 | |||
| Elementary flow | Resources / Resources from ground / Non-renewable energy resources from ground | 1.8449521326832334 MJ | 1.8449521326832334 MJ | |||
| Elementary flow | Land use / Land transformation | 4.1874621704371E-11 m2 | 4.1874621704371E-11 m2 | |||
| Elementary flow | Land use / Land transformation | 4.5966975149996E-7 m2 | 4.5966975149996E-7 m2 | |||
| Elementary flow | Land use / Land transformation | 1.88116622833865E-13 m2 | 1.88116622833865E-13 m2 | |||
| Elementary flow | Land use / Land occupation | 7.16716335835552E-7 m2*a | 7.16716335835552E-7 m2*a | |||
| Elementary flow | Land use / Land occupation | 1.26333354932579E-10 m2*a | 1.26333354932579E-10 m2*a | |||
| Elementary flow | Land use / Land occupation | 7.42122281917172E-6 m2*a | 7.42122281917172E-6 m2*a | |||
| Elementary flow | Land use / Land transformation | 9.11901927760545E-12 m2 | 9.11901927760545E-12 m2 | |||
| Elementary flow | Land use / Land transformation | 1.96218439569025E-11 m2 | 1.96218439569025E-11 m2 | |||
| Elementary flow | Land use / Land occupation | 4.54088861930261E-13 m2*a | 4.54088861930261E-13 m2*a | |||
| Elementary flow | Land use / Land occupation | 7.00525870800414E-9 m2*a | 7.00525870800414E-9 m2*a | |||
| Elementary flow | Land use / Land occupation | 5.28585566968681E-12 m2*a | 5.28585566968681E-12 m2*a | |||
| Elementary flow | Resources / Resources from water / Renewable material resources from water | 1.95787460851134E-7 m3 | 1.95787460851134E-7 m3 | |||
| Elementary flow | Land use / Land transformation | 6.2498980731806E-13 m2 | 6.2498980731806E-13 m2 | |||
| Elementary flow | Resources / Resources from ground / Non-renewable element resources from ground | 6.31414017716724E-14 kg | 6.31414017716724E-14 kg | |||
| Elementary flow | Resources / Resources from water / Renewable material resources from water | 3.04540781080689E-9 m3 | 3.04540781080689E-9 m3 | |||
| Elementary flow | Land use / Land transformation | 1.78799548128154E-7 m2 | 1.78799548128154E-7 m2 | |||
| Elementary flow | Land use / Land transformation | 2.53195095664411E-12 m2 | 2.53195095664411E-12 m2 | |||
| Elementary flow | Land use / Land transformation | 7.0637053982637E-14 m2 | 7.0637053982637E-14 m2 | |||
| Elementary flow | Land use / Land transformation | 8.22001630763139E-12 m2 | 8.22001630763139E-12 m2 | |||
| Elementary flow | Land use / Land occupation | 3.4930153384259E-11 m2*a | 3.4930153384259E-11 m2*a | |||
| Elementary flow | Land use / Land occupation | 2.49021190023997E-12 m2*a | 2.49021190023997E-12 m2*a | |||
| Elementary flow | Resources / Resources from ground / Non-renewable element resources from ground | 1.0003769549486047E-6 kg | 1.0003769549486047E-6 kg | |||
| Elementary flow | Land use / Land transformation | 1.63130256424549E-11 m2 | 1.63130256424549E-11 m2 | |||
| Elementary flow | Resources / Resources from ground / Non-renewable energy resources from ground | 1.62871027420793E-4 MJ | 1.62871027420793E-4 MJ | |||
| Elementary flow | Land use / Land transformation | 2.80576466619288E-9 m2 | 2.80576466619288E-9 m2 | |||
| Elementary flow | Resources / Resources from ground / Non-renewable material resources from ground | 1.02058944034238E-5 kg | 1.02058944034238E-5 kg | |||
| Elementary flow | Land use / Land transformation | 2.22683765809571E-5 m2 | 2.22683765809571E-5 m2 | |||
| Elementary flow | Land use / Land transformation | 1.9903163583806E-15 m2 | 1.9903163583806E-15 m2 | |||
| Elementary flow | Land use / Land occupation | 1.20282174525281E-4 m2*a | 1.20282174525281E-4 m2*a | |||
| Elementary flow | Land use / Land transformation | 6.55129745392633E-13 m2 | 6.55129745392633E-13 m2 | |||
| Elementary flow | Land use / Land transformation | 2.14245400425602E-11 m2 | 2.14245400425602E-11 m2 | |||
| Elementary flow | Land use / Land occupation | 1.15336650844531E-12 m2*a | 1.15336650844531E-12 m2*a | |||
| Elementary flow | Land use / Land occupation | 1.16150028914907E-10 m2*a | 1.16150028914907E-10 m2*a | |||
| Elementary flow | Land use / Land transformation | 1.88883928125107E-9 m2 | 1.88883928125107E-9 m2 | |||
| Elementary flow | Resources / Resources from water / Renewable material resources from water | 1.01579302487975E-7 m3 | 1.01579302487975E-7 m3 | |||
| Elementary flow | Resources / Resources from water / Renewable material resources from water | 2.22615223096664E-10 m3 | 2.22615223096664E-10 m3 | |||
| Elementary flow | Resources / Resources from ground / Non-renewable element resources from ground | 5.10453809211367E-9 kg | 5.10453809211367E-9 kg | |||
| Elementary flow | Resources / Resources from water / Renewable material resources from water | 5.193829230578013E-4 m3 | 5.193829230578013E-4 m3 | |||
| Elementary flow | Land use / Land transformation | 4.79970266644746E-12 m2 | 4.79970266644746E-12 m2 | |||
| Elementary flow | Land use / Land transformation | 4.39668401889949E-9 m2 | 4.39668401889949E-9 m2 | |||
| Elementary flow | Land use / Land transformation | 4.59947821161286E-13 m2 | 4.59947821161286E-13 m2 | |||
| Elementary flow | Land use / Land transformation | 3.05818272333162E-6 m2 | 3.05818272333162E-6 m2 | |||
| Elementary flow | Land use / Land transformation | 1.41281912410156E-6 m2 | 1.41281912410156E-6 m2 | |||
| Elementary flow | Land use / Land occupation | 2.90707965533282E-11 m2*a | 2.90707965533282E-11 m2*a | |||
| Elementary flow | Resources / Resources from water / Renewable material resources from water | 7.43373472126339E-6 kg | 7.43373472126339E-6 kg | |||
| Elementary flow | Land use / Land occupation | 9.92774486002746E-9 m2*a | 9.92774486002746E-9 m2*a | |||
| Elementary flow | Land use / Land occupation | 1.05497733122945E-10 m2*a | 1.05497733122945E-10 m2*a | |||
| Elementary flow | Land use / Land transformation | 6.57318590969325E-13 m2 | 6.57318590969325E-13 m2 | |||
| Elementary flow | Resources / Resources from water / Renewable material resources from water | 4.10442455884846E-7 m3 | 4.10442455884846E-7 m3 | |||
| Elementary flow | Land use / Land occupation | 8.04943830683829E-7 m2*a | 8.04943830683829E-7 m2*a | |||
| Elementary flow | Land use / Land transformation | 5.62404482411161E-12 m2 | 5.62404482411161E-12 m2 | |||
| Elementary flow | Land use / Land transformation | 5.3753359445045E-12 m2 | 5.3753359445045E-12 m2 | |||
| Elementary flow | Land use / Land transformation | 6.39749470412925E-10 m2 | 6.39749470412925E-10 m2 | |||
| Elementary flow | Land use / Land occupation | 4.59300459986522E-12 m2*a | 4.59300459986522E-12 m2*a | |||
| Elementary flow | Land use / Land occupation | 2.01652850014227E-7 m2*a | 2.01652850014227E-7 m2*a | |||
| Elementary flow | Land use / Land transformation | 4.94752433850807E-6 m2 | 4.94752433850807E-6 m2 | |||
| Elementary flow | Land use / Land transformation | 5.80388554516771E-6 m2 | 5.80388554516771E-6 m2 | |||
| Elementary flow | Land use / Land occupation | 4.22911974527098E-8 m2*a | 4.22911974527098E-8 m2*a | |||
| Elementary flow | Land use / Land occupation | 6.88156535876291E-6 m2*a | 6.88156535876291E-6 m2*a | |||
| Elementary flow | Resources / Resources from water / Renewable material resources from water | 1.862199660695662E-4 m3 | 1.862199660695662E-4 m3 | |||
| Elementary flow | Land use / Land transformation | 9.89496185277429E-6 m2 | 9.89496185277429E-6 m2 | |||
| Elementary flow | Land use / Land transformation | 5.94302733765979E-13 m2 | 5.94302733765979E-13 m2 | |||
| Elementary flow | Resources / Resources from ground / Non-renewable material resources from ground | 1.0369786823747E-5 kg | 1.0369786823747E-5 kg | |||
| Elementary flow | Land use / Land transformation | 1.6327814312679E-9 m2 | 1.6327814312679E-9 m2 | |||
| Elementary flow | Land use / Land transformation | 6.36203113391043E-10 m2 | 6.36203113391043E-10 m2 | |||
| Elementary flow | Resources / Resources from water / Renewable material resources from water | 1.62056201300305E-14 m3 | 1.62056201300305E-14 m3 | |||
| Elementary flow | Land use / Land occupation | 1.28387195528118E-12 m2*a | 1.28387195528118E-12 m2*a | |||
| Elementary flow | Land use / Land transformation | 4.94754574772091E-6 m2 | 4.94754574772091E-6 m2 | |||
| Elementary flow | Land use / Land transformation | -7.19527309937699E-16 m2 | -7.19527309937699E-16 m2 | |||
| Elementary flow | Land use / Land transformation | 5.01876096776986E-14 m2 | 5.01876096776986E-14 m2 | |||
| Elementary flow | Land use / Land transformation | 2.76931094106145E-10 m2 | 2.76931094106145E-10 m2 | |||
| Elementary flow | Resources / Resources from ground / Non-renewable element resources from ground | 7.44671019230051E-8 kg | 7.44671019230051E-8 kg | |||
| Elementary flow | Land use / Land transformation | 5.56952098881095E-11 m2 | 5.56952098881095E-11 m2 | |||
| Elementary flow | Land use / Land transformation | 1.68962448652452E-11 m2 | 1.68962448652452E-11 m2 | |||
| Elementary flow | Resources / Resources from ground / Non-renewable element resources from ground | 2.806818542754261E-11 kg | 2.806818542754261E-11 kg | |||
| Elementary flow | Land use / Land occupation | 1.33641260022368E-6 m2*a | 1.33641260022368E-6 m2*a | |||
| Elementary flow | Land use / Land transformation | 3.0187839915519E-8 m2 | 3.0187839915519E-8 m2 | |||
| Elementary flow | Resources / Resources from ground / Non-renewable element resources from ground | 1.33557960035827E-9 kg | 1.33557960035827E-9 kg | |||
| Elementary flow | Land use / Land transformation | 6.34016749306383E-10 m2 | 6.34016749306383E-10 m2 | |||
| Elementary flow | Land use / Land transformation | 8.09157199933821E-5 m2 | 8.09157199933821E-5 m2 | |||
| Elementary flow | Land use / Land transformation | 2.73216059147402E-14 m2 | 2.73216059147402E-14 m2 | |||
| Elementary flow | Land use / Land transformation | 1.4967558973494E-9 m2 | 1.4967558973494E-9 m2 | |||
| Elementary flow | Land use / Land transformation | 6.40991320244347E-11 m2 | 6.40991320244347E-11 m2 | |||
| Elementary flow | Resources / Resources from water / Renewable material resources from water | 3.88165284765481E-6 m3 | 3.88165284765481E-6 m3 | |||
| Elementary flow | Land use / Land occupation | 1.67640404705801E-10 m2*a | 1.67640404705801E-10 m2*a | |||
| Elementary flow | Land use / Land transformation | 7.42122281917172E-6 m2 | 7.42122281917172E-6 m2 | |||
| Elementary flow | Resources / Resources from ground / Non-renewable element resources from ground | 2.1314655858590596E-10 kg | 2.1314655858590596E-10 kg | |||
| Elementary flow | Land use / Land occupation | 2.18497389738818E-7 m2*a | 2.18497389738818E-7 m2*a | |||
| Elementary flow | Resources / Resources from ground / Non-renewable material resources from ground | 5.20520423526128E-5 kg | 5.20520423526128E-5 kg | |||
| Elementary flow | Land use / Land occupation | 1.04744737836389E-9 m3 | 1.04744737836389E-9 m3 | |||
| Elementary flow | Resources / Resources from water / Renewable material resources from water | 1.92619451614048E-6 m3 | 1.92619451614048E-6 m3 | |||
| Elementary flow | Land use / Land transformation | 7.80235340137998E-14 m2 | 7.80235340137998E-14 m2 | |||
| Elementary flow | Land use / Land occupation | 2.484227745257E-10 m2*a | 2.484227745257E-10 m2*a | |||
| Elementary flow | Land use / Land transformation | 3.73100247550799E-12 m2 | 3.73100247550799E-12 m2 | |||
| Elementary flow | Land use / Land transformation | 6.00539330949022E-18 m2 | 6.00539330949022E-18 m2 | |||
| Elementary flow | Land use / Land occupation | 2.28503877597724E-7 m2*a | 2.28503877597724E-7 m2*a | |||
| Elementary flow | Land use / Land transformation | 1.61221664759236E-8 m2 | 1.61221664759236E-8 m2 | |||
| Elementary flow | Land use / Land transformation | 7.42126867208404E-6 m2 | 7.42126867208404E-6 m2 | |||
| Elementary flow | Land use / Land occupation | 4.50200793953328E-8 m2*a | 4.50200793953328E-8 m2*a | |||
| Elementary flow | Land use / Land transformation | 1.67640404705801E-10 m2 | 1.67640404705801E-10 m2 | |||
| Elementary flow | Land use / Land transformation | 2.94648220651372E-10 m2 | 2.94648220651372E-10 m2 | |||
| Elementary flow | Land use / Land transformation | 4.22862571420186E-11 m2 | 4.22862571420186E-11 m2 | |||
| Elementary flow | Land use / Land transformation | 1.06172262410244E-9 m2 | 1.06172262410244E-9 m2 | |||
| Elementary flow | Resources / Resources from ground / Non-renewable element resources from ground | 2.15332723044376E-13 kg | 2.15332723044376E-13 kg | |||
| Elementary flow | Land use / Land transformation | 1.27657082810607E-9 m2 | 1.27657082810607E-9 m2 | |||
| Elementary flow | Land use / Land transformation | 5.01876096776986E-14 m2 | 5.01876096776986E-14 m2 | |||
| Elementary flow | Land use / Land transformation | 7.11942593528151E-14 m2 | 7.11942593528151E-14 m2 | |||
| Elementary flow | Land use / Land transformation | 7.71570015226778E-8 m2 | 7.71570015226778E-8 m2 | |||
| Elementary flow | Land use / Land occupation | 9.78781538547294E-10 m2*a | 9.78781538547294E-10 m2*a | |||
| Elementary flow | Land use / Land transformation | 3.68236686587988E-5 m2 | 3.68236686587988E-5 m2 | |||
| Elementary flow | Land use / Land occupation | 8.27082542900744E-8 m2*a | 8.27082542900744E-8 m2*a | |||
| Elementary flow | Land use / Land occupation | 1.86010908820944E-11 m2*a | 1.86010908820944E-11 m2*a | |||
| Elementary flow | Land use / Land transformation | 1.08724442962838E-14 m2 | 1.08724442962838E-14 m2 | |||
| Elementary flow | Resources / Resources from water / Renewable material resources from water | 1.28351203074267E-7 m3 | 1.28351203074267E-7 m3 | |||
| Elementary flow | Land use / Land transformation | 7.42122281917172E-6 m2 | 7.42122281917172E-6 m2 | |||
| Elementary flow | Resources / Resources from water / Renewable material resources from water | 5.02115018798991E-7 m3 | 5.02115018798991E-7 m3 | |||
| Elementary flow | Land use / Land transformation | 8.04156143811512E-13 m2 | 8.04156143811512E-13 m2 | |||
| Elementary flow | Land use / Land transformation | 3.74212649270778E-5 m2 | 3.74212649270778E-5 m2 | |||
| Elementary flow | Land use / Land transformation | 2.09666244056276E-9 m2 | 2.09666244056276E-9 m2 | |||
| Elementary flow | Land use / Land occupation | 9.34863197388175E-11 m2*a | 9.34863197388175E-11 m2*a | |||
| Elementary flow | Land use / Land transformation | 1.2521475889023E-4 m2 | 1.2521475889023E-4 m2 | |||
| Elementary flow | Land use / Land transformation | 5.88626833728277E-10 m2 | 5.88626833728277E-10 m2 | |||
| Elementary flow | Resources / Resources from water / Renewable material resources from water | 3.02146119259301E-8 m3 | 3.02146119259301E-8 m3 | |||
| Elementary flow | Resources / Resources from ground / Non-renewable element resources from ground | 4.30665446088786E-13 kg | 4.30665446088786E-13 kg | |||
| Elementary flow | Land use / Land transformation | 2.33233220768875E-14 m2 | 2.33233220768875E-14 m2 | |||
| Elementary flow | Land use / Land occupation | 5.27390827210695E-9 m2*a | 5.27390827210695E-9 m2*a | |||
| Elementary flow | Land use / Land occupation | 7.81786144198193E-14 m2*a | 7.81786144198193E-14 m2*a | |||
| Elementary flow | Resources / Resources from water / Renewable material resources from water | 5.83712804421407E-6 m3 | 5.83712804421407E-6 m3 | |||
| Elementary flow | Land use / Land transformation | 9.58654668545717E-11 m2 | 9.58654668545717E-11 m2 | |||
| Elementary flow | Resources / Resources from water / Renewable material resources from water | 4.27772836377534E-11 m3 | 4.27772836377534E-11 m3 | |||
| Elementary flow | Land use / Land transformation | 2.47397022101081E-6 m2 | 2.47397022101081E-6 m2 | |||
| Elementary flow | Land use / Land transformation | 3.03280561683875E-7 m2 | 3.03280561683875E-7 m2 | |||
| Elementary flow | Resources / Resources from water / Renewable material resources from water | 2.00522680559226E-8 m3 | 2.00522680559226E-8 m3 | |||
| Elementary flow | Land use / Land occupation | 3.27813739539443E-8 m2*a | 3.27813739539443E-8 m2*a | |||
| Elementary flow | Land use / Land transformation | 8.80975944947801E-14 m2 | 8.80975944947801E-14 m2 | |||
| Elementary flow | Land use / Land transformation | 2.85499995776409E-14 m2 | 2.85499995776409E-14 m2 | |||
| Elementary flow | Land use / Land occupation | 3.37442689446696E-10 m2*a | 3.37442689446696E-10 m2*a | |||
| Elementary flow | Resources / Resources from water / Renewable material resources from water | 8.58581290230564E-7 m3 | 8.58581290230564E-7 m3 | |||
| Elementary flow | Land use / Land transformation | 7.25857396782908E-6 m2 | 7.25857396782908E-6 m2 | |||
| Elementary flow | Land use / Land transformation | 2.79315575297515E-9 m2 | 2.79315575297515E-9 m2 | |||
| Elementary flow | Land use / Land transformation | 6.40986425062463E-13 m2 | 6.40986425062463E-13 m2 | |||
| Elementary flow | Land use / Land occupation | 8.16037811687101E-8 m2*a | 8.16037811687101E-8 m2*a | |||
| Elementary flow | Resources / Resources from ground / Non-renewable material resources from ground | 0.001133813297936132 kg | 0.001133813297936132 kg | |||
| Elementary flow | Resources / Resources from water / Renewable material resources from water | 4.91337358293051E-7 m3 | 4.91337358293051E-7 m3 | |||
| Elementary flow | Land use / Land transformation | 6.39287677162559E-19 m2 | 6.39287677162559E-19 m2 | |||
| Elementary flow | Resources / Resources from air / Renewable material resources from air | 6.45220444342399E-8 m3 | 6.45220444342399E-8 m3 | |||
| Elementary flow | Land use / Land transformation | 4.15794177160797E-10 m2 | 4.15794177160797E-10 m2 | |||
| Elementary flow | Land use / Land occupation | 9.7846127351283E-10 m2*a | 9.7846127351283E-10 m2*a | |||
| Elementary flow | Land use / Land transformation | 1.71989200291515E-7 m2 | 1.71989200291515E-7 m2 | |||
| Elementary flow | Land use / Land occupation | 2.96851203605614E-5 m2*a | 2.96851203605614E-5 m2*a | |||
| Elementary flow | Resources / Resources from water / Renewable material resources from water | 1.06284074519599E-6 m3 | 1.06284074519599E-6 m3 | |||
| Elementary flow | Resources / Resources from water / Renewable material resources from water | 2.24831603538513E-9 m3 | 2.24831603538513E-9 m3 | |||
| Elementary flow | Land use / Land transformation | 1.08724442962838E-14 m2 | 1.08724442962838E-14 m2 | |||
| Elementary flow | Land use / Land occupation | 2.7527142342595E-10 m2*a | 2.7527142342595E-10 m2*a | |||
| Elementary flow | Resources / Resources from water / Renewable material resources from water | 4.61586802790516E-8 m3 | 4.61586802790516E-8 m3 | |||
| Elementary flow | Resources / Resources from ground / Non-renewable energy resources from ground | 5.9361642362988E-13 MJ | 5.9361642362988E-13 MJ | |||
| Elementary flow | Resources / Resources from water / Renewable material resources from water | 1.98369979695307E-5 m3 | 1.98369979695307E-5 m3 | |||
| Elementary flow | Land use / Land transformation | 2.1571692223649E-14 m2 | 2.1571692223649E-14 m2 | |||
| Elementary flow | Land use / Land transformation | 1.29081536545701E-17 m2 | 1.29081536545701E-17 m2 | |||
| Elementary flow | Land use / Land transformation | 3.82971248454538E-9 m2 | 3.82971248454538E-9 m2 | |||
| Elementary flow | Resources / Resources from ground / Non-renewable material resources from ground | -3.20370511718348E-17 kg | -3.20370511718348E-17 kg | |||
| Elementary flow | Land use / Land transformation | 5.56199651439513E-12 m2 | 5.56199651439513E-12 m2 | |||
| Elementary flow | Land use / Land transformation | 1.07368998628998E-11 m2 | 1.07368998628998E-11 m2 | |||
| Elementary flow | Land use / Land transformation | 4.12295324643945E-11 m2 | 4.12295324643945E-11 m2 | |||
| Elementary flow | Resources / Resources from water / Renewable material resources from water | 1.52816682332159E-20 m3 | 1.52816682332159E-20 m3 | |||
| Elementary flow | Land use / Land occupation | 9.95690741338337E-11 m2*a | 9.95690741338337E-11 m2*a | |||
| Elementary flow | Land use / Land occupation | 4.22546228289748E-8 m2*a | 4.22546228289748E-8 m2*a | |||
| Elementary flow | Land use / Land occupation | 1.12736238825144E-13 m2*a | 1.12736238825144E-13 m2*a | |||
| Elementary flow | Land use / Land transformation | 1.05928287700106E-11 m2 | 1.05928287700106E-11 m2 | |||
| Elementary flow | Resources / Resources from ground / Non-renewable material resources from ground | 0.00142928560750016 kg | 0.00142928560750016 kg | |||
| Elementary flow | Land use / Land transformation | 5.41289276857125E-13 m2 | 5.41289276857125E-13 m2 | |||
| Elementary flow | Land use / Land transformation | 5.48718193243791E-14 m2 | 5.48718193243791E-14 m2 | |||
| Elementary flow | Land use / Land occupation | 5.99744625216784E-11 m2*a | 5.99744625216784E-11 m2*a | |||
| Elementary flow | Land use / Land transformation | 7.74207744581213E-13 m2 | 7.74207744581213E-13 m2 | |||
| Elementary flow | Land use / Land occupation | 6.71246580925311E-11 m2*a | 6.71246580925311E-11 m2*a | |||
| Elementary flow | Land use / Land transformation | 7.17788183637101E-12 m2 | 7.17788183637101E-12 m2 | |||
| Elementary flow | Land use / Land occupation | 6.19876646541359E-10 m2*a | 6.19876646541359E-10 m2*a | |||
| Elementary flow | Land use / Land occupation | 4.9785221620156E-11 m2*a | 4.9785221620156E-11 m2*a | |||
| Elementary flow | Land use / Land transformation | 4.92973610659497E-9 m2 | 4.92973610659497E-9 m2 | |||
| Elementary flow | Land use / Land transformation | 2.21526123155452E-6 m2 | 2.21526123155452E-6 m2 | |||
| Elementary flow | Land use / Land occupation | 1.06774664260998E-9 m2*a | 1.06774664260998E-9 m2*a | |||
| Elementary flow | Land use / Land transformation | 1.38886623848458E-13 m2 | 1.38886623848458E-13 m2 | |||
| Elementary flow | Resources / Resources from water / Renewable material resources from water | 4.60465378044512E-5 m3 | 4.60465378044512E-5 m3 | |||
| Elementary flow | Land use / Land transformation | 4.12295324643945E-11 m2 | 4.12295324643945E-11 m2 | |||
| Elementary flow | Land use / Land transformation | 5.38503236634971E-8 m2 | 5.38503236634971E-8 m2 | |||
| Elementary flow | Land use / Land occupation | 3.83572606297536E-17 m2*a | 3.83572606297536E-17 m2*a | |||
| Elementary flow | Land use / Land transformation | 1.75221032187096E-11 m2 | 1.75221032187096E-11 m2 | |||
| Elementary flow | Land use / Land occupation | 3.09211616051554E-10 m2*a | 3.09211616051554E-10 m2*a | |||
| Elementary flow | Resources / Resources from ground / Non-renewable material resources from ground | 0.0131227335405043 kg | 0.0131227335405043 kg | |||
| Elementary flow | Land use / Land transformation | 6.30107309698691E-12 m2 | 6.30107309698691E-12 m2 | |||
| Elementary flow | Resources / Resources from water / Renewable material resources from water | 1.53019190445228E-8 m3 | 1.53019190445228E-8 m3 | |||
| Elementary flow | Resources / Resources from water / Renewable material resources from water | 4.790275836749122E-6 m3 | 4.790275836749122E-6 m3 | |||
| Elementary flow | Land use / Land transformation | 7.22753451172721E-7 m2 | 7.22753451172721E-7 m2 | |||
| Elementary flow | Land use / Land transformation | 2.29981058887641E-7 m2 | 2.29981058887641E-7 m2 | |||
| Elementary flow | Land use / Land transformation | 3.41748431786493E-11 m2 | 3.41748431786493E-11 m2 | |||
| Elementary flow | Resources / Resources from ground / Non-renewable element resources from ground | 3.0340382978815308E-9 kg | 3.0340382978815308E-9 kg | |||
| Elementary flow | Land use / Land transformation | 1.7260992301935E-7 m2 | 1.7260992301935E-7 m2 | |||
| Elementary flow | Land use / Land transformation | 5.82174176859483E-10 m2 | 5.82174176859483E-10 m2 | |||
| Elementary flow | Land use / Land occupation | 1.6203579730174E-29 m2*a | 1.6203579730174E-29 m2*a | |||
| Elementary flow | Land use / Land transformation | 1.56597645541005E-10 m2 | 1.56597645541005E-10 m2 | |||
| Elementary flow | Land use / Land transformation | 8.02502546041378E-7 m2 | 8.02502546041378E-7 m2 | |||
| Elementary flow | Resources / Resources from air / Renewable energy resources from air | 0.028156656840500123 MJ | 0.028156656840500123 MJ | |||
| Elementary flow | Land use / Land transformation | 8.39996168594997E-21 m2 | 8.39996168594997E-21 m2 | |||
| Elementary flow | Resources / Resources from water / Renewable material resources from water | 3.31623007712007E-6 m3 | 3.31623007712007E-6 m3 | |||
| Elementary flow | Land use / Land transformation | 2.97854247350217E-12 m2 | 2.97854247350217E-12 m2 | |||
| Elementary flow | Land use / Land transformation | 3.27099821580244E-11 m2 | 3.27099821580244E-11 m2 | |||
| Elementary flow | Resources / Resources from water / Renewable material resources from water | 2.89876102982244E-5 m3 | 2.89876102982244E-5 m3 | |||
| Elementary flow | Resources / Resources from water / Renewable material resources from water | 6.37047849202635E-8 m3 | 6.37047849202635E-8 m3 | |||
| Elementary flow | Land use / Land occupation | 2.86225506191437E-7 m2*a | 2.86225506191437E-7 m2*a | |||
| Elementary flow | Land use / Land occupation | 9.81209900351225E-11 m2*a | 9.81209900351225E-11 m2*a | |||
| Elementary flow | Land use / Land transformation | 5.01876096776986E-14 m2 | 5.01876096776986E-14 m2 | |||
| Elementary flow | Land use / Land transformation | 1.0712117272701E-9 m2 | 1.0712117272701E-9 m2 | |||
| Elementary flow | Resources / Resources from ground / Non-renewable material resources from ground | 4.07995930021204E-20 kg | 4.07995930021204E-20 kg | |||
| Elementary flow | Land use / Land occupation | 2.30728107430489E-18 m2*a | 2.30728107430489E-18 m2*a | |||
| Elementary flow | Land use / Land transformation | 1.58564655314058E-15 m2 | 1.58564655314058E-15 m2 | |||
| Elementary flow | Land use / Land occupation | 3.17152379240923E-12 m2*a | 3.17152379240923E-12 m2*a | |||
| Elementary flow | Land use / Land occupation | 9.66775180330082E-11 m2*a | 9.66775180330082E-11 m2*a | |||
| Elementary flow | Land use / Land occupation | 2.22637565961689E-5 m2*a | 2.22637565961689E-5 m2*a | |||
| Elementary flow | Land use / Land occupation | 4.77250886135129E-13 m2*a | 4.77250886135129E-13 m2*a | |||
| Elementary flow | Land use / Land occupation | 0.00155106039842017 m2*a | 0.00155106039842017 m2*a | |||
| Elementary flow | Land use / Land occupation | 1.3265808194597E-10 m2*a | 1.3265808194597E-10 m2*a | |||
| Elementary flow | Land use / Land transformation | 2.10513458151996E-11 m2 | 2.10513458151996E-11 m2 | |||
| Elementary flow | Land use / Land occupation | 9.53926042193475E-14 m2*a | 9.53926042193475E-14 m2*a | |||
| Elementary flow | Land use / Land transformation | 9.89498990757734E-6 m2 | 9.89498990757734E-6 m2 | |||
| Elementary flow | Land use / Land transformation | 1.25157380884858E-12 m2 | 1.25157380884858E-12 m2 | |||
| Elementary flow | Resources / Resources from water / Renewable material resources from water | 8.5703435406404E-7 m3 | 8.5703435406404E-7 m3 | |||
| Elementary flow | Resources / Resources from air / Renewable element resources from air | 6.33568273029225E-18 kg | 6.33568273029225E-18 kg | |||
| Elementary flow | Land use / Land occupation | 1.07893055481579E-9 m2*a | 1.07893055481579E-9 m2*a | |||
| Elementary flow | Land use / Land transformation | 2.68432274884442E-12 m2 | 2.68432274884442E-12 m2 | |||
| Elementary flow | Land use / Land transformation | 6.20688061239449E-4 m2 | 6.20688061239449E-4 m2 | |||
| Elementary flow | Resources / Resources from water / Renewable material resources from water | -7.25769790505281E-10 m3 | -7.25769790505281E-10 m3 | |||
| Elementary flow | Resources / Resources from water / Renewable material resources from water | 0.0202070457562024 m3 | 0.0202070457562024 m3 | |||
| Elementary flow | Resources / Resources from ground / Non-renewable material resources from ground | 1.50120878730304E-7 kg | 1.50120878730304E-7 kg | |||
| Elementary flow | Land use / Land transformation | 5.27810161705194E-13 m2 | 5.27810161705194E-13 m2 | |||
| Elementary flow | Land use / Land transformation | 8.80975944947801E-14 m2 | 8.80975944947801E-14 m2 | |||
| Elementary flow | Land use / Land transformation | 7.2860527968748E-12 m2 | 7.2860527968748E-12 m2 | |||
| Elementary flow | Land use / Land transformation | 1.66897118174785E-13 m2 | 1.66897118174785E-13 m2 | |||
| Elementary flow | Land use / Land occupation | 5.33631498467282E-10 m2*a | 5.33631498467282E-10 m2*a | |||
| Elementary flow | Land use / Land occupation | 5.53246304082732E-9 m2*a | 5.53246304082732E-9 m2*a | |||
| Elementary flow | Land use / Land transformation | 1.14272634512321E-13 m2 | 1.14272634512321E-13 m2 | |||
| Elementary flow | Resources / Resources from ground / Non-renewable element resources from ground | 3.24657229467602E-8 kg | 3.24657229467602E-8 kg | |||
| Elementary flow | Resources / Resources from ground / Non-renewable material resources from ground | 8.47981637091995E-5 kg | 8.47981637091995E-5 kg | |||
| Elementary flow | Land use / Land transformation | 3.25375271558196E-5 m2 | 3.25375271558196E-5 m2 | |||
| Elementary flow | Land use / Land transformation | 7.42122281917215E-6 m2 | 7.42122281917215E-6 m2 | |||
| Elementary flow | Land use / Land transformation | 5.72012947406914E-5 m2 | 5.72012947406914E-5 m2 | |||
| Elementary flow | Land use / Land transformation | 8.41175359651373E-10 m2 | 8.41175359651373E-10 m2 | |||
| Elementary flow | Resources / Resources from water / Renewable material resources from water | 3.70884024390252E-8 m3 | 3.70884024390252E-8 m3 | |||
| Elementary flow | Land use / Land occupation | 6.58662681823662E-9 m2*a | 6.58662681823662E-9 m2*a | |||
| Elementary flow | Resources / Resources from ground / Non-renewable element resources from ground | 9.02178987379383E-6 kg | 9.02178987379383E-6 kg | |||
| Elementary flow | Land use / Land transformation | 8.30070633413321E-14 m2 | 8.30070633413321E-14 m2 | |||
| Elementary flow | Land use / Land transformation | 2.33377831862352E-5 m2 | 2.33377831862352E-5 m2 | |||
| Elementary flow | Land use / Land transformation | 9.88113055424351E-17 m2 | 9.88113055424351E-17 m2 | |||
| Elementary flow | Land use / Land occupation | 7.42126902189129E-6 m2*a | 7.42126902189129E-6 m2*a | |||
| Elementary flow | Land use / Land transformation | 4.11407439025508E-12 m2 | 4.11407439025508E-12 m2 | |||
| Elementary flow | Land use / Land transformation | 2.23180469433913E-11 m2 | 2.23180469433913E-11 m2 | |||
| Elementary flow | Land use / Land transformation | 5.46504644392549E-13 m2 | 5.46504644392549E-13 m2 | |||
| Elementary flow | Resources / Resources from water / Renewable material resources from water | 4.78387546249077E-8 m3 | 4.78387546249077E-8 m3 | |||
| Elementary flow | Land use / Land transformation | 1.79821759135965E-11 m2 | 1.79821759135965E-11 m2 | |||
| Elementary flow | Resources / Resources from ground / Non-renewable energy resources from ground | 2.00398011576206E-4 MJ | 2.00398011576206E-4 MJ | |||
| Elementary flow | Land use / Land transformation | 5.15420661474847E-9 m2 | 5.15420661474847E-9 m2 | |||
| Elementary flow | Land use / Land transformation | 2.65998777604178E-20 m2 | 2.65998777604178E-20 m2 | |||
| Elementary flow | Land use / Land transformation | 3.64162316231365E-9 m2 | 3.64162316231365E-9 m2 | |||
| Elementary flow | Land use / Land occupation | 8.30534263985006E-11 m2*a | 8.30534263985006E-11 m2*a | |||
| Elementary flow | Land use / Land occupation | 1.28071240377006E-9 m2*a | 1.28071240377006E-9 m2*a | |||
| Elementary flow | Land use / Land transformation | 1.08179300460898E-14 m2 | 1.08179300460898E-14 m2 | |||
| Elementary flow | Resources / Resources from water / Renewable material resources from water | 5.14394794669162E-8 m3 | 5.14394794669162E-8 m3 | |||
| Elementary flow | Resources / Resources from water / Renewable material resources from water | 6.54804347337009E-8 m3 | 6.54804347337009E-8 m3 | |||
| Elementary flow | Land use / Land transformation | 1.50559438062322E-13 m2 | 1.50559438062322E-13 m2 | |||
| Elementary flow | Land use / Land occupation | 3.68729462712568E-10 m2*a | 3.68729462712568E-10 m2*a | |||
| Elementary flow | Resources / Resources from air / Renewable element resources from air | 7.43292381519746E-19 kg | 7.43292381519746E-19 kg | |||
| Elementary flow | Resources / Resources from ground / Non-renewable element resources from ground | 2.81269537551858E-9 kg | 2.81269537551858E-9 kg | |||
| Elementary flow | Land use / Land transformation | 8.20394244725294E-9 m2 | 8.20394244725294E-9 m2 | |||
| Elementary flow | Land use / Land occupation | 2.7714608384347E-10 m2*a | 2.7714608384347E-10 m2*a | |||
| Elementary flow | Land use / Land transformation | 2.52163171654485E-16 m2 | 2.52163171654485E-16 m2 | |||
| Elementary flow | Land use / Land transformation | 1.68962448652452E-11 m2 | 1.68962448652452E-11 m2 | |||
| Elementary flow | Land use / Land transformation | 2.50314280901592E-12 m2 | 2.50314280901592E-12 m2 | |||
| Elementary flow | Resources / Resources from air / Renewable material resources from air | 1.76639583449575 kg | 1.76639583449575 kg | |||
| Elementary flow | Land use / Land transformation | 9.59399629818137E-14 m2 | 9.59399629818137E-14 m2 | |||
| Elementary flow | Land use / Land transformation | 4.45840547193906E-8 m2 | 4.45840547193906E-8 m2 | |||
| Elementary flow | Land use / Land transformation | 8.92703638464032E-5 m2 | 8.92703638464032E-5 m2 | |||
| Elementary flow | Land use / Land transformation | 8.92703716135741E-5 m2 | 8.92703716135741E-5 m2 | |||
| Elementary flow | Land use / Land transformation | 1.68383474184271E-11 m2 | 1.68383474184271E-11 m2 | |||
| Elementary flow | Land use / Land occupation | 2.84480046736595E-10 m2*a | 2.84480046736595E-10 m2*a | |||
| Elementary flow | Land use / Land transformation | 4.23397841116038E-9 m2 | 4.23397841116038E-9 m2 | |||
| Elementary flow | Land use / Land transformation | 6.21414762332971E-17 m2 | 6.21414762332971E-17 m2 | |||
| Elementary flow | Land use / Land occupation | 3.8800343482953E-15 m2*a | 3.8800343482953E-15 m2*a | |||
| Elementary flow | Resources / Resources from ground / Non-renewable element resources from ground | 1.6646786316125697E-8 kg | 1.6646786316125697E-8 kg | |||
| Elementary flow | Resources / Resources from water / Renewable material resources from water | 3.72295609098186E-7 m3 | 3.72295609098186E-7 m3 | |||
| Elementary flow | Land use / Land transformation | 2.37691056848522E-12 m2 | 2.37691056848522E-12 m2 | |||
| Elementary flow | Resources / Resources from water / Renewable material resources from water | 7.14690711363765E-7 m3 | 7.14690711363765E-7 m3 | |||
| Elementary flow | Land use / Land occupation | 1.51938756400592E-11 m2*a | 1.51938756400592E-11 m2*a | |||
| Elementary flow | Resources / Resources from water / Renewable material resources from water | 4.68642314035623E-7 m3 | 4.68642314035623E-7 m3 | |||
| Elementary flow | Resources / Resources from water / Renewable material resources from water | 7.65661511601136E-7 m3 | 7.65661511601136E-7 m3 | |||
| Elementary flow | Resources / Resources from water / Renewable material resources from water | 2.80772042351265E-6 m3 | 2.80772042351265E-6 m3 | |||
| Elementary flow | Resources / Resources from water / Renewable material resources from water | 1.64051467657738E-7 m3 | 1.64051467657738E-7 m3 | |||
| Elementary flow | Land use / Land transformation | 2.77263242662844E-10 m2 | 2.77263242662844E-10 m2 | |||
| Elementary flow | Land use / Land transformation | 1.66897118174785E-13 m2 | 1.66897118174785E-13 m2 | |||
| Elementary flow | Land use / Land occupation | 3.28232917526657E-10 m2*a | 3.28232917526657E-10 m2*a | |||
| Elementary flow | Resources / Resources from water / Renewable material resources from water | 3.375926477160034E-7 m3 | 3.375926477160034E-7 m3 | |||
| Elementary flow | Land use / Land transformation | 8.37790263636847E-13 m2 | 8.37790263636847E-13 m2 | |||
| Elementary flow | Land use / Land occupation | 1.91413969665476E-9 m2*a | 1.91413969665476E-9 m2*a | |||
| Elementary flow | Land use / Land occupation | 3.29970324410867E-10 m2*a | 3.29970324410867E-10 m2*a | |||
| Elementary flow | Land use / Land transformation | 1.78879410322558E-10 m2 | 1.78879410322558E-10 m2 | |||
| Elementary flow | Land use / Land transformation | 1.70751649439623E-10 m2 | 1.70751649439623E-10 m2 | |||
| Elementary flow | Resources / Resources from biosphere / Renewable material resources from biosphere | 3.03890279364428E-6 m3 | 3.03890279364428E-6 m3 | |||
| Elementary flow | Resources / Resources from water / Renewable material resources from water | 1.92598376158172E-8 m3 | 1.92598376158172E-8 m3 | |||
| Elementary flow | Land use / Land occupation | 2.3662328229945E-10 m2*a | 2.3662328229945E-10 m2*a | |||
| Elementary flow | Land use / Land occupation | 2.27460421251495E-5 m2*a | 2.27460421251495E-5 m2*a | |||
| Elementary flow | Land use / Land occupation | 1.99388773137014E-11 m2*a | 1.99388773137014E-11 m2*a | |||
| Elementary flow | Land use / Land occupation | 3.05827952673623E-6 m2*a | 3.05827952673623E-6 m2*a | |||
| Elementary flow | Land use / Land transformation | 4.24836780532905E-13 m2 | 4.24836780532905E-13 m2 | |||
| Elementary flow | Land use / Land transformation | 1.08724442962838E-14 m2 | 1.08724442962838E-14 m2 | |||
| Elementary flow | Land use / Land transformation | 3.21196580915481E-14 m2 | 3.21196580915481E-14 m2 | |||
| Elementary flow | Land use / Land transformation | 2.50314280901592E-11 m2 | 2.50314280901592E-11 m2 | |||
| Elementary flow | Land use / Land occupation | 2.95257800300839E-10 m2*a | 2.95257800300839E-10 m2*a | |||
| Elementary flow | Land use / Land occupation | 3.07512202514804E-13 m2*a | 3.07512202514804E-13 m2*a | |||
| Elementary flow | Land use / Land occupation | 3.16686097023116E-11 m2*a | 3.16686097023116E-11 m2*a | |||
| Elementary flow | Resources / Resources from water / Renewable material resources from water | 1.04491549448931E-7 m3 | 1.04491549448931E-7 m3 | |||
| Elementary flow | Land use / Land transformation | 5.44536926262145E-13 m2 | 5.44536926262145E-13 m2 | |||
| Elementary flow | Resources / Resources from water / Renewable material resources from water | 7.61606156556109E-8 m3 | 7.61606156556109E-8 m3 | |||
| Elementary flow | Land use / Land transformation | 1.26020930831746E-26 m2 | 1.26020930831746E-26 m2 | |||
| Elementary flow | Resources / Resources from ground / Non-renewable material resources from ground | 0.00929021725096241 kg | 0.00929021725096241 kg | |||
| Elementary flow | Land use / Land transformation | 1.50233022422218E-6 m2 | 1.50233022422218E-6 m2 | |||
| Elementary flow | Resources / Resources from water / Renewable material resources from water | 1.13504949398617E-8 m3 | 1.13504949398617E-8 m3 | |||
| Elementary flow | Land use / Land transformation | 5.88626833728277E-10 m2 | 5.88626833728277E-10 m2 | |||
| Elementary flow | Land use / Land transformation | 7.56814769883769E-15 m2 | 7.56814769883769E-15 m2 | |||
| Elementary flow | Land use / Land transformation | 4.33717280941563E-6 m2 | 4.33717280941563E-6 m2 | |||
| Elementary flow | Land use / Land transformation | 1.25204584241045E-12 m2 | 1.25204584241045E-12 m2 | |||
| Elementary flow | Land use / Land occupation | 3.95799754707794E-5 m2*a | 3.95799754707794E-5 m2*a | |||
| Elementary flow | Land use / Land transformation | 5.27810161705194E-13 m2 | 5.27810161705194E-13 m2 | |||
| Elementary flow | Land use / Land occupation | 2.27189647649824E-11 m2*a | 2.27189647649824E-11 m2*a | |||
| Elementary flow | Land use / Land transformation | 9.58819826895033E-13 m2 | 9.58819826895033E-13 m2 | |||
| Elementary flow | Land use / Land transformation | 2.69705286891612E-8 m2 | 2.69705286891612E-8 m2 | |||
| Elementary flow | Land use / Land occupation | 3.75095759851367E-11 m2*a | 3.75095759851367E-11 m2*a | |||
| Elementary flow | Land use / Land transformation | 7.56814769883769E-15 m2 | 7.56814769883769E-15 m2 | |||
| Elementary flow | Land use / Land transformation | 1.44034242912303E-10 m2 | 1.44034242912303E-10 m2 | |||
| Elementary flow | Land use / Land occupation | 6.04283464440726E-10 m2*a | 6.04283464440726E-10 m2*a | |||
| Elementary flow | Land use / Land occupation | 3.07052490128998E-11 m2*a | 3.07052490128998E-11 m2*a | |||
| Elementary flow | Resources / Resources from water / Renewable material resources from water | 4.84192729866009E-8 m3 | 4.84192729866009E-8 m3 | |||
| Elementary flow | Resources / Resources from ground / Non-renewable material resources from ground | 3.36168352573622E-7 kg | 3.36168352573622E-7 kg | |||
| Elementary flow | Resources / Resources from water / Renewable material resources from water | 2.43455124702081E-7 m3 | 2.43455124702081E-7 m3 | |||
| Elementary flow | Land use / Land occupation | 3.63470623547273E-17 m2*a | 3.63470623547273E-17 m2*a | |||
| Elementary flow | Land use / Land transformation | 1.9399902323994E-10 m2 | 1.9399902323994E-10 m2 | |||
| Elementary flow | Land use / Land occupation | 6.05061691114948E-11 m2*a | 6.05061691114948E-11 m2*a | |||
| Elementary flow | Land use / Land transformation | 3.11844101537383E-11 m2 | 3.11844101537383E-11 m2 | |||
| Elementary flow | Land use / Land transformation | 5.15420661474847E-9 m2 | 5.15420661474847E-9 m2 | |||
| Elementary flow | Land use / Land transformation | 1.79225257692029E-5 m2 | 1.79225257692029E-5 m2 | |||
| Elementary flow | Land use / Land transformation | 4.47623334024519E-13 m2 | 4.47623334024519E-13 m2 | |||
| Elementary flow | Land use / Land transformation | 3.6504047381323E-11 m2 | 3.6504047381323E-11 m2 | |||
| Elementary flow | Land use / Land occupation | 1.24856713872245E-7 m2*a | 1.24856713872245E-7 m2*a | |||
| Elementary flow | Land use / Land transformation | 2.77263242662844E-10 m2 | 2.77263242662844E-10 m2 | |||
| Elementary flow | Land use / Land transformation | 7.42126905439026E-6 m2 | 7.42126905439026E-6 m2 | |||
| Elementary flow | Land use / Land transformation | 4.1995135848935E-9 m2 | 4.1995135848935E-9 m2 | |||
| Elementary flow | Land use / Land transformation | 2.80576466619288E-9 m2 | 2.80576466619288E-9 m2 | |||
| Elementary flow | Land use / Land occupation | 1.00138270904871E-11 m2*a | 1.00138270904871E-11 m2*a | |||
| Elementary flow | Resources / Resources from water / Renewable material resources from water | 3.82858085760693E-9 m3 | 3.82858085760693E-9 m3 | |||
| Elementary flow | Land use / Land transformation | 6.55129745392633E-13 m2 | 6.55129745392633E-13 m2 | |||
| Elementary flow | Land use / Land transformation | 5.27810161705194E-13 m2 | 5.27810161705194E-13 m2 | |||
| Elementary flow | Land use / Land occupation | 1.28505037895692E-10 m2*a | 1.28505037895692E-10 m2*a | |||
| Elementary flow | Land use / Land transformation | 4.31539593460837E-9 m2 | 4.31539593460837E-9 m2 | |||
| Elementary flow | Land use / Land occupation | 2.40496837728912E-15 m2*a | 2.40496837728912E-15 m2*a | |||
| Elementary flow | Land use / Land occupation | 8.31821492342032E-8 m2*a | 8.31821492342032E-8 m2*a | |||
| Elementary flow | Land use / Land transformation | 1.24482627115363E-11 m2 | 1.24482627115363E-11 m2 | |||
| Elementary flow | Land use / Land transformation | 1.86203118103159E-6 m2 | 1.86203118103159E-6 m2 | |||
| Elementary flow | Land use / Land occupation | 1.48489755356217E-10 m2*a | 1.48489755356217E-10 m2*a | |||
| Elementary flow | Land use / Land transformation | 1.75221032187096E-11 m2 | 1.75221032187096E-11 m2 | |||
| Elementary flow | Land use / Land transformation | 1.78092210994574E-10 m2 | 1.78092210994574E-10 m2 | |||
| Elementary flow | Land use / Land transformation | 5.2594187710581E-10 m2 | 5.2594187710581E-10 m2 | |||
| Elementary flow | Land use / Land occupation | 8.92703716135741E-5 m2*a | 8.92703716135741E-5 m2*a | |||
| Elementary flow | Land use / Land occupation | 3.46898721552051E-5 m2*a | 3.46898721552051E-5 m2*a | |||
| Elementary flow | Land use / Land transformation | 2.18856351518039E-12 m2 | 2.18856351518039E-12 m2 | |||
| Elementary flow | Land use / Land transformation | 3.61428302327964E-18 m2 | 3.61428302327964E-18 m2 | |||
| Elementary flow | Land use / Land transformation | 9.58654668545717E-11 m2 | 9.58654668545717E-11 m2 | |||
| Elementary flow | Land use / Land transformation | 1.17322583007513E-13 m2 | 1.17322583007513E-13 m2 | |||
| Elementary flow | Resources / Resources from ground / Non-renewable element resources from ground | 8.03050520537885E-6 kg | 8.03050520537885E-6 kg | |||
| Elementary flow | Land use / Land occupation | 3.03408103405428E-6 m2*a | 3.03408103405428E-6 m2*a | |||
| Elementary flow | Land use / Land occupation | 2.47376097360894E-6 m2*a | 2.47376097360894E-6 m2*a | |||
| Elementary flow | Land use / Land transformation | 2.76931094106145E-10 m2 | 2.76931094106145E-10 m2 | |||
| Elementary flow | Land use / Land occupation | 5.47491225990888E-8 m2*a | 5.47491225990888E-8 m2*a | |||
| Elementary flow | Resources / Resources from ground / Non-renewable element resources from ground | 4.30665446088786E-11 kg | 4.30665446088786E-11 kg | |||
| Elementary flow | Land use / Land occupation | 6.31426938967405E-13 m2*a | 6.31426938967405E-13 m2*a | |||
| Elementary flow | Land use / Land transformation | 1.25157380884858E-12 m2 | 1.25157380884858E-12 m2 | |||
| Elementary flow | Land use / Land transformation | 1.2380535163679E-7 m2 | 1.2380535163679E-7 m2 | |||
| Elementary flow | Land use / Land occupation | 1.67070367898787E-12 m2*a | 1.67070367898787E-12 m2*a | |||
| Elementary flow | Resources / Resources from ground / Renewable energy resources from ground | 0.01157354693228871 MJ | 0.01157354693228871 MJ | |||
| Elementary flow | Land use / Land occupation | 4.20039011165415E-10 m2*a | 4.20039011165415E-10 m2*a | |||
| Elementary flow | Land use / Land occupation | 1.03973141371598E-9 m2*a | 1.03973141371598E-9 m2*a | |||
| Elementary flow | Land use / Land transformation | 1.30542580019992E-12 m2 | 1.30542580019992E-12 m2 | |||
| Elementary flow | Resources / Resources from water / Renewable material resources from water | 7.89436125715198E-8 m3 | 7.89436125715198E-8 m3 | |||
| Elementary flow | Land use / Land transformation | 6.97975455631361E-13 m2 | 6.97975455631361E-13 m2 | |||
| Elementary flow | Resources / Resources from water / Renewable material resources from water | 5.33805178171513E-8 m3 | 5.33805178171513E-8 m3 | |||
| Elementary flow | Land use / Land transformation | 6.88364184110802E-12 m2 | 6.88364184110802E-12 m2 | |||
| Elementary flow | Land use / Land transformation | 1.25157380884858E-12 m2 | 1.25157380884858E-12 m2 | |||
| Elementary flow | Land use / Land occupation | 1.07400519795011E-10 m2*a | 1.07400519795011E-10 m2*a | |||
| Elementary flow | Resources / Resources from water / Renewable material resources from water | 3.908557726156155E-5 m3 | 3.908557726156155E-5 m3 | |||
| Elementary flow | Land use / Land transformation | 4.84513275888802E-13 m2 | 4.84513275888802E-13 m2 | |||
| Elementary flow | Land use / Land transformation | 1.3102838677094E-11 m2 | 1.3102838677094E-11 m2 | |||
| Elementary flow | Resources / Resources from ground / Non-renewable material resources from ground | 2.89252458306826E-7 kg | 2.89252458306826E-7 kg | |||
| Elementary flow | Land use / Land transformation | 7.57063190350138E-11 m2 | 7.57063190350138E-11 m2 | |||
| Elementary flow | Land use / Land occupation | 3.61703315631402E-5 m2*a | 3.61703315631402E-5 m2*a | |||
| Elementary flow | Land use / Land occupation | 6.81545036430615E-9 m2*a | 6.81545036430615E-9 m2*a | |||
| Elementary flow | Land use / Land transformation | 7.80235340137998E-14 m2 | 7.80235340137998E-14 m2 | |||
| Elementary flow | Land use / Land transformation | 1.00089888491504E-16 m2 | 1.00089888491504E-16 m2 | |||
| Elementary flow | Land use / Land transformation | 9.06430795027617E-7 m2 | 9.06430795027617E-7 m2 | |||
| Elementary flow | Land use / Land transformation | 8.99174272234636E-13 m2 | 8.99174272234636E-13 m2 | |||
| Elementary flow | Land use / Land transformation | 3.67891429211055E-13 m2 | 3.67891429211055E-13 m2 | |||
| Elementary flow | Resources / Resources from water / Renewable material resources from water | -4.63685129336169E-12 m3 | -4.63685129336169E-12 m3 | |||
| Elementary flow | Land use / Land transformation | 1.27657082810607E-9 m2 | 1.27657082810607E-9 m2 | |||
| Elementary flow | Land use / Land transformation | 9.31283771001773E-11 m2 | 9.31283771001773E-11 m2 | |||
| Elementary flow | Land use / Land transformation | 5.72012947408083E-5 m2 | 5.72012947408083E-5 m2 | |||
| Elementary flow | Land use / Land transformation | 9.89496185277429E-6 m2 | 9.89496185277429E-6 m2 | |||
| Elementary flow | Land use / Land transformation | 3.79243107745898E-8 m2 | 3.79243107745898E-8 m2 | |||
| Elementary flow | Land use / Land transformation | 3.95375480143785E-13 m2 | 3.95375480143785E-13 m2 | |||
| Elementary flow | Land use / Land transformation | 3.79301405618225E-5 m2 | 3.79301405618225E-5 m2 | |||
| Elementary flow | Land use / Land transformation | 4.94754574771419E-6 m2 | 4.94754574771419E-6 m2 | |||
| Elementary flow | Land use / Land transformation | 5.7160561425521E-7 m2 | 5.7160561425521E-7 m2 | |||
| Elementary flow | Land use / Land transformation | 4.98778275952903E-9 m2 | 4.98778275952903E-9 m2 | |||
| Elementary flow | Land use / Land transformation | 6.92139055145009E-13 m2 | 6.92139055145009E-13 m2 | |||
| Elementary flow | Land use / Land transformation | 7.2756008703952E-7 m2 | 7.2756008703952E-7 m2 | |||
| Elementary flow | Land use / Land occupation | 5.33860972269978E-8 m2*a | 5.33860972269978E-8 m2*a | |||
| Elementary flow | Land use / Land transformation | 1.05740739176448E-13 m2 | 1.05740739176448E-13 m2 | |||
| Elementary flow | Land use / Land transformation | 1.09326761621851E-12 m2 | 1.09326761621851E-12 m2 | |||
| Elementary flow | Land use / Land transformation | 4.39449820004676E-9 m2 | 4.39449820004676E-9 m2 | |||
| Elementary flow | Land use / Land transformation | -1.31330541086935E-9 m2 | -1.31330541086935E-9 m2 | |||
| Elementary flow | Land use / Land transformation | 6.48121347001527E-7 m2 | 6.48121347001527E-7 m2 | |||
| Elementary flow | Land use / Land transformation | 3.71811218486872E-12 m2 | 3.71811218486872E-12 m2 | |||
| Elementary flow | Resources / Resources from ground / Non-renewable material resources from ground | -1.10257120967678E-9 kg | -1.10257120967678E-9 kg | |||
| Elementary flow | Land use / Land occupation | 2.66454550069938E-9 m2*a | 2.66454550069938E-9 m2*a | |||
| Elementary flow | Land use / Land transformation | 1.37290003994272E-9 m2 | 1.37290003994272E-9 m2 | |||
| Elementary flow | Land use / Land occupation | -1.65437247939752E-15 m2*a | -1.65437247939752E-15 m2*a | |||
| Elementary flow | Land use / Land transformation | 1.93848745662866E-14 m2 | 1.93848745662866E-14 m2 | |||
| Elementary flow | Land use / Land transformation | 3.95799753437776E-5 m2 | 3.95799753437776E-5 m2 | |||
| Elementary flow | Land use / Land transformation | 1.41894001409008E-12 m2 | 1.41894001409008E-12 m2 | |||
| Elementary flow | Land use / Land occupation | 5.86568044523637E-10 m2*a | 5.86568044523637E-10 m2*a | |||
| Elementary flow | Land use / Land transformation | -1.00219875312751E-15 m2 | -1.00219875312751E-15 m2 | |||
| Elementary flow | Land use / Land transformation | 1.13730116239523E-8 m2 | 1.13730116239523E-8 m2 | |||
| Elementary flow | Land use / Land transformation | 5.2470995148626E-13 m2 | 5.2470995148626E-13 m2 | |||
| Elementary flow | Resources / Resources from ground / Non-renewable element resources from ground | 7.33801826797108E-10 kg | 7.33801826797108E-10 kg | |||
| Elementary flow | Land use / Land transformation | 2.31477706414096E-12 m2 | 2.31477706414096E-12 m2 | |||
| Elementary flow | Land use / Land occupation | 1.26308074891197E-9 m2*a | 1.26308074891197E-9 m2*a | |||
| Elementary flow | Resources / Resources from water / Renewable material resources from water | 5.2934499905501E-7 m3 | 5.2934499905501E-7 m3 | |||
| Elementary flow | Land use / Land occupation | 3.29796014750293E-11 m2*a | 3.29796014750293E-11 m2*a | |||
| Elementary flow | Resources / Resources from water / Renewable material resources from water | 8.70958759442506E-8 m3 | 8.70958759442506E-8 m3 | |||
| Elementary flow | Land use / Land occupation | 8.49375525921755E-12 m2*a | 8.49375525921755E-12 m2*a | |||
| Elementary flow | Land use / Land occupation | 2.37981437892302E-9 m2*a | 2.37981437892302E-9 m2*a | |||
| Elementary flow | Land use / Land transformation | 8.2769958531828E-12 m2 | 8.2769958531828E-12 m2 | |||
| Elementary flow | Land use / Land transformation | 2.00187186597742E-12 m2 | 2.00187186597742E-12 m2 | |||
| Elementary flow | Land use / Land transformation | 5.88626833728277E-10 m2 | 5.88626833728277E-10 m2 | |||
| Elementary flow | Land use / Land transformation | 3.63657743032335E-5 m2 | 3.63657743032335E-5 m2 | |||
| Elementary flow | Land use / Land transformation | 3.15468936881433E-9 m2 | 3.15468936881433E-9 m2 | |||
| Elementary flow | Resources / Resources from water / Renewable material resources from water | 2.54182014227015E-7 m3 | 2.54182014227015E-7 m3 | |||
| Elementary flow | Resources / Resources from ground / Non-renewable material resources from ground | 2.01112710102392E-9 kg | 2.01112710102392E-9 kg | |||
| Elementary flow | Land use / Land occupation | 4.68141204082799E-12 m2*a | 4.68141204082799E-12 m2*a | |||
| Elementary flow | Land use / Land transformation | 1.38963535036256E-10 m2 | 1.38963535036256E-10 m2 | |||
| Elementary flow | Land use / Land transformation | 1.96218439569025E-11 m2 | 1.96218439569025E-11 m2 | |||
| Elementary flow | Resources / Resources from water / Renewable material resources from water | 1.18280373141721E-6 m3 | 1.18280373141721E-6 m3 | |||
| Elementary flow | Land use / Land transformation | 4.94754574771419E-6 m2 | 4.94754574771419E-6 m2 | |||
| Elementary flow | Land use / Land transformation | 2.08021117011144E-12 m2 | 2.08021117011144E-12 m2 | |||
| Elementary flow | Land use / Land transformation | 6.38101683801342E-14 m2 | 6.38101683801342E-14 m2 | |||
| Elementary flow | Land use / Land transformation | 4.50885280906871E-12 m2 | 4.50885280906871E-12 m2 | |||
| Elementary flow | Resources / Resources from water / Renewable material resources from water | 3.55475377228293E-7 m3 | 3.55475377228293E-7 m3 | |||
| Elementary flow | Land use / Land transformation | 3.20374167087668E-13 m2 | 3.20374167087668E-13 m2 | |||
| Elementary flow | Land use / Land occupation | 2.06518841526894E-10 m2*a | 2.06518841526894E-10 m2*a | |||
| Elementary flow | Land use / Land transformation | 6.34016681087099E-10 m2 | 6.34016681087099E-10 m2 | |||
| Elementary flow | Land use / Land occupation | 4.49767005133727E-9 m2*a | 4.49767005133727E-9 m2*a | |||
| Elementary flow | Land use / Land occupation | 1.77354744345544E-11 m2*a | 1.77354744345544E-11 m2*a | |||
| Elementary flow | Land use / Land occupation | 6.20688061239449E-4 m2*a | 6.20688061239449E-4 m2*a | |||
| Elementary flow | Land use / Land transformation | 3.6430314212219E-11 m2 | 3.6430314212219E-11 m2 | |||
| Elementary flow | Land use / Land transformation | 7.42122281917172E-6 m2 | 7.42122281917172E-6 m2 | |||
| Elementary flow | Land use / Land transformation | 1.90189731325002E-11 m2 | 1.90189731325002E-11 m2 | |||
| Elementary flow | Land use / Land transformation | 5.276973182725E-10 m2 | 5.276973182725E-10 m2 | |||
| Elementary flow | Land use / Land transformation | 1.97230220770462E-12 m2 | 1.97230220770462E-12 m2 | |||
| Elementary flow | Land use / Land occupation | 7.42126867194946E-6 m2*a | 7.42126867194946E-6 m2*a | |||
| Elementary flow | Resources / Resources from air / Renewable element resources from air | 2.32910228369392E-5 kg | 2.32910228369392E-5 kg | |||
| Elementary flow | Resources / Resources from water / Renewable material resources from water | 4.43218486107795E-12 m3 | 4.43218486107795E-12 m3 | |||
| Elementary flow | Resources / Resources from ground / Non-renewable material resources from ground | 6.48712229220295E-12 kg | 6.48712229220295E-12 kg | |||
| Elementary flow | Land use / Land occupation | 4.30167916217017E-12 m2*a | 4.30167916217017E-12 m2*a | |||
| Elementary flow | Resources / Resources from ground / Non-renewable material resources from ground | 0.0106289465998923 kg | 0.0106289465998923 kg | |||
| Elementary flow | Land use / Land occupation | 1.84803375805194E-6 m2*a | 1.84803375805194E-6 m2*a | |||
| Elementary flow | Resources / Resources from water / Renewable material resources from water | 2.03462752215409E-8 m3 | 2.03462752215409E-8 m3 | |||
| Elementary flow | Resources / Resources from water / Renewable material resources from water | 2.43864134321004E-4 m3 | 2.43864134321004E-4 m3 | |||
| Elementary flow | Land use / Land transformation | 2.39750763428179E-11 m2 | 2.39750763428179E-11 m2 | |||
| Elementary flow | Land use / Land occupation | 1.18338132462277E-10 m2*a | 1.18338132462277E-10 m2*a | |||
| Elementary flow | Land use / Land occupation | 1.70054615423877E-8 m2*a | 1.70054615423877E-8 m2*a | |||
| Elementary flow | Land use / Land transformation | 4.2027727724163E-13 m2 | 4.2027727724163E-13 m2 | |||
| Elementary flow | Land use / Land transformation | 3.6504047381323E-11 m2 | 3.6504047381323E-11 m2 | |||
| Elementary flow | Land use / Land transformation | 4.94754574772091E-6 m2 | 4.94754574772091E-6 m2 | |||
| Elementary flow | Land use / Land occupation | 1.73946347221962E-4 m2*a | 1.73946347221962E-4 m2*a | |||
| Elementary flow | Land use / Land transformation | 6.58178494588739E-13 m2 | 6.58178494588739E-13 m2 | |||
| Elementary flow | Land use / Land transformation | 9.06430795027617E-7 m2 | 9.06430795027617E-7 m2 | |||
| Elementary flow | Land use / Land occupation | 7.99861413536786E-8 m2*a | 7.99861413536786E-8 m2*a | |||
| Elementary flow | Land use / Land transformation | 7.42122281930672E-6 m2 | 7.42122281930672E-6 m2 | |||
| Elementary flow | Land use / Land occupation | 1.47562152301513E-14 m2*a | 1.47562152301513E-14 m2*a | |||
| Elementary flow | Land use / Land transformation | 1.89057803620846E-13 m2 | 1.89057803620846E-13 m2 | |||
| Elementary flow | Land use / Land transformation | 2.69088167694984E-11 m2 | 2.69088167694984E-11 m2 | |||
| Elementary flow | Land use / Land occupation | 2.03948827742208E-16 m2*a | 2.03948827742208E-16 m2*a | |||
| Elementary flow | Resources / Resources from ground / Non-renewable element resources from ground | 7.13931023405324E-9 kg | 7.13931023405324E-9 kg | |||
| Elementary flow | Land use / Land transformation | 1.11427406040018E-6 m2 | 1.11427406040018E-6 m2 | |||
| Elementary flow | Land use / Land transformation | 7.35040704104104E-12 m2 | 7.35040704104104E-12 m2 | |||
| Elementary flow | Land use / Land transformation | 2.72258174820898E-13 m2 | 2.72258174820898E-13 m2 | |||
| Elementary flow | Land use / Land transformation | 9.07561543770242E-12 m2 | 9.07561543770242E-12 m2 | |||
| Elementary flow | Land use / Land transformation | 1.13730116239523E-8 m2 | 1.13730116239523E-8 m2 | |||
| Elementary flow | Land use / Land transformation | 1.03880836556454E-10 m2 | 1.03880836556454E-10 m2 | |||
| Elementary flow | Land use / Land transformation | 1.65530922849778E-9 m2 | 1.65530922849778E-9 m2 | |||
| Elementary flow | Land use / Land occupation | 1.43991079993424E-10 m2*a | 1.43991079993424E-10 m2*a | |||
| Elementary flow | Resources / Resources from water / Renewable material resources from water | 6.75911124991325E-5 m3 | 6.75911124991325E-5 m3 | |||
| Elementary flow | Resources / Resources from air / Renewable element resources from air | 6.28025806105055E-4 kg | 6.28025806105055E-4 kg | |||
| Elementary flow | Land use / Land transformation | 1.86203118103159E-6 m2 | 1.86203118103159E-6 m2 | |||
| Elementary flow | Land use / Land transformation | 1.78119188335287E-6 m2 | 1.78119188335287E-6 m2 | |||
| Elementary flow | Land use / Land occupation | 6.59565080631448E-9 m2*a | 6.59565080631448E-9 m2*a | |||
| Elementary flow | Resources / Resources from water / Renewable material resources from water | 3.91553842493755E-12 m3 | 3.91553842493755E-12 m3 | |||
| Elementary flow | Resources / Resources from water / Renewable material resources from water | 1.775721073571E-7 m3 | 1.775721073571E-7 m3 | |||
| Elementary flow | Resources / Resources from water / Renewable material resources from water | 6.79416778773767E-7 m3 | 6.79416778773767E-7 m3 | |||
| Elementary flow | Land use / Land transformation | 6.73556989853422E-8 m2 | 6.73556989853422E-8 m2 | |||
| Elementary flow | Land use / Land transformation | 1.41894001409008E-12 m2 | 1.41894001409008E-12 m2 | |||
| Elementary flow | Land use / Land occupation | 7.42122281930672E-6 m2*a | 7.42122281930672E-6 m2*a | |||
| Elementary flow | Resources / Resources from water / Renewable material resources from water | 7.38039996011715E-13 m3 | 7.38039996011715E-13 m3 | |||
| Elementary flow | Land use / Land occupation | 2.23417666501938E-10 m2*a | 2.23417666501938E-10 m2*a | |||
| Elementary flow | Land use / Land transformation | 3.83911658521358E-11 m2 | 3.83911658521358E-11 m2 | |||
| Elementary flow | Land use / Land transformation | 9.59399629818137E-14 m2 | 9.59399629818137E-14 m2 | |||
| Elementary flow | Land use / Land transformation | 6.34444435058688E-15 m2 | 6.34444435058688E-15 m2 | |||
| Elementary flow | Land use / Land occupation | 1.86203118103159E-6 m2*a | 1.86203118103159E-6 m2*a | |||
| Elementary flow | Land use / Land transformation | 3.0868975510921E-8 m2 | 3.0868975510921E-8 m2 | |||
| Elementary flow | Resources / Resources from water / Renewable material resources from water | 7.57106574440514E-6 m3 | 7.57106574440514E-6 m3 | |||
| Elementary flow | Land use / Land occupation | 4.06947155011363E-11 m2*a | 4.06947155011363E-11 m2*a | |||
| Elementary flow | Land use / Land transformation | 4.23397841116038E-9 m2 | 4.23397841116038E-9 m2 | |||
| Elementary flow | Land use / Land transformation | 7.08288998002014E-13 m2 | 7.08288998002014E-13 m2 | |||
| Elementary flow | Land use / Land transformation | 1.07178883646171E-9 m2 | 1.07178883646171E-9 m2 | |||
| Elementary flow | Land use / Land transformation | 7.01619639628415E-13 m2 | 7.01619639628415E-13 m2 | |||
| Elementary flow | Resources / Resources from ground / Non-renewable element resources from ground | 1.40925279234123E-6 kg | 1.40925279234123E-6 kg | |||
| Elementary flow | Land use / Land occupation | 4.18785273378817E-11 m2*a | 4.18785273378817E-11 m2*a | |||
| Elementary flow | Resources / Resources from ground / Non-renewable energy resources from ground | 1.572553613894086E-4 MJ | 1.572553613894086E-4 MJ | |||
| Elementary flow | Land use / Land transformation | 3.2826932132903E-5 m2 | 3.2826932132903E-5 m2 | |||
| Elementary flow | Land use / Land transformation | 4.44317824965426E-11 m2 | 4.44317824965426E-11 m2 | |||
| Elementary flow | Land use / Land occupation | 9.72206366939205E-12 m2*a | 9.72206366939205E-12 m2*a | |||
| Elementary flow | Resources / Resources from water / Renewable material resources from water | 8.72078635488706E-12 m3 | 8.72078635488706E-12 m3 | |||
| Elementary flow | Resources / Resources from water / Renewable material resources from water | 7.03889238217041E-6 m3 | 7.03889238217041E-6 m3 | |||
| Elementary flow | Land use / Land transformation | 1.63534983391871E-12 m2 | 1.63534983391871E-12 m2 | |||
| Elementary flow | Land use / Land transformation | 1.05092389719308E-11 m2 | 1.05092389719308E-11 m2 | |||
| Elementary flow | Land use / Land transformation | 1.18657098921358E-12 m2 | 1.18657098921358E-12 m2 | |||
| Elementary flow | Land use / Land transformation | 6.88612577464914E-9 m2 | 6.88612577464914E-9 m2 | |||
| Elementary flow | Land use / Land transformation | 5.02283295776679E-10 m2 | 5.02283295776679E-10 m2 | |||
| Elementary flow | Land use / Land transformation | 5.56341823392727E-13 m2 | 5.56341823392727E-13 m2 | |||
| Elementary flow | Resources / Resources from ground / Non-renewable element resources from ground | 1.90124389925712E-7 kg | 1.90124389925712E-7 kg | |||
| Elementary flow | Resources / Resources from ground / Non-renewable element resources from ground | 3.80369669761069E-19 kg | 3.80369669761069E-19 kg | |||
| Elementary flow | Resources / Resources from water / Renewable material resources from water | 1.0490146264285E-7 m3 | 1.0490146264285E-7 m3 | |||
| Elementary flow | Land use / Land transformation | 9.80756431162734E-11 m2 | 9.80756431162734E-11 m2 | |||
| Elementary flow | Land use / Land occupation | 1.60733602687719E-8 m2*a | 1.60733602687719E-8 m2*a | |||
| Elementary flow | Land use / Land transformation | 9.02148794761878E-12 m2 | 9.02148794761878E-12 m2 | |||
| Elementary flow | Resources / Resources from water / Renewable material resources from water | 5.13302211052482E-7 m3 | 5.13302211052482E-7 m3 | |||
| Elementary flow | Resources / Resources from water / Renewable material resources from water | 5.62763445197109E-8 m3 | 5.62763445197109E-8 m3 | |||
| Elementary flow | Land use / Land transformation | 7.86718788009302E-11 m2 | 7.86718788009302E-11 m2 | |||
| Elementary flow | Land use / Land occupation | 8.88470336108029E-10 m2*a | 8.88470336108029E-10 m2*a | |||
| Elementary flow | Land use / Land occupation | 5.15420661474847E-9 m2*a | 5.15420661474847E-9 m2*a | |||
| Elementary flow | Land use / Land transformation | 1.63130256424549E-11 m2 | 1.63130256424549E-11 m2 | |||
| Elementary flow | Resources / Resources from ground / Non-renewable element resources from ground | 2.37521970112888E-9 kg | 2.37521970112888E-9 kg | |||
| Elementary flow | Land use / Land transformation | 3.64874980066973E-16 m2 | 3.64874980066973E-16 m2 | |||
| Elementary flow | Land use / Land transformation | 1.25157380884858E-12 m2 | 1.25157380884858E-12 m2 | |||
| Elementary flow | Land use / Land transformation | 2.40496837728912E-15 m2 | 2.40496837728912E-15 m2 | |||
| Elementary flow | Resources / Resources from water / Renewable material resources from water | 2.59660154331059E-9 m3 | 2.59660154331059E-9 m3 | |||
| Elementary flow | Land use / Land transformation | 4.7553267770115E-13 m2 | 4.7553267770115E-13 m2 | |||
| Elementary flow | Land use / Land occupation | 1.4417516759734E-9 m2*a | 1.4417516759734E-9 m2*a | |||
| Elementary flow | Resources / Resources from ground / Non-renewable material resources from ground | 5.88303408347637E-15 kg | 5.88303408347637E-15 kg | |||
| Elementary flow | Land use / Land occupation | 0.00952302424762898 m2*a | 0.00952302424762898 m2*a | |||
| Elementary flow | Land use / Land occupation | 2.17655918325872E-14 m2*a | 2.17655918325872E-14 m2*a | |||
| Elementary flow | Resources / Resources from water / Renewable material resources from water | 7.21672387075619E-9 m3 | 7.21672387075619E-9 m3 | |||
| Elementary flow | Land use / Land transformation | 1.07353988985304E-7 m2 | 1.07353988985304E-7 m2 | |||
| Elementary flow | Land use / Land occupation | 1.75586544007794E-9 m2*a | 1.75586544007794E-9 m2*a | |||
| Elementary flow | Land use / Land transformation | 1.66173085907714E-9 m2 | 1.66173085907714E-9 m2 | |||
| Elementary flow | Land use / Land transformation | 7.21705876035608E-13 m2 | 7.21705876035608E-13 m2 | |||
| Elementary flow | Resources / Resources from water / Renewable material resources from water | 1.22485194091007E-6 m3 | 1.22485194091007E-6 m3 | |||
| Elementary flow | Land use / Land transformation | 5.76982619242756E-14 m2 | 5.76982619242756E-14 m2 | |||
| Elementary flow | Land use / Land transformation | 3.16137783102479E-11 m2 | 3.16137783102479E-11 m2 | |||
| Elementary flow | Land use / Land transformation | 5.30655215590049E-10 m2 | 5.30655215590049E-10 m2 | |||
| Elementary flow | Land use / Land occupation | 4.94754574772091E-6 m2*a | 4.94754574772091E-6 m2*a | |||
| Elementary flow | Land use / Land occupation | 7.30709172904069E-9 m2*a | 7.30709172904069E-9 m2*a | |||
| Elementary flow | Land use / Land occupation | 1.14800266843341E-9 m2*a | 1.14800266843341E-9 m2*a | |||
| Elementary flow | Land use / Land transformation | 5.35433069355944E-11 m2 | 5.35433069355944E-11 m2 | |||
| Elementary flow | Land use / Land transformation | 1.31596061011296E-4 m2 | 1.31596061011296E-4 m2 | |||
| Elementary flow | Land use / Land transformation | 4.9877827595965E-9 m2 | 4.9877827595965E-9 m2 | |||
| Elementary flow | Land use / Land occupation | 7.42122281930672E-6 m2*a | 7.42122281930672E-6 m2*a | |||
| Elementary flow | Land use / Land transformation | 4.24086205300147E-9 m2 | 4.24086205300147E-9 m2 | |||
| Elementary flow | Resources / Resources from ground / Non-renewable material resources from ground | 1.10025409881694E-5 kg | 1.10025409881694E-5 kg | |||
| Elementary flow | Land use / Land transformation | 1.50173905888669E-12 m2 | 1.50173905888669E-12 m2 | |||
| Elementary flow | Land use / Land occupation | 4.95526885901462E-9 m2*a | 4.95526885901462E-9 m2*a | |||
| Elementary flow | Land use / Land transformation | 2.96851210375499E-5 m2 | 2.96851210375499E-5 m2 | |||
| Elementary flow | Land use / Land transformation | 1.25157380884858E-12 m2 | 1.25157380884858E-12 m2 | |||
| Elementary flow | Land use / Land transformation | 3.2732722511916E-13 m2 | 3.2732722511916E-13 m2 | |||
| Elementary flow | Land use / Land transformation | 1.84182476854047E-5 m2 | 1.84182476854047E-5 m2 | |||
| Elementary flow | Land use / Land occupation | 3.65734776134272E-11 m2*a | 3.65734776134272E-11 m2*a | |||
| Elementary flow | Land use / Land transformation | 1.88116622833865E-13 m2 | 1.88116622833865E-13 m2 | |||
| Elementary flow | Land use / Land occupation | 3.26481708270155E-9 m2*a | 3.26481708270155E-9 m2*a | |||
| Elementary flow | Land use / Land transformation | 2.96851203607069E-5 m2 | 2.96851203607069E-5 m2 | |||
| Elementary flow | Resources / Resources from water / Renewable material resources from water | 6.21978618937376E-8 kg | 6.21978618937376E-8 kg | |||
| Elementary flow | Land use / Land occupation | 1.47882507118529E-13 m2*a | 1.47882507118529E-13 m2*a | |||
| Elementary flow | Land use / Land transformation | 5.40786219807098E-13 m2 | 5.40786219807098E-13 m2 | |||
| Elementary flow | Land use / Land transformation | 1.58564655314058E-15 m2 | 1.58564655314058E-15 m2 | |||
| Elementary flow | Resources / Resources from water / Renewable material resources from water | 8.70734106098661E-9 m3 | 8.70734106098661E-9 m3 | |||
| Elementary flow | Land use / Land transformation | 6.07595998878962E-7 m2 | 6.07595998878962E-7 m2 | |||
| Elementary flow | Resources / Resources from water / Renewable material resources from water | 1.6680846484298E-8 m3 | 1.6680846484298E-8 m3 | |||
| Elementary flow | Land use / Land occupation | 2.46766747963659E-17 m2*a | 2.46766747963659E-17 m2*a | |||
| Elementary flow | Land use / Land transformation | 3.62759863876455E-16 m2 | 3.62759863876455E-16 m2 | |||
| Elementary flow | Land use / Land transformation | 8.12577186886825E-14 m2 | 8.12577186886825E-14 m2 | |||
| Elementary flow | Land use / Land transformation | 6.66380632268803E-16 m2 | 6.66380632268803E-16 m2 | |||
| Elementary flow | Resources / Resources from water / Renewable material resources from water | 1.06893546898893E-7 m3 | 1.06893546898893E-7 m3 | |||
| Elementary flow | Resources / Resources from ground / Non-renewable element resources from ground | 4.5066243741574E-8 kg | 4.5066243741574E-8 kg | |||
| Elementary flow | Land use / Land occupation | 1.45923487570382E-4 m2*a | 1.45923487570382E-4 m2*a | |||
| Elementary flow | Land use / Land occupation | 5.92867833254611E-15 m2*a | 5.92867833254611E-15 m2*a | |||
| Elementary flow | Land use / Land transformation | 4.09697829629104E-8 m2 | 4.09697829629104E-8 m2 | |||
| Elementary flow | Resources / Resources from water / Renewable material resources from water | 9.70413011758884E-7 m3 | 9.70413011758884E-7 m3 | |||
| Elementary flow | Land use / Land transformation | 9.69362788364774E-13 m2 | 9.69362788364774E-13 m2 | |||
| Elementary flow | Resources / Resources from ground / Non-renewable element resources from ground | 4.38128885436187E-9 kg | 4.38128885436187E-9 kg | |||
| Elementary flow | Land use / Land transformation | 6.31640714351127E-9 m2 | 6.31640714351127E-9 m2 | |||
| Elementary flow | Land use / Land transformation | 9.33937672794385E-16 m2 | 9.33937672794385E-16 m2 | |||
| Elementary flow | Land use / Land transformation | 1.56597645541005E-10 m2 | 1.56597645541005E-10 m2 | |||
| Elementary flow | Resources / Resources from biosphere / Renewable energy resources from biosphere | 1.0833089936829784E-10 MJ | 1.0833089936829784E-10 MJ | |||
| Elementary flow | Resources / Resources from water / Renewable material resources from water | 1.51155979407038E-7 m3 | 1.51155979407038E-7 m3 | |||
| Elementary flow | Resources / Resources from water / Renewable material resources from water | 1.71029759085625E-9 m3 | 1.71029759085625E-9 m3 | |||
| Elementary flow | Land use / Land transformation | 2.14130695452049E-10 m2 | 2.14130695452049E-10 m2 | |||
| Elementary flow | Land use / Land transformation | 1.0792880823801E-7 m2 | 1.0792880823801E-7 m2 | |||
| Elementary flow | Land use / Land transformation | 6.39287677162559E-19 m2 | 6.39287677162559E-19 m2 | |||
| Elementary flow | Resources / Resources from ground / Non-renewable element resources from ground | 6.07959831241644E-7 kg | 6.07959831241644E-7 kg | |||
| Elementary flow | Land use / Land transformation | 5.28587298734871E-14 m2 | 5.28587298734871E-14 m2 | |||
| Elementary flow | Land use / Land transformation | 3.79559050704756E-13 m2 | 3.79559050704756E-13 m2 | |||
| Elementary flow | Land use / Land transformation | 1.78799548128154E-7 m2 | 1.78799548128154E-7 m2 | |||
| Elementary flow | Land use / Land transformation | 7.2860527968748E-12 m2 | 7.2860527968748E-12 m2 | |||
| Elementary flow | Land use / Land transformation | 1.08099652728354E-8 m2 | 1.08099652728354E-8 m2 | |||
| Elementary flow | Land use / Land occupation | 1.28623715162763E-9 m2*a | 1.28623715162763E-9 m2*a | |||
| Elementary flow | Land use / Land occupation | 9.89496213866721E-6 m2*a | 9.89496213866721E-6 m2*a | |||
| Elementary flow | Land use / Land transformation | 4.44317824965426E-11 m2 | 4.44317824965426E-11 m2 | |||
| Elementary flow | Emissions | 2.83390937712066E-28 kg | 2.83390937712066E-28 kg | |||
| Elementary flow | Resources / Resources from water / Renewable material resources from water | 4.70718234781413E-8 m3 | 4.70718234781413E-8 m3 | |||
| Elementary flow | Land use / Land transformation | 3.05818272328613E-6 m2 | 3.05818272328613E-6 m2 | |||
| Elementary flow | Land use / Land transformation | 4.46187950990381E-8 m2 | 4.46187950990381E-8 m2 | |||
| Elementary flow | Land use / Land transformation | 7.27046497635842E-6 m2 | 7.27046497635842E-6 m2 | |||
| Elementary flow | Land use / Land transformation | 1.25157380884858E-12 m2 | 1.25157380884858E-12 m2 | |||
| Elementary flow | Land use / Land occupation | 1.00548819291924E-12 m2*a | 1.00548819291924E-12 m2*a | |||
| Elementary flow | Land use / Land occupation | 1.43394723915698E-10 m2*a | 1.43394723915698E-10 m2*a | |||
| Elementary flow | Land use / Land transformation | 1.30949817967371E-10 m2 | 1.30949817967371E-10 m2 | |||
| Elementary flow | Resources / Resources from water / Renewable material resources from water | 1.72495212877195E-7 m3 | 1.72495212877195E-7 m3 | |||
| Elementary flow | Land use / Land transformation | 4.14037957542834E-12 m2 | 4.14037957542834E-12 m2 | |||
| Elementary flow | Land use / Land transformation | 1.72714778432144E-13 m2 | 1.72714778432144E-13 m2 | |||
| Elementary flow | Land use / Land transformation | 1.40664761773094E-12 m2 | 1.40664761773094E-12 m2 | |||
| Elementary flow | Land use / Land transformation | 4.45130038259043E-13 m2 | 4.45130038259043E-13 m2 | |||
| Elementary flow | Land use / Land transformation | 4.32418013181356E-10 m2 | 4.32418013181356E-10 m2 | |||
| Elementary flow | Land use / Land transformation | 6.35331598425987E-7 m2 | 6.35331598425987E-7 m2 | |||
| Elementary flow | Land use / Land transformation | 7.59011430010721E-12 m2 | 7.59011430010721E-12 m2 | |||
| Elementary flow | Land use / Land transformation | 4.45130038259043E-13 m2 | 4.45130038259043E-13 m2 | |||
| Elementary flow | Land use / Land transformation | 8.04943824564579E-7 m2 | 8.04943824564579E-7 m2 | |||
| Elementary flow | Resources / Resources from water / Renewable material resources from water | 1.17556029610248E-7 m3 | 1.17556029610248E-7 m3 | |||
| Elementary flow | Land use / Land transformation | 1.6546241433379E-10 m2 | 1.6546241433379E-10 m2 | |||
| Elementary flow | Land use / Land transformation | 7.21521797269235E-9 m2 | 7.21521797269235E-9 m2 | |||
| Elementary flow | Resources / Resources from ground / Non-renewable material resources from ground | 7.36145761622908E-8 kg | 7.36145761622908E-8 kg | |||
| Elementary flow | Land use / Land occupation | 4.42981488762075E-9 m2*a | 4.42981488762075E-9 m2*a | |||
| Elementary flow | Land use / Land occupation | 2.18903383039619E-4 m2*a | 2.18903383039619E-4 m2*a | |||
| Elementary flow | Land use / Land transformation | 7.42122281917172E-6 m2 | 7.42122281917172E-6 m2 | |||
| Elementary flow | Land use / Land transformation | 1.39722334595778E-12 m2 | 1.39722334595778E-12 m2 | |||
| Elementary flow | Resources / Resources from water / Renewable material resources from water | 4.20202373808797E-8 m3 | 4.20202373808797E-8 m3 | |||
| Elementary flow | Land use / Land occupation | 1.17731063741415E-9 m2*a | 1.17731063741415E-9 m2*a | |||
| Elementary flow | Land use / Land transformation | 6.97975455631361E-13 m2 | 6.97975455631361E-13 m2 | |||
| Elementary flow | Land use / Land occupation | 1.63103675315417E-10 m2*a | 1.63103675315417E-10 m2*a | |||
| Elementary flow | Land use / Land transformation | 3.21196580915481E-14 m2 | 3.21196580915481E-14 m2 | |||
| Elementary flow | Land use / Land transformation | 1.58564655314058E-15 m2 | 1.58564655314058E-15 m2 | |||
| Elementary flow | Resources / Resources from water / Renewable material resources from water | 2.34262123527227E-10 m3 | 2.34262123527227E-10 m3 | |||
| Elementary flow | Land use / Land transformation | 1.12642254899803E-11 m2 | 1.12642254899803E-11 m2 | |||
| Elementary flow | Land use / Land transformation | 6.80275562907934E-9 m2 | 6.80275562907934E-9 m2 | |||
| Elementary flow | Land use / Land occupation | 1.69275663164586E-9 m2*a | 1.69275663164586E-9 m2*a | |||
| Elementary flow | Land use / Land transformation | 1.05237823161234E-14 m2 | 1.05237823161234E-14 m2 | |||
| Elementary flow | Land use / Land occupation | 5.42142453491945E-17 m2*a | 5.42142453491945E-17 m2*a | |||
| Elementary flow | Land use / Land transformation | 8.16979600857181E-12 m2 | 8.16979600857181E-12 m2 | |||
| Elementary flow | Resources / Resources from water / Renewable material resources from water | 1.2891729392439E-10 m3 | 1.2891729392439E-10 m3 | |||
| Elementary flow | Land use / Land occupation | 3.35903228751546E-7 m2*a | 3.35903228751546E-7 m2*a | |||
| Elementary flow | Land use / Land transformation | 2.69203381476157E-7 m2 | 2.69203381476157E-7 m2 | |||
| Elementary flow | Land use / Land occupation | 9.92944521104303E-11 m2*a | 9.92944521104303E-11 m2*a | |||
| Elementary flow | Land use / Land transformation | 6.40915173385099E-15 m2 | 6.40915173385099E-15 m2 | |||
| Elementary flow | Land use / Land transformation | 2.57620070106418E-9 m2 | 2.57620070106418E-9 m2 | |||
| Elementary flow | Land use / Land transformation | -1.54184423558077E-16 m2 | -1.54184423558077E-16 m2 | |||
| Elementary flow | Land use / Land transformation | 5.49802725553217E-12 m2 | 5.49802725553217E-12 m2 | |||
| Elementary flow | Land use / Land transformation | 1.63354904892538E-14 m2 | 1.63354904892538E-14 m2 | |||
| Elementary flow | Resources / Resources from water / Renewable material resources from water | 1.8112003604431E-10 m3 | 1.8112003604431E-10 m3 | |||
| Elementary flow | Land use / Land transformation | 8.61913021962685E-9 m2 | 8.61913021962685E-9 m2 | |||
| Elementary flow | Land use / Land occupation | 9.89498990078285E-6 m2*a | 9.89498990078285E-6 m2*a | |||
| Elementary flow | Resources / Resources from water / Renewable material resources from water | 4.46372846932231E-7 m3 | 4.46372846932231E-7 m3 | |||
| Elementary flow | Land use / Land transformation | 2.7024269892706E-17 m2 | 2.7024269892706E-17 m2 | |||
| Elementary flow | Land use / Land transformation | 8.65824614875148E-13 m2 | 8.65824614875148E-13 m2 | |||
| Elementary flow | Land use / Land occupation | 3.0112565806619E-12 m2*a | 3.0112565806619E-12 m2*a | |||
| Elementary flow | Land use / Land transformation | 4.2027727724163E-13 m2 | 4.2027727724163E-13 m2 | |||
| Elementary flow | Land use / Land transformation | 5.13512274577504E-12 m2 | 5.13512274577504E-12 m2 | |||
| Elementary flow | Resources / Resources from ground / Non-renewable material resources from ground | 5.3841025946481E-25 kg | 5.3841025946481E-25 kg | |||
| Elementary flow | Resources / Resources from water / Renewable material resources from water | 2.83666958863203E-7 m3 | 2.83666958863203E-7 m3 | |||
| Elementary flow | Resources / Resources from water / Renewable material resources from water | 1.12459033287996E-6 m3 | 1.12459033287996E-6 m3 | |||
| Elementary flow | Resources / Resources from water / Renewable material resources from water | 2.47831656174867E-9 m3 | 2.47831656174867E-9 m3 | |||
| Elementary flow | Land use / Land transformation | 1.07955187933357E-7 m2 | 1.07955187933357E-7 m2 | |||
| Elementary flow | Land use / Land transformation | 4.09890864936535E-6 m2 | 4.09890864936535E-6 m2 | |||
| Elementary flow | Land use / Land transformation | 2.31541621790431E-11 m2 | 2.31541621790431E-11 m2 | |||
| Elementary flow | Land use / Land transformation | 4.14037957542834E-12 m2 | 4.14037957542834E-12 m2 | |||
| Elementary flow | Land use / Land transformation | 3.4995164373535E-13 m2 | 3.4995164373535E-13 m2 | |||
| Elementary flow | Land use / Land transformation | 3.4995164373535E-13 m2 | 3.4995164373535E-13 m2 | |||
| Elementary flow | Land use / Land transformation | 6.103807697002E-11 m2 | 6.103807697002E-11 m2 | |||
| Elementary flow | Land use / Land transformation | 1.05803892983844E-11 m2 | 1.05803892983844E-11 m2 | |||
| Elementary flow | Land use / Land transformation | 7.56814769883769E-15 m2 | 7.56814769883769E-15 m2 | |||
| Elementary flow | Land use / Land transformation | 4.18502733759983E-10 m2 | 4.18502733759983E-10 m2 | |||
| Elementary flow | Land use / Land transformation | 3.11462574815254E-12 m2 | 3.11462574815254E-12 m2 | |||
| Elementary flow | Resources / Resources from ground / Non-renewable material resources from ground | 6.65755777518008E-7 kg | 6.65755777518008E-7 kg | |||
| Elementary flow | Land use / Land occupation | 2.92237716599131E-13 m2*a | 2.92237716599131E-13 m2*a | |||
| Elementary flow | Resources / Resources from water / Renewable material resources from water | 8.62460137105461E-8 m3 | 8.62460137105461E-8 m3 | |||
| Elementary flow | Land use / Land occupation | 2.23855212118055E-12 m2*a | 2.23855212118055E-12 m2*a | |||
| Elementary flow | Land use / Land occupation | 1.14175166607566E-9 m2*a | 1.14175166607566E-9 m2*a | |||
| Elementary flow | Land use / Land transformation | 3.25036305932798E-5 m2 | 3.25036305932798E-5 m2 | |||
| Elementary flow | Land use / Land transformation | 4.11672785468297E-7 m2 | 4.11672785468297E-7 m2 | |||
| Elementary flow | Land use / Land occupation | 9.18784246018626E-10 m2*a | 9.18784246018626E-10 m2*a | |||
| Elementary flow | Land use / Land transformation | 6.46385266876653E-14 m2 | 6.46385266876653E-14 m2 | |||
| Elementary flow | Land use / Land occupation | 6.74663421645869E-20 m2*a | 6.74663421645869E-20 m2*a | |||
| Elementary flow | Land use / Land transformation | 2.46470845197548E-15 m2 | 2.46470845197548E-15 m2 | |||
| Elementary flow | Land use / Land occupation | 1.64474542579835E-8 m2*a | 1.64474542579835E-8 m2*a | |||
| Elementary flow | Land use / Land occupation | 9.33586383115709E-11 m2*a | 9.33586383115709E-11 m2*a | |||
| Elementary flow | Land use / Land transformation | 1.25157380884858E-12 m2 | 1.25157380884858E-12 m2 | |||
| Elementary flow | Land use / Land transformation | 4.59453645338837E-9 m2 | 4.59453645338837E-9 m2 | |||
| Elementary flow | Land use / Land occupation | 1.01030084510563E-9 m2*a | 1.01030084510563E-9 m2*a | |||
| Elementary flow | Land use / Land transformation | 1.63534983391871E-12 m2 | 1.63534983391871E-12 m2 | |||
| Elementary flow | Land use / Land transformation | 8.77478405685993E-12 m2 | 8.77478405685993E-12 m2 | |||
| Elementary flow | Resources / Resources from air / Renewable element resources from air | 7.62078154181073E-11 kg | 7.62078154181073E-11 kg | |||
| Elementary flow | Land use / Land occupation | 3.72304209678678E-5 m2*a | 3.72304209678678E-5 m2*a | |||
| Elementary flow | Land use / Land occupation | 9.44182026221655E-18 m2*a | 9.44182026221655E-18 m2*a | |||
| Elementary flow | Land use / Land transformation | 1.23904910734141E-7 m2 | 1.23904910734141E-7 m2 | |||
| Elementary flow | Land use / Land transformation | 1.11094934038517E-13 m2 | 1.11094934038517E-13 m2 | |||
| Elementary flow | Land use / Land transformation | 4.84513275888802E-13 m2 | 4.84513275888802E-13 m2 | |||
| Elementary flow | Resources / Resources from ground / Non-renewable material resources from ground | 0.0231816138640054 kg | 0.0231816138640054 kg | |||
| Elementary flow | Land use / Land occupation | 9.11867854920571E-10 m2*a | 9.11867854920571E-10 m2*a | |||
| Elementary flow | Land use / Land occupation | 7.84931934830078E-4 m2*a | 7.84931934830078E-4 m2*a | |||
| Elementary flow | Land use / Land occupation | 2.54902068319743E-11 m2*a | 2.54902068319743E-11 m2*a | |||
| Elementary flow | Resources / Resources from water / Non-renewable material resources from water | 4.36408181461002E-6 kg | 4.36408181461002E-6 kg | |||
| Elementary flow | Land use / Land occupation | 3.41848305491596E-13 m2*a | 3.41848305491596E-13 m2*a | |||
| Elementary flow | Land use / Land transformation | 1.6546241433379E-10 m2 | 1.6546241433379E-10 m2 | |||
| Elementary flow | Resources / Resources from ground / Non-renewable material resources from ground | 6.95213362002614E-5 kg | 6.95213362002614E-5 kg | |||
| Elementary flow | Resources / Resources from ground / Non-renewable material resources from ground | -6.88224859216313E-23 kg | -6.88224859216313E-23 kg | |||
| Elementary flow | Land use / Land transformation | 1.54643968029583E-9 m2 | 1.54643968029583E-9 m2 | |||
| Elementary flow | Land use / Land transformation | 8.30530186165867E-8 m2 | 8.30530186165867E-8 m2 | |||
| Elementary flow | Land use / Land transformation | 5.56952098881095E-11 m2 | 5.56952098881095E-11 m2 | |||
| Elementary flow | Land use / Land transformation | 3.48520148673393E-18 m2 | 3.48520148673393E-18 m2 | |||
| Elementary flow | Land use / Land transformation | 2.33373077666182E-11 m2 | 2.33373077666182E-11 m2 | |||
| Elementary flow | Land use / Land transformation | 1.73288568952664E-11 m2 | 1.73288568952664E-11 m2 | |||
| Elementary flow | Resources / Resources from water / Renewable material resources from water | 5.46700552923954E-7 m3 | 5.46700552923954E-7 m3 | |||
| Elementary flow | Land use / Land occupation | 1.61461336869743E-12 m2*a | 1.61461336869743E-12 m2*a | |||
| Elementary flow | Land use / Land transformation | 6.31640714351127E-9 m2 | 6.31640714351127E-9 m2 | |||
| Elementary flow | Land use / Land transformation | 5.17024687448825E-10 m2 | 5.17024687448825E-10 m2 | |||
| Elementary flow | Resources / Resources from water / Renewable material resources from water | 3.13001230241291E-7 m3 | 3.13001230241291E-7 m3 | |||
| Elementary flow | Land use / Land transformation | 3.10919308636563E-13 m2 | 3.10919308636563E-13 m2 | |||
| Elementary flow | Land use / Land transformation | 7.65770316509723E-10 m2 | 7.65770316509723E-10 m2 | |||
| Elementary flow | Land use / Land occupation | 1.03552249284129E-9 m2*a | 1.03552249284129E-9 m2*a | |||
| Elementary flow | Land use / Land transformation | 7.42122246936446E-6 m2 | 7.42122246936446E-6 m2 |
Outputs
| Type of flow | Classification | Flow | Mean amount | Resulting amount | Minimum amount | Maximum amount |
|---|---|---|---|---|---|---|
| Elementary flow | Emissions / Emissions to water / Emissions to fresh water | 6.32938319345179E-4 kg | 6.32938319345179E-4 kg | |||
| Elementary flow | Emissions / Emissions to water / Emissions to fresh water | 2.75599077083054E-9 kg | 2.75599077083054E-9 kg | |||
| Elementary flow | Emissions / Emissions to water / Emissions to fresh water | 0.0017634218909205089 kg | 0.0017634218909205089 kg | |||
| Elementary flow | Emissions / Emissions to water / Emissions to sea water | 0.002142923220753731 kg | 0.002142923220753731 kg | |||
| Elementary flow | Emissions / Emissions to soil / Emissions to non-agricultural soil | 1.7462192629822E-5 kg | 1.7462192629822E-5 kg | |||
| Elementary flow | Emissions / Emissions to water / Emissions to fresh water | 3.45017416085992E-6 kg | 3.45017416085992E-6 kg | |||
| Elementary flow | Emissions / Emissions to water / Emissions to fresh water | 7.70056947022008E-4 kg | 7.70056947022008E-4 kg | |||
| Elementary flow | Emissions / Emissions to soil / Emissions to non-agricultural soil | 2.10706957518416E-14 kg | 2.10706957518416E-14 kg | |||
| Elementary flow | Emissions / Emissions to water / Emissions to fresh water | 1.72017965696101E-18 kg | 1.72017965696101E-18 kg | |||
| Elementary flow | Emissions / Emissions to water / Emissions to fresh water | 6.777499426061082E-11 kg | 6.777499426061082E-11 kg | |||
| Elementary flow | Emissions / Emissions to soil / Emissions to non-agricultural soil | 1.9031462728976768E-6 kg | 1.9031462728976768E-6 kg | |||
| Elementary flow | Emissions / Emissions to air / Emissions to air, unspecified | 1.50807960004108E-6 kg | 1.50807960004108E-6 kg | |||
| Elementary flow | Emissions / Emissions to soil / Emissions to non-agricultural soil | 3.17423107860961E-6 kg | 3.17423107860961E-6 kg | |||
| Elementary flow | Emissions / Emissions to air / Emissions to air, unspecified | 1.40950787263412E-7 kg | 1.40950787263412E-7 kg | |||
| Elementary flow | Emissions / Emissions to air / Emissions to air, unspecified | 4.45483900985185E-7 kg | 4.45483900985185E-7 kg | |||
| Elementary flow | Emissions / Emissions to water / Emissions to fresh water | 2.54750038630335E-7 kg | 2.54750038630335E-7 kg | |||
| Elementary flow | Emissions / Emissions to air / Emissions to air, unspecified | 4.65421728679613E-16 kg | 4.65421728679613E-16 kg | |||
| Elementary flow | Emissions / Emissions to water / Emissions to fresh water | 4.49457354800491E-9 kg | 4.49457354800491E-9 kg | |||
| Elementary flow | Emissions / Emissions to water / Emissions to fresh water | 2.56942446338623E-4 kg | 2.56942446338623E-4 kg | |||
| Elementary flow | Emissions / Emissions to water / Emissions to water, unspecified | 2.0869295097313E-18 kg | 2.0869295097313E-18 kg | |||
| Elementary flow | Emissions / Emissions to water / Emissions to sea water | 8.86487846678059E-9 kg | 8.86487846678059E-9 kg | |||
| Elementary flow | Emissions / Emissions to air / Emissions to air, unspecified | 3.68527094925551E-14 kg | 3.68527094925551E-14 kg | |||
| Elementary flow | Emissions / Emissions to soil / Emissions to agricultural soil | 2.71619943691253E-9 kg | 2.71619943691253E-9 kg | |||
| Elementary flow | Emissions / Emissions to soil / Emissions to agricultural soil | 8.70925588595778E-12 kg | 8.70925588595778E-12 kg | |||
| Elementary flow | Emissions / Emissions to soil / Emissions to agricultural soil | 3.82115846648322E-19 kg | 3.82115846648322E-19 kg | |||
| Elementary flow | Emissions / Emissions to water / Emissions to sea water | 3.0040678014198E-10 kg | 3.0040678014198E-10 kg | |||
| Elementary flow | Emissions / Emissions to soil / Emissions to agricultural soil | 7.51255457521076E-12 kg | 7.51255457521076E-12 kg | |||
| Elementary flow | Emissions / Emissions to air / Emissions to non-urban air or from high stacks | 3.91029526909779E-13 kg | 3.91029526909779E-13 kg | |||
| Elementary flow | Emissions / Emissions to air / Emissions to air, unspecified | 4.90459706066348E-9 kg | 4.90459706066348E-9 kg | |||
| Elementary flow | Emissions / Emissions to air / Emissions to air, unspecified | 9.37311956878418E-13 kg | 9.37311956878418E-13 kg | |||
| Elementary flow | Emissions / Emissions to water / Emissions to fresh water | 8.33378541659958E-14 kg | 8.33378541659958E-14 kg | |||
| Elementary flow | Emissions / Emissions to water / Emissions to sea water | 4.361520258912282E-6 kg | 4.361520258912282E-6 kg | |||
| Elementary flow | Emissions / Emissions to water / Emissions to sea water | 1.71379716470866E-10 kg | 1.71379716470866E-10 kg | |||
| Elementary flow | Emissions / Emissions to air / Emissions to air, unspecified | 5.06263594209938E-13 kg | 5.06263594209938E-13 kg | |||
| Elementary flow | Emissions / Emissions to air / Emissions to air, unspecified | 8.71483364116692E-8 kg | 8.71483364116692E-8 kg | |||
| Elementary flow | Emissions / Emissions to water / Emissions to fresh water | 6.47383946308344E-8 m3 | 6.47383946308344E-8 m3 | |||
| Elementary flow | Emissions / Emissions to water / Emissions to fresh water | 9.08077212905685E-9 m3 | 9.08077212905685E-9 m3 | |||
| Elementary flow | Emissions / Emissions to water / Emissions to water, unspecified | 2.2712300986847E-16 kg | 2.2712300986847E-16 kg | |||
| Elementary flow | Emissions / Emissions to water / Emissions to fresh water | -1.23974964899409E-20 kg | -1.23974964899409E-20 kg | |||
| Elementary flow | Emissions / Emissions to water / Emissions to fresh water | 3.60625971099642E-6 m3 | 3.60625971099642E-6 m3 | |||
| Elementary flow | Emissions / Emissions to soil / Emissions to non-agricultural soil | 3.48167534487986E-5 kg | 3.48167534487986E-5 kg | |||
| Elementary flow | Emissions / Emissions to water / Emissions to fresh water | 7.5234836337202E-13 kg | 7.5234836337202E-13 kg | |||
| Elementary flow | Emissions / Emissions to air / Emissions to air, unspecified (long-term) | 5.74418562219464E-9 kg | 5.74418562219464E-9 kg | |||
| Elementary flow | Emissions / Emissions to soil / Emissions to agricultural soil | 2.71074527289984E-11 kg | 2.71074527289984E-11 kg | |||
| Elementary flow | Emissions / Emissions to air / Emissions to air, unspecified | 3.108260236081045E-5 kg | 3.108260236081045E-5 kg | |||
| Elementary flow | Emissions / Emissions to air / Emissions to air, unspecified (long-term) | 6.62813724404355E-11 kg | 6.62813724404355E-11 kg | |||
| Elementary flow | Emissions / Emissions to water / Emissions to sea water | 9.4642170305032E-8 kg | 9.4642170305032E-8 kg | |||
| Elementary flow | Emissions / Emissions to air / Emissions to non-urban air or from high stacks | 1.02379039568216E-9 kg | 1.02379039568216E-9 kg | |||
| Elementary flow | Emissions / Emissions to air / Emissions to air, unspecified | 1.98107769025112E-7 kg | 1.98107769025112E-7 kg | |||
| Elementary flow | Emissions / Emissions to water / Emissions to water, unspecified | 3.166533376266E-15 kg | 3.166533376266E-15 kg | |||
| Elementary flow | Emissions / Emissions to air / Emissions to non-urban air or from high stacks | 2.73011348574085E-8 kg | 2.73011348574085E-8 kg | |||
| Elementary flow | Emissions / Emissions to soil / Emissions to non-agricultural soil | 7.06116479418707E-19 kg | 7.06116479418707E-19 kg | |||
| Elementary flow | Emissions / Emissions to soil / Emissions to agricultural soil | 3.37709074072209E-14 kg | 3.37709074072209E-14 kg | |||
| Elementary flow | Emissions / Emissions to water / Emissions to fresh water | -4.67826836804091E-20 kg | -4.67826836804091E-20 kg | |||
| Elementary flow | Emissions / Emissions to soil / Emissions to non-agricultural soil | 2.35111522084771E-8 kg | 2.35111522084771E-8 kg | |||
| Elementary flow | Emissions / Emissions to air / Emissions to air, unspecified | 3.26355480646686E-13 kg | 3.26355480646686E-13 kg | |||
| Elementary flow | Emissions / Emissions to air / Emissions to non-urban air or from high stacks | 2.45725921257826E-16 kg | 2.45725921257826E-16 kg | |||
| Elementary flow | Emissions / Emissions to soil / Emissions to non-agricultural soil | 3.50210738736437E-7 kg | 3.50210738736437E-7 kg | |||
| Elementary flow | Emissions / Emissions to air / Emissions to non-urban air or from high stacks | 3.42245621361948E-14 kg | 3.42245621361948E-14 kg | |||
| Elementary flow | Emissions / Emissions to air / Emissions to non-urban air or from high stacks | 2.23919782147002E-15 kg | 2.23919782147002E-15 kg | |||
| Elementary flow | Emissions / Emissions to soil / Emissions to agricultural soil | 8.21898629952701E-18 kg | 8.21898629952701E-18 kg | |||
| Elementary flow | Emissions / Emissions to air / Emissions to air, unspecified | 1.57917036815828E-12 kg | 1.57917036815828E-12 kg | |||
| Elementary flow | Emissions / Emissions to water / Emissions to fresh water | 1.26555366823166E-6 m3 | 1.26555366823166E-6 m3 | |||
| Elementary flow | Emissions / Emissions to water / Emissions to water, unspecified | 2.391795484850804E-8 kg | 2.391795484850804E-8 kg | |||
| Elementary flow | Emissions / Emissions to air / Emissions to air, unspecified (long-term) | 2.78349638678634E-8 kg | 2.78349638678634E-8 kg | |||
| Elementary flow | Emissions / Emissions to air / Emissions to urban air close to ground | 6.65549489523337E-8 kg | 6.65549489523337E-8 kg | |||
| Elementary flow | Emissions / Emissions to air / Emissions to air, unspecified | 6.091689804147E-14 kg | 6.091689804147E-14 kg | |||
| Elementary flow | Emissions / Emissions to air / Emissions to urban air close to ground | 1.95266457194158E-8 kg | 1.95266457194158E-8 kg | |||
| Elementary flow | Emissions / Emissions to air / Emissions to air, unspecified | 2.29360854848062E-12 kg | 2.29360854848062E-12 kg | |||
| Elementary flow | Emissions / Emissions to water / Emissions to fresh water | 5.50173840346543E-13 kg | 5.50173840346543E-13 kg | |||
| Elementary flow | Emissions / Emissions to air / Emissions to air, unspecified | 1.70982245598908E-13 kBq | 1.70982245598908E-13 kBq | |||
| Elementary flow | Emissions / Emissions to air / Emissions to air, unspecified (long-term) | 1.18944459066458E-10 kg | 1.18944459066458E-10 kg | |||
| Elementary flow | Emissions / Emissions to air / Emissions to air, unspecified | 6.50202778710895E-11 kg | 6.50202778710895E-11 kg | |||
| Elementary flow | Emissions / Emissions to water / Emissions to fresh water | 2.42420203382215E-10 m3 | 2.42420203382215E-10 m3 | |||
| Elementary flow | Emissions / Emissions to water / Emissions to fresh water | 1.36824678817548E-9 m3 | 1.36824678817548E-9 m3 | |||
| Elementary flow | Emissions / Emissions to air / Emissions to air, unspecified | -8.3893269153842E-22 kg | -8.3893269153842E-22 kg | |||
| Elementary flow | Emissions / Emissions to air / Emissions to air, unspecified | 1.9705511514998945E-7 kg | 1.9705511514998945E-7 kg | |||
| Elementary flow | Emissions / Emissions to air / Emissions to air, unspecified | 4.22661506804542E-11 kg | 4.22661506804542E-11 kg | |||
| Elementary flow | Emissions / Emissions to soil / Emissions to agricultural soil | 8.06523428172782E-15 kg | 8.06523428172782E-15 kg | |||
| Elementary flow | Emissions / Emissions to air / Emissions to air, unspecified | 4.06856255571965E-11 kg | 4.06856255571965E-11 kg | |||
| Elementary flow | Emissions / Emissions to air / Emissions to non-urban air or from high stacks | 1.3637332045636E-13 kg | 1.3637332045636E-13 kg | |||
| Elementary flow | Emissions / Emissions to soil / Emissions to non-agricultural soil | 1.0362304037844E-15 kg | 1.0362304037844E-15 kg | |||
| Elementary flow | Emissions / Emissions to air / Emissions to air, unspecified | 4.35957927204028E-11 kg | 4.35957927204028E-11 kg | |||
| Elementary flow | Emissions / Emissions to soil / Emissions to non-agricultural soil | 3.1796666028725507E-7 kg | 3.1796666028725507E-7 kg | |||
| Elementary flow | Emissions / Emissions to air / Emissions to air, unspecified | 1.66304646020891E-9 kg | 1.66304646020891E-9 kg | |||
| Elementary flow | Emissions / Emissions to water / Emissions to fresh water | 2.05327753119251E-6 m3 | 2.05327753119251E-6 m3 | |||
| Elementary flow | Emissions / Emissions to air / Emissions to air, unspecified | 1.24782111702355E-4 kBq | 1.24782111702355E-4 kBq | |||
| Elementary flow | Emissions / Emissions to water / Emissions to fresh water | 3.09851385583022E-7 m3 | 3.09851385583022E-7 m3 | |||
| Elementary flow | Emissions / Emissions to air / Emissions to urban air close to ground | 1.70739482949843E-12 kg | 1.70739482949843E-12 kg | |||
| Elementary flow | Emissions / Emissions to soil / Emissions to agricultural soil | 8.67748095294019E-27 kg | 8.67748095294019E-27 kg | |||
| Elementary flow | Emissions / Emissions to water / Emissions to water, unspecified | 1.22813192865124E-15 kg | 1.22813192865124E-15 kg | |||
| Elementary flow | Emissions / Emissions to soil / Emissions to agricultural soil | 1.41196231477587E-15 kg | 1.41196231477587E-15 kg | |||
| Elementary flow | Emissions / Emissions to water / Emissions to fresh water | 2.94892820753733E-9 m3 | 2.94892820753733E-9 m3 | |||
| Waste flow | Wastes | 5.38942511526877E-8 kg | 5.38942511526877E-8 kg | |||
| Elementary flow | Emissions / Emissions to water / Emissions to fresh water | 0.00671109891503005 m3 | 0.00671109891503005 m3 | |||
| Elementary flow | Emissions / Emissions to air / Emissions to air, unspecified | -8.19744366175144E-23 kg | -8.19744366175144E-23 kg | |||
| Elementary flow | Emissions / Emissions to water / Emissions to fresh water | 2.23875860162186E-13 kg | 2.23875860162186E-13 kg | |||
| Elementary flow | Emissions / Emissions to soil / Emissions to agricultural soil | 4.54393630818921E-12 kg | 4.54393630818921E-12 kg | |||
| Elementary flow | Emissions / Emissions to air / Emissions to non-urban air or from high stacks | 1.4036716417097E-13 kg | 1.4036716417097E-13 kg | |||
| Elementary flow | Emissions / Emissions to air / Emissions to air, unspecified | 7.49801750370447E-13 kg | 7.49801750370447E-13 kg | |||
| Elementary flow | Emissions / Emissions to air / Emissions to air, unspecified | 3.32548436919318E-15 kg | 3.32548436919318E-15 kg | |||
| Elementary flow | Emissions / Emissions to water / Emissions to fresh water | 1.95757425872034E-9 m3 | 1.95757425872034E-9 m3 | |||
| Elementary flow | Emissions / Emissions to air / Emissions to air, unspecified | 3.95134368094655E-5 kg | 3.95134368094655E-5 kg | |||
| Elementary flow | Emissions / Emissions to water / Emissions to sea water | 4.39388571671809E-8 kg | 4.39388571671809E-8 kg | |||
| Elementary flow | Emissions / Emissions to water / Emissions to fresh water | 3.05874805939292E-9 m3 | 3.05874805939292E-9 m3 | |||
| Elementary flow | Emissions / Emissions to soil / Emissions to agricultural soil | 2.65356763011524E-10 kg | 2.65356763011524E-10 kg | |||
| Elementary flow | Emissions / Emissions to soil / Emissions to agricultural soil | 1.17462935219978E-10 kg | 1.17462935219978E-10 kg | |||
| Elementary flow | Emissions / Emissions to water / Emissions to sea water | 3.38321639173817E-12 kg | 3.38321639173817E-12 kg | |||
| Elementary flow | Emissions / Emissions to soil / Emissions to agricultural soil | 1.02615676614173E-12 kg | 1.02615676614173E-12 kg | |||
| Elementary flow | Emissions / Emissions to air / Emissions to air, unspecified | 9.58665881621234E-7 kg | 9.58665881621234E-7 kg | |||
| Elementary flow | Emissions / Emissions to water / Emissions to sea water | 2.73594768840723E-6 kg | 2.73594768840723E-6 kg | |||
| Elementary flow | Emissions / Emissions to air / Emissions to air, unspecified | 1.07634066846027E-9 kg | 1.07634066846027E-9 kg | |||
| Elementary flow | Emissions / Emissions to soil / Emissions to non-agricultural soil | 1.19677883750228E-14 kg | 1.19677883750228E-14 kg | |||
| Elementary flow | Emissions / Emissions to water / Emissions to sea water | 5.12801780369072E-10 kBq | 5.12801780369072E-10 kBq | |||
| Elementary flow | Emissions / Emissions to soil / Emissions to agricultural soil | 1.47849701963145E-9 kg | 1.47849701963145E-9 kg | |||
| Elementary flow | Emissions / Emissions to air / Emissions to urban air close to ground | 6.37382486491817E-13 kg | 6.37382486491817E-13 kg | |||
| Elementary flow | Emissions / Emissions to water / Emissions to fresh water | 2.746190142905633E-7 m3 | 2.746190142905633E-7 m3 | |||
| Elementary flow | Emissions / Emissions to water / Emissions to fresh water | -3.40483977068843E-16 kg | -3.40483977068843E-16 kg | |||
| Elementary flow | Emissions / Emissions to water / Emissions to fresh water | 2.01202790893487E-7 kg | 2.01202790893487E-7 kg | |||
| Elementary flow | Emissions / Emissions to air / Emissions to urban air close to ground | 2.06828145835472E-7 kg | 2.06828145835472E-7 kg | |||
| Elementary flow | Emissions / Emissions to water / Emissions to fresh water | 2.85249185720328E-8 kg | 2.85249185720328E-8 kg | |||
| Elementary flow | Emissions / Emissions to water / Emissions to fresh water | 1.90889179487569E-8 kBq | 1.90889179487569E-8 kBq | |||
| Elementary flow | Emissions / Emissions to air / Emissions to air, unspecified (long-term) | 6.72485906546574E-8 kg | 6.72485906546574E-8 kg | |||
| Elementary flow | Emissions / Emissions to water / Emissions to water, unspecified | 1.04033217195069E-16 kg | 1.04033217195069E-16 kg | |||
| Elementary flow | Emissions / Emissions to water / Emissions to fresh water | 9.384195943615643E-7 m3 | 9.384195943615643E-7 m3 | |||
| Elementary flow | Emissions / Emissions to water / Emissions to sea water | 1.87159994290227E-5 kg | 1.87159994290227E-5 kg | |||
| Elementary flow | Emissions / Emissions to water / Emissions to fresh water | 2.25305871523323E-13 kg | 2.25305871523323E-13 kg | |||
| Elementary flow | Emissions / Emissions to soil / Emissions to agricultural soil | 6.75047289710186E-13 kg | 6.75047289710186E-13 kg | |||
| Elementary flow | Emissions / Emissions to soil / Emissions to agricultural soil | 2.3520686074229E-11 kg | 2.3520686074229E-11 kg | |||
| Elementary flow | Emissions / Emissions to air / Emissions to air, unspecified | 0.00381002606007241 kg | 0.00381002606007241 kg | |||
| Elementary flow | Emissions / Emissions to soil / Emissions to agricultural soil | 5.97882102306264E-15 kg | 5.97882102306264E-15 kg | |||
| Elementary flow | Emissions / Emissions to air / Emissions to air, unspecified | 3.17626543785095E-22 kg | 3.17626543785095E-22 kg | |||
| Elementary flow | Emissions / Emissions to air / Emissions to air, unspecified (long-term) | 1.01721048398485E-8 kg | 1.01721048398485E-8 kg | |||
| Elementary flow | Emissions / Emissions to soil / Emissions to agricultural soil | -6.34940217431306E-11 kg | -6.34940217431306E-11 kg | |||
| Elementary flow | Emissions / Emissions to water / Emissions to fresh water | 1.65692229756947E-15 kg | 1.65692229756947E-15 kg | |||
| Elementary flow | Emissions / Emissions to soil / Emissions to agricultural soil | 6.61453333794357E-15 kg | 6.61453333794357E-15 kg | |||
| Elementary flow | Emissions / Emissions to soil / Emissions to agricultural soil | 1.54113049661006E-11 kg | 1.54113049661006E-11 kg | |||
| Elementary flow | Emissions / Emissions to water / Emissions to fresh water | 2.95278799593347E-10 kg | 2.95278799593347E-10 kg | |||
| Waste flow | Wastes / Other waste | 3.09043397400038E-4 kg | 3.09043397400038E-4 kg | |||
| Elementary flow | Emissions / Emissions to air / Emissions to non-urban air or from high stacks | 6.17322633695708E-13 kg | 6.17322633695708E-13 kg | |||
| Elementary flow | Emissions / Emissions to air / Emissions to non-urban air or from high stacks | 1.19881557522906E-8 kg | 1.19881557522906E-8 kg | |||
| Elementary flow | Emissions / Emissions to air / Emissions to air, unspecified | 9.94933931962186E-12 kg | 9.94933931962186E-12 kg | |||
| Elementary flow | Emissions / Emissions to air / Emissions to urban air close to ground | 9.94933931962186E-12 kg | 9.94933931962186E-12 kg | |||
| Elementary flow | Emissions / Emissions to soil / Emissions to agricultural soil | 3.8733359208194E-14 kg | 3.8733359208194E-14 kg | |||
| Elementary flow | Emissions / Emissions to soil / Emissions to agricultural soil | 1.81295591129118E-14 kg | 1.81295591129118E-14 kg | |||
| Elementary flow | Emissions / Emissions to air / Emissions to urban air close to ground | 1.02724970128981E-13 kg | 1.02724970128981E-13 kg | |||
| Elementary flow | Emissions / Emissions to water / Emissions to sea water | 0.002234183798332782 kg | 0.002234183798332782 kg | |||
| Elementary flow | Emissions / Emissions to air / Emissions to air, unspecified | 6.53250843175254E-6 kg | 6.53250843175254E-6 kg | |||
| Elementary flow | Emissions / Emissions to soil / Emissions to agricultural soil | 1.28811446930822E-12 kg | 1.28811446930822E-12 kg | |||
| Elementary flow | Emissions / Emissions to air / Emissions to air, unspecified (long-term) | 8.63078837629807E-10 kg | 8.63078837629807E-10 kg | |||
| Elementary flow | Emissions / Emissions to water / Emissions to water, unspecified | 3.28393953838847E-20 kg | 3.28393953838847E-20 kg | |||
| Elementary flow | Emissions / Emissions to water / Emissions to water, unspecified (long-term) | 9.47182572963441E-4 kg | 9.47182572963441E-4 kg | |||
| Elementary flow | Emissions / Emissions to air / Emissions to air, unspecified | 2.79360370428222E-6 kBq | 2.79360370428222E-6 kBq | |||
| Elementary flow | Emissions / Emissions to air / Emissions to air, unspecified | 1.08929717677417E-4 kg | 1.08929717677417E-4 kg | |||
| Elementary flow | Emissions / Emissions to water / Emissions to fresh water | 2.3067315278693E-6 m3 | 2.3067315278693E-6 m3 | |||
| Elementary flow | Emissions / Emissions to air / Emissions to air, unspecified | 6.85757837842462E-11 kg | 6.85757837842462E-11 kg | |||
| Elementary flow | Emissions / Emissions to water / Emissions to fresh water | 1.99329198514058E-7 m3 | 1.99329198514058E-7 m3 | |||
| Elementary flow | Emissions / Emissions to water / Emissions to water, unspecified | 2.0409868336672E-14 kg | 2.0409868336672E-14 kg | |||
| Elementary flow | Emissions / Emissions to air / Emissions to air, unspecified (long-term) | 1.63341708565761E-9 kg | 1.63341708565761E-9 kg | |||
| Elementary flow | Emissions / Emissions to air / Emissions to air, unspecified | 1.47351533273138E-10 kg | 1.47351533273138E-10 kg | |||
| Elementary flow | Emissions / Emissions to air / Emissions to air, unspecified | 1.401608219926005 kg | 1.401608219926005 kg | |||
| Elementary flow | Emissions / Emissions to water / Emissions to fresh water | 2.8427021562170197E-6 kg | 2.8427021562170197E-6 kg | |||
| Elementary flow | Emissions / Emissions to water / Emissions to fresh water | 5.27060252705817E-8 kBq | 5.27060252705817E-8 kBq | |||
| Elementary flow | Emissions / Emissions to air / Emissions to air, unspecified | 1.19116820217075E-11 kg | 1.19116820217075E-11 kg | |||
| Elementary flow | Emissions / Emissions to air / Emissions to air, unspecified | 2.76610636073009E-6 kg | 2.76610636073009E-6 kg | |||
| Waste flow | Wastes | 5.07157067533056E-9 kg | 5.07157067533056E-9 kg | |||
| Elementary flow | Emissions / Emissions to air / Emissions to air, unspecified (long-term) | 1.68255808292083E-6 kg | 1.68255808292083E-6 kg | |||
| Elementary flow | Emissions / Emissions to air / Emissions to air, unspecified | 8.2453229864913E-12 kg | 8.2453229864913E-12 kg | |||
| Elementary flow | Emissions / Emissions to water / Emissions to fresh water | 2.22249421169544E-18 kg | 2.22249421169544E-18 kg | |||
| Elementary flow | Emissions / Emissions to water / Emissions to fresh water | 8.80521004687125E-8 kg | 8.80521004687125E-8 kg | |||
| Elementary flow | Emissions / Emissions to water / Emissions to fresh water | 3.17919817996737E-8 kBq | 3.17919817996737E-8 kBq | |||
| Elementary flow | Emissions / Emissions to soil / Emissions to non-agricultural soil | 5.12481464711479E-8 kg | 5.12481464711479E-8 kg | |||
| Elementary flow | Emissions / Emissions to air / Emissions to air, unspecified (long-term) | 5.94005658381108E-11 kg | 5.94005658381108E-11 kg | |||
| Elementary flow | Emissions / Emissions to air / Emissions to lower stratosphere and upper troposphere | 6.16797369873249E-9 kg | 6.16797369873249E-9 kg | |||
| Elementary flow | Emissions / Emissions to air / Emissions to air, unspecified | 7.06246959568552E-13 kg | 7.06246959568552E-13 kg | |||
| Elementary flow | Emissions / Emissions to air / Emissions to air, unspecified | 5.93938470753215E-11 kg | 5.93938470753215E-11 kg | |||
| Elementary flow | Emissions / Emissions to air / Emissions to lower stratosphere and upper troposphere | 5.93938470753215E-11 kg | 5.93938470753215E-11 kg | |||
| Elementary flow | Emissions / Emissions to soil / Emissions to agricultural soil | 3.47060093815954E-13 kg | 3.47060093815954E-13 kg | |||
| Elementary flow | Emissions / Emissions to soil / Emissions to agricultural soil | 8.15109680208067E-14 kg | 8.15109680208067E-14 kg | |||
| Elementary flow | Emissions / Emissions to water / Emissions to fresh water | 3.0021313800253E-10 kg | 3.0021313800253E-10 kg | |||
| Elementary flow | Emissions / Emissions to water / Emissions to water, unspecified | 5.65628097148524E-21 kg | 5.65628097148524E-21 kg | |||
| Elementary flow | Emissions / Emissions to air / Emissions to air, unspecified | 4.55445904581587E-6 kg | 4.55445904581587E-6 kg | |||
| Elementary flow | Emissions / Emissions to water / Emissions to fresh water | 1.78902516088861E-12 kg | 1.78902516088861E-12 kg | |||
| Elementary flow | Emissions / Emissions to air / Emissions to air, unspecified | 6.60405038576209E-7 kg | 6.60405038576209E-7 kg | |||
| Elementary flow | Emissions / Emissions to soil / Emissions to agricultural soil | 6.29881517401559E-17 kg | 6.29881517401559E-17 kg | |||
| Elementary flow | Emissions / Emissions to water / Emissions to fresh water | 4.68132203720292E-5 kBq | 4.68132203720292E-5 kBq | |||
| Elementary flow | Emissions / Emissions to water / Emissions to fresh water | 3.85321632258585E-5 kBq | 3.85321632258585E-5 kBq | |||
| Elementary flow | Emissions / Emissions to air / Emissions to air, unspecified | 2.01940406608697E-10 kg | 2.01940406608697E-10 kg | |||
| Elementary flow | Emissions / Emissions to water / Emissions to water, unspecified | 5.60057843669253E-8 kg | 5.60057843669253E-8 kg | |||
| Elementary flow | Emissions / Emissions to water / Emissions to fresh water | 3.95226457461601E-9 m3 | 3.95226457461601E-9 m3 | |||
| Elementary flow | Emissions / Emissions to water / Emissions to fresh water | 1.2328561880907E-24 kg | 1.2328561880907E-24 kg | |||
| Elementary flow | Emissions / Emissions to water / Emissions to fresh water | 3.46245269633948E-10 kBq | 3.46245269633948E-10 kBq | |||
| Elementary flow | Emissions / Emissions to water / Emissions to fresh water | 2.76289233112145E-6 m3 | 2.76289233112145E-6 m3 | |||
| Elementary flow | Emissions / Emissions to water / Emissions to fresh water | 1.26836059362241E-10 kg | 1.26836059362241E-10 kg | |||
| Elementary flow | Emissions / Emissions to water / Emissions to sea water | 3.13406212758525E-24 kg | 3.13406212758525E-24 kg | |||
| Elementary flow | Emissions / Emissions to water / Emissions to fresh water | 1.15002234012969E-9 kg | 1.15002234012969E-9 kg | |||
| Elementary flow | Emissions / Emissions to air / Emissions to air, unspecified | 1.19987843121635E-14 kg | 1.19987843121635E-14 kg | |||
| Elementary flow | Emissions / Emissions to soil / Emissions to agricultural soil | 6.73649424642722E-15 kg | 6.73649424642722E-15 kg | |||
| Elementary flow | Emissions / Emissions to water / Emissions to fresh water | 4.03934583996249E-11 kg | 4.03934583996249E-11 kg | |||
| Elementary flow | Emissions / Emissions to air / Emissions to air, unspecified | 2.53724821953568E-9 kg | 2.53724821953568E-9 kg | |||
| Elementary flow | Emissions / Emissions to water / Emissions to fresh water | 3.89053900955268E-9 m3 | 3.89053900955268E-9 m3 | |||
| Elementary flow | Emissions / Emissions to air / Emissions to air, unspecified | 8.43924318449914E-27 kg | 8.43924318449914E-27 kg | |||
| Elementary flow | Emissions / Emissions to soil / Emissions to agricultural soil | 1.42464709574387E-8 kg | 1.42464709574387E-8 kg | |||
| Elementary flow | Emissions / Emissions to soil / Emissions to non-agricultural soil | 9.33190482308233E-8 kg | 9.33190482308233E-8 kg | |||
| Elementary flow | Emissions / Emissions to soil / Emissions to agricultural soil | 9.2216507133292E-19 kg | 9.2216507133292E-19 kg | |||
| Elementary flow | Emissions / Emissions to soil / Emissions to agricultural soil | 2.95026269734694E-10 kg | 2.95026269734694E-10 kg | |||
| Elementary flow | Emissions / Emissions to air / Emissions to air, unspecified | 1.40224170112301E-6 kg | 1.40224170112301E-6 kg | |||
| Elementary flow | Emissions / Emissions to soil / Emissions to agricultural soil | 6.37791758698765E-10 kg | 6.37791758698765E-10 kg | |||
| Elementary flow | Emissions / Emissions to water / Emissions to fresh water | 4.87431174257847E-7 m3 | 4.87431174257847E-7 m3 | |||
| Elementary flow | Emissions / Emissions to air / Emissions to air, unspecified | 5.57643787701059E-13 kg | 5.57643787701059E-13 kg | |||
| Elementary flow | Emissions / Emissions to water / Emissions to fresh water | 1.54712981848399E-6 m3 | 1.54712981848399E-6 m3 | |||
| Elementary flow | Emissions / Emissions to water / Emissions to fresh water | 4.48252067981284E-8 m3 | 4.48252067981284E-8 m3 | |||
| Elementary flow | Emissions / Emissions to air / Emissions to urban air close to ground | 2.97687818119898E-8 kg | 2.97687818119898E-8 kg | |||
| Elementary flow | Emissions / Emissions to water / Emissions to fresh water | 1.83635825448628E-8 m3 | 1.83635825448628E-8 m3 | |||
| Elementary flow | Emissions / Emissions to soil / Emissions to non-agricultural soil | 1.0435713070501853E-11 kg | 1.0435713070501853E-11 kg | |||
| Elementary flow | Emissions / Emissions to air / Emissions to air, unspecified | 3.9393738411426514E-5 kBq | 3.9393738411426514E-5 kBq | |||
| Elementary flow | Emissions / Emissions to soil / Emissions to agricultural soil | 4.43951627630678E-16 kg | 4.43951627630678E-16 kg | |||
| Elementary flow | Emissions / Emissions to water / Emissions to fresh water | 1.86158165600273E-8 m3 | 1.86158165600273E-8 m3 | |||
| Elementary flow | Emissions / Emissions to water / Emissions to sea water | 7.3382473660536E-9 kg | 7.3382473660536E-9 kg | |||
| Elementary flow | Emissions / Emissions to water / Emissions to fresh water | 2.64312742109991E-8 kg | 2.64312742109991E-8 kg | |||
| Elementary flow | Emissions / Emissions to air / Emissions to air, unspecified (long-term) | 1.30742208469599E-13 kg | 1.30742208469599E-13 kg | |||
| Elementary flow | Emissions / Emissions to water / Emissions to fresh water | 5.883495443844E-7 kBq | 5.883495443844E-7 kBq | |||
| Elementary flow | Emissions / Emissions to water / Emissions to sea water | 8.75204659011387E-28 kg | 8.75204659011387E-28 kg | |||
| Elementary flow | Emissions / Emissions to air / Emissions to air, unspecified | 8.59E-8 kg | 8.59E-8 kg | |||
| Elementary flow | Emissions / Emissions to air / Emissions to urban air close to ground | 2.73597657331295E-6 kg | 2.73597657331295E-6 kg | |||
| Elementary flow | Emissions / Emissions to air / Emissions to air, unspecified | 1.07002583464095E-12 kg | 1.07002583464095E-12 kg | |||
| Elementary flow | Emissions / Emissions to water / Emissions to sea water | 4.76228179509108E-5 kg | 4.76228179509108E-5 kg | |||
| Elementary flow | Emissions / Emissions to water / Emissions to fresh water | 2.04469445733723E-7 kg | 2.04469445733723E-7 kg | |||
| Elementary flow | Emissions / Emissions to water / Emissions to fresh water | 1.03835640210525E-15 kg | 1.03835640210525E-15 kg | |||
| Elementary flow | Emissions / Emissions to air / Emissions to air, unspecified (long-term) | 9.17653393789695E-12 kg | 9.17653393789695E-12 kg | |||
| Elementary flow | Emissions / Emissions to water / Emissions to fresh water | 7.07089536827285E-13 kg | 7.07089536827285E-13 kg | |||
| Elementary flow | Emissions / Emissions to water / Emissions to fresh water | 3.2399170559653E-16 kg | 3.2399170559653E-16 kg | |||
| Elementary flow | Emissions / Emissions to air / Emissions to air, unspecified | 2.29179811441734E-9 kg | 2.29179811441734E-9 kg | |||
| Elementary flow | Emissions / Emissions to air / Emissions to air, unspecified | -6.01808841714959E-24 kg | -6.01808841714959E-24 kg | |||
| Elementary flow | Emissions / Emissions to water / Emissions to fresh water | 1.15797111231693E-6 m3 | 1.15797111231693E-6 m3 | |||
| Elementary flow | Emissions / Emissions to soil / Emissions to agricultural soil | 1.20576352191308E-12 kg | 1.20576352191308E-12 kg | |||
| Elementary flow | Emissions / Emissions to air / Emissions to air, unspecified | 0.0015716968187839 kBq | 0.0015716968187839 kBq | |||
| Elementary flow | Emissions / Emissions to soil / Emissions to agricultural soil | 1.88479414277513E-10 kg | 1.88479414277513E-10 kg | |||
| Elementary flow | Emissions / Emissions to air / Emissions to air, unspecified | 2.13820642271069E-25 kg | 2.13820642271069E-25 kg | |||
| Elementary flow | Emissions / Emissions to air / Emissions to air, unspecified | 1.1174847100194E-10 kg | 1.1174847100194E-10 kg | |||
| Elementary flow | Emissions / Emissions to soil / Emissions to agricultural soil | 6.565208248384E-13 kg | 6.565208248384E-13 kg | |||
| Elementary flow | Emissions / Emissions to water / Emissions to fresh water | 1.89663342777527E-5 kBq | 1.89663342777527E-5 kBq | |||
| Elementary flow | Emissions / Emissions to soil / Emissions to agricultural soil | 1.10234277078548E-14 kg | 1.10234277078548E-14 kg | |||
| Elementary flow | Emissions / Emissions to water / Emissions to fresh water | 5.83319723233139E-8 kg | 5.83319723233139E-8 kg | |||
| Elementary flow | Emissions / Emissions to air / Emissions to air, unspecified | 9.38971228327852E-7 kg | 9.38971228327852E-7 kg | |||
| Elementary flow | Emissions / Emissions to air / Emissions to air, unspecified | 2.42604819731348E-9 kg | 2.42604819731348E-9 kg | |||
| Elementary flow | Emissions / Emissions to soil / Emissions to agricultural soil | 3.16931963541497E-15 kg | 3.16931963541497E-15 kg | |||
| Elementary flow | Emissions / Emissions to air / Emissions to urban air close to ground | 4.96641500391138E-9 kg | 4.96641500391138E-9 kg | |||
| Elementary flow | Emissions / Emissions to water / Emissions to fresh water | 7.00708542835477E-9 m3 | 7.00708542835477E-9 m3 | |||
| Elementary flow | Emissions / Emissions to water / Emissions to water, unspecified | 3.61937767504887E-16 kg | 3.61937767504887E-16 kg | |||
| Elementary flow | Emissions / Emissions to water / Emissions to fresh water | 4.13037276860653E-14 kg | 4.13037276860653E-14 kg | |||
| Elementary flow | Emissions / Emissions to air / Emissions to air, unspecified | 9.98262712407054E-12 kg | 9.98262712407054E-12 kg | |||
| Elementary flow | Emissions / Emissions to air / Emissions to air, unspecified | 3.40521587593976E-9 kg | 3.40521587593976E-9 kg | |||
| Elementary flow | Emissions / Emissions to air / Emissions to air, unspecified | 1.46469546796956E-15 kg | 1.46469546796956E-15 kg | |||
| Elementary flow | Emissions / Emissions to soil / Emissions to agricultural soil | 1.949652117584947E-12 kg | 1.949652117584947E-12 kg | |||
| Elementary flow | Emissions / Emissions to air / Emissions to air, unspecified | 1.66640397095126E-12 kg | 1.66640397095126E-12 kg | |||
| Elementary flow | Emissions / Emissions to air / Emissions to non-urban air or from high stacks | 1.47059848354631E-6 kg | 1.47059848354631E-6 kg | |||
| Elementary flow | Emissions / Emissions to air / Emissions to air, unspecified | 1.0492256261365005E-6 kg | 1.0492256261365005E-6 kg | |||
| Elementary flow | Emissions / Emissions to air / Emissions to non-urban air or from high stacks | 1.63503805145214E-16 kg | 1.63503805145214E-16 kg | |||
| Elementary flow | Emissions / Emissions to water / Emissions to sea water | 9.33053432950594E-6 kg | 9.33053432950594E-6 kg | |||
| Elementary flow | Emissions / Emissions to air / Emissions to air, unspecified | -9.79262295224975E-22 kg | -9.79262295224975E-22 kg | |||
| Elementary flow | Emissions / Emissions to water / Emissions to fresh water | 0.0010965073281117125 kg | 0.0010965073281117125 kg | |||
| Elementary flow | Emissions / Emissions to soil / Emissions to agricultural soil | 4.33407637136987E-28 kg | 4.33407637136987E-28 kg | |||
| Elementary flow | Emissions / Emissions to water / Emissions to fresh water | 8.69928024938721E-15 kg | 8.69928024938721E-15 kg | |||
| Elementary flow | Emissions / Emissions to soil / Emissions to agricultural soil | 3.15440418049725E-11 kg | 3.15440418049725E-11 kg | |||
| Elementary flow | Emissions / Emissions to soil / Emissions to non-agricultural soil | 1.54146539746532E-16 kg | 1.54146539746532E-16 kg | |||
| Elementary flow | Emissions / Emissions to water / Emissions to fresh water | 2.28468967487949E-14 kg | 2.28468967487949E-14 kg | |||
| Elementary flow | Emissions / Emissions to air / Emissions to air, unspecified | 1.07079441291416E-5 kg | 1.07079441291416E-5 kg | |||
| Elementary flow | Emissions / Emissions to soil / Emissions to agricultural soil | 2.88208549081415E-12 kg | 2.88208549081415E-12 kg | |||
| Elementary flow | Emissions / Emissions to water / Emissions to fresh water | 6.4545751582159E-8 kBq | 6.4545751582159E-8 kBq | |||
| Elementary flow | Emissions / Emissions to soil / Emissions to agricultural soil | 5.19486442009455E-14 kg | 5.19486442009455E-14 kg | |||
| Elementary flow | Emissions / Emissions to soil / Emissions to agricultural soil | 4.96668029472574E-11 kg | 4.96668029472574E-11 kg | |||
| Elementary flow | Emissions / Emissions to soil / Emissions to non-agricultural soil | 4.09686337561421E-13 kg | 4.09686337561421E-13 kg | |||
| Elementary flow | Emissions / Emissions to water / Emissions to fresh water | 1.3811905708162866 m3 | 1.3811905708162866 m3 | |||
| Elementary flow | Emissions / Emissions to air / Emissions to air, unspecified | 1.73641100259007E-11 kg | 1.73641100259007E-11 kg | |||
| Elementary flow | Emissions / Emissions to water / Emissions to water, unspecified (long-term) | 1.27E-9 kg | 1.27E-9 kg | |||
| Elementary flow | Emissions / Emissions to air / Emissions to non-urban air or from high stacks | 3.6909463926035E-14 kg | 3.6909463926035E-14 kg | |||
| Elementary flow | Emissions / Emissions to water / Emissions to sea water | 0.00118871505816411 kBq | 0.00118871505816411 kBq | |||
| Elementary flow | Emissions / Emissions to air / Emissions to air, unspecified (long-term) | 2.02831132553175E-10 kg | 2.02831132553175E-10 kg | |||
| Elementary flow | Emissions / Emissions to air / Emissions to air, unspecified | 0.01984411938811436 kBq | 0.01984411938811436 kBq | |||
| Elementary flow | Emissions / Emissions to water / Emissions to fresh water | 2.30002018793126E-8 m3 | 2.30002018793126E-8 m3 | |||
| Elementary flow | Emissions / Emissions to water / Emissions to fresh water | 8.10496196568849E-6 m3 | 8.10496196568849E-6 m3 | |||
| Elementary flow | Emissions / Emissions to soil / Emissions to non-agricultural soil | 1.18412720026138E-12 kg | 1.18412720026138E-12 kg | |||
| Elementary flow | Emissions / Emissions to air / Emissions to air, unspecified (long-term) | 1.1653196603043E-8 kg | 1.1653196603043E-8 kg | |||
| Elementary flow | Emissions / Emissions to water / Emissions to fresh water | 2.09902775856953E-16 kg | 2.09902775856953E-16 kg | |||
| Elementary flow | Emissions / Emissions to air / Emissions to air, unspecified | 8.3391157680317E-22 kg | 8.3391157680317E-22 kg | |||
| Elementary flow | Emissions / Emissions to air / Emissions to non-urban air or from high stacks | 4.07940350114419E-14 kg | 4.07940350114419E-14 kg | |||
| Elementary flow | Emissions / Emissions to water / Emissions to water, unspecified | 5.9904020375281015E-16 kg | 5.9904020375281015E-16 kg | |||
| Elementary flow | Emissions / Emissions to water / Emissions to sea water | -3.49824942551683E-13 kg | -3.49824942551683E-13 kg | |||
| Elementary flow | Emissions / Emissions to soil / Emissions to non-agricultural soil | 3.92046499095838E-7 kg | 3.92046499095838E-7 kg | |||
| Elementary flow | Emissions / Emissions to water / Emissions to sea water | 7.2171945247634E-8 kg | 7.2171945247634E-8 kg | |||
| Waste flow | Wastes | 1.63913177745221E-5 kg | 1.63913177745221E-5 kg | |||
| Elementary flow | Emissions / Emissions to air / Emissions to air, unspecified | 1.35783322302807E-17 kg | 1.35783322302807E-17 kg | |||
| Elementary flow | Emissions / Emissions to soil / Emissions to agricultural soil | 2.47394334197109E-28 kg | 2.47394334197109E-28 kg | |||
| Elementary flow | Emissions / Emissions to water / Emissions to fresh water | 3.48327878761592E-6 m3 | 3.48327878761592E-6 m3 | |||
| Elementary flow | Emissions / Emissions to water / Emissions to sea water | 3.74831476470328E-5 kg | 3.74831476470328E-5 kg | |||
| Elementary flow | Emissions / Emissions to air / Emissions to air, unspecified | 1.73299762181838E-9 kg | 1.73299762181838E-9 kg | |||
| Elementary flow | Emissions / Emissions to water / Emissions to water, unspecified | 2.27729115239044E-15 kg | 2.27729115239044E-15 kg | |||
| Elementary flow | Emissions / Emissions to air / Emissions to air, unspecified | 1.76088909764787E-26 kg | 1.76088909764787E-26 kg | |||
| Elementary flow | Emissions / Emissions to water / Emissions to fresh water | 2.9998609691668253E-6 m3 | 2.9998609691668253E-6 m3 | |||
| Elementary flow | Emissions / Emissions to air / Emissions to air, unspecified (long-term) | 3.50603481045341E-8 kg | 3.50603481045341E-8 kg | |||
| Elementary flow | Emissions / Emissions to soil / Emissions to agricultural soil | 2.79144038095959E-11 kg | 2.79144038095959E-11 kg | |||
| Elementary flow | Emissions / Emissions to air / Emissions to air, unspecified (long-term) | 5.96763836304593E-14 kg | 5.96763836304593E-14 kg | |||
| Elementary flow | Emissions / Emissions to soil / Emissions to non-agricultural soil | 1.21958721571908E-14 kg | 1.21958721571908E-14 kg | |||
| Elementary flow | Emissions / Emissions to water / Emissions to sea water | 2.566116459164985E-7 kg | 2.566116459164985E-7 kg | |||
| Elementary flow | Emissions / Emissions to water / Emissions to fresh water | 4.7816485587158E-9 kg | 4.7816485587158E-9 kg | |||
| Elementary flow | Emissions / Emissions to air / Emissions to non-urban air or from high stacks | 1.02465819951046E-20 kg | 1.02465819951046E-20 kg | |||
| Elementary flow | Emissions / Emissions to water / Emissions to sea water | 5.1709222565394E-6 kg | 5.1709222565394E-6 kg | |||
| Elementary flow | Emissions / Emissions to air / Emissions to urban air close to ground | 1.20191711917228E-11 kg | 1.20191711917228E-11 kg | |||
| Elementary flow | Emissions / Emissions to air / Emissions to air, unspecified | 1.61716063098897E-10 kg | 1.61716063098897E-10 kg | |||
| Elementary flow | Emissions / Emissions to water / Emissions to fresh water | 9.21701397006507E-19 kg | 9.21701397006507E-19 kg | |||
| Elementary flow | Emissions / Emissions to soil / Emissions to agricultural soil | 8.18852914558866E-7 kg | 8.18852914558866E-7 kg | |||
| Elementary flow | Emissions / Emissions to air / Emissions to air, unspecified | 2.20932653954446E-9 kg | 2.20932653954446E-9 kg | |||
| Elementary flow | Emissions / Emissions to air / Emissions to air, unspecified | 1.45878263429006E-19 kg | 1.45878263429006E-19 kg | |||
| Elementary flow | Emissions / Emissions to water / Emissions to fresh water | 1.43599455702811E-5 kBq | 1.43599455702811E-5 kBq | |||
| Elementary flow | Emissions / Emissions to air / Emissions to air, unspecified | 2.44141814219759E-8 kg | 2.44141814219759E-8 kg | |||
| Elementary flow | Emissions / Emissions to air / Emissions to air, unspecified | 1.029939400865E-8 kg | 1.029939400865E-8 kg | |||
| Elementary flow | Emissions / Emissions to soil / Emissions to non-agricultural soil | 3.19395556946186E-17 kg | 3.19395556946186E-17 kg | |||
| Elementary flow | Emissions / Emissions to air / Emissions to air, unspecified | 1.2253911396682E-8 kg | 1.2253911396682E-8 kg | |||
| Elementary flow | Emissions / Emissions to air / Emissions to air, unspecified | 2.6376832429741497E-5 kg | 2.6376832429741497E-5 kg | |||
| Elementary flow | Emissions / Emissions to soil / Emissions to agricultural soil | 4.09632400160592E-14 kg | 4.09632400160592E-14 kg | |||
| Elementary flow | Emissions / Emissions to water / Emissions to fresh water | 4.7072069438321E-15 kg | 4.7072069438321E-15 kg | |||
| Elementary flow | Emissions / Emissions to air / Emissions to air, unspecified | 8.32247589835319E-11 kg | 8.32247589835319E-11 kg | |||
| Elementary flow | Emissions / Emissions to water / Emissions to fresh water | 5.05302200483751E-7 kg | 5.05302200483751E-7 kg | |||
| Elementary flow | Emissions / Emissions to air / Emissions to air, unspecified (long-term) | 1.50505288070567E-9 kBq | 1.50505288070567E-9 kBq | |||
| Elementary flow | Emissions / Emissions to soil / Emissions to agricultural soil | 9.40959399811584E-15 kg | 9.40959399811584E-15 kg | |||
| Elementary flow | Emissions / Emissions to air / Emissions to urban air close to ground | 4.6335967559162E-11 kg | 4.6335967559162E-11 kg | |||
| Elementary flow | Emissions / Emissions to air / Emissions to air, unspecified | 6.49117064292324E-13 kg | 6.49117064292324E-13 kg | |||
| Elementary flow | Emissions / Emissions to water / Emissions to sea water | 5.56434140984234E-16 kg | 5.56434140984234E-16 kg | |||
| Elementary flow | Emissions / Emissions to water / Emissions to water, unspecified (long-term) | 0.00302781391296451 kg | 0.00302781391296451 kg | |||
| Elementary flow | Emissions / Emissions to water / Emissions to fresh water | 2.13706544700062E-9 kg | 2.13706544700062E-9 kg | |||
| Elementary flow | Emissions / Emissions to soil / Emissions to agricultural soil | 1.91536205288604E-12 kg | 1.91536205288604E-12 kg | |||
| Elementary flow | Emissions / Emissions to water / Emissions to sea water | 1.34826604795324E-9 kg | 1.34826604795324E-9 kg | |||
| Elementary flow | Emissions / Emissions to water / Emissions to fresh water | 2.08861773512299E-7 kg | 2.08861773512299E-7 kg | |||
| Elementary flow | Emissions / Emissions to air / Emissions to air, unspecified | -1.46509607446627E-19 kg | -1.46509607446627E-19 kg | |||
| Elementary flow | Emissions / Emissions to water / Emissions to fresh water | 8.3198568872967E-4 kg | 8.3198568872967E-4 kg | |||
| Elementary flow | Emissions / Emissions to soil / Emissions to non-agricultural soil | 8.9303325399735E-16 kg | 8.9303325399735E-16 kg | |||
| Elementary flow | Emissions / Emissions to air / Emissions to non-urban air or from high stacks | 1.2670858414137E-12 kg | 1.2670858414137E-12 kg | |||
| Elementary flow | Emissions / Emissions to air / Emissions to air, unspecified | 7.55095364420789E-13 kg | 7.55095364420789E-13 kg | |||
| Elementary flow | Emissions / Emissions to water / Emissions to fresh water | 5.7919763852183E-14 kg | 5.7919763852183E-14 kg | |||
| Other flow | Materials production / Other materials | 1.0 kg | 1.0 kg | |||
| Elementary flow | Emissions / Emissions to air / Emissions to air, unspecified (long-term) | 1.52786891608367E-6 kg | 1.52786891608367E-6 kg | |||
| Elementary flow | Emissions / Emissions to water / Emissions to water, unspecified | 2.96222532985169E-17 kg | 2.96222532985169E-17 kg | |||
| Elementary flow | Emissions / Emissions to soil / Emissions to agricultural soil | 3.64064638451338E-13 kg | 3.64064638451338E-13 kg | |||
| Elementary flow | Emissions / Emissions to air / Emissions to non-urban air or from high stacks | 4.4400628392625E-10 kg | 4.4400628392625E-10 kg | |||
| Elementary flow | Emissions / Emissions to soil / Emissions to agricultural soil | 1.2026667970678E-10 kg | 1.2026667970678E-10 kg | |||
| Elementary flow | Emissions / Emissions to air / Emissions to urban air close to ground | 9.91536085895111E-16 kg | 9.91536085895111E-16 kg | |||
| Elementary flow | Emissions / Emissions to water / Emissions to water, unspecified | 1.41335508427311E-19 kg | 1.41335508427311E-19 kg | |||
| Elementary flow | Emissions / Emissions to air / Emissions to non-urban air or from high stacks | 7.08588912717911E-13 kg | 7.08588912717911E-13 kg | |||
| Elementary flow | Emissions / Emissions to air / Emissions to urban air close to ground | 5.94891709821101E-8 kg | 5.94891709821101E-8 kg | |||
| Elementary flow | Emissions / Emissions to air / Emissions to air, unspecified (long-term) | 35.8971327850809 kBq | 35.8971327850809 kBq | |||
| Elementary flow | Emissions / Emissions to water / Emissions to fresh water | 7.22307635229406E-5 m3 | 7.22307635229406E-5 m3 | |||
| Elementary flow | Emissions / Emissions to air / Emissions to air, unspecified | 1.51069062650664E-11 kg | 1.51069062650664E-11 kg | |||
| Elementary flow | Emissions / Emissions to soil / Emissions to non-agricultural soil | 4.24173722314282E-17 kg | 4.24173722314282E-17 kg | |||
| Elementary flow | Emissions / Emissions to soil / Emissions to non-agricultural soil | 8.68613551892999E-8 kg | 8.68613551892999E-8 kg | |||
| Elementary flow | Emissions / Emissions to water / Emissions to sea water | 9.578128325314E-4 kBq | 9.578128325314E-4 kBq | |||
| Elementary flow | Emissions / Emissions to air / Emissions to non-urban air or from high stacks | 1.09643250891974E-15 kg | 1.09643250891974E-15 kg | |||
| Elementary flow | Emissions / Emissions to water / Emissions to fresh water | 3.71722146393165E-15 kg | 3.71722146393165E-15 kg | |||
| Elementary flow | Emissions / Emissions to air / Emissions to air, unspecified | 4.89734361376911E-12 kg | 4.89734361376911E-12 kg | |||
| Elementary flow | Emissions / Emissions to water / Emissions to fresh water | 3.46759078046329E-10 kg | 3.46759078046329E-10 kg | |||
| Elementary flow | Emissions / Emissions to water / Emissions to fresh water | 1.05862933121216E-5 m3 | 1.05862933121216E-5 m3 | |||
| Elementary flow | Emissions / Emissions to air / Emissions to air, unspecified | 5.37074339101967E-14 kg | 5.37074339101967E-14 kg | |||
| Elementary flow | Emissions / Emissions to water / Emissions to fresh water | 3.35266814638644E-8 kg | 3.35266814638644E-8 kg | |||
| Elementary flow | Emissions / Emissions to air / Emissions to air, unspecified | 3.45087066025787E-13 kg | 3.45087066025787E-13 kg | |||
| Elementary flow | Emissions / Emissions to water / Emissions to fresh water | 4.12532258322275E-13 kg | 4.12532258322275E-13 kg | |||
| Elementary flow | Emissions / Emissions to air / Emissions to air, unspecified | 3.15237346007849E-11 kg | 3.15237346007849E-11 kg | |||
| Elementary flow | Emissions / Emissions to soil / Emissions to agricultural soil | 3.29725154258547E-7 kg | 3.29725154258547E-7 kg | |||
| Elementary flow | Emissions / Emissions to soil / Emissions to agricultural soil | 6.82814542037378E-13 kg | 6.82814542037378E-13 kg | |||
| Elementary flow | Emissions / Emissions to water / Emissions to fresh water | 1.22022699273455E-4 m3 | 1.22022699273455E-4 m3 | |||
| Elementary flow | Emissions / Emissions to soil / Emissions to agricultural soil | 3.93844835770679E-13 kg | 3.93844835770679E-13 kg | |||
| Elementary flow | Emissions / Emissions to air / Emissions to air, unspecified | 0.00863549396933957 kg | 0.00863549396933957 kg | |||
| Elementary flow | Emissions / Emissions to air / Emissions to air, unspecified | 1.38956293116423E-7 kg | 1.38956293116423E-7 kg | |||
| Waste flow | Wastes / Other waste | 0.00248820163954915 kg | 0.00248820163954915 kg | |||
| Elementary flow | Emissions / Emissions to air / Emissions to air, unspecified | 4.0935117412058E-13 kg | 4.0935117412058E-13 kg | |||
| Elementary flow | Emissions / Emissions to water / Emissions to fresh water | 1.12432308307422E-18 kg | 1.12432308307422E-18 kg | |||
| Elementary flow | Emissions / Emissions to water / Emissions to fresh water | 3.54519905842646E-12 m3 | 3.54519905842646E-12 m3 | |||
| Elementary flow | Emissions / Emissions to water / Emissions to fresh water | 8.72511619422171E-9 kg | 8.72511619422171E-9 kg | |||
| Elementary flow | Emissions / Emissions to water / Emissions to fresh water | 5.95591232778329E-5 m3 | 5.95591232778329E-5 m3 | |||
| Elementary flow | Emissions / Emissions to water / Emissions to fresh water | 0.10598695833063082 MJ | 0.10598695833063082 MJ | |||
| Elementary flow | Emissions / Emissions to air / Emissions to air, unspecified | 1.3737849991086E-5 kg | 1.3737849991086E-5 kg | |||
| Elementary flow | Emissions / Emissions to water / Emissions to fresh water | 2.02208361676129E-12 kg | 2.02208361676129E-12 kg | |||
| Elementary flow | Emissions / Emissions to soil / Emissions to agricultural soil | 5.8302993663915E-15 kg | 5.8302993663915E-15 kg | |||
| Elementary flow | Emissions / Emissions to air / Emissions to air, unspecified | 4.33153930757217E-12 kg | 4.33153930757217E-12 kg | |||
| Elementary flow | Emissions / Emissions to water / Emissions to fresh water | 1.05727550690239E-12 kg | 1.05727550690239E-12 kg | |||
| Elementary flow | Emissions / Emissions to air / Emissions to urban air close to ground | 1.477951196457E-23 kg | 1.477951196457E-23 kg | |||
| Elementary flow | Emissions / Emissions to water / Emissions to fresh water | 1.04523374429415E-7 kBq | 1.04523374429415E-7 kBq | |||
| Elementary flow | Emissions / Emissions to air / Emissions to air, unspecified | 3.58662842835629E-17 kg | 3.58662842835629E-17 kg | |||
| Elementary flow | Emissions / Emissions to air / Emissions to air, unspecified (long-term) | 4.27729308954479E-13 kg | 4.27729308954479E-13 kg | |||
| Elementary flow | Emissions / Emissions to soil / Emissions to agricultural soil | 9.91610501853982E-15 kg | 9.91610501853982E-15 kg | |||
| Elementary flow | Emissions / Emissions to soil / Emissions to agricultural soil | 1.11969443441942E-18 kg | 1.11969443441942E-18 kg | |||
| Elementary flow | Emissions / Emissions to water / Emissions to fresh water | 2.09739835504109E-8 kBq | 2.09739835504109E-8 kBq | |||
| Elementary flow | Emissions / Emissions to air / Emissions to air, unspecified | 6.39964994911115E-9 kg | 6.39964994911115E-9 kg | |||
| Elementary flow | Emissions / Emissions to water / Emissions to sea water | 5.58051032076524E-11 kg | 5.58051032076524E-11 kg | |||
| Elementary flow | Emissions / Emissions to water / Emissions to sea water | 2.79407394746408E-8 kg | 2.79407394746408E-8 kg | |||
| Elementary flow | Emissions / Emissions to air / Emissions to air, unspecified | 4.22232849394903E-14 kg | 4.22232849394903E-14 kg | |||
| Elementary flow | Emissions / Emissions to soil / Emissions to agricultural soil | 7.565233443577E-12 kg | 7.565233443577E-12 kg | |||
| Elementary flow | Emissions / Emissions to water / Emissions to sea water | 3.14246089826757E-11 kg | 3.14246089826757E-11 kg | |||
| Elementary flow | Emissions / Emissions to air / Emissions to lower stratosphere and upper troposphere | 12.0443824136977 kBq | 12.0443824136977 kBq | |||
| Elementary flow | Emissions / Emissions to soil / Emissions to agricultural soil | 8.11688615184978E-13 kg | 8.11688615184978E-13 kg | |||
| Elementary flow | Emissions / Emissions to soil / Emissions to non-agricultural soil | 2.04673736936289E-8 kg | 2.04673736936289E-8 kg | |||
| Elementary flow | Emissions / Emissions to water / Emissions to sea water | 2.34745255504384E-9 kg | 2.34745255504384E-9 kg | |||
| Elementary flow | Emissions / Emissions to soil / Emissions to agricultural soil | 2.33910745969338E-14 kg | 2.33910745969338E-14 kg | |||
| Elementary flow | Emissions / Emissions to air / Emissions to air, unspecified | 1.4200774757748E-9 kg | 1.4200774757748E-9 kg | |||
| Elementary flow | Emissions / Emissions to water / Emissions to fresh water | 1.996806879320839E-7 kg | 1.996806879320839E-7 kg | |||
| Elementary flow | Emissions / Emissions to air / Emissions to air, unspecified (long-term) | 3.20133247630866E-9 kg | 3.20133247630866E-9 kg | |||
| Elementary flow | Emissions / Emissions to water / Emissions to fresh water | 2.42283165436405E-16 kg | 2.42283165436405E-16 kg | |||
| Elementary flow | Emissions / Emissions to water / Emissions to water, unspecified (long-term) | 5.84598669720312E-7 kg | 5.84598669720312E-7 kg | |||
| Elementary flow | Emissions / Emissions to air / Emissions to air, unspecified (long-term) | 2.55475921881396E-8 kg | 2.55475921881396E-8 kg | |||
| Elementary flow | Emissions / Emissions to water / Emissions to fresh water | 9.27964318202614E-7 m3 | 9.27964318202614E-7 m3 | |||
| Elementary flow | Emissions / Emissions to water / Emissions to sea water | 2.66095440494183E-7 kg | 2.66095440494183E-7 kg | |||
| Elementary flow | Emissions / Emissions to soil / Emissions to agricultural soil | 9.41667115815111E-4 kg | 9.41667115815111E-4 kg | |||
| Elementary flow | Emissions / Emissions to soil / Emissions to agricultural soil | 1.04251476137774E-16 kg | 1.04251476137774E-16 kg | |||
| Elementary flow | Emissions / Emissions to air / Emissions to air, unspecified | 4.5284235314146E-11 kg | 4.5284235314146E-11 kg | |||
| Elementary flow | Emissions / Emissions to water / Emissions to fresh water | 2.54610823182045E-6 m3 | 2.54610823182045E-6 m3 | |||
| Elementary flow | Emissions / Emissions to water / Emissions to fresh water | 8.3708879059465E-10 kg | 8.3708879059465E-10 kg | |||
| Elementary flow | Emissions / Emissions to water / Emissions to fresh water | 2.5437765061634E-8 kg | 2.5437765061634E-8 kg | |||
| Elementary flow | Emissions / Emissions to air / Emissions to air, unspecified | 3.00047163820924E-13 kg | 3.00047163820924E-13 kg | |||
| Elementary flow | Emissions / Emissions to air / Emissions to air, unspecified | 0.8191041789704717 MJ | 0.8191041789704717 MJ | |||
| Elementary flow | Emissions / Emissions to air / Emissions to urban air close to ground | 1.68661761931497E-11 kg | 1.68661761931497E-11 kg | |||
| Elementary flow | Emissions / Emissions to soil / Emissions to agricultural soil | 2.2454499817525E-15 kg | 2.2454499817525E-15 kg | |||
| Elementary flow | Emissions / Emissions to soil / Emissions to non-agricultural soil | 8.6035374660874E-14 kg | 8.6035374660874E-14 kg | |||
| Elementary flow | Emissions / Emissions to water / Emissions to fresh water | 6.71877615677007E-7 kBq | 6.71877615677007E-7 kBq | |||
| Elementary flow | Emissions / Emissions to air / Emissions to air, unspecified | 1.84426276437333E-5 kg | 1.84426276437333E-5 kg | |||
| Elementary flow | Emissions / Emissions to water / Emissions to fresh water | 4.87099915722193E-7 m3 | 4.87099915722193E-7 m3 | |||
| Elementary flow | Emissions / Emissions to water / Emissions to fresh water | 5.43809928336216E-18 kg | 5.43809928336216E-18 kg | |||
| Elementary flow | Emissions / Emissions to water / Emissions to fresh water | 2.78581038440488E-10 kg | 2.78581038440488E-10 kg | |||
| Elementary flow | Emissions / Emissions to water / Emissions to fresh water | 1.5118775114757E-5 m3 | 1.5118775114757E-5 m3 | |||
| Elementary flow | Emissions / Emissions to water / Emissions to water, unspecified | 3.14500972728941E-15 kg | 3.14500972728941E-15 kg | |||
| Elementary flow | Emissions / Emissions to air / Emissions to air, unspecified | 4.158381321250072E-4 kg | 4.158381321250072E-4 kg | |||
| Elementary flow | Emissions / Emissions to air / Emissions to air, unspecified | 3.53042114829608E-9 kg | 3.53042114829608E-9 kg | |||
| Elementary flow | Emissions / Emissions to water / Emissions to fresh water | 9.29325806554318E-10 kg | 9.29325806554318E-10 kg | |||
| Elementary flow | Emissions / Emissions to water / Emissions to sea water | 2.89478457782337E-9 kg | 2.89478457782337E-9 kg | |||
| Elementary flow | Emissions / Emissions to water / Emissions to fresh water | 4.51992602825568E-4 m3 | 4.51992602825568E-4 m3 | |||
| Elementary flow | Emissions / Emissions to air / Emissions to air, unspecified | 1.96593103992773E-11 kg | 1.96593103992773E-11 kg | |||
| Elementary flow | Emissions / Emissions to air / Emissions to non-urban air or from high stacks | 4.54433931492367E-10 kg | 4.54433931492367E-10 kg | |||
| Waste flow | Wastes / Radioactive waste | 1.76268957243953E-5 kg | 1.76268957243953E-5 kg | |||
| Elementary flow | Emissions / Emissions to soil / Emissions to non-agricultural soil | 1.27953031085134E-15 kg | 1.27953031085134E-15 kg | |||
| Elementary flow | Emissions / Emissions to air / Emissions to air, unspecified | -1.41044664900579E-20 kg | -1.41044664900579E-20 kg | |||
| Elementary flow | Emissions / Emissions to soil / Emissions to agricultural soil | 4.20170524346582E-11 kg | 4.20170524346582E-11 kg | |||
| Elementary flow | Emissions / Emissions to soil / Emissions to agricultural soil | 3.04068352687348E-12 kg | 3.04068352687348E-12 kg | |||
| Elementary flow | Emissions / Emissions to water / Emissions to fresh water | 6.41424493055699E-7 m3 | 6.41424493055699E-7 m3 | |||
| Elementary flow | Emissions / Emissions to water / Emissions to sea water | 9.70832849935675E-7 kg | 9.70832849935675E-7 kg | |||
| Elementary flow | Emissions / Emissions to water / Emissions to fresh water | 7.11056174654416E-14 kg | 7.11056174654416E-14 kg | |||
| Elementary flow | Emissions / Emissions to water / Emissions to fresh water | 1.70575980467214E-6 kBq | 1.70575980467214E-6 kBq | |||
| Elementary flow | Emissions / Emissions to air / Emissions to air, unspecified | 1.05874968225516E-11 kg | 1.05874968225516E-11 kg | |||
| Elementary flow | Emissions / Emissions to soil / Emissions to agricultural soil | 2.78243142016498E-12 kg | 2.78243142016498E-12 kg | |||
| Elementary flow | Emissions / Emissions to water / Emissions to fresh water | 4.10470910140839E-18 kg | 4.10470910140839E-18 kg | |||
| Elementary flow | Emissions / Emissions to air / Emissions to air, unspecified | 2.78323005158654E-7 kg | 2.78323005158654E-7 kg | |||
| Elementary flow | Emissions / Emissions to soil / Emissions to agricultural soil | 6.66756014742415E-10 kg | 6.66756014742415E-10 kg | |||
| Elementary flow | Emissions / Emissions to water / Emissions to fresh water | 6.62073561883248E-6 kg | 6.62073561883248E-6 kg | |||
| Elementary flow | Emissions / Emissions to soil / Emissions to non-agricultural soil | 4.27252003518438E-13 kg | 4.27252003518438E-13 kg | |||
| Elementary flow | Emissions / Emissions to water / Emissions to sea water | 1.5058589682572E-17 kg | 1.5058589682572E-17 kg | |||
| Elementary flow | Emissions / Emissions to air / Emissions to air, unspecified | 8.31005100957069E-10 kg | 8.31005100957069E-10 kg | |||
| Elementary flow | Emissions / Emissions to air / Emissions to air, unspecified | 6.63953064472472E-14 kg | 6.63953064472472E-14 kg | |||
| Elementary flow | Emissions / Emissions to water / Emissions to fresh water | 7.83880810471004E-7 kg | 7.83880810471004E-7 kg | |||
| Elementary flow | Emissions / Emissions to air / Emissions to air, unspecified (long-term) | 7.61564621331732E-8 kg | 7.61564621331732E-8 kg | |||
| Elementary flow | Emissions / Emissions to water / Emissions to fresh water | 3.61939738765221E-7 m3 | 3.61939738765221E-7 m3 | |||
| Elementary flow | Emissions / Emissions to water / Emissions to sea water | 4.59265519132112E-4 kBq | 4.59265519132112E-4 kBq | |||
| Elementary flow | Emissions / Emissions to water / Emissions to fresh water | 2.75123964671241E-8 m3 | 2.75123964671241E-8 m3 | |||
| Elementary flow | Emissions / Emissions to soil / Emissions to agricultural soil | 1.13149632546287E-10 kg | 1.13149632546287E-10 kg | |||
| Elementary flow | Emissions / Emissions to water / Emissions to water, unspecified (long-term) | 6.87728281940812E-8 kg | 6.87728281940812E-8 kg | |||
| Elementary flow | Emissions / Emissions to water / Emissions to fresh water | 3.52719885772184E-13 kg | 3.52719885772184E-13 kg | |||
| Elementary flow | Emissions / Emissions to air / Emissions to non-urban air or from high stacks | 6.1991849613271E-11 kg | 6.1991849613271E-11 kg | |||
| Elementary flow | Emissions / Emissions to water / Emissions to fresh water | 7.65208291681209E-16 kg | 7.65208291681209E-16 kg | |||
| Elementary flow | Emissions / Emissions to soil / Emissions to agricultural soil | 2.32965958749673E-17 kg | 2.32965958749673E-17 kg | |||
| Elementary flow | Emissions / Emissions to soil / Emissions to agricultural soil | 8.30525519197706E-10 kg | 8.30525519197706E-10 kg | |||
| Elementary flow | Emissions / Emissions to soil / Emissions to agricultural soil | 8.54745480392388E-14 kg | 8.54745480392388E-14 kg | |||
| Elementary flow | Emissions / Emissions to air / Emissions to air, unspecified | 5.47667620800392E-7 kg | 5.47667620800392E-7 kg | |||
| Elementary flow | Emissions / Emissions to soil / Emissions to non-agricultural soil | 3.38415400947263E-16 kg | 3.38415400947263E-16 kg | |||
| Elementary flow | Emissions / Emissions to water / Emissions to fresh water | 1.01702265954502E-17 kg | 1.01702265954502E-17 kg | |||
| Elementary flow | Emissions / Emissions to water / Emissions to fresh water | 4.97080047722054E-9 kg | 4.97080047722054E-9 kg | |||
| Elementary flow | Emissions / Emissions to soil / Emissions to non-agricultural soil | 1.26740354012395E-14 kg | 1.26740354012395E-14 kg | |||
| Elementary flow | Emissions / Emissions to air / Emissions to air, unspecified | 2.27777106295604E-10 kg | 2.27777106295604E-10 kg | |||
| Elementary flow | Emissions / Emissions to soil / Emissions to non-agricultural soil | 2.25802909418465E-11 kg | 2.25802909418465E-11 kg | |||
| Elementary flow | Emissions / Emissions to air / Emissions to air, unspecified (long-term) | 9.01206337715116E-11 kg | 9.01206337715116E-11 kg | |||
| Elementary flow | Emissions / Emissions to soil / Emissions to agricultural soil | 4.38026870184947E-13 kg | 4.38026870184947E-13 kg | |||
| Elementary flow | Emissions / Emissions to water / Emissions to fresh water | 1.41357162384268E-7 m3 | 1.41357162384268E-7 m3 | |||
| Elementary flow | Emissions / Emissions to water / Emissions to fresh water | 3.04916741642475E-14 kg | 3.04916741642475E-14 kg | |||
| Elementary flow | Emissions / Emissions to air / Emissions to urban air close to ground | 1.96445125194116E-9 kg | 1.96445125194116E-9 kg | |||
| Elementary flow | Emissions / Emissions to water / Emissions to fresh water | 3.39718563751722E-8 kg | 3.39718563751722E-8 kg | |||
| Elementary flow | Emissions / Emissions to water / Emissions to water, unspecified | 1.0772986350866793E-6 kg | 1.0772986350866793E-6 kg | |||
| Elementary flow | Emissions / Emissions to air / Emissions to urban air close to ground | 1.10068863607976E-7 kg | 1.10068863607976E-7 kg | |||
| Elementary flow | Emissions / Emissions to soil / Emissions to agricultural soil | 2.87672849254781E-15 kg | 2.87672849254781E-15 kg | |||
| Elementary flow | Emissions / Emissions to air / Emissions to urban air close to ground | 6.07633852308002E-5 kg | 6.07633852308002E-5 kg | |||
| Elementary flow | Emissions / Emissions to water / Emissions to fresh water | 2.97254346947773E-8 m3 | 2.97254346947773E-8 m3 | |||
| Elementary flow | Emissions / Emissions to water / Emissions to fresh water | 1.88696958629188E-5 m3 | 1.88696958629188E-5 m3 | |||
| Elementary flow | Emissions / Emissions to water / Emissions to fresh water | 8.70603653019497E-13 kg | 8.70603653019497E-13 kg | |||
| Elementary flow | Emissions / Emissions to water / Emissions to water, unspecified (long-term) | 2.67896151272419E-5 kg | 2.67896151272419E-5 kg | |||
| Elementary flow | Emissions / Emissions to water / Emissions to fresh water | 1.98261362940332E-9 m3 | 1.98261362940332E-9 m3 | |||
| Elementary flow | Emissions / Emissions to water / Emissions to water, unspecified (long-term) | 7.48116576749289E-6 kg | 7.48116576749289E-6 kg | |||
| Elementary flow | Emissions / Emissions to soil / Emissions to agricultural soil | 3.30545988682102E-14 kg | 3.30545988682102E-14 kg | |||
| Elementary flow | Emissions / Emissions to soil / Emissions to agricultural soil | 2.92840841947234E-13 kg | 2.92840841947234E-13 kg | |||
| Elementary flow | Emissions / Emissions to water / Emissions to sea water | 2.339030121359344E-8 kg | 2.339030121359344E-8 kg | |||
| Elementary flow | Emissions / Emissions to air / Emissions to non-urban air or from high stacks | 6.03231541134525E-9 kg | 6.03231541134525E-9 kg | |||
| Elementary flow | Emissions / Emissions to water / Emissions to fresh water | 3.89272616983052E-7 kg | 3.89272616983052E-7 kg | |||
| Elementary flow | Emissions / Emissions to soil / Emissions to agricultural soil | 1.35267496679669E-13 kg | 1.35267496679669E-13 kg | |||
| Elementary flow | Emissions / Emissions to water / Emissions to water, unspecified | 4.54083536458457E-20 kg | 4.54083536458457E-20 kg | |||
| Elementary flow | Emissions / Emissions to water / Emissions to fresh water | 2.30460330970594E-9 kg | 2.30460330970594E-9 kg | |||
| Elementary flow | Emissions / Emissions to water / Emissions to water, unspecified (long-term) | 4.43073056832607E-4 kg | 4.43073056832607E-4 kg | |||
| Elementary flow | Emissions / Emissions to air / Emissions to air, unspecified | 0.00129577652416743 kBq | 0.00129577652416743 kBq | |||
| Elementary flow | Emissions / Emissions to soil / Emissions to agricultural soil | 6.52029823137774E-13 kg | 6.52029823137774E-13 kg | |||
| Elementary flow | Emissions / Emissions to water / Emissions to fresh water | 9.04567492256938E-6 m3 | 9.04567492256938E-6 m3 | |||
| Elementary flow | Emissions / Emissions to soil / Emissions to non-agricultural soil | 5.26217872155271E-10 kg | 5.26217872155271E-10 kg | |||
| Elementary flow | Emissions / Emissions to soil / Emissions to agricultural soil | 4.58728933951469E-14 kg | 4.58728933951469E-14 kg | |||
| Elementary flow | Emissions / Emissions to soil / Emissions to agricultural soil | 1.61567292075542E-15 kg | 1.61567292075542E-15 kg | |||
| Elementary flow | Emissions / Emissions to water / Emissions to fresh water | 8.86156779977001E-12 kg | 8.86156779977001E-12 kg | |||
| Elementary flow | Emissions / Emissions to soil / Emissions to agricultural soil | 5.1650897259332E-10 kg | 5.1650897259332E-10 kg | |||
| Elementary flow | Emissions / Emissions to air / Emissions to air, unspecified | 1.11056478298112E-14 kg | 1.11056478298112E-14 kg | |||
| Elementary flow | Emissions / Emissions to water / Emissions to fresh water | 1.24829174274902E-9 kg | 1.24829174274902E-9 kg | |||
| Elementary flow | Emissions / Emissions to air / Emissions to air, unspecified | 4.53669392856828E-11 kg | 4.53669392856828E-11 kg | |||
| Elementary flow | Emissions / Emissions to air / Emissions to air, unspecified | 2.43021489912963E-9 kg | 2.43021489912963E-9 kg | |||
| Elementary flow | Emissions / Emissions to water / Emissions to fresh water | 1.58673498644662E-6 kg | 1.58673498644662E-6 kg | |||
| Elementary flow | Emissions / Emissions to air / Emissions to air, unspecified | 1.5121554672874995E-13 kg | 1.5121554672874995E-13 kg | |||
| Elementary flow | Emissions / Emissions to soil / Emissions to agricultural soil | 1.31505443062303E-16 kg | 1.31505443062303E-16 kg | |||
| Elementary flow | Emissions / Emissions to water / Emissions to fresh water | 4.50775136177989E-7 kg | 4.50775136177989E-7 kg | |||
| Elementary flow | Emissions / Emissions to water / Emissions to fresh water | 1.00422075470852E-6 kg | 1.00422075470852E-6 kg | |||
| Elementary flow | Emissions / Emissions to water / Emissions to sea water | 1.16009165509566E-19 kg | 1.16009165509566E-19 kg | |||
| Elementary flow | Emissions / Emissions to water / Emissions to fresh water | 7.41363322821197E-7 m3 | 7.41363322821197E-7 m3 | |||
| Elementary flow | Emissions / Emissions to air / Emissions to air, unspecified | 6.46590957731907E-10 kBq | 6.46590957731907E-10 kBq | |||
| Elementary flow | Emissions / Emissions to air / Emissions to non-urban air or from high stacks | 4.41907440340271E-9 kg | 4.41907440340271E-9 kg | |||
| Elementary flow | Emissions / Emissions to soil / Emissions to agricultural soil | 1.9413186213093E-11 kg | 1.9413186213093E-11 kg | |||
| Elementary flow | Emissions / Emissions to air / Emissions to air, unspecified | 1.86216291796893E-9 kg | 1.86216291796893E-9 kg | |||
| Elementary flow | Emissions / Emissions to water / Emissions to fresh water | 2.69667284508184E-8 m3 | 2.69667284508184E-8 m3 | |||
| Elementary flow | Emissions / Emissions to water / Emissions to sea water | 3.07791197860794E-6 kg | 3.07791197860794E-6 kg | |||
| Elementary flow | Emissions / Emissions to water / Emissions to fresh water | 1.47906730504435E-7 m3 | 1.47906730504435E-7 m3 | |||
| Elementary flow | Emissions / Emissions to soil / Emissions to non-agricultural soil | 1.47767176336343E-9 kg | 1.47767176336343E-9 kg | |||
| Elementary flow | Emissions / Emissions to soil / Emissions to non-agricultural soil | 9.7224475654216E-16 kg | 9.7224475654216E-16 kg | |||
| Elementary flow | Emissions / Emissions to soil / Emissions to agricultural soil | 4.97895569963443E-12 kg | 4.97895569963443E-12 kg | |||
| Elementary flow | Emissions / Emissions to water / Emissions to water, unspecified (long-term) | 1.56123284963448E-4 kg | 1.56123284963448E-4 kg | |||
| Elementary flow | Emissions / Emissions to water / Emissions to fresh water | 7.09035696204234E-12 kg | 7.09035696204234E-12 kg | |||
| Elementary flow | Emissions / Emissions to air / Emissions to air, unspecified | 3.61677722501285E-15 kg | 3.61677722501285E-15 kg | |||
| Elementary flow | Emissions / Emissions to water / Emissions to water, unspecified | 3.2110292195692E-15 kg | 3.2110292195692E-15 kg | |||
| Elementary flow | Emissions / Emissions to air / Emissions to air, unspecified | 3.69193342518538E-16 kg | 3.69193342518538E-16 kg | |||
| Elementary flow | Emissions / Emissions to air / Emissions to air, unspecified | 0.0300504733633719 kBq | 0.0300504733633719 kBq | |||
| Elementary flow | Emissions / Emissions to water / Emissions to fresh water | 8.00733502526367E-6 kBq | 8.00733502526367E-6 kBq | |||
| Elementary flow | Emissions / Emissions to water / Emissions to water, unspecified | 8.777325379076829E-8 kg | 8.777325379076829E-8 kg | |||
| Elementary flow | Emissions / Emissions to water / Emissions to fresh water | 1.99737238658666E-5 kBq | 1.99737238658666E-5 kBq | |||
| Elementary flow | Emissions / Emissions to soil / Emissions to non-agricultural soil | 1.26795361846196E-13 kg | 1.26795361846196E-13 kg | |||
| Elementary flow | Emissions / Emissions to soil / Emissions to non-agricultural soil | 1.00579291089953E-14 kg | 1.00579291089953E-14 kg | |||
| Elementary flow | Emissions / Emissions to water / Emissions to sea water | 1.02940642062325E-8 kg | 1.02940642062325E-8 kg | |||
| Elementary flow | Emissions / Emissions to water / Emissions to fresh water | 4.83709634264962E-7 m3 | 4.83709634264962E-7 m3 | |||
| Elementary flow | Emissions / Emissions to water / Emissions to fresh water | 1.29472062213909E-19 kg | 1.29472062213909E-19 kg | |||
| Elementary flow | Emissions / Emissions to air / Emissions to air, unspecified | 1.17460800158847E-4 kg | 1.17460800158847E-4 kg | |||
| Elementary flow | Emissions / Emissions to water / Emissions to water, unspecified (long-term) | 0.0114670455916856 kg | 0.0114670455916856 kg | |||
| Waste flow | Wastes / Other waste | 2.26597368650469E-6 kg | 2.26597368650469E-6 kg | |||
| Elementary flow | Emissions / Emissions to water / Emissions to fresh water | 2.63895985143736E-15 kg | 2.63895985143736E-15 kg | |||
| Elementary flow | Emissions / Emissions to soil / Emissions to agricultural soil | 6.40581416593902E-14 kg | 6.40581416593902E-14 kg | |||
| Elementary flow | Emissions / Emissions to soil / Emissions to agricultural soil | 1.17746573300019E-6 kg | 1.17746573300019E-6 kg | |||
| Elementary flow | Emissions / Emissions to water / Emissions to fresh water | 1.33571617333765E-8 kg | 1.33571617333765E-8 kg | |||
| Elementary flow | Emissions / Emissions to water / Emissions to fresh water | 5.12076193349243E-10 kg | 5.12076193349243E-10 kg | |||
| Elementary flow | Emissions / Emissions to water / Emissions to fresh water | 2.21527026323136E-14 kg | 2.21527026323136E-14 kg | |||
| Elementary flow | Emissions / Emissions to air / Emissions to air, unspecified | 5.56300042575004E-15 kg | 5.56300042575004E-15 kg | |||
| Elementary flow | Emissions / Emissions to air / Emissions to lower stratosphere and upper troposphere | 2.84008351610449E-13 m3 | 2.84008351610449E-13 m3 | |||
| Elementary flow | Emissions / Emissions to air / Emissions to air, unspecified | 3.63698790820631E-17 kg | 3.63698790820631E-17 kg | |||
| Elementary flow | Emissions / Emissions to water / Emissions to fresh water | 2.90789296948996E-8 m3 | 2.90789296948996E-8 m3 | |||
| Elementary flow | Emissions / Emissions to water / Emissions to sea water | 4.52305594882225E-10 kg | 4.52305594882225E-10 kg | |||
| Elementary flow | Emissions / Emissions to water / Emissions to sea water | 7.57281011386428E-5 kBq | 7.57281011386428E-5 kBq | |||
| Elementary flow | Emissions / Emissions to water / Emissions to fresh water | 3.13354512382419E-7 kg | 3.13354512382419E-7 kg | |||
| Elementary flow | Emissions / Emissions to water / Emissions to water, unspecified (long-term) | 2.70450280938961E-7 kg | 2.70450280938961E-7 kg | |||
| Elementary flow | Emissions / Emissions to air / Emissions to air, unspecified (long-term) | 1.57670014935881E-9 kg | 1.57670014935881E-9 kg | |||
| Elementary flow | Emissions / Emissions to soil / Emissions to non-agricultural soil | 1.20787998602224E-10 kg | 1.20787998602224E-10 kg | |||
| Elementary flow | Emissions / Emissions to water / Emissions to fresh water | 2.60220112107312E-11 kg | 2.60220112107312E-11 kg | |||
| Elementary flow | Emissions / Emissions to soil / Emissions to agricultural soil | 1.58793051021556E-16 kg | 1.58793051021556E-16 kg | |||
| Elementary flow | Emissions / Emissions to air / Emissions to air, unspecified | 3.57558949998364E-10 kg | 3.57558949998364E-10 kg | |||
| Elementary flow | Emissions / Emissions to water / Emissions to fresh water | 8.28209615802832E-13 kg | 8.28209615802832E-13 kg | |||
| Elementary flow | Emissions / Emissions to soil / Emissions to agricultural soil | 4.99087359304475E-13 kg | 4.99087359304475E-13 kg | |||
| Elementary flow | Emissions / Emissions to air / Emissions to air, unspecified | 4.93213012063061E-13 kg | 4.93213012063061E-13 kg | |||
| Elementary flow | Emissions / Emissions to water / Emissions to fresh water | 3.83368624110845E-6 m3 | 3.83368624110845E-6 m3 | |||
| Elementary flow | Emissions / Emissions to water / Emissions to fresh water | 2.29234433442894E-6 m3 | 2.29234433442894E-6 m3 | |||
| Elementary flow | Emissions / Emissions to water / Emissions to fresh water | 1.74408777390526E-7 m3 | 1.74408777390526E-7 m3 | |||
| Elementary flow | Emissions / Emissions to water / Emissions to sea water | 4.52362266467742E-10 kg | 4.52362266467742E-10 kg | |||
| Elementary flow | Emissions / Emissions to air / Emissions to urban air close to ground | 2.28305466524399E-11 kg | 2.28305466524399E-11 kg | |||
| Elementary flow | Emissions / Emissions to soil / Emissions to non-agricultural soil | 3.09819197631469E-15 kg | 3.09819197631469E-15 kg | |||
| Elementary flow | Emissions / Emissions to air / Emissions to air, unspecified | 1.97421219445739E-11 kg | 1.97421219445739E-11 kg | |||
| Elementary flow | Emissions / Emissions to soil / Emissions to agricultural soil | 1.35360898582246E-13 kg | 1.35360898582246E-13 kg | |||
| Elementary flow | Emissions / Emissions to soil / Emissions to agricultural soil | 1.12477552785635E-14 kg | 1.12477552785635E-14 kg | |||
| Elementary flow | Emissions / Emissions to air / Emissions to air, unspecified | 1.66137007643168E-14 kg | 1.66137007643168E-14 kg | |||
| Elementary flow | Emissions / Emissions to water / Emissions to fresh water | 2.10839653416977E-16 kg | 2.10839653416977E-16 kg | |||
| Elementary flow | Emissions / Emissions to air / Emissions to air, unspecified (long-term) | 6.38925812012729E-5 kg | 6.38925812012729E-5 kg | |||
| Elementary flow | Emissions / Emissions to air / Emissions to air, unspecified | 1.16012733330239E-7 kg | 1.16012733330239E-7 kg | |||
| Elementary flow | Emissions / Emissions to water / Emissions to fresh water | 4.15893436963332E-16 kg | 4.15893436963332E-16 kg | |||
| Elementary flow | Emissions / Emissions to air / Emissions to air, unspecified | 6.46995486813876E-9 kg | 6.46995486813876E-9 kg | |||
| Elementary flow | Emissions / Emissions to air / Emissions to non-urban air or from high stacks | 1.07414980625255E-16 kg | 1.07414980625255E-16 kg | |||
| Elementary flow | Emissions / Emissions to water / Emissions to fresh water | -4.07299396472432E-9 m3 | -4.07299396472432E-9 m3 | |||
| Elementary flow | Emissions / Emissions to air / Emissions to non-urban air or from high stacks | 4.28429242256045E-13 kg | 4.28429242256045E-13 kg | |||
| Elementary flow | Emissions / Emissions to water / Emissions to fresh water | 8.99091338555225E-8 m3 | 8.99091338555225E-8 m3 | |||
| Elementary flow | Emissions / Emissions to water / Emissions to fresh water | 1.00114029150433E-9 kg | 1.00114029150433E-9 kg | |||
| Elementary flow | Emissions / Emissions to soil / Emissions to agricultural soil | 3.59954305539161E-19 kg | 3.59954305539161E-19 kg | |||
| Elementary flow | Emissions / Emissions to water / Emissions to fresh water | 1.97330172871692E-7 m3 | 1.97330172871692E-7 m3 | |||
| Elementary flow | Emissions / Emissions to water / Emissions to fresh water | 6.5758615137741E-12 kg | 6.5758615137741E-12 kg | |||
| Elementary flow | Emissions / Emissions to air / Emissions to air, unspecified | 1.57416740955701E-12 kg | 1.57416740955701E-12 kg | |||
| Elementary flow | Emissions / Emissions to air / Emissions to lower stratosphere and upper troposphere | 1.57416740955701E-12 kg | 1.57416740955701E-12 kg | |||
| Elementary flow | Emissions / Emissions to air / Emissions to air, unspecified | 3.11379374175655E-8 kg | 3.11379374175655E-8 kg | |||
| Elementary flow | Emissions / Emissions to water / Emissions to water, unspecified (long-term) | 1.07942102442424E-7 kg | 1.07942102442424E-7 kg | |||
| Elementary flow | Emissions / Emissions to water / Emissions to fresh water | 1.21504823017801E-12 kg | 1.21504823017801E-12 kg | |||
| Elementary flow | Emissions / Emissions to soil / Emissions to non-agricultural soil | 2.47085012935538E-10 kg | 2.47085012935538E-10 kg | |||
| Elementary flow | Emissions / Emissions to air / Emissions to non-urban air or from high stacks | 7.2477145702815E-12 kg | 7.2477145702815E-12 kg | |||
| Elementary flow | Emissions / Emissions to air / Emissions to air, unspecified | 4.28650799478634E-6 kg | 4.28650799478634E-6 kg | |||
| Elementary flow | Emissions / Emissions to water / Emissions to fresh water | 6.87275284468517E-8 kg | 6.87275284468517E-8 kg | |||
| Elementary flow | Emissions / Emissions to water / Emissions to fresh water | 8.70684432667127E-11 kBq | 8.70684432667127E-11 kBq | |||
| Elementary flow | Emissions / Emissions to soil / Emissions to agricultural soil | 5.28851610060835E-14 kg | 5.28851610060835E-14 kg | |||
| Elementary flow | Emissions / Emissions to air / Emissions to air, unspecified | 1.48020538840268E-21 kg | 1.48020538840268E-21 kg | |||
| Elementary flow | Emissions / Emissions to water / Emissions to fresh water | 1.23885474560078E-5 kg | 1.23885474560078E-5 kg | |||
| Elementary flow | Emissions / Emissions to water / Emissions to fresh water | 3.30525447054491E-7 kg | 3.30525447054491E-7 kg | |||
| Elementary flow | Emissions / Emissions to water / Emissions to water, unspecified | 1.25239520185309E-13 kg | 1.25239520185309E-13 kg | |||
| Elementary flow | Emissions / Emissions to air / Emissions to air, unspecified | 1.42225983306191E-10 kg | 1.42225983306191E-10 kg | |||
| Elementary flow | Emissions / Emissions to water / Emissions to fresh water | 4.80013455835143E-7 m3 | 4.80013455835143E-7 m3 | |||
| Elementary flow | Emissions / Emissions to air / Emissions to air, unspecified (long-term) | 1.61642244148067E-7 kg | 1.61642244148067E-7 kg | |||
| Elementary flow | Emissions / Emissions to water / Emissions to fresh water | 4.25784107743442E-6 kBq | 4.25784107743442E-6 kBq | |||
| Elementary flow | Emissions / Emissions to air / Emissions to air, unspecified | 3.37435127204577E-9 kBq | 3.37435127204577E-9 kBq | |||
| Elementary flow | Emissions / Emissions to air / Emissions to non-urban air or from high stacks | 2.1042971130885E-8 kg | 2.1042971130885E-8 kg | |||
| Elementary flow | Emissions / Emissions to water / Emissions to sea water | 1.92978033992464E-7 kg | 1.92978033992464E-7 kg | |||
| Elementary flow | Emissions / Emissions to soil / Emissions to agricultural soil | 7.25871011754336E-14 kg | 7.25871011754336E-14 kg | |||
| Elementary flow | Emissions / Emissions to soil / Emissions to agricultural soil | 3.64436428478515E-13 kg | 3.64436428478515E-13 kg | |||
| Elementary flow | Emissions / Emissions to air / Emissions to air, unspecified | 2.66286209622268E-10 kg | 2.66286209622268E-10 kg | |||
| Elementary flow | Emissions / Emissions to air / Emissions to air, unspecified | 4.50329458656151E-8 kg | 4.50329458656151E-8 kg | |||
| Elementary flow | Emissions / Emissions to air / Emissions to non-urban air or from high stacks | 1.17148314935312E-5 kg | 1.17148314935312E-5 kg | |||
| Elementary flow | Emissions / Emissions to air / Emissions to air, unspecified (long-term) | 4.97800564764156E-9 kg | 4.97800564764156E-9 kg | |||
| Elementary flow | Emissions / Emissions to air / Emissions to air, unspecified | 1.54342817033521E-9 kBq | 1.54342817033521E-9 kBq | |||
| Elementary flow | Emissions / Emissions to air / Emissions to air, unspecified | 6.77851564104584E-6 kg | 6.77851564104584E-6 kg | |||
| Elementary flow | Emissions / Emissions to air / Emissions to air, unspecified | 2.49544000468601E-12 kg | 2.49544000468601E-12 kg | |||
| Elementary flow | Emissions / Emissions to air / Emissions to non-urban air or from high stacks | 2.49544000468601E-12 kg | 2.49544000468601E-12 kg | |||
| Elementary flow | Emissions / Emissions to soil / Emissions to agricultural soil | 7.55497526591849E-7 kg | 7.55497526591849E-7 kg | |||
| Elementary flow | Emissions / Emissions to water / Emissions to fresh water | 3.90355761092686E-10 m3 | 3.90355761092686E-10 m3 | |||
| Elementary flow | Emissions / Emissions to air / Emissions to air, unspecified | 1.33281820106482E-7 kg | 1.33281820106482E-7 kg | |||
| Elementary flow | Emissions / Emissions to water / Emissions to sea water | 1.9692105512845E-29 kg | 1.9692105512845E-29 kg | |||
| Elementary flow | Emissions / Emissions to air / Emissions to air, unspecified | 1.88298255603275E-5 kg | 1.88298255603275E-5 kg | |||
| Elementary flow | Emissions / Emissions to water / Emissions to water, unspecified (long-term) | 4.59202635580518E-7 kg | 4.59202635580518E-7 kg | |||
| Elementary flow | Emissions / Emissions to air / Emissions to non-urban air or from high stacks | 5.96006415462163E-13 kg | 5.96006415462163E-13 kg | |||
| Elementary flow | Emissions / Emissions to water / Emissions to fresh water | 1.5632014000582E-4 m3 | 1.5632014000582E-4 m3 | |||
| Elementary flow | Emissions / Emissions to air / Emissions to non-urban air or from high stacks | 8.2490888447189E-8 kg | 8.2490888447189E-8 kg | |||
| Elementary flow | Emissions / Emissions to soil / Emissions to non-agricultural soil | 7.75838115910541E-13 kg | 7.75838115910541E-13 kg | |||
| Elementary flow | Emissions / Emissions to water / Emissions to water, unspecified | 1.37912400288152E-19 kg | 1.37912400288152E-19 kg | |||
| Elementary flow | Emissions / Emissions to air / Emissions to air, unspecified (long-term) | 6.22924440820587E-8 kg | 6.22924440820587E-8 kg | |||
| Elementary flow | Emissions / Emissions to air / Emissions to non-urban air or from high stacks | 1.15949585866938E-12 kg | 1.15949585866938E-12 kg | |||
| Elementary flow | Emissions / Emissions to soil / Emissions to agricultural soil | 9.90470796888067E-18 kg | 9.90470796888067E-18 kg | |||
| Elementary flow | Emissions / Emissions to water / Emissions to water, unspecified | 1.60204513272535E-16 kg | 1.60204513272535E-16 kg | |||
| Elementary flow | Emissions / Emissions to air / Emissions to air, unspecified | -1.63305003060426E-22 kg | -1.63305003060426E-22 kg | |||
| Elementary flow | Emissions / Emissions to water / Emissions to water, unspecified | 1.9288611003568E-14 kg | 1.9288611003568E-14 kg | |||
| Elementary flow | Emissions / Emissions to soil / Emissions to non-agricultural soil | 1.69103197991472E-9 kg | 1.69103197991472E-9 kg | |||
| Elementary flow | Emissions / Emissions to soil / Emissions to agricultural soil | 3.23590695820976E-14 kg | 3.23590695820976E-14 kg | |||
| Elementary flow | Emissions / Emissions to water / Emissions to fresh water | 3.06271278037612E-8 m3 | 3.06271278037612E-8 m3 | |||
| Elementary flow | Emissions / Emissions to air / Emissions to air, unspecified | 5.458834229337587E-7 kg | 5.458834229337587E-7 kg | |||
| Elementary flow | Emissions / Emissions to air / Emissions to air, unspecified | 4.61767335512257E-27 kg | 4.61767335512257E-27 kg | |||
| Elementary flow | Emissions / Emissions to water / Emissions to fresh water | 9.87044919429519E-16 kg | 9.87044919429519E-16 kg | |||
| Elementary flow | Emissions / Emissions to water / Emissions to fresh water | 6.49241282459368E-5 kg | 6.49241282459368E-5 kg | |||
| Elementary flow | Emissions / Emissions to water / Emissions to fresh water | 6.1759555001323E-8 m3 | 6.1759555001323E-8 m3 | |||
| Elementary flow | Emissions / Emissions to water / Emissions to fresh water | 6.80323325643417E-6 kg | 6.80323325643417E-6 kg | |||
| Elementary flow | Emissions / Emissions to air / Emissions to air, unspecified | 2.30095615374009E-13 kg | 2.30095615374009E-13 kg | |||
| Elementary flow | Emissions / Emissions to water / Emissions to water, unspecified | 7.24989170740969E-17 kg | 7.24989170740969E-17 kg | |||
| Elementary flow | Emissions / Emissions to air / Emissions to air, unspecified | 1.19723137412862E-20 kg | 1.19723137412862E-20 kg | |||
| Elementary flow | Emissions / Emissions to water / Emissions to fresh water | 5.66104473083974E-9 kg | 5.66104473083974E-9 kg | |||
| Elementary flow | Emissions / Emissions to water / Emissions to fresh water | -5.40154907873933E-21 kg | -5.40154907873933E-21 kg | |||
| Elementary flow | Emissions / Emissions to soil / Emissions to non-agricultural soil | 2.0035602840818E-15 kg | 2.0035602840818E-15 kg | |||
| Elementary flow | Emissions / Emissions to air / Emissions to air, unspecified | 4.42572874485043E-7 kg | 4.42572874485043E-7 kg | |||
| Elementary flow | Emissions / Emissions to water / Emissions to water, unspecified (long-term) | 1.45900406910634E-5 kg | 1.45900406910634E-5 kg | |||
| Elementary flow | Emissions / Emissions to air / Emissions to air, unspecified | 0.0013921128060722808 kg | 0.0013921128060722808 kg | |||
| Elementary flow | Emissions / Emissions to soil / Emissions to non-agricultural soil | 3.18212578759799E-9 kg | 3.18212578759799E-9 kg | |||
| Elementary flow | Emissions / Emissions to water / Emissions to fresh water | 5.40565841514557E-13 m3 | 5.40565841514557E-13 m3 | |||
| Elementary flow | Emissions / Emissions to soil / Emissions to agricultural soil | 2.51579904660198E-17 kg | 2.51579904660198E-17 kg | |||
| Elementary flow | Emissions / Emissions to air / Emissions to air, unspecified | 1.38747163032235E-8 kBq | 1.38747163032235E-8 kBq | |||
| Elementary flow | Emissions / Emissions to air / Emissions to urban air close to ground | 9.53013932280555E-12 kg | 9.53013932280555E-12 kg | |||
| Elementary flow | Emissions / Emissions to air / Emissions to air, unspecified | 1.65146359679562E-14 kg | 1.65146359679562E-14 kg | |||
| Elementary flow | Emissions / Emissions to water / Emissions to fresh water | 2.22494803861027E-10 kg | 2.22494803861027E-10 kg | |||
| Elementary flow | Emissions / Emissions to air / Emissions to air, unspecified | 5.02238038873568E-9 kBq | 5.02238038873568E-9 kBq | |||
| Elementary flow | Emissions / Emissions to water / Emissions to water, unspecified | 1.04473262946491E-16 kg | 1.04473262946491E-16 kg | |||
| Elementary flow | Emissions / Emissions to water / Emissions to sea water | 3.31416629438826E-16 kg | 3.31416629438826E-16 kg | |||
| Elementary flow | Emissions / Emissions to soil / Emissions to agricultural soil | 1.37108969149548E-12 kg | 1.37108969149548E-12 kg | |||
| Elementary flow | Emissions / Emissions to soil / Emissions to non-agricultural soil | 3.39367396630105E-17 kg | 3.39367396630105E-17 kg | |||
| Elementary flow | Emissions / Emissions to water / Emissions to fresh water | 5.49944584820737E-5 m3 | 5.49944584820737E-5 m3 | |||
| Elementary flow | Emissions / Emissions to water / Emissions to fresh water | 1.08579408384624E-6 m3 | 1.08579408384624E-6 m3 | |||
| Elementary flow | Emissions / Emissions to soil / Emissions to agricultural soil | 7.96213103568368E-18 kg | 7.96213103568368E-18 kg | |||
| Elementary flow | Emissions / Emissions to air / Emissions to air, unspecified | 3.15140376694222E-13 kg | 3.15140376694222E-13 kg | |||
| Elementary flow | Emissions / Emissions to air / Emissions to urban air close to ground | 3.15140376694222E-13 kg | 3.15140376694222E-13 kg | |||
| Elementary flow | Emissions / Emissions to water / Emissions to water, unspecified (long-term) | 3.78582113097047E-6 kg | 3.78582113097047E-6 kg | |||
| Elementary flow | Emissions / Emissions to water / Emissions to fresh water | 8.91760006837951E-5 kg | 8.91760006837951E-5 kg | |||
| Elementary flow | Emissions / Emissions to air / Emissions to urban air close to ground | 6.97747664658596E-12 kg | 6.97747664658596E-12 kg | |||
| Elementary flow | Emissions / Emissions to soil / Emissions to agricultural soil | 2.75993308643886E-13 kg | 2.75993308643886E-13 kg | |||
| Elementary flow | Emissions / Emissions to water / Emissions to fresh water | 3.03389308666124E-8 kBq | 3.03389308666124E-8 kBq | |||
| Elementary flow | Emissions / Emissions to water / Emissions to fresh water | -7.68704657668453E-20 kg | -7.68704657668453E-20 kg | |||
| Elementary flow | Emissions / Emissions to air / Emissions to air, unspecified | 1.86334114013896E-23 kBq | 1.86334114013896E-23 kBq | |||
| Elementary flow | Emissions / Emissions to water / Emissions to fresh water | 5.23077366759717E-16 kg | 5.23077366759717E-16 kg | |||
| Elementary flow | Emissions / Emissions to water / Emissions to water, unspecified (long-term) | 1.23E-6 kg | 1.23E-6 kg | |||
| Elementary flow | Emissions / Emissions to air / Emissions to air, unspecified | 2.90389334173485E-14 kg | 2.90389334173485E-14 kg | |||
| Elementary flow | Emissions / Emissions to air / Emissions to air, unspecified | 7.5060864034462E-8 kg | 7.5060864034462E-8 kg | |||
| Elementary flow | Emissions / Emissions to water / Emissions to fresh water | 8.00254693397266E-6 kBq | 8.00254693397266E-6 kBq | |||
| Elementary flow | Emissions / Emissions to air / Emissions to air, unspecified | 3.48819347567611E-13 kg | 3.48819347567611E-13 kg | |||
| Elementary flow | Emissions / Emissions to soil / Emissions to agricultural soil | 1.32215648126025E-15 kg | 1.32215648126025E-15 kg | |||
| Elementary flow | Emissions / Emissions to air / Emissions to non-urban air or from high stacks | 3.89102702327069E-13 kg | 3.89102702327069E-13 kg | |||
| Elementary flow | Emissions / Emissions to water / Emissions to fresh water | 1.85343297721737E-8 kBq | 1.85343297721737E-8 kBq | |||
| Elementary flow | Emissions / Emissions to soil / Emissions to agricultural soil | 6.2166810413029E-15 kg | 6.2166810413029E-15 kg | |||
| Elementary flow | Emissions / Emissions to soil / Emissions to non-agricultural soil | 8.7456954412818E-18 kg | 8.7456954412818E-18 kg | |||
| Elementary flow | Emissions / Emissions to soil / Emissions to agricultural soil | 1.016749261397E-10 kg | 1.016749261397E-10 kg | |||
| Elementary flow | Emissions / Emissions to soil / Emissions to agricultural soil | 4.55910581491411E-16 kg | 4.55910581491411E-16 kg | |||
| Elementary flow | Emissions / Emissions to air / Emissions to non-urban air or from high stacks | 9.59312023539562E-14 kg | 9.59312023539562E-14 kg | |||
| Elementary flow | Emissions / Emissions to soil / Emissions to non-agricultural soil | 9.21429269925602E-10 kg | 9.21429269925602E-10 kg | |||
| Elementary flow | Emissions / Emissions to air / Emissions to air, unspecified | 1.83484251408233E-10 kg | 1.83484251408233E-10 kg | |||
| Elementary flow | Emissions / Emissions to air / Emissions to air, unspecified | 4.17713519061055E-13 kg | 4.17713519061055E-13 kg | |||
| Elementary flow | Emissions / Emissions to water / Emissions to fresh water | 3.38589694375219E-9 kg | 3.38589694375219E-9 kg | |||
| Elementary flow | Emissions / Emissions to water / Emissions to fresh water | 2.78275304217683E-6 m3 | 2.78275304217683E-6 m3 | |||
| Elementary flow | Emissions / Emissions to water / Emissions to fresh water | 1.94448162372431E-13 kg | 1.94448162372431E-13 kg | |||
| Elementary flow | Emissions / Emissions to air / Emissions to urban air close to ground | 2.26104289403853E-10 kg | 2.26104289403853E-10 kg | |||
| Elementary flow | Emissions / Emissions to soil / Emissions to agricultural soil | 1.57092184521095E-13 kg | 1.57092184521095E-13 kg | |||
| Elementary flow | Emissions / Emissions to water / Emissions to fresh water | 8.93899173496297E-8 m3 | 8.93899173496297E-8 m3 | |||
| Elementary flow | Emissions / Emissions to soil / Emissions to agricultural soil | 8.65291313018022E-11 kg | 8.65291313018022E-11 kg | |||
| Elementary flow | Emissions / Emissions to water / Emissions to water, unspecified | 1.52251538694894E-16 kg | 1.52251538694894E-16 kg | |||
| Elementary flow | Emissions / Emissions to air / Emissions to air, unspecified | 0.00268415113502608 m3 | 0.00268415113502608 m3 | |||
| Elementary flow | Emissions / Emissions to air / Emissions to air, unspecified | 1.97215876504257E-11 kg | 1.97215876504257E-11 kg | |||
| Elementary flow | Emissions / Emissions to air / Emissions to air, unspecified | 3.19402386699387E-11 kg | 3.19402386699387E-11 kg | |||
| Elementary flow | Emissions / Emissions to soil / Emissions to agricultural soil | 2.95488565862834E-12 kg | 2.95488565862834E-12 kg | |||
| Elementary flow | Emissions / Emissions to water / Emissions to sea water | 0.489200502784186 kBq | 0.489200502784186 kBq | |||
| Elementary flow | Emissions / Emissions to water / Emissions to fresh water | 1.34922202211122 kBq | 1.34922202211122 kBq | |||
| Elementary flow | Emissions / Emissions to water / Emissions to fresh water | 1.03155217457811E-7 m3 | 1.03155217457811E-7 m3 | |||
| Elementary flow | Emissions / Emissions to water / Emissions to fresh water | 1.5798048119651E-10 kg | 1.5798048119651E-10 kg | |||
| Elementary flow | Emissions / Emissions to water / Emissions to water, unspecified (long-term) | 2.44546222140484E-8 kg | 2.44546222140484E-8 kg | |||
| Elementary flow | Emissions / Emissions to soil / Emissions to agricultural soil | 3.00759818612186E-11 kg | 3.00759818612186E-11 kg | |||
| Elementary flow | Emissions / Emissions to soil / Emissions to agricultural soil | 1.73659567513822E-11 kg | 1.73659567513822E-11 kg | |||
| Elementary flow | Emissions / Emissions to water / Emissions to fresh water | 3.99747237380985E-7 kg | 3.99747237380985E-7 kg | |||
| Elementary flow | Emissions / Emissions to soil / Emissions to agricultural soil | 1.04929452891742E-11 kg | 1.04929452891742E-11 kg | |||
| Elementary flow | Emissions / Emissions to water / Emissions to sea water | 2.09872543317072E-8 kg | 2.09872543317072E-8 kg | |||
| Elementary flow | Emissions / Emissions to soil / Emissions to agricultural soil | 8.76801230464249E-13 kg | 8.76801230464249E-13 kg | |||
| Elementary flow | Emissions / Emissions to water / Emissions to sea water | 4.75277938617194E-18 kg | 4.75277938617194E-18 kg | |||
| Elementary flow | Emissions / Emissions to soil / Emissions to agricultural soil | 1.1930694535625E-11 kg | 1.1930694535625E-11 kg | |||
| Elementary flow | Emissions / Emissions to air / Emissions to non-urban air or from high stacks | 6.14654765366185E-12 kg | 6.14654765366185E-12 kg | |||
| Elementary flow | Emissions / Emissions to water / Emissions to fresh water | 6.3265652179646E-19 kg | 6.3265652179646E-19 kg | |||
| Elementary flow | Emissions / Emissions to water / Emissions to fresh water | 7.92277656024642E-10 kg | 7.92277656024642E-10 kg | |||
| Elementary flow | Emissions / Emissions to water / Emissions to fresh water | 6.9666208590535E-10 m3 | 6.9666208590535E-10 m3 | |||
| Elementary flow | Emissions / Emissions to soil / Emissions to agricultural soil | 1.64603373037059E-11 kg | 1.64603373037059E-11 kg | |||
| Elementary flow | Emissions / Emissions to soil / Emissions to non-agricultural soil | 4.01517877157381E-15 kg | 4.01517877157381E-15 kg | |||
| Elementary flow | Emissions / Emissions to air / Emissions to non-urban air or from high stacks | 1.09999915516407E-17 kg | 1.09999915516407E-17 kg | |||
| Elementary flow | Emissions / Emissions to air / Emissions to air, unspecified | 8.42395946258322E-13 kg | 8.42395946258322E-13 kg | |||
| Elementary flow | Emissions / Emissions to air / Emissions to lower stratosphere and upper troposphere | 3.71300813543393E-16 kg | 3.71300813543393E-16 kg | |||
| Elementary flow | Emissions / Emissions to soil / Emissions to non-agricultural soil | 2.09315816611058E-14 kg | 2.09315816611058E-14 kg | |||
| Elementary flow | Emissions / Emissions to water / Emissions to fresh water | 2.04182252494523E-15 kg | 2.04182252494523E-15 kg | |||
| Elementary flow | Emissions / Emissions to air / Emissions to air, unspecified | 1.80700637380692E-7 kg | 1.80700637380692E-7 kg | |||
| Elementary flow | Emissions / Emissions to soil / Emissions to agricultural soil | 3.871386195782E-13 kg | 3.871386195782E-13 kg | |||
| Elementary flow | Emissions / Emissions to water / Emissions to water, unspecified (long-term) | 5.99347456342881E-7 kg | 5.99347456342881E-7 kg | |||
| Elementary flow | Emissions / Emissions to water / Emissions to fresh water | 3.2414179402115E-10 m3 | 3.2414179402115E-10 m3 | |||
| Elementary flow | Emissions / Emissions to soil / Emissions to agricultural soil | 1.00491179629426E-15 kg | 1.00491179629426E-15 kg | |||
| Elementary flow | Emissions / Emissions to water / Emissions to sea water | 4.65138293482807E-6 kg | 4.65138293482807E-6 kg | |||
| Elementary flow | Emissions / Emissions to air / Emissions to air, unspecified | 1.04737814808935E-12 kg | 1.04737814808935E-12 kg | |||
| Elementary flow | Emissions / Emissions to water / Emissions to fresh water | -3.07939395245368E-19 kg | -3.07939395245368E-19 kg | |||
| Elementary flow | Emissions / Emissions to water / Emissions to fresh water | 1.30228511007743E-8 kg | 1.30228511007743E-8 kg | |||
| Elementary flow | Emissions / Emissions to soil / Emissions to agricultural soil | 6.0824626719518E-13 kg | 6.0824626719518E-13 kg | |||
| Elementary flow | Emissions / Emissions to water / Emissions to water, unspecified | 4.7807876764807E-13 kg | 4.7807876764807E-13 kg | |||
| Elementary flow | Emissions / Emissions to soil / Emissions to non-agricultural soil | 5.58901245362677E-14 kg | 5.58901245362677E-14 kg | |||
| Elementary flow | Emissions / Emissions to water / Emissions to fresh water | 3.85410602779659E-8 m3 | 3.85410602779659E-8 m3 | |||
| Elementary flow | Emissions / Emissions to soil / Emissions to agricultural soil | 3.56007525926687E-11 kg | 3.56007525926687E-11 kg | |||
| Elementary flow | Emissions / Emissions to air / Emissions to air, unspecified | 7.10405600591205E-11 kg | 7.10405600591205E-11 kg | |||
| Elementary flow | Emissions / Emissions to water / Emissions to fresh water | 3.69640142111659E-7 m3 | 3.69640142111659E-7 m3 | |||
| Elementary flow | Emissions / Emissions to air / Emissions to air, unspecified | 8.44242129024072E-5 kBq | 8.44242129024072E-5 kBq | |||
| Elementary flow | Emissions / Emissions to air / Emissions to air, unspecified | 1.4574895770971E-8 kg | 1.4574895770971E-8 kg | |||
| Elementary flow | Emissions / Emissions to soil / Emissions to non-agricultural soil | 3.57133512949359E-14 kg | 3.57133512949359E-14 kg | |||
| Elementary flow | Emissions / Emissions to soil / Emissions to agricultural soil | 6.92650286341065E-8 kg | 6.92650286341065E-8 kg | |||
| Elementary flow | Emissions / Emissions to air / Emissions to air, unspecified | 3.23591652585841E-12 kg | 3.23591652585841E-12 kg | |||
| Elementary flow | Emissions / Emissions to soil / Emissions to agricultural soil | 1.24317746197834E-9 kg | 1.24317746197834E-9 kg | |||
| Elementary flow | Emissions / Emissions to water / Emissions to fresh water | 0.00455347446267019 kg | 0.00455347446267019 kg | |||
| Elementary flow | Emissions / Emissions to water / Emissions to sea water | 9.85679469809835E-21 kg | 9.85679469809835E-21 kg | |||
| Elementary flow | Emissions / Emissions to water / Emissions to water, unspecified (long-term) | 1.09039303868906E-5 kg | 1.09039303868906E-5 kg | |||
| Elementary flow | Emissions / Emissions to air / Emissions to urban air close to ground | 5.3590774535536E-11 kg | 5.3590774535536E-11 kg | |||
| Elementary flow | Emissions / Emissions to water / Emissions to fresh water | 0.0061813276011646 kBq | 0.0061813276011646 kBq | |||
| Elementary flow | Emissions / Emissions to water / Emissions to fresh water | 4.80606431603301E-13 kg | 4.80606431603301E-13 kg | |||
| Elementary flow | Emissions / Emissions to water / Emissions to water, unspecified (long-term) | 4.29410707950254E-8 kg | 4.29410707950254E-8 kg | |||
| Elementary flow | Emissions / Emissions to soil / Emissions to non-agricultural soil | 5.55415753201174E-18 kg | 5.55415753201174E-18 kg | |||
| Elementary flow | Emissions / Emissions to water / Emissions to fresh water | 7.99104844153626E-12 kg | 7.99104844153626E-12 kg | |||
| Elementary flow | Emissions / Emissions to soil / Emissions to agricultural soil | 2.44037539104143E-12 kg | 2.44037539104143E-12 kg | |||
| Elementary flow | Emissions / Emissions to water / Emissions to sea water | 1.87295384291889E-7 kg | 1.87295384291889E-7 kg | |||
| Elementary flow | Emissions / Emissions to air / Emissions to non-urban air or from high stacks | 9.05834967496001E-5 kg | 9.05834967496001E-5 kg | |||
| Elementary flow | Emissions / Emissions to air / Emissions to urban air close to ground | 4.89143799062062E-11 kg | 4.89143799062062E-11 kg | |||
| Elementary flow | Emissions / Emissions to water / Emissions to water, unspecified | 1.02624796944184E-15 kg | 1.02624796944184E-15 kg | |||
| Elementary flow | Emissions / Emissions to water / Emissions to fresh water | 4.2055704325087E-7 kg | 4.2055704325087E-7 kg | |||
| Elementary flow | Emissions / Emissions to water / Emissions to sea water | 2.33599855795398E-4 kBq | 2.33599855795398E-4 kBq | |||
| Elementary flow | Emissions / Emissions to water / Emissions to fresh water | 1.19383464599879E-5 m3 | 1.19383464599879E-5 m3 | |||
| Elementary flow | Emissions / Emissions to soil / Emissions to agricultural soil | 4.17108778048449E-10 kg | 4.17108778048449E-10 kg | |||
| Elementary flow | Emissions / Emissions to soil / Emissions to non-agricultural soil | 1.26997694956028E-19 kg | 1.26997694956028E-19 kg | |||
| Elementary flow | Emissions / Emissions to soil / Emissions to agricultural soil | 8.51327469407345E-15 kg | 8.51327469407345E-15 kg | |||
| Elementary flow | Emissions / Emissions to air / Emissions to air, unspecified | 7.9143832476174E-7 kg | 7.9143832476174E-7 kg | |||
| Elementary flow | Emissions / Emissions to air / Emissions to air, unspecified | 6.76137905139383E-17 kg | 6.76137905139383E-17 kg | |||
| Elementary flow | Emissions / Emissions to soil / Emissions to agricultural soil | 2.50993283092345E-14 kg | 2.50993283092345E-14 kg | |||
| Elementary flow | Emissions / Emissions to water / Emissions to sea water | 1.84911816845797E-4 kg | 1.84911816845797E-4 kg | |||
| Elementary flow | Emissions / Emissions to soil / Emissions to agricultural soil | 9.07725809136673E-14 kg | 9.07725809136673E-14 kg | |||
| Elementary flow | Emissions / Emissions to soil / Emissions to agricultural soil | 6.55772275872024E-12 kg | 6.55772275872024E-12 kg | |||
| Elementary flow | Emissions / Emissions to water / Emissions to water, unspecified | 1.27990772194418E-16 kg | 1.27990772194418E-16 kg | |||
| Elementary flow | Emissions / Emissions to air / Emissions to air, unspecified | 4.8939915157531E-7 kg | 4.8939915157531E-7 kg | |||
| Elementary flow | Emissions / Emissions to soil / Emissions to agricultural soil | 2.29213224454205E-14 kg | 2.29213224454205E-14 kg | |||
| Elementary flow | Emissions / Emissions to air / Emissions to air, unspecified | 1.93069372887607E-9 kg | 1.93069372887607E-9 kg | |||
| Elementary flow | Emissions / Emissions to water / Emissions to fresh water | 1.75483446842314E-7 kg | 1.75483446842314E-7 kg | |||
| Elementary flow | Emissions / Emissions to air / Emissions to air, unspecified | 7.29912916581023E-13 kg | 7.29912916581023E-13 kg | |||
| Elementary flow | Emissions / Emissions to air / Emissions to non-urban air or from high stacks | 5.15192665903531E-13 kg | 5.15192665903531E-13 kg | |||
| Elementary flow | Emissions / Emissions to water / Emissions to fresh water | 3.463345066349148E-4 kBq | 3.463345066349148E-4 kBq | |||
| Elementary flow | Emissions / Emissions to air / Emissions to urban air close to ground | 3.0790631033224E-6 kg | 3.0790631033224E-6 kg | |||
| Elementary flow | Emissions / Emissions to water / Emissions to fresh water | 1.90491859188609E-8 m3 | 1.90491859188609E-8 m3 | |||
| Elementary flow | Emissions / Emissions to air / Emissions to air, unspecified (long-term) | 2.13504830755853E-8 kg | 2.13504830755853E-8 kg | |||
| Elementary flow | Emissions / Emissions to air / Emissions to air, unspecified | 3.94045648822833E-13 kBq | 3.94045648822833E-13 kBq | |||
| Elementary flow | Emissions / Emissions to water / Emissions to sea water | 1.52550181534857E-9 kg | 1.52550181534857E-9 kg | |||
| Elementary flow | Emissions / Emissions to water / Emissions to fresh water | 4.29469292572663E-15 kg | 4.29469292572663E-15 kg | |||
| Elementary flow | Emissions / Emissions to water / Emissions to fresh water | 7.60972344490312E-11 kg | 7.60972344490312E-11 kg | |||
| Elementary flow | Emissions / Emissions to air / Emissions to air, unspecified | 4.40523936759153E-13 kg | 4.40523936759153E-13 kg | |||
| Elementary flow | Emissions / Emissions to air / Emissions to urban air close to ground | 2.36379610604597E-9 kg | 2.36379610604597E-9 kg | |||
| Elementary flow | Emissions / Emissions to air / Emissions to air, unspecified | 2.66183790705259E-8 kg | 2.66183790705259E-8 kg | |||
| Elementary flow | Emissions / Emissions to water / Emissions to fresh water | 3.51532152252148E-15 kg | 3.51532152252148E-15 kg | |||
| Elementary flow | Emissions / Emissions to water / Emissions to fresh water | 7.70237147819026E-7 kg | 7.70237147819026E-7 kg | |||
| Elementary flow | Emissions / Emissions to air / Emissions to urban air close to ground | 2.97755237420782E-8 kg | 2.97755237420782E-8 kg | |||
| Elementary flow | Emissions / Emissions to water / Emissions to fresh water | 1.00908120957046E-4 m3 | 1.00908120957046E-4 m3 | |||
| Elementary flow | Emissions / Emissions to water / Emissions to fresh water | 8.67204101178166E-9 m3 | 8.67204101178166E-9 m3 | |||
| Elementary flow | Emissions / Emissions to air / Emissions to non-urban air or from high stacks | 2.32645671338494E-14 kg | 2.32645671338494E-14 kg | |||
| Elementary flow | Emissions / Emissions to water / Emissions to water, unspecified | 1.15103729408318E-16 kg | 1.15103729408318E-16 kg | |||
| Elementary flow | Emissions / Emissions to air / Emissions to air, unspecified | 4.02578835842757E-11 kg | 4.02578835842757E-11 kg | |||
| Elementary flow | Emissions / Emissions to soil / Emissions to agricultural soil | 6.32032741553372E-11 kg | 6.32032741553372E-11 kg | |||
| Elementary flow | Emissions / Emissions to air / Emissions to air, unspecified | 2.17570222413379E-12 kg | 2.17570222413379E-12 kg | |||
| Elementary flow | Emissions / Emissions to air / Emissions to non-urban air or from high stacks | 1.07091995520727E-8 kg | 1.07091995520727E-8 kg | |||
| Elementary flow | Emissions / Emissions to water / Emissions to fresh water | 7.80820163746375E-8 m3 | 7.80820163746375E-8 m3 | |||
| Elementary flow | Emissions / Emissions to water / Emissions to fresh water | 1.95443552794547E-12 kg | 1.95443552794547E-12 kg | |||
| Elementary flow | Emissions / Emissions to water / Emissions to fresh water | 2.72625357122725E-6 kBq | 2.72625357122725E-6 kBq | |||
| Elementary flow | Emissions / Emissions to air / Emissions to air, unspecified | 1.96342110819034E-13 kg | 1.96342110819034E-13 kg | |||
| Elementary flow | Emissions / Emissions to water / Emissions to fresh water | 3.12261825292085E-9 kg | 3.12261825292085E-9 kg | |||
| Elementary flow | Emissions / Emissions to water / Emissions to water, unspecified | 5.85486222383664E-17 kg | 5.85486222383664E-17 kg | |||
| Elementary flow | Emissions / Emissions to air / Emissions to air, unspecified (long-term) | 8.27928391574894E-10 kg | 8.27928391574894E-10 kg | |||
| Elementary flow | Emissions / Emissions to soil / Emissions to non-agricultural soil | 1.97693043149247E-7 kg | 1.97693043149247E-7 kg | |||
| Elementary flow | Emissions / Emissions to air / Emissions to air, unspecified | 1.26708881706363E-9 kg | 1.26708881706363E-9 kg | |||
| Elementary flow | Emissions / Emissions to soil / Emissions to non-agricultural soil | 1.04459473340657E-13 kg | 1.04459473340657E-13 kg | |||
| Elementary flow | Emissions / Emissions to water / Emissions to water, unspecified (long-term) | 2.3626184760494E-6 kg | 2.3626184760494E-6 kg | |||
| Elementary flow | Emissions / Emissions to water / Emissions to fresh water | 1.76580180416427E-6 kg | 1.76580180416427E-6 kg | |||
| Elementary flow | Emissions / Emissions to air / Emissions to air, unspecified | 1.8264693127887E-21 kg | 1.8264693127887E-21 kg | |||
| Elementary flow | Emissions / Emissions to industrial soil / Other emissions to industrial soil | 2.22494803861027E-10 kg | 2.22494803861027E-10 kg | |||
| Elementary flow | Emissions / Emissions to soil / Emissions to non-agricultural soil | 6.69395198057591E-14 kg | 6.69395198057591E-14 kg | |||
| Elementary flow | Emissions / Emissions to water / Emissions to fresh water | 2.85687427414142E-7 kg | 2.85687427414142E-7 kg | |||
| Elementary flow | Emissions / Emissions to water / Emissions to sea water | 0.00272075900993283 kg | 0.00272075900993283 kg | |||
| Elementary flow | Emissions / Emissions to air / Emissions to non-urban air or from high stacks | 1.02624567950333E-7 kg | 1.02624567950333E-7 kg | |||
| Elementary flow | Emissions / Emissions to water / Emissions to fresh water | 8.15935341944561E-6 kg | 8.15935341944561E-6 kg | |||
| Elementary flow | Emissions / Emissions to air / Emissions to air, unspecified | 1.30535592167779E-8 kg | 1.30535592167779E-8 kg | |||
| Elementary flow | Emissions / Emissions to air / Emissions to air, unspecified (long-term) | 1.61990654069896E-9 kg | 1.61990654069896E-9 kg | |||
| Elementary flow | Emissions / Emissions to air / Emissions to air, unspecified | 7.10765183726716E-6 kBq | 7.10765183726716E-6 kBq | |||
| Elementary flow | Emissions / Emissions to water / Emissions to fresh water | 3.27909875708228E-10 kg | 3.27909875708228E-10 kg | |||
| Elementary flow | Emissions / Emissions to air / Emissions to air, unspecified | 2.91201440563031E-13 kg | 2.91201440563031E-13 kg | |||
| Elementary flow | Emissions / Emissions to air / Emissions to urban air close to ground | 1.03178707291691E-17 kg | 1.03178707291691E-17 kg | |||
| Elementary flow | Emissions / Emissions to water / Emissions to water, unspecified | 1.28220405704121E-18 kg | 1.28220405704121E-18 kg | |||
| Elementary flow | Emissions / Emissions to soil / Emissions to agricultural soil | 1.48200134859446E-14 kg | 1.48200134859446E-14 kg | |||
| Elementary flow | Emissions / Emissions to air / Emissions to air, unspecified | 7.16025949261225E-5 kBq | 7.16025949261225E-5 kBq | |||
| Elementary flow | Emissions / Emissions to air / Emissions to air, unspecified | 6.25433668040453E-13 kg | 6.25433668040453E-13 kg | |||
| Elementary flow | Emissions / Emissions to soil / Emissions to agricultural soil | 2.20113783152727E-13 kg | 2.20113783152727E-13 kg | |||
| Elementary flow | Emissions / Emissions to water / Emissions to sea water | 21.8814958506554 kg | 21.8814958506554 kg | |||
| Elementary flow | Emissions / Emissions to soil / Emissions to non-agricultural soil | 3.67369499836137E-14 kg | 3.67369499836137E-14 kg | |||
| Elementary flow | Emissions / Emissions to air / Emissions to air, unspecified | 1.7851292519821E-13 kg | 1.7851292519821E-13 kg | |||
| Elementary flow | Emissions / Emissions to soil / Emissions to agricultural soil | 2.11827790814038E-15 kg | 2.11827790814038E-15 kg | |||
| Elementary flow | Emissions / Emissions to soil / Emissions to agricultural soil | 2.40625599378673E-9 kg | 2.40625599378673E-9 kg | |||
| Elementary flow | Emissions / Emissions to soil / Emissions to agricultural soil | 7.33932541281599E-13 kg | 7.33932541281599E-13 kg | |||
| Elementary flow | Emissions / Emissions to soil / Emissions to agricultural soil | 6.53121514713684E-12 kg | 6.53121514713684E-12 kg | |||
| Elementary flow | Emissions / Emissions to water / Emissions to fresh water | 4.02890386952898E-8 kg | 4.02890386952898E-8 kg | |||
| Elementary flow | Emissions / Emissions to water / Emissions to fresh water | 6.99179877224691E-14 kg | 6.99179877224691E-14 kg | |||
| Elementary flow | Emissions / Emissions to air / Emissions to urban air close to ground | 4.66614574989527E-5 kg | 4.66614574989527E-5 kg | |||
| Elementary flow | Emissions / Emissions to air / Emissions to air, unspecified | 2.40961733725757E-6 kg | 2.40961733725757E-6 kg | |||
| Elementary flow | Emissions / Emissions to air / Emissions to air, unspecified | 6.74749348549887E-12 kg | 6.74749348549887E-12 kg | |||
| Elementary flow | Emissions / Emissions to water / Emissions to fresh water | 4.952429954215874E-9 m3 | 4.952429954215874E-9 m3 | |||
| Elementary flow | Emissions / Emissions to soil / Emissions to agricultural soil | 1.80246894975335E-13 kg | 1.80246894975335E-13 kg | |||
| Elementary flow | Emissions / Emissions to air / Emissions to air, unspecified | 7.13191751586113E-8 kg | 7.13191751586113E-8 kg | |||
| Elementary flow | Emissions / Emissions to water / Emissions to fresh water | 1.30228511007743E-7 kg | 1.30228511007743E-7 kg | |||
| Elementary flow | Emissions / Emissions to air / Emissions to air, unspecified | 4.46399878625787E-12 kg | 4.46399878625787E-12 kg | |||
| Elementary flow | Emissions / Emissions to soil / Emissions to agricultural soil | 3.21321998361197E-14 kg | 3.21321998361197E-14 kg | |||
| Elementary flow | Emissions / Emissions to water / Emissions to fresh water | 1.75287900066081E-5 kg | 1.75287900066081E-5 kg | |||
| Elementary flow | Emissions / Emissions to water / Emissions to fresh water | 3.00989238218276E-7 kg | 3.00989238218276E-7 kg | |||
| Elementary flow | Emissions / Emissions to water / Emissions to fresh water | 2.64953126124613E-5 kBq | 2.64953126124613E-5 kBq | |||
| Elementary flow | Emissions / Emissions to air / Emissions to air, unspecified | 8.33965662427156E-12 kg | 8.33965662427156E-12 kg | |||
| Elementary flow | Emissions / Emissions to water / Emissions to fresh water | 6.94638226335509E-4 kBq | 6.94638226335509E-4 kBq | |||
| Elementary flow | Emissions / Emissions to air / Emissions to non-urban air or from high stacks | 1.47021028691186E-7 kg | 1.47021028691186E-7 kg | |||
| Elementary flow | Emissions / Emissions to soil / Emissions to agricultural soil | 5.49117096577978E-17 kg | 5.49117096577978E-17 kg | |||
| Elementary flow | Emissions / Emissions to water / Emissions to fresh water | 3.89150102983632E-12 m3 | 3.89150102983632E-12 m3 | |||
| Elementary flow | Emissions / Emissions to air / Emissions to air, unspecified (long-term) | 6.1328451139866E-9 kg | 6.1328451139866E-9 kg | |||
| Elementary flow | Emissions / Emissions to water / Emissions to fresh water | 2.48643028698931E-7 m3 | 2.48643028698931E-7 m3 | |||
| Elementary flow | Emissions / Emissions to air / Emissions to non-urban air or from high stacks | 8.17314794163121E-18 kg | 8.17314794163121E-18 kg | |||
| Elementary flow | Emissions / Emissions to soil / Emissions to non-agricultural soil | 6.94190953305214E-6 kg | 6.94190953305214E-6 kg | |||
| Elementary flow | Emissions / Emissions to water / Emissions to fresh water | 2.79270492420198E-6 m3 | 2.79270492420198E-6 m3 | |||
| Elementary flow | Emissions / Emissions to water / Emissions to fresh water | 3.06289654610246E-9 m3 | 3.06289654610246E-9 m3 | |||
| Elementary flow | Emissions / Emissions to soil / Emissions to agricultural soil | 1.3553794258866E-10 kg | 1.3553794258866E-10 kg | |||
| Elementary flow | Emissions / Emissions to soil / Emissions to non-agricultural soil | 4.24944485990535E-16 kg | 4.24944485990535E-16 kg | |||
| Elementary flow | Emissions / Emissions to water / Emissions to fresh water | 0.00716901732341776 m3 | 0.00716901732341776 m3 | |||
| Elementary flow | Emissions / Emissions to water / Emissions to fresh water | 2.57766992575501E-15 kg | 2.57766992575501E-15 kg | |||
| Elementary flow | Emissions / Emissions to soil / Emissions to non-agricultural soil | 3.09805335013322E-15 kg | 3.09805335013322E-15 kg | |||
| Elementary flow | Emissions / Emissions to air / Emissions to air, unspecified | 1.77051166124876E-6 kg | 1.77051166124876E-6 kg | |||
| Elementary flow | Emissions / Emissions to water / Emissions to fresh water | 8.88004008938177E-13 kg | 8.88004008938177E-13 kg | |||
| Elementary flow | Emissions / Emissions to soil / Emissions to agricultural soil | 1.78173024310644E-8 kg | 1.78173024310644E-8 kg | |||
| Elementary flow | Emissions / Emissions to water / Emissions to fresh water | 1.5087035811423E-18 kg | 1.5087035811423E-18 kg | |||
| Elementary flow | Emissions / Emissions to soil / Emissions to agricultural soil | 9.53925423056291E-17 kg | 9.53925423056291E-17 kg | |||
| Elementary flow | Emissions / Emissions to water / Emissions to fresh water | 7.408547767689E-12 kg | 7.408547767689E-12 kg | |||
| Elementary flow | Emissions / Emissions to air / Emissions to air, unspecified | -1.24719696530914E-20 kg | -1.24719696530914E-20 kg | |||
| Elementary flow | Emissions / Emissions to air / Emissions to air, unspecified | 1.41226404352226E-12 kg | 1.41226404352226E-12 kg | |||
| Elementary flow | Emissions / Emissions to air / Emissions to air, unspecified | 1.13395437148368E-14 kg | 1.13395437148368E-14 kg | |||
| Elementary flow | Emissions / Emissions to soil / Emissions to agricultural soil | 3.45800295194837E-11 kg | 3.45800295194837E-11 kg | |||
| Elementary flow | Emissions / Emissions to air / Emissions to air, unspecified | 3.4607746784614645E-5 kg | 3.4607746784614645E-5 kg | |||
| Elementary flow | Emissions / Emissions to soil / Emissions to agricultural soil | 1.44685955902727E-10 kg | 1.44685955902727E-10 kg | |||
| Elementary flow | Emissions / Emissions to air / Emissions to air, unspecified | 3.04814320424715E-26 kg | 3.04814320424715E-26 kg | |||
| Elementary flow | Emissions / Emissions to air / Emissions to urban air close to ground | 4.66863237597188E-8 kg | 4.66863237597188E-8 kg | |||
| Elementary flow | Emissions / Emissions to water / Emissions to fresh water | 2.83429109396214E-15 kg | 2.83429109396214E-15 kg | |||
| Elementary flow | Emissions / Emissions to air / Emissions to air, unspecified | 7.90160712718808E-9 kg | 7.90160712718808E-9 kg | |||
| Elementary flow | Emissions / Emissions to soil / Emissions to agricultural soil | 6.26778249975486E-14 kg | 6.26778249975486E-14 kg | |||
| Elementary flow | Emissions / Emissions to soil / Emissions to non-agricultural soil | 9.09750303538378E-8 kg | 9.09750303538378E-8 kg | |||
| Elementary flow | Emissions / Emissions to air / Emissions to air, unspecified | 2.11700624479041E-10 kg | 2.11700624479041E-10 kg | |||
| Elementary flow | Emissions / Emissions to water / Emissions to fresh water | 4.65511245451348E-5 kg | 4.65511245451348E-5 kg | |||
| Elementary flow | Emissions / Emissions to water / Emissions to fresh water | 3.57013916110026E-10 kg | 3.57013916110026E-10 kg | |||
| Elementary flow | Emissions / Emissions to water / Emissions to fresh water | 1.15373286490732E-17 kg | 1.15373286490732E-17 kg | |||
| Elementary flow | Emissions / Emissions to air / Emissions to non-urban air or from high stacks | 5.50902790678971E-14 kg | 5.50902790678971E-14 kg | |||
| Elementary flow | Emissions / Emissions to soil / Emissions to agricultural soil | 2.40622917557602E-13 kg | 2.40622917557602E-13 kg | |||
| Elementary flow | Emissions / Emissions to air / Emissions to non-urban air or from high stacks | 7.63953057134462E-20 kg | 7.63953057134462E-20 kg | |||
| Elementary flow | Emissions / Emissions to air / Emissions to air, unspecified | -8.65577024274986E-21 kg | -8.65577024274986E-21 kg | |||
| Elementary flow | Emissions / Emissions to soil / Emissions to agricultural soil | 4.87937912949615E-12 kg | 4.87937912949615E-12 kg | |||
| Elementary flow | Emissions / Emissions to soil / Emissions to agricultural soil | 1.33995194214167E-13 kg | 1.33995194214167E-13 kg | |||
| Elementary flow | Emissions / Emissions to air / Emissions to air, unspecified | 4.4731463656151E-15 kg | 4.4731463656151E-15 kg | |||
| Elementary flow | Emissions / Emissions to air / Emissions to air, unspecified | -1.57150327773667E-21 kg | -1.57150327773667E-21 kg | |||
| Elementary flow | Emissions / Emissions to water / Emissions to fresh water | 1.52969284582364E-12 kg | 1.52969284582364E-12 kg | |||
| Elementary flow | Emissions / Emissions to soil / Emissions to agricultural soil | 4.13343217417784E-14 kg | 4.13343217417784E-14 kg | |||
| Elementary flow | Emissions / Emissions to soil / Emissions to agricultural soil | 2.58757062691912E-12 kg | 2.58757062691912E-12 kg | |||
| Elementary flow | Emissions / Emissions to soil / Emissions to agricultural soil | 2.74508429872297E-11 kg | 2.74508429872297E-11 kg | |||
| Elementary flow | Emissions / Emissions to water / Emissions to water, unspecified | 3.46859901279953E-19 kg | 3.46859901279953E-19 kg | |||
| Elementary flow | Emissions / Emissions to soil / Emissions to agricultural soil | 6.84093250629193E-13 kg | 6.84093250629193E-13 kg | |||
| Elementary flow | Emissions / Emissions to air / Emissions to air, unspecified | 6.02329812990178E-4 kBq | 6.02329812990178E-4 kBq | |||
| Elementary flow | Emissions / Emissions to soil / Emissions to agricultural soil | 3.31483626307844E-13 kg | 3.31483626307844E-13 kg | |||
| Elementary flow | Emissions / Emissions to water / Emissions to fresh water | 4.77207815326045E-8 m3 | 4.77207815326045E-8 m3 | |||
| Elementary flow | Emissions / Emissions to water / Emissions to water, unspecified | 5.23222268316249E-17 kg | 5.23222268316249E-17 kg | |||
| Elementary flow | Emissions / Emissions to water / Emissions to fresh water | 9.338035230977085E-7 m3 | 9.338035230977085E-7 m3 | |||
| Elementary flow | Emissions / Emissions to air / Emissions to non-urban air or from high stacks | 9.4806090457645E-6 kg | 9.4806090457645E-6 kg | |||
| Elementary flow | Emissions / Emissions to water / Emissions to sea water | 1.84352590304809E-12 kg | 1.84352590304809E-12 kg | |||
| Elementary flow | Emissions / Emissions to air / Emissions to air, unspecified (long-term) | 3.19928745607358E-4 kg | 3.19928745607358E-4 kg | |||
| Elementary flow | Emissions / Emissions to soil / Emissions to agricultural soil | 6.60011585408063E-13 kg | 6.60011585408063E-13 kg | |||
| Elementary flow | Emissions / Emissions to air / Emissions to air, unspecified | -1.50662953184265E-22 kg | -1.50662953184265E-22 kg | |||
| Elementary flow | Emissions / Emissions to air / Emissions to air, unspecified | -3.23251703598367E-22 kg | -3.23251703598367E-22 kg | |||
| Elementary flow | Emissions / Emissions to soil / Emissions to non-agricultural soil | 6.32590135746882E-17 kg | 6.32590135746882E-17 kg | |||
| Elementary flow | Emissions / Emissions to water / Emissions to sea water | 1.68612673893751E-9 kg | 1.68612673893751E-9 kg | |||
| Elementary flow | Emissions / Emissions to air / Emissions to air, unspecified (long-term) | 3.28494727836303E-7 kg | 3.28494727836303E-7 kg | |||
| Elementary flow | Emissions / Emissions to water / Emissions to water, unspecified | 4.27704589739927E-16 kg | 4.27704589739927E-16 kg | |||
| Elementary flow | Emissions / Emissions to water / Emissions to sea water | 6.44750907407952E-6 kg | 6.44750907407952E-6 kg | |||
| Elementary flow | Emissions / Emissions to air / Emissions to air, unspecified | 2.02258460711082E-10 kg | 2.02258460711082E-10 kg | |||
| Elementary flow | Emissions / Emissions to soil / Emissions to agricultural soil | 3.19510877100004E-19 kg | 3.19510877100004E-19 kg | |||
| Elementary flow | Emissions / Emissions to water / Emissions to sea water | 5.17197848544341E-7 kBq | 5.17197848544341E-7 kBq | |||
| Elementary flow | Emissions / Emissions to soil / Emissions to agricultural soil | 9.21659819623732E-13 kg | 9.21659819623732E-13 kg | |||
| Elementary flow | Emissions / Emissions to water / Emissions to fresh water | 1.09437984197257E-13 kg | 1.09437984197257E-13 kg | |||
| Elementary flow | Emissions / Emissions to air / Emissions to air, unspecified (long-term) | 9.0979384371306E-9 kg | 9.0979384371306E-9 kg | |||
| Elementary flow | Emissions / Emissions to soil / Emissions to agricultural soil | 1.11820309299516E-12 kg | 1.11820309299516E-12 kg | |||
| Elementary flow | Emissions / Emissions to air / Emissions to air, unspecified | 1.59933828524116E-11 kg | 1.59933828524116E-11 kg | |||
| Elementary flow | Emissions / Emissions to air / Emissions to air, unspecified | 4.0855568475922E-13 kg | 4.0855568475922E-13 kg | |||
| Elementary flow | Emissions / Emissions to water / Emissions to fresh water | 1.93564427929009E-5 m3 | 1.93564427929009E-5 m3 | |||
| Elementary flow | Emissions / Emissions to soil / Emissions to non-agricultural soil | 1.22639768002661E-9 kg | 1.22639768002661E-9 kg | |||
| Elementary flow | Emissions / Emissions to air / Emissions to air, unspecified | -4.295414397506E-22 kg | -4.295414397506E-22 kg | |||
| Elementary flow | Emissions / Emissions to water / Emissions to fresh water | 3.37968041987161E-19 kg | 3.37968041987161E-19 kg | |||
| Elementary flow | Emissions / Emissions to air / Emissions to air, unspecified | 1.4472812183184E-11 kg | 1.4472812183184E-11 kg | |||
| Elementary flow | Emissions / Emissions to water / Emissions to fresh water | 2.03220608576204E-13 kg | 2.03220608576204E-13 kg | |||
| Elementary flow | Emissions / Emissions to soil / Emissions to non-agricultural soil | 2.53123067883748E-4 MJ | 2.53123067883748E-4 MJ | |||
| Elementary flow | Emissions / Emissions to water / Emissions to fresh water | 0.00184089726421435 kg | 0.00184089726421435 kg | |||
| Elementary flow | Emissions / Emissions to water / Emissions to fresh water | 4.08353144945259E-5 kg | 4.08353144945259E-5 kg | |||
| Elementary flow | Emissions / Emissions to soil / Emissions to agricultural soil | 1.22923912461421E-10 kg | 1.22923912461421E-10 kg | |||
| Elementary flow | Emissions / Emissions to soil / Emissions to non-agricultural soil | 5.0632524312026E-12 kg | 5.0632524312026E-12 kg | |||
| Elementary flow | Emissions / Emissions to soil / Emissions to agricultural soil | 1.04971349805059E-22 kg | 1.04971349805059E-22 kg | |||
| Elementary flow | Emissions / Emissions to air / Emissions to air, unspecified | 1.79077945749147E-11 kg | 1.79077945749147E-11 kg | |||
| Elementary flow | Emissions / Emissions to air / Emissions to air, unspecified (long-term) | 3.56241849884826E-8 kg | 3.56241849884826E-8 kg | |||
| Elementary flow | Emissions / Emissions to air / Emissions to air, unspecified | 1.15298405002606E-10 kg | 1.15298405002606E-10 kg | |||
| Elementary flow | Emissions / Emissions to water / Emissions to fresh water | 2.5345958317206E-17 kg | 2.5345958317206E-17 kg | |||
| Elementary flow | Emissions / Emissions to air / Emissions to non-urban air or from high stacks | 2.04459304738971E-14 kg | 2.04459304738971E-14 kg | |||
| Elementary flow | Emissions / Emissions to water / Emissions to fresh water | 5.77630915734999E-5 m3 | 5.77630915734999E-5 m3 | |||
| Elementary flow | Emissions / Emissions to soil / Emissions to agricultural soil | 1.48200134859446E-13 kg | 1.48200134859446E-13 kg | |||
| Waste flow | Wastes / Other waste | 1.46860156217991E-9 kg | 1.46860156217991E-9 kg | |||
| Elementary flow | Emissions / Emissions to water / Emissions to water, unspecified (long-term) | 3.45465721800331E-15 kg | 3.45465721800331E-15 kg | |||
| Elementary flow | Emissions / Emissions to water / Emissions to fresh water | 5.490366681564239E-9 kg | 5.490366681564239E-9 kg | |||
| Elementary flow | Emissions / Emissions to air / Emissions to urban air close to ground | 2.96016472323075E-7 kg | 2.96016472323075E-7 kg | |||
| Elementary flow | Emissions / Emissions to air / Emissions to urban air close to ground | 8.76646087841792E-13 kg | 8.76646087841792E-13 kg | |||
| Elementary flow | Emissions / Emissions to air / Emissions to non-urban air or from high stacks | 1.56803391814381E-12 kg | 1.56803391814381E-12 kg | |||
| Elementary flow | Emissions / Emissions to air / Emissions to air, unspecified | 6.01292310271835E-11 kg | 6.01292310271835E-11 kg | |||
| Elementary flow | Emissions / Emissions to soil / Emissions to agricultural soil | 2.59208274539203E-7 kg | 2.59208274539203E-7 kg | |||
| Elementary flow | Emissions / Emissions to soil / Emissions to non-agricultural soil | -4.4338472463305E-23 kg | -4.4338472463305E-23 kg | |||
| Elementary flow | Emissions / Emissions to soil / Emissions to non-agricultural soil | 5.24500221447755E-15 kg | 5.24500221447755E-15 kg | |||
| Elementary flow | Emissions / Emissions to soil / Emissions to agricultural soil | 4.71840214078775E-13 kg | 4.71840214078775E-13 kg | |||
| Elementary flow | Emissions / Emissions to water / Emissions to fresh water | 1.36611809988286E-10 kg | 1.36611809988286E-10 kg | |||
| Elementary flow | Emissions / Emissions to soil / Emissions to agricultural soil | 8.89021839392709E-12 kg | 8.89021839392709E-12 kg | |||
| Elementary flow | Emissions / Emissions to water / Emissions to fresh water | 1.77430635720872E-6 m3 | 1.77430635720872E-6 m3 | |||
| Elementary flow | Emissions / Emissions to air / Emissions to urban air close to ground | 1.23050095678157E-10 kg | 1.23050095678157E-10 kg | |||
| Elementary flow | Emissions / Emissions to water / Emissions to fresh water | 1.27792836850767E-7 m3 | 1.27792836850767E-7 m3 | |||
| Elementary flow | Emissions / Emissions to air / Emissions to air, unspecified | 1.48348573174976E-7 kg | 1.48348573174976E-7 kg | |||
| Elementary flow | Emissions / Emissions to water / Emissions to fresh water | 2.9980597521719E-5 m3 | 2.9980597521719E-5 m3 | |||
| Elementary flow | Emissions / Emissions to air / Emissions to non-urban air or from high stacks | 1.97338385565595E-13 kg | 1.97338385565595E-13 kg | |||
| Elementary flow | Emissions / Emissions to air / Emissions to urban air close to ground | 1.31371361314247E-6 m3 | 1.31371361314247E-6 m3 | |||
| Elementary flow | Emissions / Emissions to soil / Emissions to agricultural soil | 1.61777922230182E-11 kg | 1.61777922230182E-11 kg | |||
| Elementary flow | Emissions / Emissions to air / Emissions to air, unspecified | 2.16545145817812E-9 kg | 2.16545145817812E-9 kg | |||
| Elementary flow | Emissions / Emissions to water / Emissions to sea water | 4.70824398152955E-5 kg | 4.70824398152955E-5 kg | |||
| Elementary flow | Emissions / Emissions to water / Emissions to fresh water | 1.1839740023613E-17 kg | 1.1839740023613E-17 kg | |||
| Elementary flow | Emissions / Emissions to air / Emissions to air, unspecified | 4.67501922500608E-20 kg | 4.67501922500608E-20 kg | |||
| Elementary flow | Emissions / Emissions to soil / Emissions to agricultural soil | 3.69710917323247E-27 kg | 3.69710917323247E-27 kg | |||
| Elementary flow | Emissions / Emissions to soil / Emissions to non-agricultural soil | 4.42499920909782E-7 kg | 4.42499920909782E-7 kg | |||
| Elementary flow | Emissions / Emissions to water / Emissions to fresh water | 2.36789825454396E-7 kg | 2.36789825454396E-7 kg | |||
| Elementary flow | Emissions / Emissions to water / Emissions to fresh water | 1.11806162855143E-10 kg | 1.11806162855143E-10 kg | |||
| Elementary flow | Emissions / Emissions to water / Emissions to fresh water | 7.57357432192257E-8 m3 | 7.57357432192257E-8 m3 | |||
| Elementary flow | Emissions / Emissions to air / Emissions to air, unspecified | 1.90107082194197E-8 kg | 1.90107082194197E-8 kg | |||
| Elementary flow | Emissions / Emissions to water / Emissions to sea water | 2.22628226603702E-24 kg | 2.22628226603702E-24 kg | |||
| Elementary flow | Emissions / Emissions to water / Emissions to fresh water | 1.696595254373312E-7 m3 | 1.696595254373312E-7 m3 | |||
| Elementary flow | Emissions / Emissions to air / Emissions to air, unspecified | 8.36190992318286E-6 kBq | 8.36190992318286E-6 kBq | |||
| Elementary flow | Emissions / Emissions to water / Emissions to fresh water | -1.90182288580604E-11 kg | -1.90182288580604E-11 kg | |||
| Elementary flow | Emissions / Emissions to soil / Emissions to agricultural soil | 4.39214861372105E-17 kg | 4.39214861372105E-17 kg | |||
| Elementary flow | Emissions / Emissions to air / Emissions to air, unspecified | 2.06450010627477E-10 kBq | 2.06450010627477E-10 kBq | |||
| Elementary flow | Emissions / Emissions to water / Emissions to sea water | 2.79189612212115E-4 kg | 2.79189612212115E-4 kg | |||
| Elementary flow | Emissions / Emissions to soil / Emissions to agricultural soil | 3.86294717546942E-6 kg | 3.86294717546942E-6 kg | |||
| Elementary flow | Emissions / Emissions to water / Emissions to fresh water | 3.39287826885528E-12 kg | 3.39287826885528E-12 kg | |||
| Elementary flow | Emissions / Emissions to soil / Emissions to agricultural soil | 1.27428636348709E-10 kg | 1.27428636348709E-10 kg | |||
| Elementary flow | Emissions / Emissions to water / Emissions to sea water | 2.2654030506841043E-4 m3 | 2.2654030506841043E-4 m3 | |||
| Elementary flow | Emissions / Emissions to water / Emissions to fresh water | 2.00340635403819E-10 kg | 2.00340635403819E-10 kg | |||
| Elementary flow | Emissions / Emissions to air / Emissions to air, unspecified | 1.07652207736787E-14 kg | 1.07652207736787E-14 kg | |||
| Elementary flow | Emissions / Emissions to water / Emissions to fresh water | 1.04897109501565E-7 m3 | 1.04897109501565E-7 m3 | |||
| Elementary flow | Emissions / Emissions to air / Emissions to air, unspecified | 1.59287825466736E-8 kg | 1.59287825466736E-8 kg | |||
| Elementary flow | Emissions / Emissions to water / Emissions to sea water | 3.13894273874329E-8 kBq | 3.13894273874329E-8 kBq | |||
| Elementary flow | Emissions / Emissions to water / Emissions to fresh water | 3.8113283373569E-15 kg | 3.8113283373569E-15 kg | |||
| Elementary flow | Emissions / Emissions to air / Emissions to air, unspecified | 4.67140835953337E-13 kg | 4.67140835953337E-13 kg | |||
| Elementary flow | Emissions / Emissions to soil / Emissions to agricultural soil | 2.60475507839657E-15 kg | 2.60475507839657E-15 kg | |||
| Elementary flow | Emissions / Emissions to water / Emissions to fresh water | 2.6414743929258E-8 kg | 2.6414743929258E-8 kg | |||
| Elementary flow | Emissions / Emissions to air / Emissions to air, unspecified | 1.94371599279817E-12 kg | 1.94371599279817E-12 kg | |||
| Elementary flow | Emissions / Emissions to water / Emissions to fresh water | 1.58315729889593E-9 kg | 1.58315729889593E-9 kg | |||
| Elementary flow | Emissions / Emissions to water / Emissions to sea water | 3.3914181564589E-27 kg | 3.3914181564589E-27 kg | |||
| Elementary flow | Emissions / Emissions to air / Emissions to urban air close to ground | 5.16423986183168E-18 kg | 5.16423986183168E-18 kg | |||
| Elementary flow | Emissions / Emissions to soil / Emissions to non-agricultural soil | 1.93907449969242E-5 kg | 1.93907449969242E-5 kg | |||
| Elementary flow | Emissions / Emissions to soil / Emissions to non-agricultural soil | 2.12405325239242E-14 kg | 2.12405325239242E-14 kg | |||
| Elementary flow | Emissions / Emissions to air / Emissions to air, unspecified | -7.50165689741684E-21 kg | -7.50165689741684E-21 kg | |||
| Elementary flow | Emissions / Emissions to air / Emissions to air, unspecified | 6.29386114105283E-9 kg | 6.29386114105283E-9 kg | |||
| Elementary flow | Emissions / Emissions to air / Emissions to air, unspecified (long-term) | 1.75092561281251E-12 kg | 1.75092561281251E-12 kg | |||
| Elementary flow | Emissions / Emissions to water / Emissions to fresh water | -1.42681101964994E-19 kg | -1.42681101964994E-19 kg | |||
| Elementary flow | Emissions / Emissions to water / Emissions to sea water | 9.3703460696031E-5 kg | 9.3703460696031E-5 kg | |||
| Elementary flow | Emissions / Emissions to soil / Emissions to agricultural soil | 4.80199891398801E-16 kg | 4.80199891398801E-16 kg | |||
| Elementary flow | Emissions / Emissions to air / Emissions to air, unspecified | 3.68166949371322E-10 kg | 3.68166949371322E-10 kg | |||
| Elementary flow | Emissions / Emissions to water / Emissions to fresh water | 1.84515586735893E-5 kg | 1.84515586735893E-5 kg | |||
| Elementary flow | Emissions / Emissions to soil / Emissions to agricultural soil | 3.4718177655201E-11 kg | 3.4718177655201E-11 kg | |||
| Elementary flow | Emissions / Emissions to air / Emissions to air, unspecified | 2.0847525341761E-11 kg | 2.0847525341761E-11 kg | |||
| Elementary flow | Emissions / Emissions to water / Emissions to fresh water | 1.81921446723908E-6 m3 | 1.81921446723908E-6 m3 | |||
| Elementary flow | Emissions / Emissions to air / Emissions to urban air close to ground | 1.53121711872835E-6 kg | 1.53121711872835E-6 kg | |||
| Elementary flow | Emissions / Emissions to air / Emissions to air, unspecified | 1.02082724859648E-4 kg | 1.02082724859648E-4 kg | |||
| Elementary flow | Emissions / Emissions to water / Emissions to sea water | 0.00121716174661079 kBq | 0.00121716174661079 kBq | |||
| Elementary flow | Emissions / Emissions to water / Emissions to fresh water | 8.97295104565649E-10 kg | 8.97295104565649E-10 kg | |||
| Elementary flow | Emissions / Emissions to soil / Emissions to agricultural soil | 1.04764277990409E-9 kg | 1.04764277990409E-9 kg | |||
| Elementary flow | Emissions / Emissions to air / Emissions to air, unspecified (long-term) | 1.41456421101958E-10 kg | 1.41456421101958E-10 kg | |||
| Elementary flow | Emissions / Emissions to air / Emissions to air, unspecified | 6.31415462985842E-12 kg | 6.31415462985842E-12 kg | |||
| Elementary flow | Emissions / Emissions to soil / Emissions to agricultural soil | 1.79638178534398E-14 kg | 1.79638178534398E-14 kg | |||
| Elementary flow | Emissions / Emissions to soil / Emissions to agricultural soil | 3.60998365369674E-9 kg | 3.60998365369674E-9 kg | |||
| Elementary flow | Emissions / Emissions to air / Emissions to non-urban air or from high stacks | 4.68949127775227E-12 kg | 4.68949127775227E-12 kg | |||
| Elementary flow | Emissions / Emissions to water / Emissions to fresh water | 8.25377006324848E-17 kg | 8.25377006324848E-17 kg | |||
| Elementary flow | Emissions / Emissions to soil / Emissions to non-agricultural soil | 2.14494503078488E-9 kg | 2.14494503078488E-9 kg | |||
| Elementary flow | Emissions / Emissions to soil / Emissions to agricultural soil | 2.00705064227273E-15 kg | 2.00705064227273E-15 kg | |||
| Elementary flow | Emissions / Emissions to air / Emissions to air, unspecified | 4.46164472715449E-12 kg | 4.46164472715449E-12 kg | |||
| Elementary flow | Emissions / Emissions to air / Emissions to air, unspecified | 3.51231596477566E-21 kg | 3.51231596477566E-21 kg | |||
| Elementary flow | Emissions / Emissions to water / Emissions to sea water | 1.63879328610598E-5 kg | 1.63879328610598E-5 kg | |||
| Elementary flow | Emissions / Emissions to air / Emissions to urban air close to ground | 5.35370365016022E-10 kg | 5.35370365016022E-10 kg | |||
| Elementary flow | Emissions / Emissions to air / Emissions to air, unspecified | 2.40216955665918E-10 kg | 2.40216955665918E-10 kg | |||
| Elementary flow | Emissions / Emissions to water / Emissions to fresh water | 1.80266102598929E-10 kg | 1.80266102598929E-10 kg | |||
| Elementary flow | Emissions / Emissions to air / Emissions to air, unspecified | 3.31912555786043E-11 kg | 3.31912555786043E-11 kg | |||
| Elementary flow | Emissions / Emissions to water / Emissions to fresh water | 1.40567749798853E-8 kg | 1.40567749798853E-8 kg | |||
| Elementary flow | Emissions / Emissions to air / Emissions to air, unspecified | 8.25412444419331E-14 kg | 8.25412444419331E-14 kg | |||
| Elementary flow | Emissions / Emissions to air / Emissions to air, unspecified | 2.35895204464235E-7 kg | 2.35895204464235E-7 kg | |||
| Elementary flow | Emissions / Emissions to air / Emissions to air, unspecified | 1.34302192273332E-8 kg | 1.34302192273332E-8 kg | |||
| Elementary flow | Emissions / Emissions to air / Emissions to non-urban air or from high stacks | 6.70632627179889E-12 kg | 6.70632627179889E-12 kg | |||
| Elementary flow | Emissions / Emissions to soil / Emissions to agricultural soil | 6.96830980804057E-12 kg | 6.96830980804057E-12 kg | |||
| Elementary flow | Emissions / Emissions to air / Emissions to air, unspecified | 2.89493828464153E-13 kg | 2.89493828464153E-13 kg | |||
| Elementary flow | Emissions / Emissions to water / Emissions to fresh water | 0.0291270979654423 kg | 0.0291270979654423 kg | |||
| Elementary flow | Emissions / Emissions to soil / Emissions to non-agricultural soil | 4.05467574382295E-9 kg | 4.05467574382295E-9 kg | |||
| Elementary flow | Emissions / Emissions to soil / Emissions to agricultural soil | 2.69516766769872E-12 kg | 2.69516766769872E-12 kg | |||
| Elementary flow | Emissions / Emissions to air / Emissions to air, unspecified | 9.39117999317025E-8 kg | 9.39117999317025E-8 kg | |||
| Elementary flow | Emissions / Emissions to soil / Emissions to non-agricultural soil | 1.16605710488116E-15 kg | 1.16605710488116E-15 kg | |||
| Elementary flow | Emissions / Emissions to water / Emissions to fresh water | 1.10195859858715E-12 m3 | 1.10195859858715E-12 m3 | |||
| Elementary flow | Emissions / Emissions to soil / Emissions to agricultural soil | 1.31505443062303E-16 kg | 1.31505443062303E-16 kg | |||
| Elementary flow | Emissions / Emissions to air / Emissions to lower stratosphere and upper troposphere | 3.11768121208116E-11 kg | 3.11768121208116E-11 kg | |||
| Elementary flow | Emissions / Emissions to soil / Emissions to agricultural soil | 1.1345502946997E-12 kg | 1.1345502946997E-12 kg | |||
| Elementary flow | Emissions / Emissions to water / Emissions to sea water | 5.14781710023007E-13 kg | 5.14781710023007E-13 kg | |||
| Elementary flow | Emissions / Emissions to soil / Emissions to agricultural soil | 3.30381021563043E-9 kg | 3.30381021563043E-9 kg | |||
| Elementary flow | Emissions / Emissions to soil / Emissions to agricultural soil | 7.4072493848686E-13 kg | 7.4072493848686E-13 kg | |||
| Elementary flow | Emissions / Emissions to soil / Emissions to agricultural soil | 4.74818946719137E-12 kg | 4.74818946719137E-12 kg | |||
| Elementary flow | Emissions / Emissions to air / Emissions to air, unspecified (long-term) | 4.61374094207203E-14 kg | 4.61374094207203E-14 kg | |||
| Elementary flow | Emissions / Emissions to air / Emissions to air, unspecified | 1.12453566342224E-12 kg | 1.12453566342224E-12 kg | |||
| Elementary flow | Emissions / Emissions to water / Emissions to fresh water | 1.21848620157199E-5 m3 | 1.21848620157199E-5 m3 | |||
| Elementary flow | Emissions / Emissions to water / Emissions to fresh water | 3.47307059784467E-16 kg | 3.47307059784467E-16 kg | |||
| Elementary flow | Emissions / Emissions to soil / Emissions to non-agricultural soil | 2.43795389916333E-8 kg | 2.43795389916333E-8 kg | |||
| Elementary flow | Emissions / Emissions to water / Emissions to water, unspecified (long-term) | 2.357951591953E-6 kg | 2.357951591953E-6 kg | |||
| Elementary flow | Emissions / Emissions to soil / Emissions to agricultural soil | 7.45769045816907E-13 kg | 7.45769045816907E-13 kg | |||
| Elementary flow | Emissions / Emissions to water / Emissions to fresh water | 1.90234807491296E-11 kg | 1.90234807491296E-11 kg | |||
| Elementary flow | Emissions / Emissions to air / Emissions to urban air close to ground | 2.17513074164112E-10 kg | 2.17513074164112E-10 kg | |||
| Elementary flow | Emissions / Emissions to air / Emissions to air, unspecified (long-term) | 6.00626033257244E-11 kg | 6.00626033257244E-11 kg | |||
| Elementary flow | Emissions / Emissions to air / Emissions to air, unspecified | 6.38379270959028E-21 kg | 6.38379270959028E-21 kg | |||
| Elementary flow | Emissions / Emissions to air / Emissions to air, unspecified | 3.74770076093812E-9 kg | 3.74770076093812E-9 kg | |||
| Elementary flow | Emissions / Emissions to water / Emissions to water, unspecified | 2.74961192782899E-15 kg | 2.74961192782899E-15 kg | |||
| Elementary flow | Emissions / Emissions to soil / Emissions to non-agricultural soil | 9.84314344710098E-6 kg | 9.84314344710098E-6 kg | |||
| Elementary flow | Emissions / Emissions to water / Emissions to sea water | 9.92275066576171E-17 kg | 9.92275066576171E-17 kg | |||
| Elementary flow | Emissions / Emissions to air / Emissions to air, unspecified | 3.14711598081637E-10 kBq | 3.14711598081637E-10 kBq | |||
| Elementary flow | Emissions / Emissions to air / Emissions to air, unspecified | 7.69154174144911E-13 kg | 7.69154174144911E-13 kg | |||
| Elementary flow | Emissions / Emissions to soil / Emissions to agricultural soil | 1.91818726656926E-10 kg | 1.91818726656926E-10 kg | |||
| Elementary flow | Emissions / Emissions to water / Emissions to fresh water | 2.36860475572478E-16 kg | 2.36860475572478E-16 kg | |||
| Elementary flow | Emissions / Emissions to soil / Emissions to agricultural soil | 1.38723127891787E-12 kg | 1.38723127891787E-12 kg | |||
| Elementary flow | Emissions / Emissions to air / Emissions to urban air close to ground | 3.76256548972854E-11 kg | 3.76256548972854E-11 kg | |||
| Elementary flow | Emissions / Emissions to water / Emissions to fresh water | 2.26619406871119E-4 kBq | 2.26619406871119E-4 kBq | |||
| Elementary flow | Emissions / Emissions to water / Emissions to fresh water | 7.19482419336133E-9 m3 | 7.19482419336133E-9 m3 | |||
| Elementary flow | Emissions / Emissions to water / Emissions to fresh water | 2.22727649827127E-13 kg | 2.22727649827127E-13 kg | |||
| Elementary flow | Emissions / Emissions to air / Emissions to air, unspecified | 3.72303587791002E-11 kg | 3.72303587791002E-11 kg | |||
| Elementary flow | Emissions / Emissions to air / Emissions to non-urban air or from high stacks | 1.48441787873296E-7 kg | 1.48441787873296E-7 kg | |||
| Elementary flow | Emissions / Emissions to soil / Emissions to non-agricultural soil | 1.62905689202998E-15 kg | 1.62905689202998E-15 kg | |||
| Elementary flow | Emissions / Emissions to water / Emissions to fresh water | 1.96704750143804E-8 kBq | 1.96704750143804E-8 kBq | |||
| Elementary flow | Emissions / Emissions to water / Emissions to fresh water | 2.15185298857817E-15 kg | 2.15185298857817E-15 kg | |||
| Elementary flow | Emissions / Emissions to air / Emissions to air, unspecified | 9.16574765903204E-12 kBq | 9.16574765903204E-12 kBq | |||
| Elementary flow | Emissions / Emissions to soil / Emissions to agricultural soil | 4.42645500099412E-27 kg | 4.42645500099412E-27 kg | |||
| Elementary flow | Emissions / Emissions to air / Emissions to air, unspecified | 6.75215530181843E-7 kg | 6.75215530181843E-7 kg | |||
| Elementary flow | Emissions / Emissions to water / Emissions to fresh water | 7.44119703003976E-8 m3 | 7.44119703003976E-8 m3 | |||
| Elementary flow | Emissions / Emissions to soil / Emissions to agricultural soil | 2.76508912263336E-10 kg | 2.76508912263336E-10 kg | |||
| Elementary flow | Emissions / Emissions to air / Emissions to urban air close to ground | 2.87685381698729E-9 kg | 2.87685381698729E-9 kg | |||
| Elementary flow | Emissions / Emissions to soil / Emissions to agricultural soil | 1.3090686950404E-11 kg | 1.3090686950404E-11 kg | |||
| Elementary flow | Emissions / Emissions to water / Emissions to fresh water | 4.79441033708044E-8 kg | 4.79441033708044E-8 kg | |||
| Elementary flow | Emissions / Emissions to air / Emissions to air, unspecified | 1.17573970640146E-9 kg | 1.17573970640146E-9 kg | |||
| Elementary flow | Emissions / Emissions to air / Emissions to air, unspecified | 1.07454862818727 kBq | 1.07454862818727 kBq | |||
| Elementary flow | Emissions / Emissions to air / Emissions to air, unspecified | 3.10147475046849E-5 kBq | 3.10147475046849E-5 kBq | |||
| Elementary flow | Emissions / Emissions to air / Emissions to air, unspecified | 1.26225232678327E-27 kg | 1.26225232678327E-27 kg | |||
| Elementary flow | Emissions / Emissions to air / Emissions to air, unspecified | 3.53785475324524E-11 kg | 3.53785475324524E-11 kg | |||
| Elementary flow | Emissions / Emissions to water / Emissions to water, unspecified (long-term) | 0.00147907793935743 kg | 0.00147907793935743 kg | |||
| Elementary flow | Emissions / Emissions to water / Emissions to water, unspecified (long-term) | 3.70565341281153E-7 kg | 3.70565341281153E-7 kg | |||
| Elementary flow | Emissions / Emissions to air / Emissions to non-urban air or from high stacks | 6.79321380937951E-14 kg | 6.79321380937951E-14 kg | |||
| Elementary flow | Emissions / Emissions to air / Emissions to air, unspecified | -1.50662953184265E-20 kg | -1.50662953184265E-20 kg | |||
| Elementary flow | Emissions / Emissions to air / Emissions to air, unspecified | 3.36376013402041E-12 kg | 3.36376013402041E-12 kg | |||
| Elementary flow | Emissions / Emissions to water / Emissions to fresh water | 5.92620268553836E-7 kBq | 5.92620268553836E-7 kBq | |||
| Elementary flow | Emissions / Emissions to water / Emissions to sea water | 9.58899261067486E-13 kg | 9.58899261067486E-13 kg | |||
| Elementary flow | Emissions / Emissions to air / Emissions to air, unspecified | 5.45870054747656E-12 kg | 5.45870054747656E-12 kg | |||
| Elementary flow | Emissions / Emissions to water / Emissions to sea water | 0.00388303501322644 kg | 0.00388303501322644 kg | |||
| Elementary flow | Emissions / Emissions to water / Emissions to fresh water | 5.73886775665328E-6 m3 | 5.73886775665328E-6 m3 | |||
| Elementary flow | Emissions / Emissions to soil / Emissions to non-agricultural soil | 5.01373667746355E-14 kg | 5.01373667746355E-14 kg | |||
| Elementary flow | Emissions / Emissions to air / Emissions to air, unspecified | 5.17682268555223E-8 kg | 5.17682268555223E-8 kg | |||
| Elementary flow | Emissions / Emissions to water / Emissions to fresh water | 6.13007504906E-8 kg | 6.13007504906E-8 kg | |||
| Elementary flow | Emissions / Emissions to soil / Emissions to agricultural soil | 7.88383437502305E-14 kg | 7.88383437502305E-14 kg | |||
| Elementary flow | Emissions / Emissions to air / Emissions to non-urban air or from high stacks | 5.62939266891732E-13 kg | 5.62939266891732E-13 kg | |||
| Elementary flow | Emissions / Emissions to air / Emissions to air, unspecified (long-term) | 1.12317379355664E-7 kBq | 1.12317379355664E-7 kBq | |||
| Elementary flow | Emissions / Emissions to water / Emissions to fresh water | 3.06152335926418E-4 m3 | 3.06152335926418E-4 m3 | |||
| Elementary flow | Emissions / Emissions to water / Emissions to fresh water | 6.5667648995922E-7 m3 | 6.5667648995922E-7 m3 | |||
| Elementary flow | Emissions / Emissions to water / Emissions to sea water | 0.00490601535836639 MJ | 0.00490601535836639 MJ | |||
| Elementary flow | Emissions / Emissions to air / Emissions to air, unspecified | 7.17119042145375E-12 kg | 7.17119042145375E-12 kg | |||
| Elementary flow | Emissions / Emissions to air / Emissions to air, unspecified | -3.65706539567718E-21 kg | -3.65706539567718E-21 kg | |||
| Elementary flow | Emissions / Emissions to air / Emissions to air, unspecified | 2.25920877508817E-9 kg | 2.25920877508817E-9 kg | |||
| Elementary flow | Emissions / Emissions to air / Emissions to air, unspecified | 9.8095450423811E-19 kg | 9.8095450423811E-19 kg | |||
| Elementary flow | Emissions / Emissions to air / Emissions to air, unspecified | 1.15087917228327E-13 kg | 1.15087917228327E-13 kg | |||
| Elementary flow | Emissions / Emissions to soil / Emissions to agricultural soil | 7.64900074782962E-17 kg | 7.64900074782962E-17 kg | |||
| Elementary flow | Emissions / Emissions to water / Emissions to fresh water | 3.80730633751687E-15 kg | 3.80730633751687E-15 kg | |||
| Elementary flow | Emissions / Emissions to water / Emissions to fresh water | 4.66506920407553E-5 m3 | 4.66506920407553E-5 m3 | |||
| Elementary flow | Emissions / Emissions to air / Emissions to air, unspecified (long-term) | 3.5007667806474E-9 kg | 3.5007667806474E-9 kg | |||
| Elementary flow | Emissions / Emissions to air / Emissions to air, unspecified | 1.7828911746042E-8 kg | 1.7828911746042E-8 kg | |||
| Elementary flow | Emissions / Emissions to soil / Emissions to agricultural soil | 3.45798113215604E-13 kg | 3.45798113215604E-13 kg | |||
| Elementary flow | Emissions / Emissions to soil / Emissions to non-agricultural soil | 1.56956803470843E-8 kg | 1.56956803470843E-8 kg | |||
| Elementary flow | Emissions / Emissions to soil / Emissions to agricultural soil | 1.98401523563547E-14 kg | 1.98401523563547E-14 kg | |||
| Elementary flow | Emissions / Emissions to water / Emissions to fresh water | 2.00148213452121E-9 m3 | 2.00148213452121E-9 m3 | |||
| Elementary flow | Emissions / Emissions to soil / Emissions to agricultural soil | 7.23665433137317E-11 kg | 7.23665433137317E-11 kg | |||
| Elementary flow | Emissions / Emissions to air / Emissions to air, unspecified | 2.23080997700538E-8 kg | 2.23080997700538E-8 kg | |||
| Elementary flow | Emissions / Emissions to soil / Emissions to agricultural soil | 2.18562385395859E-13 kg | 2.18562385395859E-13 kg | |||
| Elementary flow | Emissions / Emissions to water / Emissions to sea water | 4.84196568713431E-9 kBq | 4.84196568713431E-9 kBq | |||
| Elementary flow | Emissions / Emissions to soil / Emissions to agricultural soil | 8.24777024403108E-15 kg | 8.24777024403108E-15 kg | |||
| Elementary flow | Emissions / Emissions to air / Emissions to non-urban air or from high stacks | 1.53992935835743E-16 kg | 1.53992935835743E-16 kg | |||
| Elementary flow | Emissions / Emissions to water / Emissions to fresh water | 2.1754095926138023E-12 kg | 2.1754095926138023E-12 kg | |||
| Elementary flow | Emissions / Emissions to water / Emissions to fresh water | 6.780531707365857E-8 kg | 6.780531707365857E-8 kg | |||
| Elementary flow | Emissions / Emissions to water / Emissions to sea water | 3.71961993784855E-28 kg | 3.71961993784855E-28 kg | |||
| Elementary flow | Emissions / Emissions to air / Emissions to air, unspecified | 5.69363727090642E-4 kBq | 5.69363727090642E-4 kBq | |||
| Elementary flow | Emissions / Emissions to water / Emissions to sea water | 1.01302924078273E-8 kg | 1.01302924078273E-8 kg | |||
| Elementary flow | Emissions / Emissions to soil / Emissions to agricultural soil | 7.59153294260923E-13 kg | 7.59153294260923E-13 kg | |||
| Elementary flow | Emissions / Emissions to water / Emissions to fresh water | 4.77940509169981E-6 m3 | 4.77940509169981E-6 m3 | |||
| Elementary flow | Emissions / Emissions to water / Emissions to sea water | 6.09578566636514E-9 kg | 6.09578566636514E-9 kg | |||
| Elementary flow | Emissions / Emissions to water / Emissions to water, unspecified | 1.15389137839676E-16 kg | 1.15389137839676E-16 kg | |||
| Elementary flow | Emissions / Emissions to air / Emissions to air, unspecified | 1.25341995782483E-4 kBq | 1.25341995782483E-4 kBq | |||
| Elementary flow | Emissions / Emissions to water / Emissions to sea water | 8.86487846678059E-8 kg | 8.86487846678059E-8 kg | |||
| Elementary flow | Emissions / Emissions to soil / Emissions to agricultural soil | 4.74659030677223E-12 kg | 4.74659030677223E-12 kg | |||
| Elementary flow | Emissions / Emissions to air / Emissions to air, unspecified | 8.30482438047571E-13 kg | 8.30482438047571E-13 kg | |||
| Elementary flow | Emissions / Emissions to water / Emissions to fresh water | 1.08073684540895E-9 m3 | 1.08073684540895E-9 m3 | |||
| Elementary flow | Emissions / Emissions to soil / Emissions to agricultural soil | 4.04077092381694E-12 kg | 4.04077092381694E-12 kg | |||
| Elementary flow | Emissions / Emissions to soil / Emissions to non-agricultural soil | 6.62730160188392E-16 kg | 6.62730160188392E-16 kg | |||
| Elementary flow | Emissions / Emissions to air / Emissions to air, unspecified | 1.13685123236889E-6 kg | 1.13685123236889E-6 kg | |||
| Elementary flow | Emissions / Emissions to air / Emissions to air, unspecified | 1.83083212553543E-13 kg | 1.83083212553543E-13 kg | |||
| Elementary flow | Emissions / Emissions to soil / Emissions to agricultural soil | 1.643797284361E-17 kg | 1.643797284361E-17 kg | |||
| Elementary flow | Emissions / Emissions to water / Emissions to fresh water | 5.21895810028156E-13 kg | 5.21895810028156E-13 kg | |||
| Elementary flow | Emissions / Emissions to air / Emissions to air, unspecified | 4.4009364038265E-11 kg | 4.4009364038265E-11 kg | |||
| Elementary flow | Emissions / Emissions to soil / Emissions to agricultural soil | 3.46507073894021E-12 kg | 3.46507073894021E-12 kg | |||
| Elementary flow | Emissions / Emissions to air / Emissions to air, unspecified (long-term) | 7.47391389463595E-9 kg | 7.47391389463595E-9 kg | |||
| Elementary flow | Emissions / Emissions to air / Emissions to air, unspecified | 2.876598176609613E-13 kg | 2.876598176609613E-13 kg | |||
| Elementary flow | Emissions / Emissions to air / Emissions to air, unspecified | 1.55251788762995E-14 kg | 1.55251788762995E-14 kg | |||
| Elementary flow | Emissions / Emissions to soil / Emissions to agricultural soil | 5.13215365885803E-11 kg | 5.13215365885803E-11 kg | |||
| Elementary flow | Emissions / Emissions to soil / Emissions to non-agricultural soil | 1.66983093498149E-13 kg | 1.66983093498149E-13 kg | |||
| Elementary flow | Emissions / Emissions to air / Emissions to air, unspecified | 0.0015330353197489 kg | 0.0015330353197489 kg | |||
| Elementary flow | Emissions / Emissions to water / Emissions to fresh water | 4.400871262864E-8 m3 | 4.400871262864E-8 m3 | |||
| Elementary flow | Emissions / Emissions to water / Emissions to fresh water | 2.16348083661558E-13 kg | 2.16348083661558E-13 kg | |||
| Elementary flow | Emissions / Emissions to air / Emissions to air, unspecified (long-term) | 8.69635444142523E-7 kg | 8.69635444142523E-7 kg | |||
| Elementary flow | Emissions / Emissions to water / Emissions to fresh water | 2.10830155130046E-10 kg | 2.10830155130046E-10 kg | |||
| Elementary flow | Emissions / Emissions to soil / Emissions to agricultural soil | 2.04454373483454E-10 kg | 2.04454373483454E-10 kg | |||
| Elementary flow | Emissions / Emissions to water / Emissions to water, unspecified (long-term) | 7.03848285184152E-7 kg | 7.03848285184152E-7 kg | |||
| Elementary flow | Emissions / Emissions to air / Emissions to non-urban air or from high stacks | 8.00514445838351E-15 kg | 8.00514445838351E-15 kg | |||
| Elementary flow | Emissions / Emissions to soil / Emissions to agricultural soil | 1.1441302233121E-14 kg | 1.1441302233121E-14 kg | |||
| Elementary flow | Emissions / Emissions to soil / Emissions to agricultural soil | 4.92576361867408E-15 kg | 4.92576361867408E-15 kg | |||
| Elementary flow | Emissions / Emissions to soil / Emissions to agricultural soil | 3.55717288501622E-12 kg | 3.55717288501622E-12 kg | |||
| Elementary flow | Emissions / Emissions to soil / Emissions to agricultural soil | 6.44606049088289E-12 kg | 6.44606049088289E-12 kg | |||
| Elementary flow | Emissions / Emissions to air / Emissions to air, unspecified (long-term) | 1.0446679017168E-6 kg | 1.0446679017168E-6 kg | |||
| Elementary flow | Emissions / Emissions to water / Emissions to sea water | 2.60269359949537E-5 kBq | 2.60269359949537E-5 kBq | |||
| Elementary flow | Emissions / Emissions to air / Emissions to air, unspecified | 3.68553484021907E-17 kg | 3.68553484021907E-17 kg | |||
| Elementary flow | Emissions / Emissions to air / Emissions to air, unspecified | 6.59279905027243E-27 kg | 6.59279905027243E-27 kg | |||
| Elementary flow | Emissions / Emissions to water / Emissions to water, unspecified (long-term) | 3.34056282131162E-4 kg | 3.34056282131162E-4 kg | |||
| Elementary flow | Emissions / Emissions to air / Emissions to air, unspecified | 6.4787254659367E-5 kBq | 6.4787254659367E-5 kBq | |||
| Elementary flow | Emissions / Emissions to soil / Emissions to non-agricultural soil | 7.50682127643697E-15 kg | 7.50682127643697E-15 kg | |||
| Elementary flow | Emissions / Emissions to water / Emissions to fresh water | 4.1955872560193E-9 m3 | 4.1955872560193E-9 m3 | |||
| Elementary flow | Emissions / Emissions to water / Emissions to fresh water | 4.91562099147207E-13 kg | 4.91562099147207E-13 kg | |||
| Elementary flow | Emissions / Emissions to water / Emissions to fresh water | 1.1430485690509E-7 kg | 1.1430485690509E-7 kg | |||
| Elementary flow | Emissions / Emissions to air / Emissions to air, unspecified | 3.56836744576115E-8 kg | 3.56836744576115E-8 kg | |||
| Elementary flow | Emissions / Emissions to air / Emissions to urban air close to ground | 3.90064704614393E-9 kg | 3.90064704614393E-9 kg | |||
| Elementary flow | Emissions / Emissions to soil / Emissions to agricultural soil | 1.27598494774726E-17 kg | 1.27598494774726E-17 kg | |||
| Elementary flow | Emissions / Emissions to air / Emissions to air, unspecified | 4.25706957808606E-27 kg | 4.25706957808606E-27 kg | |||
| Elementary flow | Emissions / Emissions to air / Emissions to air, unspecified | 1.21373381723526E-26 kg | 1.21373381723526E-26 kg | |||
| Elementary flow | Emissions / Emissions to water / Emissions to fresh water | 5.95475278935112E-6 m3 | 5.95475278935112E-6 m3 | |||
| Elementary flow | Emissions / Emissions to soil / Emissions to agricultural soil | 1.46540042699157E-10 kg | 1.46540042699157E-10 kg | |||
| Elementary flow | Emissions / Emissions to air / Emissions to air, unspecified | 2.21791327843425E-11 kg | 2.21791327843425E-11 kg | |||
| Elementary flow | Emissions / Emissions to water / Emissions to water, unspecified | 4.30023051097851E-16 kg | 4.30023051097851E-16 kg | |||
| Elementary flow | Emissions / Emissions to air / Emissions to air, unspecified | 3.87653013128488E-15 kg | 3.87653013128488E-15 kg | |||
| Elementary flow | Emissions / Emissions to water / Emissions to water, unspecified | 2.31702633547295E-15 kg | 2.31702633547295E-15 kg | |||
| Elementary flow | Emissions / Emissions to water / Emissions to fresh water | 6.4585248303119E-17 kg | 6.4585248303119E-17 kg | |||
| Elementary flow | Emissions / Emissions to air / Emissions to air, unspecified | 3.77903451367296E-9 kg | 3.77903451367296E-9 kg | |||
| Elementary flow | Emissions / Emissions to air / Emissions to air, unspecified | 2.55565893298403E-5 kBq | 2.55565893298403E-5 kBq | |||
| Elementary flow | Emissions / Emissions to air / Emissions to air, unspecified | 8.53158664781071E-10 kg | 8.53158664781071E-10 kg | |||
| Elementary flow | Emissions / Emissions to water / Emissions to fresh water | -3.58878623719382E-13 kg | -3.58878623719382E-13 kg | |||
| Elementary flow | Emissions / Emissions to air / Emissions to air, unspecified | 3.68915654446703E-6 kBq | 3.68915654446703E-6 kBq | |||
| Elementary flow | Emissions / Emissions to soil / Emissions to non-agricultural soil | 1.72333451384588E-10 kg | 1.72333451384588E-10 kg | |||
| Elementary flow | Emissions / Emissions to water / Emissions to fresh water | 1.97258345995553E-6 kg | 1.97258345995553E-6 kg | |||
| Elementary flow | Emissions / Emissions to air / Emissions to air, unspecified | 8.28987356764082E-11 kg | 8.28987356764082E-11 kg | |||
| Elementary flow | Emissions / Emissions to air / Emissions to air, unspecified | 1.26213716766275E-17 kg | 1.26213716766275E-17 kg | |||
| Elementary flow | Emissions / Emissions to air / Emissions to air, unspecified | 1.33631272027168E-9 kg | 1.33631272027168E-9 kg | |||
| Elementary flow | Emissions / Emissions to water / Emissions to sea water | 1.24716668709129E-27 kg | 1.24716668709129E-27 kg | |||
| Elementary flow | Emissions / Emissions to air / Emissions to air, unspecified | 1.87955154556583E-9 kg | 1.87955154556583E-9 kg | |||
| Elementary flow | Emissions / Emissions to air / Emissions to air, unspecified | 0.0552664022520042 kBq | 0.0552664022520042 kBq | |||
| Waste flow | Wastes | 5.4322715049058E-7 kg | 5.4322715049058E-7 kg | |||
| Elementary flow | Emissions / Emissions to air / Emissions to air, unspecified | 1.75366842209848E-14 kg | 1.75366842209848E-14 kg | |||
| Elementary flow | Emissions / Emissions to water / Emissions to fresh water | 7.16465116759534E-9 m3 | 7.16465116759534E-9 m3 | |||
| Elementary flow | Emissions / Emissions to air / Emissions to air, unspecified (long-term) | 3.7935545043484E-10 kg | 3.7935545043484E-10 kg | |||
| Elementary flow | Emissions / Emissions to air / Emissions to urban air close to ground | 7.55705841992325E-10 kg | 7.55705841992325E-10 kg | |||
| Elementary flow | Emissions / Emissions to air / Emissions to air, unspecified | 3.04653233191341E-13 kg | 3.04653233191341E-13 kg | |||
| Elementary flow | Emissions / Emissions to soil / Emissions to non-agricultural soil | 1.24432690437146E-14 kg | 1.24432690437146E-14 kg | |||
| Elementary flow | Emissions / Emissions to air / Emissions to air, unspecified | 1.41652499852591E-20 kg | 1.41652499852591E-20 kg | |||
| Elementary flow | Emissions / Emissions to air / Emissions to air, unspecified | 3.13474744329507E-7 kg | 3.13474744329507E-7 kg | |||
| Elementary flow | Emissions / Emissions to air / Emissions to air, unspecified (long-term) | 4.69809892638595E-10 kg | 4.69809892638595E-10 kg | |||
| Elementary flow | Emissions / Emissions to soil / Emissions to agricultural soil | 2.98958409874977E-21 kg | 2.98958409874977E-21 kg | |||
| Elementary flow | Emissions / Emissions to air / Emissions to air, unspecified | 8.56626455485542E-14 kg | 8.56626455485542E-14 kg | |||
| Elementary flow | Emissions / Emissions to water / Emissions to fresh water | 6.4155687924294E-9 kg | 6.4155687924294E-9 kg | |||
| Elementary flow | Emissions / Emissions to water / Emissions to fresh water | 5.74836146377357E-15 kg | 5.74836146377357E-15 kg | |||
| Elementary flow | Emissions / Emissions to air / Emissions to lower stratosphere and upper troposphere | 2.71159850134544E-9 kg | 2.71159850134544E-9 kg | |||
| Elementary flow | Emissions / Emissions to water / Emissions to sea water | 2.77602103187723E-6 kBq | 2.77602103187723E-6 kBq | |||
| Elementary flow | Emissions / Emissions to water / Emissions to fresh water | 4.08025592105627E-5 m3 | 4.08025592105627E-5 m3 | |||
| Elementary flow | Emissions / Emissions to soil / Emissions to agricultural soil | 8.5039116560608E-16 kg | 8.5039116560608E-16 kg | |||
| Elementary flow | Emissions / Emissions to soil / Emissions to agricultural soil | 1.35238848796961E-9 kg | 1.35238848796961E-9 kg | |||
| Elementary flow | Emissions / Emissions to air / Emissions to air, unspecified | 2.23685576619164E-13 kg | 2.23685576619164E-13 kg | |||
| Elementary flow | Emissions / Emissions to water / Emissions to water, unspecified | 6.48748938746531E-16 kg | 6.48748938746531E-16 kg | |||
| Elementary flow | Emissions / Emissions to water / Emissions to fresh water | 8.2197461791921E-8 kBq | 8.2197461791921E-8 kBq | |||
| Elementary flow | Emissions / Emissions to water / Emissions to fresh water | 2.5399943608903E-9 kg | 2.5399943608903E-9 kg | |||
| Elementary flow | Emissions / Emissions to air / Emissions to air, unspecified | 3.10010377264178E-10 kg | 3.10010377264178E-10 kg | |||
| Elementary flow | Emissions / Emissions to air / Emissions to air, unspecified | 1.85471943369702E-10 kg | 1.85471943369702E-10 kg | |||
| Elementary flow | Emissions / Emissions to air / Emissions to air, unspecified | 2.35344558340567E-9 kBq | 2.35344558340567E-9 kBq | |||
| Elementary flow | Emissions / Emissions to water / Emissions to water, unspecified (long-term) | 3.5161724078882E-6 kg | 3.5161724078882E-6 kg | |||
| Elementary flow | Emissions / Emissions to water / Emissions to water, unspecified | 3.2855924508333E-16 kg | 3.2855924508333E-16 kg | |||
| Elementary flow | Emissions / Emissions to water / Emissions to sea water | 0.00386438156675728 kg | 0.00386438156675728 kg | |||
| Elementary flow | Emissions / Emissions to water / Emissions to fresh water | 2.39947314869354E-5 m3 | 2.39947314869354E-5 m3 | |||
| Elementary flow | Emissions / Emissions to air / Emissions to air, unspecified | 1.80519013971709E-13 kg | 1.80519013971709E-13 kg | |||
| Elementary flow | Emissions / Emissions to soil / Emissions to agricultural soil | 9.64902232077894E-14 kg | 9.64902232077894E-14 kg | |||
| Elementary flow | Emissions / Emissions to water / Emissions to sea water | 1.09300543869391E-10 kg | 1.09300543869391E-10 kg | |||
| Elementary flow | Emissions / Emissions to air / Emissions to non-urban air or from high stacks | 4.52690831799928E-20 kg | 4.52690831799928E-20 kg | |||
| Elementary flow | Emissions / Emissions to water / Emissions to fresh water | 2.32062480480958E-15 kg | 2.32062480480958E-15 kg | |||
| Elementary flow | Emissions / Emissions to water / Emissions to water, unspecified (long-term) | 1.45748116319478E-7 kg | 1.45748116319478E-7 kg | |||
| Elementary flow | Emissions / Emissions to water / Emissions to fresh water | 1.18791158563606E-9 kg | 1.18791158563606E-9 kg | |||
| Elementary flow | Emissions / Emissions to air / Emissions to air, unspecified | 3.76164490555364E-8 kg | 3.76164490555364E-8 kg | |||
| Elementary flow | Emissions / Emissions to air / Emissions to air, unspecified | 7.28784060048229E-25 kg | 7.28784060048229E-25 kg | |||
| Elementary flow | Emissions / Emissions to air / Emissions to non-urban air or from high stacks | 1.09996443064311E-11 kg | 1.09996443064311E-11 kg | |||
| Elementary flow | Emissions / Emissions to water / Emissions to sea water | 5.31892715526204E-9 kg | 5.31892715526204E-9 kg | |||
| Elementary flow | Emissions / Emissions to air / Emissions to air, unspecified | 2.32214887807358E-13 kg | 2.32214887807358E-13 kg | |||
| Elementary flow | Emissions / Emissions to air / Emissions to lower stratosphere and upper troposphere | 2.32214887807358E-13 kg | 2.32214887807358E-13 kg | |||
| Elementary flow | Emissions / Emissions to air / Emissions to air, unspecified | 1.5006014945052E-25 kg | 1.5006014945052E-25 kg | |||
| Elementary flow | Emissions / Emissions to air / Emissions to non-urban air or from high stacks | 1.11567410892359E-9 kg | 1.11567410892359E-9 kg | |||
| Elementary flow | Emissions / Emissions to air / Emissions to urban air close to ground | 1.56164721867988E-8 kg | 1.56164721867988E-8 kg | |||
| Elementary flow | Emissions / Emissions to water / Emissions to fresh water | 4.44793728731101E-10 kg | 4.44793728731101E-10 kg | |||
| Elementary flow | Emissions / Emissions to water / Emissions to water, unspecified (long-term) | 1.72905423952667E-5 kg | 1.72905423952667E-5 kg | |||
| Elementary flow | Emissions / Emissions to water / Emissions to sea water | 0.00177298243927284 kBq | 0.00177298243927284 kBq | |||
| Elementary flow | Emissions / Emissions to water / Emissions to water, unspecified (long-term) | 4.15455311741367E-4 kg | 4.15455311741367E-4 kg | |||
| Elementary flow | Emissions / Emissions to air / Emissions to air, unspecified | 1.20044413471487E-7 kBq | 1.20044413471487E-7 kBq | |||
| Elementary flow | Emissions / Emissions to air / Emissions to air, unspecified | 8.92582156872322E-9 kg | 8.92582156872322E-9 kg | |||
| Elementary flow | Emissions / Emissions to water / Emissions to fresh water | 7.92074457187749E-13 kg | 7.92074457187749E-13 kg | |||
| Elementary flow | Emissions / Emissions to air / Emissions to air, unspecified | 1.25359151991959E-6 kBq | 1.25359151991959E-6 kBq | |||
| Elementary flow | Emissions / Emissions to water / Emissions to fresh water | 1.13367565849952E-13 kg | 1.13367565849952E-13 kg | |||
| Elementary flow | Emissions / Emissions to air / Emissions to urban air close to ground | 5.26259332092733E-14 kg | 5.26259332092733E-14 kg | |||
| Elementary flow | Emissions / Emissions to soil / Emissions to agricultural soil | 1.05642854520707E-15 kg | 1.05642854520707E-15 kg | |||
| Elementary flow | Emissions / Emissions to soil / Emissions to agricultural soil | 8.02595981529779E-15 kg | 8.02595981529779E-15 kg | |||
| Elementary flow | Emissions / Emissions to water / Emissions to sea water | 4.77452357528239E-8 kg | 4.77452357528239E-8 kg | |||
| Elementary flow | Emissions / Emissions to water / Emissions to fresh water | 0.00156659356913831 kBq | 0.00156659356913831 kBq | |||
| Elementary flow | Emissions / Emissions to air / Emissions to urban air close to ground | 7.28059971422487E-10 kg | 7.28059971422487E-10 kg | |||
| Elementary flow | Emissions / Emissions to air / Emissions to non-urban air or from high stacks | 3.45849999996418E-4 m3 | 3.45849999996418E-4 m3 | |||
| Elementary flow | Emissions / Emissions to air / Emissions to air, unspecified (long-term) | 1.94999047443571E-11 kg | 1.94999047443571E-11 kg | |||
| Elementary flow | Emissions / Emissions to soil / Emissions to non-agricultural soil | 7.51551878232309E-8 kg | 7.51551878232309E-8 kg | |||
| Elementary flow | Emissions / Emissions to water / Emissions to fresh water | 6.99571017971247E-4 kBq | 6.99571017971247E-4 kBq | |||
| Elementary flow | Emissions / Emissions to soil / Emissions to non-agricultural soil | 7.57448009880157E-11 kg | 7.57448009880157E-11 kg | |||
| Elementary flow | Emissions / Emissions to water / Emissions to fresh water | 1.2742288469763E-11 m3 | 1.2742288469763E-11 m3 | |||
| Elementary flow | Emissions / Emissions to water / Emissions to fresh water | 9.8244391835758E-13 kg | 9.8244391835758E-13 kg | |||
| Elementary flow | Emissions / Emissions to water / Emissions to sea water | 3.54236513592031E-29 kg | 3.54236513592031E-29 kg | |||
| Elementary flow | Emissions / Emissions to air / Emissions to air, unspecified | 3.62669387683207E-13 kg | 3.62669387683207E-13 kg | |||
| Elementary flow | Emissions / Emissions to air / Emissions to non-urban air or from high stacks | 2.38685813684446E-4 kg | 2.38685813684446E-4 kg | |||
| Elementary flow | Emissions / Emissions to air / Emissions to air, unspecified | 2.80639280736602E-11 kg | 2.80639280736602E-11 kg | |||
| Elementary flow | Emissions / Emissions to water / Emissions to fresh water | 3.05263704345792E-8 kg | 3.05263704345792E-8 kg | |||
| Elementary flow | Emissions / Emissions to air / Emissions to air, unspecified | 5.50820448063874E-15 kg | 5.50820448063874E-15 kg | |||
| Elementary flow | Emissions / Emissions to soil / Emissions to non-agricultural soil | 6.19904703291564E-14 kg | 6.19904703291564E-14 kg | |||
| Elementary flow | Emissions / Emissions to water / Emissions to fresh water | 5.670935651878327E-5 kg | 5.670935651878327E-5 kg | |||
| Waste flow | Wastes / Other waste | 0.0331139397917112 kg | 0.0331139397917112 kg | |||
| Elementary flow | Emissions / Emissions to water / Emissions to fresh water | 1.86004588200149E-4 m3 | 1.86004588200149E-4 m3 | |||
| Elementary flow | Emissions / Emissions to air / Emissions to air, unspecified | 1.73583993111119E-10 kg | 1.73583993111119E-10 kg | |||
| Elementary flow | Emissions / Emissions to soil / Emissions to agricultural soil | 6.45863445925868E-13 kg | 6.45863445925868E-13 kg | |||
| Elementary flow | Emissions / Emissions to water / Emissions to fresh water | 5.55370309168787E-9 kBq | 5.55370309168787E-9 kBq | |||
| Elementary flow | Emissions / Emissions to air / Emissions to air, unspecified | 3.07846063457729E-10 kg | 3.07846063457729E-10 kg | |||
| Elementary flow | Emissions / Emissions to air / Emissions to air, unspecified | -2.03469551152739E-23 kg | -2.03469551152739E-23 kg | |||
| Elementary flow | Emissions / Emissions to water / Emissions to fresh water | 3.47321813936068E-12 kg | 3.47321813936068E-12 kg | |||
| Elementary flow | Emissions / Emissions to air / Emissions to air, unspecified | 3.92710088492834E-13 kg | 3.92710088492834E-13 kg | |||
| Elementary flow | Emissions / Emissions to air / Emissions to urban air close to ground | 4.20136775077876E-7 kg | 4.20136775077876E-7 kg | |||
| Elementary flow | Emissions / Emissions to water / Emissions to fresh water | 1.07543209062631E-8 kg | 1.07543209062631E-8 kg | |||
| Elementary flow | Emissions / Emissions to water / Emissions to fresh water | 3.52522138833467E-8 kg | 3.52522138833467E-8 kg | |||
| Elementary flow | Emissions / Emissions to air / Emissions to air, unspecified (long-term) | 9.91479750396139E-8 kg | 9.91479750396139E-8 kg | |||
| Waste flow | Wastes / Other waste | 1.46415479256371E-13 kg | 1.46415479256371E-13 kg | |||
| Elementary flow | Emissions / Emissions to air / Emissions to air, unspecified | 1.32537996882767E-11 kg | 1.32537996882767E-11 kg | |||
| Elementary flow | Emissions / Emissions to water / Emissions to sea water | 1.22681769105224E-7 kg | 1.22681769105224E-7 kg | |||
| Elementary flow | Emissions / Emissions to water / Emissions to fresh water | 9.34280929362472E-9 kg | 9.34280929362472E-9 kg | |||
| Elementary flow | Emissions / Emissions to water / Emissions to fresh water | 2.71693264359007E-6 kg | 2.71693264359007E-6 kg | |||
| Elementary flow | Emissions / Emissions to water / Emissions to fresh water | -4.06173651780672E-22 kg | -4.06173651780672E-22 kg | |||
| Elementary flow | Emissions / Emissions to water / Emissions to fresh water | 3.81483678536668E-9 m3 | 3.81483678536668E-9 m3 | |||
| Elementary flow | Emissions / Emissions to soil / Emissions to agricultural soil | 3.07125335400446E-13 kg | 3.07125335400446E-13 kg | |||
| Elementary flow | Emissions / Emissions to water / Emissions to fresh water | 1.15549413162839E-5 kBq | 1.15549413162839E-5 kBq | |||
| Elementary flow | Emissions / Emissions to water / Emissions to fresh water | 7.49923966518417E-16 kg | 7.49923966518417E-16 kg | |||
| Elementary flow | Emissions / Emissions to water / Emissions to fresh water | 1.03115095750227E-5 kBq | 1.03115095750227E-5 kBq | |||
| Elementary flow | Emissions / Emissions to air / Emissions to air, unspecified | 8.71917968966924E-11 kg | 8.71917968966924E-11 kg | |||
| Elementary flow | Emissions / Emissions to air / Emissions to air, unspecified | 6.28490097226218E-11 kg | 6.28490097226218E-11 kg | |||
| Elementary flow | Emissions / Emissions to air / Emissions to air, unspecified | 3.68547692104508E-13 kg | 3.68547692104508E-13 kg | |||
| Elementary flow | Emissions / Emissions to air / Emissions to air, unspecified | 8.04746952784189E-10 kBq | 8.04746952784189E-10 kBq | |||
| Elementary flow | Emissions / Emissions to water / Emissions to water, unspecified | 7.46891823436944E-16 kg | 7.46891823436944E-16 kg | |||
| Elementary flow | Emissions / Emissions to air / Emissions to air, unspecified (long-term) | 8.43000667923919E-5 kg | 8.43000667923919E-5 kg | |||
| Elementary flow | Emissions / Emissions to air / Emissions to air, unspecified (long-term) | 2.96470368420442E-11 kg | 2.96470368420442E-11 kg | |||
| Elementary flow | Emissions / Emissions to air / Emissions to air, unspecified | 1.73145829339269E-9 kBq | 1.73145829339269E-9 kBq | |||
| Elementary flow | Emissions / Emissions to air / Emissions to air, unspecified | 9.23157156910768E-14 kg | 9.23157156910768E-14 kg | |||
| Elementary flow | Emissions / Emissions to water / Emissions to sea water | 2.43266204044858E-7 kg | 2.43266204044858E-7 kg | |||
| Elementary flow | Emissions / Emissions to air / Emissions to non-urban air or from high stacks | 4.77843552355207E-21 kg | 4.77843552355207E-21 kg | |||
| Elementary flow | Emissions / Emissions to water / Emissions to sea water | 6.20541500303415E-6 kg | 6.20541500303415E-6 kg | |||
| Elementary flow | Emissions / Emissions to air / Emissions to air, unspecified | 1.95383356978639E-8 kg | 1.95383356978639E-8 kg | |||
| Elementary flow | Emissions / Emissions to water / Emissions to fresh water | 9.68063910348822E-4 m3 | 9.68063910348822E-4 m3 | |||
| Elementary flow | Emissions / Emissions to soil / Emissions to agricultural soil | 7.50785535047064E-15 kg | 7.50785535047064E-15 kg | |||
| Elementary flow | Emissions / Emissions to water / Emissions to water, unspecified (long-term) | 5.2891375097495E-5 kg | 5.2891375097495E-5 kg | |||
| Elementary flow | Emissions / Emissions to water / Emissions to sea water | 2.14536501597623E-9 kg | 2.14536501597623E-9 kg | |||
| Elementary flow | Emissions / Emissions to soil / Emissions to agricultural soil | 1.01219847685572E-6 kg | 1.01219847685572E-6 kg | |||
| Elementary flow | Emissions / Emissions to water / Emissions to fresh water | -1.15557265738762E-9 m3 | -1.15557265738762E-9 m3 | |||
| Elementary flow | Emissions / Emissions to soil / Emissions to agricultural soil | 1.24520205159585E-12 kg | 1.24520205159585E-12 kg | |||
| Elementary flow | Emissions / Emissions to air / Emissions to non-urban air or from high stacks | 0.0022434110309851 kg | 0.0022434110309851 kg | |||
| Elementary flow | Emissions / Emissions to water / Emissions to fresh water | 1.24064227023659E-10 kg | 1.24064227023659E-10 kg | |||
| Elementary flow | Emissions / Emissions to air / Emissions to air, unspecified (long-term) | 1.08316275035597E-7 MJ | 1.08316275035597E-7 MJ | |||
| Elementary flow | Emissions / Emissions to air / Emissions to air, unspecified | 2.58836772953212E-14 kg | 2.58836772953212E-14 kg | |||
| Elementary flow | Emissions / Emissions to air / Emissions to air, unspecified | 1.16217086357372E-10 kg | 1.16217086357372E-10 kg | |||
| Elementary flow | Emissions / Emissions to water / Emissions to sea water | 2.23978466187397E-6 kBq | 2.23978466187397E-6 kBq | |||
| Elementary flow | Emissions / Emissions to water / Emissions to fresh water | 5.16801777364707E-10 m3 | 5.16801777364707E-10 m3 | |||
| Elementary flow | Emissions / Emissions to water / Emissions to fresh water | 7.53958896946429E-18 kg | 7.53958896946429E-18 kg | |||
| Elementary flow | Emissions / Emissions to soil / Emissions to non-agricultural soil | 4.55905395090931E-11 kg | 4.55905395090931E-11 kg | |||
| Elementary flow | Emissions / Emissions to air / Emissions to air, unspecified | 1.2367407535704E-11 kg | 1.2367407535704E-11 kg | |||
| Elementary flow | Emissions / Emissions to air / Emissions to air, unspecified | 4.16373728269707E-6 kg | 4.16373728269707E-6 kg | |||
| Elementary flow | Emissions / Emissions to water / Emissions to fresh water | 2.47201184186122E-9 kg | 2.47201184186122E-9 kg | |||
| Elementary flow | Emissions / Emissions to soil / Emissions to agricultural soil | 1.03183869379583E-13 kg | 1.03183869379583E-13 kg | |||
| Elementary flow | Emissions / Emissions to air / Emissions to air, unspecified | 6.01901038448207E-11 kg | 6.01901038448207E-11 kg | |||
| Elementary flow | Emissions / Emissions to soil / Emissions to agricultural soil | 3.25512122643687E-15 kg | 3.25512122643687E-15 kg | |||
| Elementary flow | Emissions / Emissions to soil / Emissions to agricultural soil | 4.05429874487117E-27 kg | 4.05429874487117E-27 kg | |||
| Elementary flow | Emissions / Emissions to water / Emissions to fresh water | 3.6673570740379E-8 m3 | 3.6673570740379E-8 m3 | |||
| Elementary flow | Emissions / Emissions to air / Emissions to urban air close to ground | 3.33304504571248E-9 kg | 3.33304504571248E-9 kg | |||
| Elementary flow | Emissions / Emissions to soil / Emissions to agricultural soil | 1.78275804165615E-7 kg | 1.78275804165615E-7 kg | |||
| Elementary flow | Emissions / Emissions to water / Emissions to water, unspecified | 8.76176907405661E-17 kg | 8.76176907405661E-17 kg | |||
| Elementary flow | Emissions / Emissions to water / Emissions to fresh water | 2.40004764118788E-4 kBq | 2.40004764118788E-4 kBq | |||
| Elementary flow | Emissions / Emissions to air / Emissions to non-urban air or from high stacks | 4.59399995473194E-8 kg | 4.59399995473194E-8 kg | |||
| Elementary flow | Emissions / Emissions to air / Emissions to urban air close to ground | 1.97045715268478E-11 kg | 1.97045715268478E-11 kg | |||
| Elementary flow | Emissions / Emissions to air / Emissions to air, unspecified | 2.33638326653372E-7 kg | 2.33638326653372E-7 kg | |||
| Elementary flow | Emissions / Emissions to water / Emissions to fresh water | 6.25905781024856E-11 kg | 6.25905781024856E-11 kg | |||
| Elementary flow | Emissions / Emissions to soil / Emissions to agricultural soil | 2.39726398445058E-16 kg | 2.39726398445058E-16 kg | |||
| Elementary flow | Emissions / Emissions to air / Emissions to air, unspecified | 5.71021081582892E-12 kg | 5.71021081582892E-12 kg | |||
| Elementary flow | Emissions / Emissions to soil / Emissions to agricultural soil | 2.54831756215302E-13 kg | 2.54831756215302E-13 kg | |||
| Elementary flow | Emissions / Emissions to air / Emissions to air, unspecified | 2.35909667945164E-5 kBq | 2.35909667945164E-5 kBq | |||
| Elementary flow | Emissions / Emissions to water / Emissions to fresh water | 5.96264562087769E-8 kBq | 5.96264562087769E-8 kBq | |||
| Elementary flow | Emissions / Emissions to water / Emissions to sea water | 7.4983389092082E-8 kg | 7.4983389092082E-8 kg | |||
| Elementary flow | Emissions / Emissions to water / Emissions to fresh water | 1.3562243435447E-13 kg | 1.3562243435447E-13 kg | |||
| Elementary flow | Emissions / Emissions to soil / Emissions to non-agricultural soil | 2.18998319855596E-9 kg | 2.18998319855596E-9 kg | |||
| Elementary flow | Emissions / Emissions to water / Emissions to water, unspecified | 3.5181241963526E-8 kg | 3.5181241963526E-8 kg | |||
| Elementary flow | Emissions / Emissions to air / Emissions to air, unspecified | 6.83312345490687E-13 kg | 6.83312345490687E-13 kg | |||
| Elementary flow | Emissions / Emissions to soil / Emissions to non-agricultural soil | 3.49665669231842E-5 kg | 3.49665669231842E-5 kg | |||
| Elementary flow | Emissions / Emissions to water / Emissions to fresh water | 7.35445494933298E-13 kg | 7.35445494933298E-13 kg | |||
| Elementary flow | Emissions / Emissions to water / Emissions to fresh water | 7.354880713642794E-7 kg | 7.354880713642794E-7 kg | |||
| Elementary flow | Emissions / Emissions to water / Emissions to fresh water | 4.86377664219522E-20 kg | 4.86377664219522E-20 kg | |||
| Elementary flow | Emissions / Emissions to air / Emissions to air, unspecified | 0.283189134718954 kg | 0.283189134718954 kg | |||
| Elementary flow | Emissions / Emissions to water / Emissions to fresh water | -3.40342944631081E-20 kg | -3.40342944631081E-20 kg | |||
| Elementary flow | Emissions / Emissions to water / Emissions to sea water | 3.60192468847548E-7 kg | 3.60192468847548E-7 kg | |||
| Elementary flow | Emissions / Emissions to soil / Emissions to agricultural soil | 1.77901680698083E-10 kg | 1.77901680698083E-10 kg | |||
| Elementary flow | Emissions / Emissions to air / Emissions to non-urban air or from high stacks | 3.44024449065218E-9 kg | 3.44024449065218E-9 kg | |||
| Elementary flow | Emissions / Emissions to air / Emissions to air, unspecified | 2.34660244843708E-13 kg | 2.34660244843708E-13 kg | |||
| Elementary flow | Emissions / Emissions to air / Emissions to lower stratosphere and upper troposphere | 2.34660244843708E-13 kg | 2.34660244843708E-13 kg | |||
| Elementary flow | Emissions / Emissions to water / Emissions to fresh water | 4.09216679072319E-17 kg | 4.09216679072319E-17 kg | |||
| Elementary flow | Emissions / Emissions to soil / Emissions to agricultural soil | 2.81204537746673E-9 kg | 2.81204537746673E-9 kg | |||
| Elementary flow | Emissions / Emissions to water / Emissions to fresh water | 1.12444021767024E-7 m3 | 1.12444021767024E-7 m3 | |||
| Elementary flow | Emissions / Emissions to water / Emissions to water, unspecified (long-term) | 3.35643523749666E-6 kg | 3.35643523749666E-6 kg | |||
| Elementary flow | Emissions / Emissions to water / Emissions to fresh water | 5.9331484374104E-19 kg | 5.9331484374104E-19 kg | |||
| Elementary flow | Emissions / Emissions to water / Emissions to fresh water | 2.92756668631832E-21 kg | 2.92756668631832E-21 kg | |||
| Elementary flow | Emissions / Emissions to soil / Emissions to non-agricultural soil | 3.37408974224332E-12 kg | 3.37408974224332E-12 kg | |||
| Elementary flow | Emissions / Emissions to water / Emissions to sea water | 1.01623134963686E-10 kg | 1.01623134963686E-10 kg | |||
| Elementary flow | Emissions / Emissions to water / Emissions to fresh water | 3.60956022212934E-8 kg | 3.60956022212934E-8 kg | |||
| Elementary flow | Emissions / Emissions to air / Emissions to air, unspecified | 2.36318553822697E-5 kg | 2.36318553822697E-5 kg | |||
| Elementary flow | Emissions / Emissions to air / Emissions to air, unspecified | 1.25853737012203E-5 kg | 1.25853737012203E-5 kg | |||
| Elementary flow | Emissions / Emissions to air / Emissions to air, unspecified | 1.09342196520471E-7 kg | 1.09342196520471E-7 kg | |||
| Elementary flow | Emissions / Emissions to water / Emissions to fresh water | 7.6474695584854E-5 kBq | 7.6474695584854E-5 kBq | |||
| Elementary flow | Emissions / Emissions to water / Emissions to water, unspecified (long-term) | 4.14763092430313E-6 kg | 4.14763092430313E-6 kg | |||
| Elementary flow | Emissions / Emissions to air / Emissions to non-urban air or from high stacks | 1.91788992796199E-12 kg | 1.91788992796199E-12 kg | |||
| Elementary flow | Emissions / Emissions to air / Emissions to air, unspecified | 6.03044402797605E-4 kg | 6.03044402797605E-4 kg | |||
| Elementary flow | Emissions / Emissions to water / Emissions to water, unspecified (long-term) | 1.90303020401402E-7 kg | 1.90303020401402E-7 kg | |||
| Elementary flow | Emissions / Emissions to air / Emissions to air, unspecified | 4.37060808334037E-4 kBq | 4.37060808334037E-4 kBq | |||
| Elementary flow | Emissions / Emissions to water / Emissions to water, unspecified | 6.02366304928012E-15 kg | 6.02366304928012E-15 kg | |||
| Elementary flow | Emissions / Emissions to air / Emissions to air, unspecified | 1.65650809949098E-22 kg | 1.65650809949098E-22 kg | |||
| Elementary flow | Emissions / Emissions to water / Emissions to sea water | 2.25555411690715E-8 kBq | 2.25555411690715E-8 kBq | |||
| Elementary flow | Emissions / Emissions to soil / Emissions to non-agricultural soil | 6.99575962842878E-14 kg | 6.99575962842878E-14 kg | |||
| Elementary flow | Emissions / Emissions to water / Emissions to fresh water | 2.1600275367553E-4 kBq | 2.1600275367553E-4 kBq | |||
| Elementary flow | Emissions / Emissions to soil / Emissions to agricultural soil | 2.69381264187318E-15 kg | 2.69381264187318E-15 kg | |||
| Elementary flow | Emissions / Emissions to air / Emissions to air, unspecified | 2.97382453344928E-11 kg | 2.97382453344928E-11 kg | |||
| Elementary flow | Emissions / Emissions to air / Emissions to air, unspecified | -4.73110570851087E-22 kg | -4.73110570851087E-22 kg | |||
| Elementary flow | Emissions / Emissions to water / Emissions to fresh water | 3.1677922291269E-13 kg | 3.1677922291269E-13 kg | |||
| Elementary flow | Emissions / Emissions to water / Emissions to sea water | 5.30753696938673E-11 kg | 5.30753696938673E-11 kg | |||
| Elementary flow | Emissions / Emissions to soil / Emissions to non-agricultural soil | 5.19109162219352E-15 kg | 5.19109162219352E-15 kg | |||
| Elementary flow | Emissions / Emissions to water / Emissions to sea water | 3.86736409997067E-4 kg | 3.86736409997067E-4 kg | |||
| Elementary flow | Emissions / Emissions to air / Emissions to lower stratosphere and upper troposphere | 4.05432838287916E-13 kg | 4.05432838287916E-13 kg | |||
| Elementary flow | Emissions / Emissions to water / Emissions to fresh water | 1.68019437035315E-6 kBq | 1.68019437035315E-6 kBq | |||
| Elementary flow | Emissions / Emissions to water / Emissions to fresh water | 4.41633430141559E-7 m3 | 4.41633430141559E-7 m3 | |||
| Elementary flow | Emissions / Emissions to water / Emissions to fresh water | 3.25151312636487E-10 kg | 3.25151312636487E-10 kg | |||
| Elementary flow | Emissions / Emissions to soil / Emissions to agricultural soil | 2.99219773201227E-15 kg | 2.99219773201227E-15 kg | |||
| Elementary flow | Emissions / Emissions to air / Emissions to air, unspecified | 9.60370257373558E-14 kg | 9.60370257373558E-14 kg | |||
| Elementary flow | Emissions / Emissions to water / Emissions to fresh water | 6.6780508312607E-14 kg | 6.6780508312607E-14 kg | |||
| Elementary flow | Emissions / Emissions to water / Emissions to fresh water | 1.11862595242376E-13 kg | 1.11862595242376E-13 kg | |||
| Elementary flow | Emissions / Emissions to water / Emissions to fresh water | 1.23567013556071E-16 kg | 1.23567013556071E-16 kg | |||
| Elementary flow | Emissions / Emissions to air / Emissions to air, unspecified | 1.83352933574506E-14 kg | 1.83352933574506E-14 kg | |||
| Elementary flow | Emissions / Emissions to water / Emissions to fresh water | 5.59170074910273E-12 kg | 5.59170074910273E-12 kg | |||
| Elementary flow | Emissions / Emissions to soil / Emissions to agricultural soil | 5.51618324999181E-11 kg | 5.51618324999181E-11 kg | |||
| Elementary flow | Emissions / Emissions to water / Emissions to fresh water | 4.88258685804358E-17 kg | 4.88258685804358E-17 kg | |||
| Elementary flow | Emissions / Emissions to air / Emissions to air, unspecified | 4.20341440074337E-12 kBq | 4.20341440074337E-12 kBq | |||
| Elementary flow | Emissions / Emissions to air / Emissions to air, unspecified (long-term) | 2.76835018563818E-10 kg | 2.76835018563818E-10 kg | |||
| Elementary flow | Emissions / Emissions to air / Emissions to non-urban air or from high stacks | 1.37760086621106E-7 kg | 1.37760086621106E-7 kg | |||
| Elementary flow | Emissions / Emissions to water / Emissions to fresh water | 8.07078714318113E-16 kg | 8.07078714318113E-16 kg | |||
| Elementary flow | Emissions / Emissions to soil / Emissions to agricultural soil | 2.59159921184258E-14 kg | 2.59159921184258E-14 kg | |||
| Elementary flow | Emissions / Emissions to soil / Emissions to non-agricultural soil | 3.93586282870924E-11 kg | 3.93586282870924E-11 kg | |||
| Elementary flow | Emissions / Emissions to soil / Emissions to agricultural soil | 1.73597616185693E-10 kg | 1.73597616185693E-10 kg | |||
| Elementary flow | Emissions / Emissions to air / Emissions to air, unspecified | 9.49692467203972E-11 kg | 9.49692467203972E-11 kg | |||
| Elementary flow | Emissions / Emissions to water / Emissions to fresh water | 3.11524864225889E-10 kg | 3.11524864225889E-10 kg | |||
| Elementary flow | Emissions / Emissions to soil / Emissions to agricultural soil | 9.69486477531514E-15 kg | 9.69486477531514E-15 kg | |||
| Elementary flow | Emissions / Emissions to water / Emissions to fresh water | 1.36313057545741E-9 m3 | 1.36313057545741E-9 m3 | |||
| Elementary flow | Emissions / Emissions to air / Emissions to air, unspecified | 3.15046796538893E-12 kg | 3.15046796538893E-12 kg | |||
| Elementary flow | Emissions / Emissions to soil / Emissions to non-agricultural soil | 4.06003437123797E-8 kg | 4.06003437123797E-8 kg | |||
| Waste flow | Wastes / Radioactive waste | 2.15571770301789E-8 kg | 2.15571770301789E-8 kg | |||
| Elementary flow | Emissions / Emissions to water / Emissions to sea water | 0.00124645737818272 kg | 0.00124645737818272 kg | |||
| Elementary flow | Emissions / Emissions to soil / Emissions to agricultural soil | 3.38732391876881E-13 kg | 3.38732391876881E-13 kg | |||
| Elementary flow | Emissions / Emissions to water / Emissions to water, unspecified (long-term) | 8.99604889405087E-8 kg | 8.99604889405087E-8 kg | |||
| Elementary flow | Emissions / Emissions to soil / Emissions to agricultural soil | 4.80189341063208E-10 kg | 4.80189341063208E-10 kg | |||
| Elementary flow | Emissions / Emissions to water / Emissions to fresh water | 2.43840980947566E-21 kg | 2.43840980947566E-21 kg | |||
| Elementary flow | Emissions / Emissions to water / Emissions to fresh water | 4.88674226485523E-7 kg | 4.88674226485523E-7 kg | |||
| Elementary flow | Emissions / Emissions to water / Emissions to sea water | 2.28725871819976E-8 kg | 2.28725871819976E-8 kg | |||
| Elementary flow | Emissions / Emissions to air / Emissions to air, unspecified | 1.04106838725103E-5 kBq | 1.04106838725103E-5 kBq | |||
| Elementary flow | Emissions / Emissions to soil / Emissions to agricultural soil | 5.50710104403687E-12 kg | 5.50710104403687E-12 kg | |||
| Elementary flow | Emissions / Emissions to water / Emissions to water, unspecified | 3.16183207290879E-18 kg | 3.16183207290879E-18 kg | |||
| Elementary flow | Emissions / Emissions to water / Emissions to sea water | 1.05652260649675E-7 kg | 1.05652260649675E-7 kg | |||
| Elementary flow | Emissions / Emissions to air / Emissions to non-urban air or from high stacks | 8.73431668369768E-14 kg | 8.73431668369768E-14 kg | |||
| Elementary flow | Emissions / Emissions to water / Emissions to water, unspecified | 7.2065608516548E-16 kg | 7.2065608516548E-16 kg | |||
| Elementary flow | Emissions / Emissions to soil / Emissions to agricultural soil | 1.2598035497054E-11 kg | 1.2598035497054E-11 kg | |||
| Elementary flow | Emissions / Emissions to air / Emissions to air, unspecified | 1.2659064690846E-12 kg | 1.2659064690846E-12 kg | |||
| Elementary flow | Emissions / Emissions to soil / Emissions to non-agricultural soil | 1.34697749049833E-9 kg | 1.34697749049833E-9 kg | |||
| Elementary flow | Emissions / Emissions to water / Emissions to fresh water | 5.45385569843368E-17 kg | 5.45385569843368E-17 kg | |||
| Elementary flow | Emissions / Emissions to air / Emissions to air, unspecified | 1.85255814768269E-6 kBq | 1.85255814768269E-6 kBq | |||
| Elementary flow | Emissions / Emissions to soil / Emissions to non-agricultural soil | 4.23697282905739E-6 kg | 4.23697282905739E-6 kg | |||
| Elementary flow | Emissions / Emissions to water / Emissions to fresh water | -2.8186988677898E-19 kg | -2.8186988677898E-19 kg | |||
| Elementary flow | Emissions / Emissions to air / Emissions to urban air close to ground | 1.99082496820813E-8 kg | 1.99082496820813E-8 kg | |||
| Elementary flow | Emissions / Emissions to soil / Emissions to agricultural soil | 1.46677013215856E-12 kg | 1.46677013215856E-12 kg | |||
| Elementary flow | Emissions / Emissions to air / Emissions to air, unspecified (long-term) | 4.48000204999607E-4 kg | 4.48000204999607E-4 kg | |||
| Elementary flow | Emissions / Emissions to air / Emissions to air, unspecified | 9.18819096617203E-14 kg | 9.18819096617203E-14 kg | |||
| Elementary flow | Emissions / Emissions to soil / Emissions to agricultural soil | 5.02151152764715E-14 kg | 5.02151152764715E-14 kg | |||
| Elementary flow | Emissions / Emissions to air / Emissions to air, unspecified | 0.111644061993523 kBq | 0.111644061993523 kBq | |||
| Elementary flow | Emissions / Emissions to soil / Emissions to agricultural soil | 4.15295664509095E-13 kg | 4.15295664509095E-13 kg | |||
| Elementary flow | Emissions / Emissions to air / Emissions to urban air close to ground | 4.44937232350467E-8 kg | 4.44937232350467E-8 kg | |||
| Elementary flow | Emissions / Emissions to water / Emissions to fresh water | 1.26129069856304E-10 m3 | 1.26129069856304E-10 m3 | |||
| Elementary flow | Emissions / Emissions to soil / Emissions to agricultural soil | 2.15623245650006E-11 kg | 2.15623245650006E-11 kg | |||
| Elementary flow | Emissions / Emissions to air / Emissions to urban air close to ground | 1.21083722583105E-10 kg | 1.21083722583105E-10 kg | |||
| Elementary flow | Emissions / Emissions to air / Emissions to air, unspecified | 1.19924028820081E-10 kg | 1.19924028820081E-10 kg | |||
| Elementary flow | Emissions / Emissions to soil / Emissions to agricultural soil | 2.27620490596223E-14 kg | 2.27620490596223E-14 kg | |||
| Elementary flow | Emissions / Emissions to water / Emissions to fresh water | 8.44196560963268E-8 m3 | 8.44196560963268E-8 m3 | |||
| Elementary flow | Emissions / Emissions to water / Emissions to sea water | 4.84749078739035E-7 kBq | 4.84749078739035E-7 kBq | |||
| Elementary flow | Emissions / Emissions to water / Emissions to fresh water | 1.84598262576005E-12 kg | 1.84598262576005E-12 kg | |||
| Elementary flow | Emissions / Emissions to soil / Emissions to agricultural soil | 1.77435137081523E-13 kg | 1.77435137081523E-13 kg | |||
| Elementary flow | Emissions / Emissions to water / Emissions to fresh water | 2.18833133602336E-7 m3 | 2.18833133602336E-7 m3 | |||
| Elementary flow | Emissions / Emissions to air / Emissions to air, unspecified | 1.59425176553483E-7 kg | 1.59425176553483E-7 kg | |||
| Elementary flow | Emissions / Emissions to water / Emissions to fresh water | 6.36872009688311E-17 kg | 6.36872009688311E-17 kg | |||
| Elementary flow | Emissions / Emissions to water / Emissions to fresh water | 2.36236201462382E-17 kg | 2.36236201462382E-17 kg | |||
| Elementary flow | Emissions / Emissions to water / Emissions to fresh water | 1.27826896580059E-8 kg | 1.27826896580059E-8 kg | |||
| Elementary flow | Emissions / Emissions to air / Emissions to non-urban air or from high stacks | 3.90477311889791E-13 kg | 3.90477311889791E-13 kg | |||
| Elementary flow | Emissions / Emissions to water / Emissions to sea water | 4.56345578879289E-19 kg | 4.56345578879289E-19 kg | |||
| Elementary flow | Emissions / Emissions to water / Emissions to sea water | 4.94209263353072E-11 kg | 4.94209263353072E-11 kg | |||
| Elementary flow | Emissions / Emissions to water / Emissions to fresh water | 4.22972819435781E-15 kg | 4.22972819435781E-15 kg | |||
| Elementary flow | Emissions / Emissions to air / Emissions to air, unspecified (long-term) | 9.52867084509395E-7 kg | 9.52867084509395E-7 kg | |||
| Elementary flow | Emissions / Emissions to water / Emissions to water, unspecified (long-term) | 0.020891967637449 kg | 0.020891967637449 kg | |||
| Elementary flow | Emissions / Emissions to water / Emissions to water, unspecified | 7.46924641187467E-16 kg | 7.46924641187467E-16 kg | |||
| Elementary flow | Emissions / Emissions to soil / Emissions to agricultural soil | 4.1241779199774E-8 kg | 4.1241779199774E-8 kg | |||
| Elementary flow | Emissions / Emissions to water / Emissions to fresh water | 6.01843778886553E-6 kg | 6.01843778886553E-6 kg | |||
| Elementary flow | Emissions / Emissions to water / Emissions to fresh water | 1.15406406676781E-10 kBq | 1.15406406676781E-10 kBq | |||
| Elementary flow | Emissions / Emissions to air / Emissions to air, unspecified | 2.02757035128969E-8 kBq | 2.02757035128969E-8 kBq | |||
| Elementary flow | Emissions / Emissions to water / Emissions to fresh water | 1.74384344664587E-10 kg | 1.74384344664587E-10 kg | |||
| Elementary flow | Emissions / Emissions to air / Emissions to urban air close to ground | 2.95071002768016E-8 kg | 2.95071002768016E-8 kg | |||
| Elementary flow | Emissions / Emissions to air / Emissions to air, unspecified | 7.53157543871236E-14 kg | 7.53157543871236E-14 kg | |||
| Elementary flow | Emissions / Emissions to soil / Emissions to agricultural soil | 3.02478218397195E-13 kg | 3.02478218397195E-13 kg | |||
| Elementary flow | Emissions / Emissions to water / Emissions to fresh water | -1.23548711947919E-19 kg | -1.23548711947919E-19 kg | |||
| Elementary flow | Emissions / Emissions to soil / Emissions to agricultural soil | 2.7766632648977E-13 kg | 2.7766632648977E-13 kg | |||
| Elementary flow | Emissions / Emissions to air / Emissions to air, unspecified | 1.08756239446394E-9 kg | 1.08756239446394E-9 kg | |||
| Elementary flow | Emissions / Emissions to soil / Emissions to non-agricultural soil | 4.85823864309831E-15 kg | 4.85823864309831E-15 kg | |||
| Elementary flow | Emissions / Emissions to water / Emissions to fresh water | 1.09604268645906E-15 kg | 1.09604268645906E-15 kg | |||
| Elementary flow | Emissions / Emissions to soil / Emissions to agricultural soil | 3.22072534653041E-13 kg | 3.22072534653041E-13 kg | |||
| Elementary flow | Emissions / Emissions to air / Emissions to air, unspecified | 9.9720168482865E-10 kg | 9.9720168482865E-10 kg | |||
| Elementary flow | Emissions / Emissions to soil / Emissions to non-agricultural soil | 8.21884543387207E-18 kg | 8.21884543387207E-18 kg | |||
| Elementary flow | Emissions / Emissions to air / Emissions to urban air close to ground | 4.27827774459366E-8 kg | 4.27827774459366E-8 kg | |||
| Elementary flow | Emissions / Emissions to air / Emissions to air, unspecified | 1.51069687921979E-13 kg | 1.51069687921979E-13 kg | |||
| Elementary flow | Emissions / Emissions to water / Emissions to water, unspecified | 1.38754249435021E-15 kg | 1.38754249435021E-15 kg | |||
| Elementary flow | Emissions / Emissions to soil / Emissions to agricultural soil | 3.07190321660879E-10 kg | 3.07190321660879E-10 kg | |||
| Elementary flow | Emissions / Emissions to water / Emissions to water, unspecified (long-term) | 1.62970379781492E-9 kg | 1.62970379781492E-9 kg | |||
| Elementary flow | Emissions / Emissions to air / Emissions to air, unspecified | 1.38168680683539E-17 kg | 1.38168680683539E-17 kg | |||
| Elementary flow | Emissions / Emissions to soil / Emissions to non-agricultural soil | 2.52534157201566E-12 kg | 2.52534157201566E-12 kg | |||
| Elementary flow | Emissions / Emissions to soil / Emissions to agricultural soil | 7.17071831047942E-13 kg | 7.17071831047942E-13 kg | |||
| Elementary flow | Emissions / Emissions to air / Emissions to lower stratosphere and upper troposphere | 1.85627256386966E-15 kg | 1.85627256386966E-15 kg | |||
| Elementary flow | Emissions / Emissions to soil / Emissions to non-agricultural soil | 3.26085116978031E-13 kg | 3.26085116978031E-13 kg | |||
| Elementary flow | Emissions / Emissions to soil / Emissions to non-agricultural soil | 5.69483872106743E-6 kg | 5.69483872106743E-6 kg | |||
| Elementary flow | Emissions / Emissions to air / Emissions to air, unspecified | 4.99469059048308E-11 kg | 4.99469059048308E-11 kg | |||
| Elementary flow | Emissions / Emissions to soil / Emissions to agricultural soil | 1.41257483294287E-13 kg | 1.41257483294287E-13 kg | |||
| Elementary flow | Emissions / Emissions to soil / Emissions to agricultural soil | 1.56574229937505E-13 kg | 1.56574229937505E-13 kg | |||
| Elementary flow | Emissions / Emissions to soil / Emissions to non-agricultural soil | 2.5008689921045E-14 kg | 2.5008689921045E-14 kg | |||
| Elementary flow | Emissions / Emissions to air / Emissions to urban air close to ground | 1.80967186784951E-12 kg | 1.80967186784951E-12 kg | |||
| Elementary flow | Emissions / Emissions to air / Emissions to air, unspecified | 1.62701055285083E-10 kg | 1.62701055285083E-10 kg | |||
| Elementary flow | Emissions / Emissions to soil / Emissions to non-agricultural soil | 2.98200600315124E-14 kg | 2.98200600315124E-14 kg | |||
| Elementary flow | Emissions / Emissions to soil / Emissions to agricultural soil | 3.17104996409733E-17 kg | 3.17104996409733E-17 kg | |||
| Elementary flow | Emissions / Emissions to water / Emissions to fresh water | 2.3206230410957E-20 kg | 2.3206230410957E-20 kg | |||
| Elementary flow | Emissions / Emissions to soil / Emissions to agricultural soil | 1.7681546569797E-14 kg | 1.7681546569797E-14 kg | |||
| Elementary flow | Emissions / Emissions to soil / Emissions to agricultural soil | 2.13722600275317E-12 kg | 2.13722600275317E-12 kg | |||
| Elementary flow | Emissions / Emissions to water / Emissions to fresh water | 4.02744575562407E-7 m3 | 4.02744575562407E-7 m3 | |||
| Elementary flow | Emissions / Emissions to soil / Emissions to non-agricultural soil | 2.00785686917171E-15 kg | 2.00785686917171E-15 kg | |||
| Elementary flow | Emissions / Emissions to soil / Emissions to agricultural soil | 8.46531148439833E-15 kg | 8.46531148439833E-15 kg | |||
| Elementary flow | Emissions / Emissions to air / Emissions to air, unspecified | 1.85300867680322E-6 kBq | 1.85300867680322E-6 kBq | |||
| Elementary flow | Emissions / Emissions to soil / Emissions to agricultural soil | 7.57905087746606E-16 kg | 7.57905087746606E-16 kg | |||
| Elementary flow | Emissions / Emissions to water / Emissions to fresh water | 1.36210418613145E-5 kg | 1.36210418613145E-5 kg | |||
| Elementary flow | Emissions / Emissions to water / Emissions to fresh water | -1.81527944401537E-7 m3 | -1.81527944401537E-7 m3 | |||
| Elementary flow | Emissions / Emissions to air / Emissions to air, unspecified (long-term) | 2.68690638025527E-15 kg | 2.68690638025527E-15 kg | |||
| Elementary flow | Emissions / Emissions to water / Emissions to water, unspecified | 1.37772082543329E-14 kg | 1.37772082543329E-14 kg | |||
| Elementary flow | Emissions / Emissions to air / Emissions to air, unspecified | 1.75724284674819E-7 kBq | 1.75724284674819E-7 kBq | |||
| Elementary flow | Emissions / Emissions to soil / Emissions to agricultural soil | 7.52369297969633E-12 kg | 7.52369297969633E-12 kg | |||
| Elementary flow | Emissions / Emissions to soil / Emissions to agricultural soil | 4.52742851363142E-6 kg | 4.52742851363142E-6 kg | |||
| Elementary flow | Emissions / Emissions to water / Emissions to fresh water | 2.67823878548219E-18 kg | 2.67823878548219E-18 kg | |||
| Elementary flow | Emissions / Emissions to air / Emissions to non-urban air or from high stacks | 3.30073192512134E-9 kg | 3.30073192512134E-9 kg | |||
| Elementary flow | Emissions / Emissions to water / Emissions to water, unspecified (long-term) | 5.47128021197732E-4 kg | 5.47128021197732E-4 kg | |||
| Elementary flow | Emissions / Emissions to water / Emissions to fresh water | 1.89502222397045E-5 m3 | 1.89502222397045E-5 m3 | |||
| Elementary flow | Emissions / Emissions to soil / Emissions to agricultural soil | 7.21581445541062E-15 kg | 7.21581445541062E-15 kg | |||
| Elementary flow | Emissions / Emissions to air / Emissions to non-urban air or from high stacks | 7.74071134024844E-7 kg | 7.74071134024844E-7 kg | |||
| Elementary flow | Emissions / Emissions to water / Emissions to sea water | 1.79361269325421E-12 kg | 1.79361269325421E-12 kg | |||
| Elementary flow | Emissions / Emissions to water / Emissions to fresh water | 1.28045362789315E-8 kBq | 1.28045362789315E-8 kBq | |||
| Elementary flow | Emissions / Emissions to water / Emissions to water, unspecified | 5.5918397156781E-17 kg | 5.5918397156781E-17 kg | |||
| Elementary flow | Emissions / Emissions to air / Emissions to air, unspecified | 7.30808608626172E-14 kg | 7.30808608626172E-14 kg | |||
| Elementary flow | Emissions / Emissions to water / Emissions to fresh water | 2.74374212787724E-5 kBq | 2.74374212787724E-5 kBq | |||
| Elementary flow | Emissions / Emissions to air / Emissions to urban air close to ground | 1.63313217669948E-8 kg | 1.63313217669948E-8 kg | |||
| Elementary flow | Emissions / Emissions to water / Emissions to fresh water | 5.70758645479772E-11 m3 | 5.70758645479772E-11 m3 | |||
| Elementary flow | Emissions / Emissions to air / Emissions to non-urban air or from high stacks | 1.12840473797359E-14 kg | 1.12840473797359E-14 kg | |||
| Elementary flow | Emissions / Emissions to water / Emissions to fresh water | 7.36058713119992E-16 kg | 7.36058713119992E-16 kg | |||
| Elementary flow | Emissions / Emissions to water / Emissions to fresh water | 4.71221073838069E-13 kg | 4.71221073838069E-13 kg | |||
| Elementary flow | Emissions / Emissions to water / Emissions to water, unspecified | 1.52420629035286E-17 kg | 1.52420629035286E-17 kg | |||
| Elementary flow | Emissions / Emissions to water / Emissions to fresh water | 6.96201126163014E-8 kg | 6.96201126163014E-8 kg | |||
| Elementary flow | Emissions / Emissions to soil / Emissions to agricultural soil | 4.70087042128911E-16 kg | 4.70087042128911E-16 kg | |||
| Elementary flow | Emissions / Emissions to air / Emissions to air, unspecified | 7.41135497747443E-22 kg | 7.41135497747443E-22 kg | |||
| Elementary flow | Emissions / Emissions to water / Emissions to fresh water | 2.79113562063576E-6 kg | 2.79113562063576E-6 kg | |||
| Elementary flow | Emissions / Emissions to water / Emissions to sea water | 2.87077638018661E-6 kg | 2.87077638018661E-6 kg | |||
| Elementary flow | Emissions / Emissions to air / Emissions to air, unspecified | 2.401849808999E-8 kBq | 2.401849808999E-8 kBq | |||
| Elementary flow | Emissions / Emissions to air / Emissions to air, unspecified | 7.62070181174412E-9 kg | 7.62070181174412E-9 kg | |||
| Elementary flow | Emissions / Emissions to water / Emissions to fresh water | 0.00266275345813734 kg | 0.00266275345813734 kg | |||
| Elementary flow | Emissions / Emissions to soil / Emissions to agricultural soil | 3.08891069137397E-10 kg | 3.08891069137397E-10 kg | |||
| Elementary flow | Emissions / Emissions to soil / Emissions to agricultural soil | 7.3251066555872E-10 kg | 7.3251066555872E-10 kg | |||
| Elementary flow | Emissions / Emissions to air / Emissions to air, unspecified | 2.76812694386771E-13 kg | 2.76812694386771E-13 kg | |||
| Elementary flow | Emissions / Emissions to air / Emissions to air, unspecified | 2.20527419188523E-13 kg | 2.20527419188523E-13 kg | |||
| Elementary flow | Emissions / Emissions to water / Emissions to fresh water | 2.43669622086495E-4 m3 | 2.43669622086495E-4 m3 | |||
| Elementary flow | Emissions / Emissions to air / Emissions to non-urban air or from high stacks | 9.4724169023804E-7 kg | 9.4724169023804E-7 kg | |||
| Elementary flow | Emissions / Emissions to soil / Emissions to agricultural soil | 1.73832232302457E-9 kg | 1.73832232302457E-9 kg | |||
| Elementary flow | Emissions / Emissions to water / Emissions to sea water | 2.03584789362771E-6 kBq | 2.03584789362771E-6 kBq | |||
| Elementary flow | Emissions / Emissions to soil / Emissions to agricultural soil | 7.37970572173478E-16 kg | 7.37970572173478E-16 kg | |||
| Elementary flow | Emissions / Emissions to water / Emissions to fresh water | 8.66072977906303E-8 m3 | 8.66072977906303E-8 m3 | |||
| Elementary flow | Emissions / Emissions to air / Emissions to air, unspecified | 0.673136768631703 kg | 0.673136768631703 kg | |||
| Elementary flow | Emissions / Emissions to soil / Emissions to agricultural soil | 3.37110771014901E-10 kg | 3.37110771014901E-10 kg | |||
| Waste flow | Wastes / Other waste | 0.0116292136618817 kg | 0.0116292136618817 kg | |||
| Elementary flow | Emissions / Emissions to soil / Emissions to agricultural soil | 6.00434378873737E-13 kg | 6.00434378873737E-13 kg | |||
| Elementary flow | Emissions / Emissions to water / Emissions to water, unspecified | 9.15762601706757E-16 kg | 9.15762601706757E-16 kg | |||
| Elementary flow | Emissions / Emissions to air / Emissions to air, unspecified | 3.3807639514617E-4 kg | 3.3807639514617E-4 kg | |||
| Elementary flow | Emissions / Emissions to soil / Emissions to agricultural soil | 1.6458077979146E-14 kg | 1.6458077979146E-14 kg | |||
| Elementary flow | Emissions / Emissions to air / Emissions to air, unspecified | 6.97962532109837E-7 kg | 6.97962532109837E-7 kg | |||
| Elementary flow | Emissions / Emissions to water / Emissions to water, unspecified | 4.19314496948231E-17 kg | 4.19314496948231E-17 kg | |||
| Elementary flow | Emissions / Emissions to water / Emissions to fresh water | 2.46067941699873E-6 kg | 2.46067941699873E-6 kg | |||
| Elementary flow | Emissions / Emissions to water / Emissions to fresh water | 4.7864481947177E-10 kg | 4.7864481947177E-10 kg | |||
| Elementary flow | Emissions / Emissions to water / Emissions to fresh water | 7.0953017520417E-9 m3 | 7.0953017520417E-9 m3 | |||
| Elementary flow | Emissions / Emissions to air / Emissions to air, unspecified (long-term) | 5.68325934201589E-7 kBq | 5.68325934201589E-7 kBq | |||
| Elementary flow | Emissions / Emissions to water / Emissions to water, unspecified | 1.41000422862323E-15 kg | 1.41000422862323E-15 kg | |||
| Elementary flow | Emissions / Emissions to water / Emissions to fresh water | 7.23808669177151E-7 kg | 7.23808669177151E-7 kg | |||
| Elementary flow | Emissions / Emissions to water / Emissions to fresh water | 5.58583546331124E-7 m3 | 5.58583546331124E-7 m3 | |||
| Elementary flow | Emissions / Emissions to water / Emissions to fresh water | 3.9067592538979E-5 m3 | 3.9067592538979E-5 m3 | |||
| Elementary flow | Emissions / Emissions to water / Emissions to fresh water | 1.608959100812381E-6 m3 | 1.608959100812381E-6 m3 | |||
| Elementary flow | Emissions / Emissions to air / Emissions to air, unspecified | 1.93760587689549E-7 kg | 1.93760587689549E-7 kg | |||
| Elementary flow | Emissions / Emissions to water / Emissions to fresh water | 4.79240925201394E-5 kg | 4.79240925201394E-5 kg | |||
| Elementary flow | Emissions / Emissions to air / Emissions to air, unspecified | 6.83958622159792E-13 kg | 6.83958622159792E-13 kg | |||
| Elementary flow | Emissions / Emissions to water / Emissions to fresh water | 1.05612508410106E-20 kg | 1.05612508410106E-20 kg | |||
| Elementary flow | Emissions / Emissions to water / Emissions to sea water | 0.0119202328659648 kg | 0.0119202328659648 kg | |||
| Elementary flow | Emissions / Emissions to water / Emissions to fresh water | 2.12837314910337E-9 kg | 2.12837314910337E-9 kg | |||
| Elementary flow | Emissions / Emissions to soil / Emissions to non-agricultural soil | 3.41149097234145E-13 kg | 3.41149097234145E-13 kg | |||
| Elementary flow | Emissions / Emissions to soil / Emissions to agricultural soil | 3.3681749728237E-14 kg | 3.3681749728237E-14 kg | |||
| Elementary flow | Emissions / Emissions to soil / Emissions to agricultural soil | 1.0199472937274E-12 kg | 1.0199472937274E-12 kg | |||
| Elementary flow | Emissions / Emissions to water / Emissions to sea water | 2.96659351204612E-16 kg | 2.96659351204612E-16 kg | |||
| Elementary flow | Emissions / Emissions to water / Emissions to fresh water | 1.33025708236513E-21 kg | 1.33025708236513E-21 kg | |||
| Elementary flow | Emissions / Emissions to water / Emissions to fresh water | 1.55634291124594E-6 kg | 1.55634291124594E-6 kg | |||
| Elementary flow | Emissions / Emissions to air / Emissions to air, unspecified | 2.6482703452061E-4 kBq | 2.6482703452061E-4 kBq | |||
| Elementary flow | Emissions / Emissions to water / Emissions to fresh water | 1.90408329517386E-14 kg | 1.90408329517386E-14 kg | |||
| Elementary flow | Emissions / Emissions to water / Emissions to fresh water | 1.40647009697668E-8 kg | 1.40647009697668E-8 kg | |||
| Elementary flow | Emissions / Emissions to air / Emissions to air, unspecified | 5.98568199313894E-27 kg | 5.98568199313894E-27 kg | |||
| Elementary flow | Emissions / Emissions to soil / Emissions to non-agricultural soil | 4.80778108634547E-7 kg | 4.80778108634547E-7 kg | |||
| Elementary flow | Emissions / Emissions to air / Emissions to non-urban air or from high stacks | 3.05339501366249E-4 kg | 3.05339501366249E-4 kg | |||
| Elementary flow | Emissions / Emissions to water / Emissions to fresh water | 2.4284124236301E-14 kg | 2.4284124236301E-14 kg | |||
| Elementary flow | Emissions / Emissions to soil / Emissions to agricultural soil | 1.56844385368971E-12 kg | 1.56844385368971E-12 kg | |||
| Elementary flow | Emissions / Emissions to air / Emissions to air, unspecified (long-term) | 5.71596392626493E-8 kg | 5.71596392626493E-8 kg | |||
| Elementary flow | Emissions / Emissions to air / Emissions to air, unspecified | 1.13391982083751E-10 kg | 1.13391982083751E-10 kg | |||
| Elementary flow | Emissions / Emissions to water / Emissions to fresh water | 1.36498251715833E-6 m3 | 1.36498251715833E-6 m3 | |||
| Elementary flow | Emissions / Emissions to air / Emissions to urban air close to ground | 7.45133017284311E-9 kg | 7.45133017284311E-9 kg | |||
| Elementary flow | Emissions / Emissions to water / Emissions to fresh water | 0.0026045704771517 kBq | 0.0026045704771517 kBq | |||
| Elementary flow | Emissions / Emissions to air / Emissions to non-urban air or from high stacks | 0.00178255746976594 kg | 0.00178255746976594 kg | |||
| Elementary flow | Emissions / Emissions to air / Emissions to air, unspecified | 1.19580849016928E-9 kg | 1.19580849016928E-9 kg | |||
| Elementary flow | Emissions / Emissions to water / Emissions to fresh water | 5.49895995361238E-8 kBq | 5.49895995361238E-8 kBq | |||
| Elementary flow | Emissions / Emissions to water / Emissions to sea water | 1.32267397112004E-7 kg | 1.32267397112004E-7 kg | |||
| Elementary flow | Emissions / Emissions to water / Emissions to fresh water | 2.85086464948679E-6 kBq | 2.85086464948679E-6 kBq | |||
| Elementary flow | Emissions / Emissions to soil / Emissions to non-agricultural soil | 4.1880852221324E-15 kg | 4.1880852221324E-15 kg | |||
| Elementary flow | Emissions / Emissions to soil / Emissions to agricultural soil | 2.57864021620603E-8 kg | 2.57864021620603E-8 kg | |||
| Elementary flow | Emissions / Emissions to air / Emissions to air, unspecified | 3.40291417353851E-9 kg | 3.40291417353851E-9 kg | |||
| Elementary flow | Emissions / Emissions to air / Emissions to air, unspecified | 1.89536560125656E-15 kg | 1.89536560125656E-15 kg | |||
| Elementary flow | Emissions / Emissions to air / Emissions to urban air close to ground | 6.73723258715968E-6 kg | 6.73723258715968E-6 kg | |||
| Elementary flow | Emissions / Emissions to air / Emissions to air, unspecified | 1.21773185667921E-17 kg | 1.21773185667921E-17 kg | |||
| Elementary flow | Emissions / Emissions to water / Emissions to fresh water | 2.0739548571742E-12 kg | 2.0739548571742E-12 kg | |||
| Elementary flow | Emissions / Emissions to soil / Emissions to non-agricultural soil | 5.46041665827313E-14 kg | 5.46041665827313E-14 kg | |||
| Elementary flow | Emissions / Emissions to air / Emissions to air, unspecified | -2.53736787996634E-13 kg | -2.53736787996634E-13 kg | |||
| Elementary flow | Emissions / Emissions to soil / Emissions to agricultural soil | 2.18203192835116E-13 kg | 2.18203192835116E-13 kg | |||
| Elementary flow | Emissions / Emissions to air / Emissions to air, unspecified | 6.5759081916843E-10 kg | 6.5759081916843E-10 kg | |||
| Elementary flow | Emissions / Emissions to water / Emissions to fresh water | 2.66541147688031E-14 kg | 2.66541147688031E-14 kg | |||
| Elementary flow | Emissions / Emissions to air / Emissions to air, unspecified | 9.96163217755505E-12 kg | 9.96163217755505E-12 kg | |||
| Elementary flow | Emissions / Emissions to air / Emissions to non-urban air or from high stacks | 6.99137905456339E-14 kg | 6.99137905456339E-14 kg | |||
| Elementary flow | Emissions / Emissions to water / Emissions to water, unspecified (long-term) | 1.1243190420965E-4 kg | 1.1243190420965E-4 kg | |||
| Elementary flow | Emissions / Emissions to soil / Emissions to non-agricultural soil | 7.8769812182002E-18 kg | 7.8769812182002E-18 kg | |||
| Elementary flow | Emissions / Emissions to soil / Emissions to agricultural soil | 3.92687891079972E-12 kg | 3.92687891079972E-12 kg | |||
| Elementary flow | Emissions / Emissions to soil / Emissions to agricultural soil | 1.22273862143291E-18 kg | 1.22273862143291E-18 kg | |||
| Elementary flow | Emissions / Emissions to soil / Emissions to agricultural soil | 1.386587370221E-12 kg | 1.386587370221E-12 kg | |||
| Elementary flow | Emissions / Emissions to soil / Emissions to agricultural soil | 9.52784753534239E-16 kg | 9.52784753534239E-16 kg | |||
| Elementary flow | Emissions / Emissions to air / Emissions to air, unspecified | 3.52246495100318E-14 kg | 3.52246495100318E-14 kg | |||
| Elementary flow | Emissions / Emissions to air / Emissions to air, unspecified | 4.2888397530006E-16 kg | 4.2888397530006E-16 kg | |||
| Elementary flow | Emissions / Emissions to soil / Emissions to agricultural soil | 3.24322116876874E-11 kg | 3.24322116876874E-11 kg | |||
| Elementary flow | Emissions / Emissions to water / Emissions to fresh water | 3.66232578951595E-16 kg | 3.66232578951595E-16 kg | |||
| Elementary flow | Emissions / Emissions to water / Emissions to fresh water | 1.11752235660028E-7 kg | 1.11752235660028E-7 kg | |||
| Elementary flow | Emissions / Emissions to soil / Emissions to non-agricultural soil | 7.50843619918962E-14 kg | 7.50843619918962E-14 kg | |||
| Elementary flow | Emissions / Emissions to air / Emissions to air, unspecified | 1.61167182310559E-10 kBq | 1.61167182310559E-10 kBq | |||
| Elementary flow | Emissions / Emissions to air / Emissions to air, unspecified | 5.91523339109908E-7 kg | 5.91523339109908E-7 kg | |||
| Elementary flow | Emissions / Emissions to water / Emissions to fresh water | 8.06753261973206E-12 kg | 8.06753261973206E-12 kg | |||
| Elementary flow | Emissions / Emissions to soil / Emissions to agricultural soil | 9.13245138900482E-11 kg | 9.13245138900482E-11 kg | |||
| Elementary flow | Emissions / Emissions to air / Emissions to air, unspecified | 2.89801663171229E-11 kg | 2.89801663171229E-11 kg | |||
| Elementary flow | Emissions / Emissions to air / Emissions to air, unspecified | 9.60385147072541E-10 kg | 9.60385147072541E-10 kg | |||
| Elementary flow | Emissions / Emissions to soil / Emissions to agricultural soil | 1.24180594386008E-10 kg | 1.24180594386008E-10 kg | |||
| Elementary flow | Emissions / Emissions to water / Emissions to fresh water | 7.18747404772267E-5 m3 | 7.18747404772267E-5 m3 | |||
| Elementary flow | Emissions / Emissions to water / Emissions to fresh water | 5.18447659156236E-7 kBq | 5.18447659156236E-7 kBq | |||
| Elementary flow | Emissions / Emissions to water / Emissions to fresh water | 6.64358867770247E-13 kg | 6.64358867770247E-13 kg | |||
| Elementary flow | Emissions / Emissions to soil / Emissions to agricultural soil | 7.96604694695582E-10 kg | 7.96604694695582E-10 kg | |||
| Elementary flow | Emissions / Emissions to water / Emissions to fresh water | 4.89695854938118E-10 m3 | 4.89695854938118E-10 m3 | |||
| Elementary flow | Emissions / Emissions to soil / Emissions to agricultural soil | 9.93496215894164E-11 kg | 9.93496215894164E-11 kg | |||
| Elementary flow | Emissions / Emissions to air / Emissions to urban air close to ground | 2.57522527520913E-8 kg | 2.57522527520913E-8 kg | |||
| Elementary flow | Emissions / Emissions to air / Emissions to air, unspecified | 2.1603241917867E-10 kg | 2.1603241917867E-10 kg | |||
| Elementary flow | Emissions / Emissions to air / Emissions to air, unspecified | 1.71447568294769E-13 kg | 1.71447568294769E-13 kg | |||
| Elementary flow | Emissions / Emissions to water / Emissions to fresh water | 6.46636401280815E-10 kg | 6.46636401280815E-10 kg | |||
| Elementary flow | Emissions / Emissions to soil / Emissions to agricultural soil | 1.72848007687122E-18 kg | 1.72848007687122E-18 kg | |||
| Elementary flow | Emissions / Emissions to soil / Emissions to agricultural soil | 2.06781596222535E-16 kg | 2.06781596222535E-16 kg | |||
| Elementary flow | Emissions / Emissions to air / Emissions to air, unspecified | 3.86676842202904E-11 kg | 3.86676842202904E-11 kg | |||
| Elementary flow | Emissions / Emissions to water / Emissions to fresh water | 2.95962251955899E-9 m3 | 2.95962251955899E-9 m3 | |||
| Elementary flow | Emissions / Emissions to water / Emissions to fresh water | 2.43210330090778E-18 kg | 2.43210330090778E-18 kg | |||
| Elementary flow | Emissions / Emissions to water / Emissions to fresh water | 2.13049497719587E-12 kg | 2.13049497719587E-12 kg | |||
| Elementary flow | Emissions / Emissions to water / Emissions to water, unspecified | 1.19630572715819E-15 kg | 1.19630572715819E-15 kg | |||
| Elementary flow | Emissions / Emissions to soil / Emissions to agricultural soil | 1.15149263975302E-10 kg | 1.15149263975302E-10 kg | |||
| Elementary flow | Emissions / Emissions to air / Emissions to air, unspecified | 3.86765263966453E-8 kg | 3.86765263966453E-8 kg | |||
| Elementary flow | Emissions / Emissions to soil / Emissions to agricultural soil | 2.11778831081635E-12 kg | 2.11778831081635E-12 kg | |||
| Elementary flow | Emissions / Emissions to water / Emissions to fresh water | 2.27590039786674E-16 kg | 2.27590039786674E-16 kg | |||
| Elementary flow | Emissions / Emissions to water / Emissions to fresh water | 3.373429740516E-7 m3 | 3.373429740516E-7 m3 | |||
| Elementary flow | Emissions / Emissions to water / Emissions to fresh water | 7.24689872872294E-12 kg | 7.24689872872294E-12 kg | |||
| Elementary flow | Emissions / Emissions to water / Emissions to fresh water | -1.42445256106263E-17 kg | -1.42445256106263E-17 kg | |||
| Elementary flow | Emissions / Emissions to water / Emissions to fresh water | 1.77784869149911E-7 m3 | 1.77784869149911E-7 m3 | |||
| Elementary flow | Emissions / Emissions to water / Emissions to fresh water | 7.40602160168581E-5 m3 | 7.40602160168581E-5 m3 | |||
| Elementary flow | Emissions / Emissions to air / Emissions to air, unspecified | 1.03239054337656E-11 kg | 1.03239054337656E-11 kg | |||
| Elementary flow | Emissions / Emissions to water / Emissions to fresh water | 8.4624261113256E-10 m3 | 8.4624261113256E-10 m3 | |||
| Elementary flow | Emissions / Emissions to water / Emissions to fresh water | 7.85294231382186E-10 m3 | 7.85294231382186E-10 m3 | |||
| Elementary flow | Emissions / Emissions to water / Emissions to sea water | 1.22324043986808E-11 kg | 1.22324043986808E-11 kg | |||
| Elementary flow | Emissions / Emissions to water / Emissions to fresh water | 1.05941922812051E-5 m3 | 1.05941922812051E-5 m3 | |||
| Elementary flow | Emissions / Emissions to soil / Emissions to agricultural soil | 1.09452765828291E-12 kg | 1.09452765828291E-12 kg | |||
| Elementary flow | Emissions / Emissions to water / Emissions to sea water | 3.23456031146696E-12 kg | 3.23456031146696E-12 kg | |||
| Elementary flow | Emissions / Emissions to air / Emissions to air, unspecified | 1.78990680530768E-7 kg | 1.78990680530768E-7 kg | |||
| Elementary flow | Emissions / Emissions to soil / Emissions to non-agricultural soil | 2.43384520814313E-13 kg | 2.43384520814313E-13 kg | |||
| Elementary flow | Emissions / Emissions to air / Emissions to air, unspecified | 4.21400279331479E-25 kg | 4.21400279331479E-25 kg | |||
| Elementary flow | Emissions / Emissions to air / Emissions to air, unspecified | 0.0457373890302823 kBq | 0.0457373890302823 kBq | |||
| Elementary flow | Emissions / Emissions to water / Emissions to water, unspecified (long-term) | 3.74605535767956E-4 kg | 3.74605535767956E-4 kg | |||
| Elementary flow | Emissions / Emissions to water / Emissions to water, unspecified | 2.88460202142822E-20 kg | 2.88460202142822E-20 kg | |||
| Elementary flow | Emissions / Emissions to air / Emissions to air, unspecified | 3.788386707514E-13 kg | 3.788386707514E-13 kg | |||
| Elementary flow | Emissions / Emissions to water / Emissions to fresh water | 1.13890492872335E-13 kg | 1.13890492872335E-13 kg | |||
| Elementary flow | Emissions / Emissions to air / Emissions to air, unspecified | 1.56907171503913E-14 kg | 1.56907171503913E-14 kg | |||
| Elementary flow | Emissions / Emissions to soil / Emissions to agricultural soil | 7.06026008682345E-12 kg | 7.06026008682345E-12 kg | |||
| Elementary flow | Emissions / Emissions to water / Emissions to sea water | 1.38230468806265E-21 kg | 1.38230468806265E-21 kg | |||
| Elementary flow | Emissions / Emissions to air / Emissions to non-urban air or from high stacks | 1.45176256914512E-8 kg | 1.45176256914512E-8 kg | |||
| Elementary flow | Emissions / Emissions to water / Emissions to fresh water | 2.28457018950361E-12 kg | 2.28457018950361E-12 kg | |||
| Elementary flow | Emissions / Emissions to water / Emissions to water, unspecified (long-term) | 4.84820260325464E-7 kg | 4.84820260325464E-7 kg | |||
| Elementary flow | Emissions / Emissions to soil / Emissions to non-agricultural soil | 4.23816490702755E-6 kg | 4.23816490702755E-6 kg | |||
| Elementary flow | Emissions / Emissions to water / Emissions to fresh water | 6.61855369931979E-5 m3 | 6.61855369931979E-5 m3 | |||
| Elementary flow | Emissions / Emissions to soil / Emissions to agricultural soil | 1.26302948001246E-7 kg | 1.26302948001246E-7 kg | |||
| Elementary flow | Emissions / Emissions to air / Emissions to non-urban air or from high stacks | 1.48903063460929E-13 kg | 1.48903063460929E-13 kg | |||
| Elementary flow | Emissions / Emissions to water / Emissions to water, unspecified | 3.79961852505174E-19 kg | 3.79961852505174E-19 kg | |||
| Elementary flow | Emissions / Emissions to air / Emissions to non-urban air or from high stacks | 2.52586720629192E-10 kg | 2.52586720629192E-10 kg | |||
| Elementary flow | Emissions / Emissions to water / Emissions to fresh water | -1.18129109946401E-24 kg | -1.18129109946401E-24 kg | |||
| Elementary flow | Emissions / Emissions to soil / Emissions to agricultural soil | 8.07723971703113E-6 MJ | 8.07723971703113E-6 MJ | |||
| Elementary flow | Emissions / Emissions to air / Emissions to air, unspecified | 3.59616202988216E-10 kg | 3.59616202988216E-10 kg | |||
| Elementary flow | Emissions / Emissions to air / Emissions to air, unspecified | 1.02549886052406E-6 kg | 1.02549886052406E-6 kg | |||
| Elementary flow | Emissions / Emissions to water / Emissions to fresh water | 7.36101506779521E-16 kg | 7.36101506779521E-16 kg | |||
| Elementary flow | Emissions / Emissions to water / Emissions to fresh water | 1.00853523584586E-20 kg | 1.00853523584586E-20 kg | |||
| Elementary flow | Emissions / Emissions to water / Emissions to sea water | 8.53324535747398E-27 kg | 8.53324535747398E-27 kg | |||
| Elementary flow | Emissions / Emissions to water / Emissions to fresh water | 7.46813707723582E-11 kg | 7.46813707723582E-11 kg | |||
| Elementary flow | Emissions / Emissions to air / Emissions to non-urban air or from high stacks | 2.24566400421656E-6 kg | 2.24566400421656E-6 kg | |||
| Elementary flow | Emissions / Emissions to air / Emissions to non-urban air or from high stacks | 9.01884066299586E-16 kg | 9.01884066299586E-16 kg | |||
| Elementary flow | Emissions / Emissions to air / Emissions to air, unspecified | 1.34460169568347E-7 kg | 1.34460169568347E-7 kg | |||
| Elementary flow | Emissions / Emissions to air / Emissions to air, unspecified | 3.30636111595332E-11 kg | 3.30636111595332E-11 kg | |||
| Elementary flow | Emissions / Emissions to soil / Emissions to agricultural soil | 3.68742606593276E-14 kg | 3.68742606593276E-14 kg | |||
| Elementary flow | Emissions / Emissions to air / Emissions to air, unspecified | 8.72329028227861E-13 kg | 8.72329028227861E-13 kg | |||
| Elementary flow | Emissions / Emissions to air / Emissions to air, unspecified | 3.94679867364719E-17 kg | 3.94679867364719E-17 kg | |||
| Elementary flow | Emissions / Emissions to soil / Emissions to agricultural soil | 1.45430528945121E-15 kg | 1.45430528945121E-15 kg | |||
| Elementary flow | Emissions / Emissions to air / Emissions to air, unspecified | 5.64154831358226E-18 kg | 5.64154831358226E-18 kg | |||
| Elementary flow | Emissions / Emissions to soil / Emissions to agricultural soil | 2.07006919887426E-10 kg | 2.07006919887426E-10 kg | |||
| Elementary flow | Emissions / Emissions to water / Emissions to sea water | 7.55214757607532E-7 kBq | 7.55214757607532E-7 kBq | |||
| Elementary flow | Emissions / Emissions to water / Emissions to water, unspecified | 2.2277010411224E-7 kg | 2.2277010411224E-7 kg | |||
| Elementary flow | Emissions / Emissions to air / Emissions to air, unspecified | 5.1900559973573E-6 kBq | 5.1900559973573E-6 kBq | |||
| Elementary flow | Emissions / Emissions to water / Emissions to sea water | 1.74862716202231E-8 kg | 1.74862716202231E-8 kg | |||
| Elementary flow | Emissions / Emissions to air / Emissions to air, unspecified | 4.73477167325654E-8 kg | 4.73477167325654E-8 kg | |||
| Elementary flow | Emissions / Emissions to air / Emissions to air, unspecified | 2.35187439810501E-13 kg | 2.35187439810501E-13 kg | |||
| Elementary flow | Emissions / Emissions to soil / Emissions to agricultural soil | 1.209785020079454E-13 kg | 1.209785020079454E-13 kg | |||
| Elementary flow | Emissions / Emissions to air / Emissions to air, unspecified | 3.7841734155035E-12 kg | 3.7841734155035E-12 kg | |||
| Elementary flow | Emissions / Emissions to soil / Emissions to non-agricultural soil | 3.05005258863897E-5 kg | 3.05005258863897E-5 kg | |||
| Elementary flow | Emissions / Emissions to air / Emissions to air, unspecified | 1.84597238848082E-16 kg | 1.84597238848082E-16 kg | |||
| Elementary flow | Emissions / Emissions to air / Emissions to air, unspecified (long-term) | 1.09799000897384E-6 kg | 1.09799000897384E-6 kg | |||
| Elementary flow | Emissions / Emissions to air / Emissions to air, unspecified | 8.56861778164607E-5 kBq | 8.56861778164607E-5 kBq | |||
| Elementary flow | Emissions / Emissions to water / Emissions to fresh water | 4.60313675955914E-5 m3 | 4.60313675955914E-5 m3 | |||
| Elementary flow | Emissions / Emissions to soil / Emissions to agricultural soil | 1.23591944806809E-10 kg | 1.23591944806809E-10 kg | |||
| Elementary flow | Emissions / Emissions to air / Emissions to air, unspecified (long-term) | 1.60288999180993E-18 kg | 1.60288999180993E-18 kg | |||
| Elementary flow | Emissions / Emissions to water / Emissions to fresh water | 7.74352832513545E-4 kg | 7.74352832513545E-4 kg | |||
| Elementary flow | Emissions / Emissions to water / Emissions to water, unspecified | 2.67774402247042E-16 kg | 2.67774402247042E-16 kg | |||
| Elementary flow | Emissions / Emissions to soil / Emissions to agricultural soil | 1.33378045687619E-10 kg | 1.33378045687619E-10 kg | |||
| Elementary flow | Emissions / Emissions to soil / Emissions to agricultural soil | 1.35182346344243E-12 kg | 1.35182346344243E-12 kg | |||
| Elementary flow | Emissions / Emissions to air / Emissions to air, unspecified | 1.07006503155976E-12 kg | 1.07006503155976E-12 kg | |||
| Elementary flow | Emissions / Emissions to air / Emissions to air, unspecified | 7.79719712685671E-10 kg | 7.79719712685671E-10 kg | |||
| Elementary flow | Emissions / Emissions to soil / Emissions to agricultural soil | 5.78455987565041E-16 kg | 5.78455987565041E-16 kg | |||
| Waste flow | Wastes / Radioactive waste | 3.93776257764134E-7 kg | 3.93776257764134E-7 kg | |||
| Elementary flow | Emissions / Emissions to water / Emissions to sea water | 2.78326717634456E-9 kg | 2.78326717634456E-9 kg | |||
| Elementary flow | Emissions / Emissions to water / Emissions to water, unspecified | 8.70771069304175E-15 kg | 8.70771069304175E-15 kg | |||
| Elementary flow | Emissions / Emissions to water / Emissions to water, unspecified | 1.06629347191986E-16 kg | 1.06629347191986E-16 kg | |||
| Elementary flow | Emissions / Emissions to air / Emissions to non-urban air or from high stacks | 6.3452887677612E-15 kg | 6.3452887677612E-15 kg | |||
| Elementary flow | Emissions / Emissions to water / Emissions to fresh water | 1.98673023141097E-5 m3 | 1.98673023141097E-5 m3 | |||
| Elementary flow | Emissions / Emissions to soil / Emissions to agricultural soil | 4.07834308564842E-10 kg | 4.07834308564842E-10 kg | |||
| Elementary flow | Emissions / Emissions to air / Emissions to urban air close to ground | 3.91432970346311E-10 kg | 3.91432970346311E-10 kg | |||
| Elementary flow | Emissions / Emissions to water / Emissions to sea water | 7.55807554034463E-6 kg | 7.55807554034463E-6 kg | |||
| Elementary flow | Emissions / Emissions to water / Emissions to sea water | 4.05008644087996E-7 kg | 4.05008644087996E-7 kg | |||
| Elementary flow | Emissions / Emissions to soil / Emissions to non-agricultural soil | 2.07898798669067E-14 kg | 2.07898798669067E-14 kg | |||
| Elementary flow | Emissions / Emissions to soil / Emissions to agricultural soil | 5.34777109742914E-14 kg | 5.34777109742914E-14 kg | |||
| Elementary flow | Emissions / Emissions to water / Emissions to fresh water | 3.94539651369538E-16 kg | 3.94539651369538E-16 kg | |||
| Elementary flow | Emissions / Emissions to water / Emissions to fresh water | 8.34129465507966E-12 kg | 8.34129465507966E-12 kg | |||
| Elementary flow | Emissions / Emissions to soil / Emissions to agricultural soil | 3.53738566556972E-13 kg | 3.53738566556972E-13 kg | |||
| Elementary flow | Emissions / Emissions to water / Emissions to fresh water | 1.534470680195374E-8 m3 | 1.534470680195374E-8 m3 | |||
| Elementary flow | Emissions / Emissions to water / Emissions to fresh water | 1.74043275607081E-15 kg | 1.74043275607081E-15 kg | |||
| Elementary flow | Emissions / Emissions to water / Emissions to sea water | 2.96526100870204E-10 kg | 2.96526100870204E-10 kg | |||
| Elementary flow | Emissions / Emissions to air / Emissions to air, unspecified | -1.02729387985336E-7 kg | -1.02729387985336E-7 kg | |||
| Elementary flow | Emissions / Emissions to soil / Emissions to agricultural soil | 1.91464251365935E-10 kg | 1.91464251365935E-10 kg | |||
| Elementary flow | Emissions / Emissions to air / Emissions to air, unspecified | 4.56534179643733E-8 kg | 4.56534179643733E-8 kg | |||
| Elementary flow | Emissions / Emissions to water / Emissions to sea water | 1.69796867934996E-5 kg | 1.69796867934996E-5 kg | |||
| Elementary flow | Emissions / Emissions to air / Emissions to non-urban air or from high stacks | 2.98055862891724E-7 kg | 2.98055862891724E-7 kg | |||
| Elementary flow | Emissions / Emissions to water / Emissions to fresh water | 1.26929602189567E-5 kBq | 1.26929602189567E-5 kBq | |||
| Elementary flow | Emissions / Emissions to air / Emissions to air, unspecified | 1.87756831141203E-11 kg | 1.87756831141203E-11 kg | |||
| Elementary flow | Emissions / Emissions to soil / Emissions to agricultural soil | 9.7816078652757E-10 kg | 9.7816078652757E-10 kg | |||
| Elementary flow | Emissions / Emissions to water / Emissions to fresh water | 1.56054164723955E-6 kg | 1.56054164723955E-6 kg | |||
| Elementary flow | Emissions / Emissions to air / Emissions to air, unspecified | 3.94071304963606E-13 kg | 3.94071304963606E-13 kg | |||
| Elementary flow | Emissions / Emissions to water / Emissions to fresh water | 1.6197045128876E-15 kg | 1.6197045128876E-15 kg | |||
| Elementary flow | Emissions / Emissions to air / Emissions to air, unspecified | 1.16775902195768E-11 kg | 1.16775902195768E-11 kg | |||
| Elementary flow | Emissions / Emissions to air / Emissions to non-urban air or from high stacks | 9.10035910328524E-11 kg | 9.10035910328524E-11 kg | |||
| Elementary flow | Emissions / Emissions to water / Emissions to fresh water | 1.05860821118568E-6 m3 | 1.05860821118568E-6 m3 | |||
| Elementary flow | Emissions / Emissions to air / Emissions to air, unspecified | 4.82218939357505E-11 kg | 4.82218939357505E-11 kg | |||
| Elementary flow | Emissions / Emissions to air / Emissions to non-urban air or from high stacks | 1.77305848607511E-8 kg | 1.77305848607511E-8 kg | |||
| Elementary flow | Emissions / Emissions to water / Emissions to fresh water | 2.30709685580023E-7 kBq | 2.30709685580023E-7 kBq | |||
| Elementary flow | Emissions / Emissions to water / Emissions to fresh water | 1.78070879350924E-13 kg | 1.78070879350924E-13 kg | |||
| Elementary flow | Emissions / Emissions to air / Emissions to air, unspecified | 1.84454275486553E-13 kg | 1.84454275486553E-13 kg | |||
| Elementary flow | Emissions / Emissions to water / Emissions to water, unspecified | 7.74150128640863E-17 kg | 7.74150128640863E-17 kg | |||
| Elementary flow | Emissions / Emissions to water / Emissions to water, unspecified (long-term) | 1.78258400084109E-7 kg | 1.78258400084109E-7 kg | |||
| Elementary flow | Emissions / Emissions to air / Emissions to air, unspecified | 5.79278199512378E-14 kg | 5.79278199512378E-14 kg | |||
| Elementary flow | Emissions / Emissions to water / Emissions to fresh water | 2.21560700844547E-13 kg | 2.21560700844547E-13 kg | |||
| Elementary flow | Emissions / Emissions to water / Emissions to fresh water | 1.58914232028153E-15 kg | 1.58914232028153E-15 kg | |||
| Elementary flow | Emissions / Emissions to soil / Emissions to agricultural soil | 4.44712490522355E-12 kg | 4.44712490522355E-12 kg | |||
| Elementary flow | Emissions / Emissions to water / Emissions to fresh water | 1.0279101151452E-12 kg | 1.0279101151452E-12 kg | |||
| Elementary flow | Emissions / Emissions to water / Emissions to water, unspecified | 4.00444443688235E-16 kg | 4.00444443688235E-16 kg | |||
| Elementary flow | Emissions / Emissions to air / Emissions to air, unspecified | 5.40754216325585E-18 kg | 5.40754216325585E-18 kg | |||
| Elementary flow | Emissions / Emissions to water / Emissions to water, unspecified | 2.66873369836747E-16 kg | 2.66873369836747E-16 kg | |||
| Elementary flow | Emissions / Emissions to air / Emissions to air, unspecified | 1.00451211272645E-12 kg | 1.00451211272645E-12 kg | |||
| Elementary flow | Emissions / Emissions to air / Emissions to air, unspecified (long-term) | 2.10787844241148E-7 kg | 2.10787844241148E-7 kg | |||
| Elementary flow | Emissions / Emissions to air / Emissions to air, unspecified | 3.37343429832275E-15 kg | 3.37343429832275E-15 kg | |||
| Elementary flow | Emissions / Emissions to water / Emissions to fresh water | 2.63259122013495E-16 kg | 2.63259122013495E-16 kg | |||
| Elementary flow | Emissions / Emissions to air / Emissions to air, unspecified | 6.41735654958125E-13 kg | 6.41735654958125E-13 kg | |||
| Elementary flow | Emissions / Emissions to soil / Emissions to agricultural soil | 3.91409699317456E-13 kg | 3.91409699317456E-13 kg | |||
| Elementary flow | Emissions / Emissions to air / Emissions to air, unspecified | 2.19746591232685E-12 kg | 2.19746591232685E-12 kg | |||
| Elementary flow | Emissions / Emissions to air / Emissions to urban air close to ground | 9.21254283278715E-12 kg | 9.21254283278715E-12 kg | |||
| Elementary flow | Emissions / Emissions to water / Emissions to sea water | 2.78629487934466E-7 kg | 2.78629487934466E-7 kg | |||
| Elementary flow | Emissions / Emissions to soil / Emissions to agricultural soil | 7.57958960046425E-10 kg | 7.57958960046425E-10 kg | |||
| Elementary flow | Emissions / Emissions to water / Emissions to fresh water | 1.15643289705241E-4 kg | 1.15643289705241E-4 kg | |||
| Elementary flow | Emissions / Emissions to water / Emissions to fresh water | 1.02874336246581E-5 kBq | 1.02874336246581E-5 kBq | |||
| Elementary flow | Emissions / Emissions to water / Emissions to fresh water | 1.75909067491027E-7 m3 | 1.75909067491027E-7 m3 | |||
| Elementary flow | Emissions / Emissions to water / Emissions to fresh water | 8.16712363051801E-7 m3 | 8.16712363051801E-7 m3 | |||
| Elementary flow | Emissions / Emissions to air / Emissions to air, unspecified | 1.4417486297099E-4 m3 | 1.4417486297099E-4 m3 | |||
| Elementary flow | Emissions / Emissions to soil / Emissions to agricultural soil | 5.98606368906092E-12 kg | 5.98606368906092E-12 kg | |||
| Elementary flow | Emissions / Emissions to air / Emissions to air, unspecified (long-term) | 2.72829509903844E-6 kg | 2.72829509903844E-6 kg | |||
| Elementary flow | Emissions / Emissions to water / Emissions to fresh water | 1.8365855762764E-18 kg | 1.8365855762764E-18 kg | |||
| Elementary flow | Emissions / Emissions to soil / Emissions to agricultural soil | 8.55100754220959E-14 kg | 8.55100754220959E-14 kg | |||
| Elementary flow | Emissions / Emissions to air / Emissions to urban air close to ground | 3.50098290820685E-13 kg | 3.50098290820685E-13 kg | |||
| Elementary flow | Emissions / Emissions to soil / Emissions to agricultural soil | 1.16335339306257E-9 kg | 1.16335339306257E-9 kg | |||
| Elementary flow | Emissions / Emissions to air / Emissions to air, unspecified | 1.57220150783445E-13 kg | 1.57220150783445E-13 kg | |||
| Elementary flow | Emissions / Emissions to water / Emissions to fresh water | 2.4623467331616E-10 m3 | 2.4623467331616E-10 m3 | |||
| Elementary flow | Emissions / Emissions to water / Emissions to fresh water | 0.00273746167494344 kg | 0.00273746167494344 kg | |||
| Elementary flow | Emissions / Emissions to soil / Emissions to non-agricultural soil | 2.96002658153031E-14 kg | 2.96002658153031E-14 kg | |||
| Elementary flow | Emissions / Emissions to water / Emissions to fresh water | 1.3103624853966E-12 kg | 1.3103624853966E-12 kg | |||
| Elementary flow | Emissions / Emissions to soil / Emissions to non-agricultural soil | 3.6054211945288E-9 kg | 3.6054211945288E-9 kg | |||
| Elementary flow | Emissions / Emissions to soil / Emissions to non-agricultural soil | 3.03782517976549E-13 kg | 3.03782517976549E-13 kg | |||
| Elementary flow | Emissions / Emissions to soil / Emissions to non-agricultural soil | 1.31250847601484E-10 kg | 1.31250847601484E-10 kg | |||
| Elementary flow | Emissions / Emissions to air / Emissions to urban air close to ground | 3.0930314074332E-12 kg | 3.0930314074332E-12 kg | |||
| Waste flow | Wastes / Other waste | 0.00143042479699915 kg | 0.00143042479699915 kg | |||
| Elementary flow | Emissions / Emissions to water / Emissions to fresh water | -3.32684996192403E-20 kg | -3.32684996192403E-20 kg | |||
| Elementary flow | Emissions / Emissions to air / Emissions to air, unspecified (long-term) | 3.22982173418844E-9 kg | 3.22982173418844E-9 kg | |||
| Elementary flow | Emissions / Emissions to soil / Emissions to non-agricultural soil | 1.08739043515241E-17 kg | 1.08739043515241E-17 kg | |||
| Elementary flow | Emissions / Emissions to water / Emissions to water, unspecified | 1.19855454502156E-17 kg | 1.19855454502156E-17 kg | |||
| Elementary flow | Emissions / Emissions to water / Emissions to water, unspecified (long-term) | 0.00884417486948831 MJ | 0.00884417486948831 MJ | |||
| Elementary flow | Emissions / Emissions to water / Emissions to fresh water | 1.28898524572943E-10 kg | 1.28898524572943E-10 kg | |||
| Elementary flow | Emissions / Emissions to water / Emissions to fresh water | 2.56206568409667E-6 kg | 2.56206568409667E-6 kg | |||
| Waste flow | Wastes / Other waste | 3.71624011317511E-13 kg | 3.71624011317511E-13 kg | |||
| Elementary flow | Emissions / Emissions to air / Emissions to air, unspecified | 3.62751495294391E-13 kg | 3.62751495294391E-13 kg | |||
| Elementary flow | Emissions / Emissions to water / Emissions to fresh water | 1.06125513181597E-6 m3 | 1.06125513181597E-6 m3 | |||
| Elementary flow | Emissions / Emissions to water / Emissions to fresh water | 2.67730169163442E-9 kg | 2.67730169163442E-9 kg | |||
| Elementary flow | Emissions / Emissions to water / Emissions to fresh water | 7.42947968447069E-18 kg | 7.42947968447069E-18 kg | |||
| Elementary flow | Emissions / Emissions to air / Emissions to non-urban air or from high stacks | 4.7748115830692E-9 kg | 4.7748115830692E-9 kg | |||
| Elementary flow | Emissions / Emissions to air / Emissions to air, unspecified | 8.24875827988217E-12 kg | 8.24875827988217E-12 kg | |||
| Elementary flow | Emissions / Emissions to soil / Emissions to agricultural soil | 8.97275636327658E-18 kg | 8.97275636327658E-18 kg | |||
| Elementary flow | Emissions / Emissions to soil / Emissions to agricultural soil | 7.62175679423072E-12 kg | 7.62175679423072E-12 kg | |||
| Elementary flow | Emissions / Emissions to water / Emissions to water, unspecified (long-term) | 0.00151046051007825 kg | 0.00151046051007825 kg | |||
| Elementary flow | Emissions / Emissions to air / Emissions to air, unspecified | 8.90779271577149E-22 kg | 8.90779271577149E-22 kg | |||
| Elementary flow | Emissions / Emissions to water / Emissions to water, unspecified (long-term) | 2.40490521845219E-4 kg | 2.40490521845219E-4 kg | |||
| Elementary flow | Emissions / Emissions to water / Emissions to water, unspecified (long-term) | 7.3440217609307E-7 kg | 7.3440217609307E-7 kg | |||
| Elementary flow | Emissions / Emissions to air / Emissions to non-urban air or from high stacks | 1.56368478527755E-15 kg | 1.56368478527755E-15 kg | |||
| Elementary flow | Emissions / Emissions to air / Emissions to air, unspecified | 5.75680106258706E-7 kg | 5.75680106258706E-7 kg | |||
| Elementary flow | Emissions / Emissions to soil / Emissions to agricultural soil | 1.48144651099417E-13 kg | 1.48144651099417E-13 kg | |||
| Elementary flow | Emissions / Emissions to air / Emissions to air, unspecified | 6.53030139234663E-6 kBq | 6.53030139234663E-6 kBq | |||
| Elementary flow | Emissions / Emissions to soil / Emissions to non-agricultural soil | 5.52250519218733E-8 kg | 5.52250519218733E-8 kg | |||
| Elementary flow | Emissions / Emissions to water / Emissions to water, unspecified (long-term) | 0.00302391571023623 kg | 0.00302391571023623 kg | |||
| Elementary flow | Emissions / Emissions to water / Emissions to sea water | 6.53083704050243E-6 kBq | 6.53083704050243E-6 kBq | |||
| Elementary flow | Emissions / Emissions to water / Emissions to fresh water | 3.21186200395039E-4 m3 | 3.21186200395039E-4 m3 | |||
| Elementary flow | Emissions / Emissions to water / Emissions to fresh water | 1.08075808950526E-4 kBq | 1.08075808950526E-4 kBq | |||
| Elementary flow | Emissions / Emissions to water / Emissions to water, unspecified (long-term) | 1.7321212995304E-5 kg | 1.7321212995304E-5 kg | |||
| Elementary flow | Emissions / Emissions to air / Emissions to air, unspecified | 6.59696211054902E-10 kg | 6.59696211054902E-10 kg | |||
| Waste flow | Wastes / Radioactive waste | 1.99659830195655E-7 kg | 1.99659830195655E-7 kg | |||
| Elementary flow | Emissions / Emissions to soil / Emissions to agricultural soil | 6.78895393899938E-14 kg | 6.78895393899938E-14 kg | |||
| Elementary flow | Emissions / Emissions to soil / Emissions to agricultural soil | 1.14151893077735E-10 kg | 1.14151893077735E-10 kg | |||
| Elementary flow | Emissions / Emissions to air / Emissions to air, unspecified | 4.29641975250712E-7 kg | 4.29641975250712E-7 kg | |||
| Elementary flow | Emissions / Emissions to air / Emissions to non-urban air or from high stacks | 2.2285516066285E-9 kg | 2.2285516066285E-9 kg | |||
| Elementary flow | Emissions / Emissions to soil / Emissions to non-agricultural soil | 2.54730507805796E-14 kg | 2.54730507805796E-14 kg | |||
| Elementary flow | Emissions / Emissions to air / Emissions to urban air close to ground | 4.15302516379026E-10 kg | 4.15302516379026E-10 kg | |||
| Elementary flow | Emissions / Emissions to air / Emissions to air, unspecified | 3.82971405194778E-9 kBq | 3.82971405194778E-9 kBq | |||
| Elementary flow | Emissions / Emissions to water / Emissions to sea water | -5.87193034214746E-21 kg | -5.87193034214746E-21 kg | |||
| Elementary flow | Emissions / Emissions to water / Emissions to fresh water | 3.68245583196866E-8 m3 | 3.68245583196866E-8 m3 | |||
| Elementary flow | Emissions / Emissions to water / Emissions to sea water | 3.03064996731691E-17 kg | 3.03064996731691E-17 kg | |||
| Elementary flow | Emissions / Emissions to water / Emissions to sea water | 2.77499565239392E-11 kg | 2.77499565239392E-11 kg | |||
| Elementary flow | Emissions / Emissions to air / Emissions to non-urban air or from high stacks | 4.88901640510956E-10 kg | 4.88901640510956E-10 kg | |||
| Elementary flow | Emissions / Emissions to soil / Emissions to non-agricultural soil | 1.16134031650516E-15 kg | 1.16134031650516E-15 kg | |||
| Elementary flow | Emissions / Emissions to water / Emissions to water, unspecified | 1.4908054339716E-19 kg | 1.4908054339716E-19 kg | |||
| Elementary flow | Emissions / Emissions to air / Emissions to urban air close to ground | 8.59478739107914E-13 kg | 8.59478739107914E-13 kg | |||
| Elementary flow | Emissions / Emissions to air / Emissions to air, unspecified | 2.26263925720557E-13 kg | 2.26263925720557E-13 kg | |||
| Elementary flow | Emissions / Emissions to water / Emissions to fresh water | 2.39656628899944E-6 kg | 2.39656628899944E-6 kg | |||
| Elementary flow | Emissions / Emissions to air / Emissions to air, unspecified | 1.7897996221938E-12 kg | 1.7897996221938E-12 kg | |||
| Elementary flow | Emissions / Emissions to air / Emissions to air, unspecified | 1.29952769329375E-10 kg | 1.29952769329375E-10 kg | |||
| Elementary flow | Emissions / Emissions to air / Emissions to air, unspecified | 1.65430116822056E-23 kg | 1.65430116822056E-23 kg | |||
| Elementary flow | Emissions / Emissions to water / Emissions to water, unspecified | 1.30816697600613E-13 kg | 1.30816697600613E-13 kg | |||
| Elementary flow | Emissions / Emissions to water / Emissions to fresh water | 1.12456779098032E-6 m3 | 1.12456779098032E-6 m3 | |||
| Elementary flow | Emissions / Emissions to water / Emissions to sea water | 5.69155238988673E-18 kg | 5.69155238988673E-18 kg | |||
| Elementary flow | Emissions / Emissions to water / Emissions to fresh water | 2.29147175928027E-15 kg | 2.29147175928027E-15 kg | |||
| Elementary flow | Emissions / Emissions to air / Emissions to lower stratosphere and upper troposphere | 5.86726324883033E-12 kg | 5.86726324883033E-12 kg | |||
| Elementary flow | Emissions / Emissions to air / Emissions to air, unspecified | 6.08101377829359E-11 kg | 6.08101377829359E-11 kg | |||
| Elementary flow | Emissions / Emissions to water / Emissions to fresh water | -1.07112144393568E-15 kg | -1.07112144393568E-15 kg | |||
| Elementary flow | Emissions / Emissions to air / Emissions to air, unspecified | 7.540266857200786E-8 kg | 7.540266857200786E-8 kg | |||
| Elementary flow | Emissions / Emissions to water / Emissions to water, unspecified | 2.59501568995702E-13 kg | 2.59501568995702E-13 kg | |||
| Elementary flow | Emissions / Emissions to water / Emissions to fresh water | 1.78506885427722E-6 kg | 1.78506885427722E-6 kg | |||
| Elementary flow | Emissions / Emissions to air / Emissions to air, unspecified | 2.01378962694475E-14 kg | 2.01378962694475E-14 kg | |||
| Elementary flow | Emissions / Emissions to water / Emissions to fresh water | 5.02045601077293E-13 kg | 5.02045601077293E-13 kg | |||
| Elementary flow | Emissions / Emissions to water / Emissions to water, unspecified | 2.3086355653196E-15 kg | 2.3086355653196E-15 kg | |||
| Elementary flow | Emissions / Emissions to air / Emissions to air, unspecified (long-term) | 3.35780835759533E-9 kg | 3.35780835759533E-9 kg | |||
| Elementary flow | Emissions / Emissions to water / Emissions to fresh water | 1.53726402082082E-17 kg | 1.53726402082082E-17 kg | |||
| Elementary flow | Emissions / Emissions to air / Emissions to air, unspecified | 1.00406389032587E-8 kg | 1.00406389032587E-8 kg | |||
| Elementary flow | Emissions / Emissions to water / Emissions to fresh water | 1.97668666349077E-9 kg | 1.97668666349077E-9 kg | |||
| Elementary flow | Emissions / Emissions to air / Emissions to air, unspecified | 6.84679070768418E-14 kg | 6.84679070768418E-14 kg | |||
| Elementary flow | Emissions / Emissions to water / Emissions to fresh water | 2.74053551224646E-5 kg | 2.74053551224646E-5 kg | |||
| Elementary flow | Emissions / Emissions to water / Emissions to fresh water | 2.63924600829539E-8 m3 | 2.63924600829539E-8 m3 | |||
| Elementary flow | Emissions / Emissions to soil / Emissions to non-agricultural soil | 9.96242433338072E-7 kg | 9.96242433338072E-7 kg | |||
| Elementary flow | Emissions / Emissions to air / Emissions to air, unspecified | 8.33042714864099E-7 kg | 8.33042714864099E-7 kg | |||
| Elementary flow | Emissions / Emissions to water / Emissions to fresh water | 1.44635104200568E-18 kg | 1.44635104200568E-18 kg | |||
| Elementary flow | Emissions / Emissions to water / Emissions to fresh water | 1.42621475562073E-9 m3 | 1.42621475562073E-9 m3 | |||
| Elementary flow | Emissions / Emissions to soil / Emissions to agricultural soil | 1.44907444490859E-10 kg | 1.44907444490859E-10 kg | |||
| Elementary flow | Emissions / Emissions to water / Emissions to water, unspecified | 4.06981341557075E-23 kg | 4.06981341557075E-23 kg | |||
| Elementary flow | Emissions / Emissions to soil / Emissions to agricultural soil | 7.92788042697612E-15 kg | 7.92788042697612E-15 kg | |||
| Elementary flow | Emissions / Emissions to air / Emissions to air, unspecified | 4.46714057597172E-13 kg | 4.46714057597172E-13 kg | |||
| Elementary flow | Emissions / Emissions to water / Emissions to fresh water | 4.64114671145763E-11 kg | 4.64114671145763E-11 kg | |||
| Elementary flow | Emissions / Emissions to soil / Emissions to non-agricultural soil | 1.27767304336656E-14 kg | 1.27767304336656E-14 kg | |||
| Elementary flow | Emissions / Emissions to water / Emissions to fresh water | 2.27885660040589E-17 kg | 2.27885660040589E-17 kg | |||
| Elementary flow | Emissions / Emissions to water / Emissions to fresh water | 2.19522128643387E-22 kg | 2.19522128643387E-22 kg | |||
| Elementary flow | Emissions / Emissions to air / Emissions to air, unspecified | 3.60343459353089E-14 kg | 3.60343459353089E-14 kg | |||
| Elementary flow | Emissions / Emissions to air / Emissions to air, unspecified | 3.64883754144954E-5 kBq | 3.64883754144954E-5 kBq | |||
| Elementary flow | Emissions / Emissions to air / Emissions to air, unspecified | 2.58489654343499E-5 kg | 2.58489654343499E-5 kg | |||
| Elementary flow | Emissions / Emissions to water / Emissions to fresh water | 1.17281906052194E-12 kg | 1.17281906052194E-12 kg | |||
| Elementary flow | Emissions / Emissions to soil / Emissions to agricultural soil | 2.29139817998826E-13 kg | 2.29139817998826E-13 kg | |||
| Elementary flow | Emissions / Emissions to air / Emissions to air, unspecified | 3.75421441532004E-6 kg | 3.75421441532004E-6 kg | |||
| Elementary flow | Emissions / Emissions to soil / Emissions to agricultural soil | 4.35980466019191E-7 kg | 4.35980466019191E-7 kg | |||
| Elementary flow | Emissions / Emissions to soil / Emissions to agricultural soil | 4.68142424576172E-14 kg | 4.68142424576172E-14 kg | |||
| Elementary flow | Emissions / Emissions to water / Emissions to fresh water | 1.07262910574191E-10 kg | 1.07262910574191E-10 kg | |||
| Elementary flow | Emissions / Emissions to air / Emissions to air, unspecified | 1.55566664441023E-10 kg | 1.55566664441023E-10 kg | |||
| Elementary flow | Emissions / Emissions to soil / Emissions to agricultural soil | 8.54996640508618E-12 kg | 8.54996640508618E-12 kg | |||
| Elementary flow | Emissions / Emissions to water / Emissions to fresh water | 9.80669791143726E-16 kg | 9.80669791143726E-16 kg | |||
| Elementary flow | Emissions / Emissions to air / Emissions to air, unspecified | 7.92011655228167E-19 kg | 7.92011655228167E-19 kg | |||
| Elementary flow | Emissions / Emissions to soil / Emissions to non-agricultural soil | 4.99150034077681E-15 kg | 4.99150034077681E-15 kg | |||
| Elementary flow | Emissions / Emissions to water / Emissions to fresh water | 8.71338457011374E-18 kg | 8.71338457011374E-18 kg | |||
| Elementary flow | Emissions / Emissions to air / Emissions to air, unspecified (long-term) | 6.04918155245168E-10 kg | 6.04918155245168E-10 kg | |||
| Elementary flow | Emissions / Emissions to water / Emissions to sea water | 2.73433472695761E-7 kg | 2.73433472695761E-7 kg | |||
| Elementary flow | Emissions / Emissions to water / Emissions to fresh water | 7.03046457233198E-6 m3 | 7.03046457233198E-6 m3 | |||
| Elementary flow | Emissions / Emissions to water / Emissions to fresh water | 2.1761433905107E-12 kg | 2.1761433905107E-12 kg | |||
| Elementary flow | Emissions / Emissions to soil / Emissions to non-agricultural soil | 2.63707079970747E-8 kg | 2.63707079970747E-8 kg | |||
| Elementary flow | Emissions / Emissions to air / Emissions to air, unspecified | 2.72474491271351E-6 kg | 2.72474491271351E-6 kg | |||
| Waste flow | Wastes / Other waste | 6.8642422265684E-12 kg | 6.8642422265684E-12 kg | |||
| Elementary flow | Emissions / Emissions to air / Emissions to air, unspecified | 8.51068569036813E-5 kg | 8.51068569036813E-5 kg | |||
| Elementary flow | Emissions / Emissions to air / Emissions to air, unspecified | 4.911243252697E-9 kBq | 4.911243252697E-9 kBq | |||
| Elementary flow | Emissions / Emissions to water / Emissions to sea water | 4.18408850408894E-18 kg | 4.18408850408894E-18 kg | |||
| Elementary flow | Emissions / Emissions to air / Emissions to air, unspecified | 5.34730023923639E-13 kg | 5.34730023923639E-13 kg | |||
| Elementary flow | Emissions / Emissions to water / Emissions to fresh water | 1.44572023287083E-5 kBq | 1.44572023287083E-5 kBq | |||
| Elementary flow | Emissions / Emissions to soil / Emissions to agricultural soil | 2.79927125959823E-12 kg | 2.79927125959823E-12 kg |
| LCIA Method Data set | Mean amount | Unit | Kommentar |
|---|---|---|---|
|
0.00459804858177149
| mol H+ equivalents | ||
|
0.917345602124485
| kg CO2 Equivalents | ||
|
6.38060095321281E-4
| kg CO2-Equivalents | ||
|
0.916295153920254
| kg CO2 Equivalents | ||
|
4.12388108910172E-4
| kg CO2-Equivalents | ||
|
1.21423691663108E-8
| disease incidence | ||
|
10.6507141245611
| CTUe | ||
|
9.92910952659013
| CTUe | ||
|
0.721604597971046
| CTUe | ||
|
0.00106838979160111
| kg N equivalents | ||
|
1.65289075905845E-4
| kg P equivalents | ||
|
0.011466107057286
| mol N equivalents | ||
|
3.0942187488312E-10
| CTUh | ||
|
2.17474340225057E-10
| CTUh | ||
|
9.19475346580632E-11
| CTUh | ||
|
5.56177665701742E-9
| CTUh | ||
|
5.2252786653976E-9
| CTUh | ||
|
3.36497991619814E-10
| CTUh | ||
|
0.343135884048325
| kBq U235 equivalents | ||
|
2.23203691443327
| dimensionless (pt) | ||
|
2.11725415853231E-7
| kg CFC11 equivalents | ||
|
0.00433928421120586
| kg NMVOC equivalents | ||
|
64.0965055834903
| MJ | ||
|
8.67898308998501E-7
| kg Sb equivalents | ||
|
29.4446066958188
| m3-world equivalents |