| Key Data Set Information | |
| Location | KR |
| Geographical representativeness description | Republic of Korea |
| Reference year | 2021 |
| Name |
Base name
; Mix and location types
Diesel, Mineral Oil; Production mix, at plant
|
| Classification |
Class name
:
Hierarchy level
|
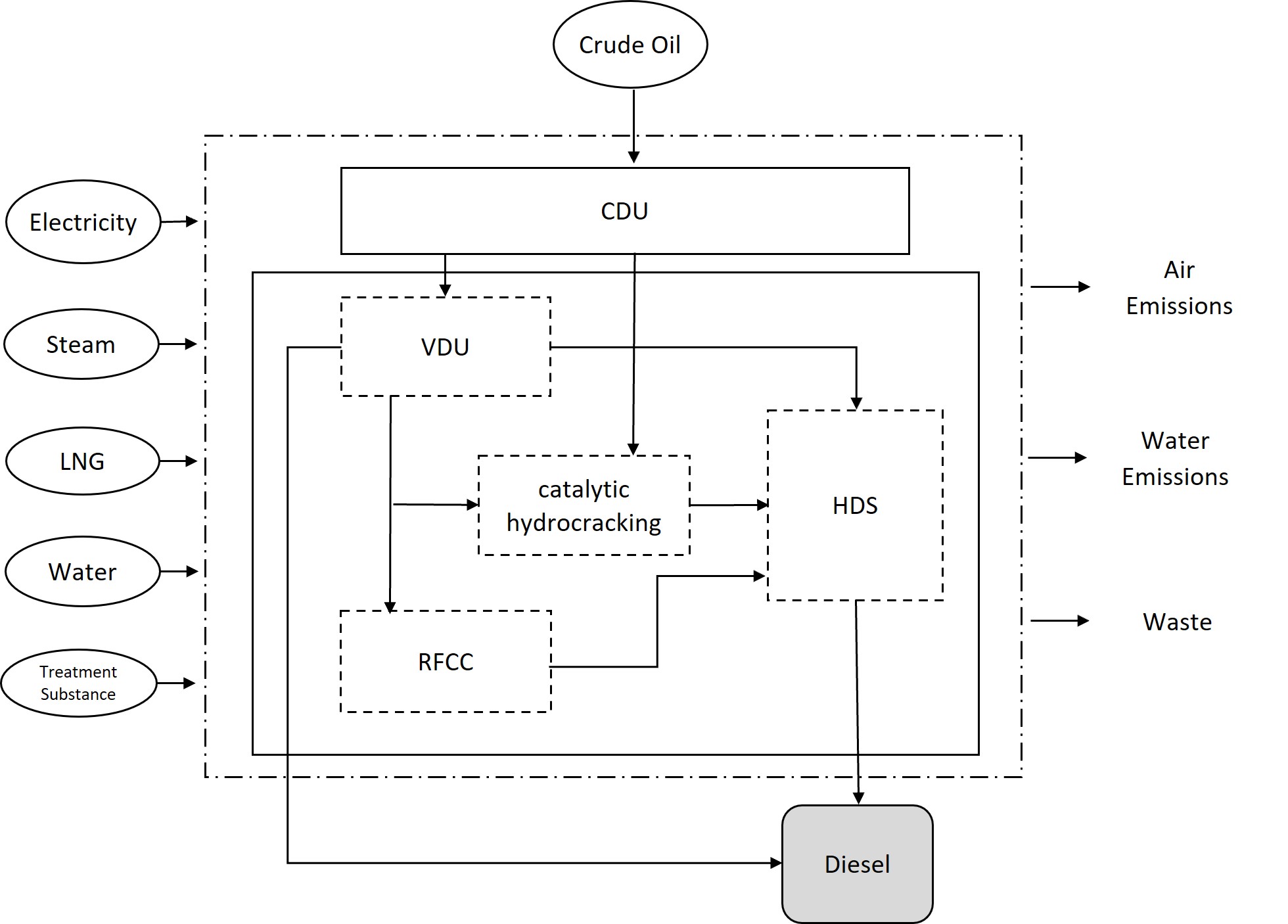
| General comment on data set | The dataset represents the diesel, production mix in Korea. It is based on the models created for the Korea EPD database by Korea Environmental Industry & technology Insutiture(KEITI). The data is based on industry data supplied by companies which have representative technology and thus reflecting the realtity in diesel, production mix. The foreground data have been combined with LCI models integrating Korea LCI dataset and Ecoinvent v3.8 & Sphera on energy supply systems, ancillary processes and materials as background data. Therefore, the data set covers all relevant process steps / technologies over the supply chain of the represented "cradle to gate" inventory. |
| Copyright | Yes |
| Owner of data set | |
| Quantitative reference | |
| Reference flow(s) |
|
| Time representativeness | |
| Data set valid until | 2024 |
| Time representativeness description | Annual data (2020) |
| Technological representativeness | |
| Technology description including background system | This dataset represents the production of diesel by refinery |
| Included data sets | |
| Flow diagram(s) or picture(s) | |
| LCI method and allocation | |||||||||||||||||||||||||
| Type of data set | LCI result | ||||||||||||||||||||||||
| LCI Method Principle | Attributional | ||||||||||||||||||||||||
| LCI method approaches |
| ||||||||||||||||||||||||
| Data sources, treatment and representativeness | |||||||||||||||||||||||||
| Data cut-off and completeness principles | No cut-off criteria | ||||||||||||||||||||||||
| Data selection and combination principles | Spefic data(questionnaire or survey) | ||||||||||||||||||||||||
| Data treatment and extrapolations principles | Vertical aggregation | ||||||||||||||||||||||||
| Percentage supply or production covered | 100.0 % | ||||||||||||||||||||||||
| Data collection period | 2020.11~2021.02 | ||||||||||||||||||||||||
| Completeness | |||||||||||||||||||||||||
| Completeness of product model | No statement | ||||||||||||||||||||||||
| Supported impact assessment methods | |||||||||||||||||||||||||
| Completeness elementary flows, per topic |
| ||||||||||||||||||||||||
| Validation | |||||||||||||||||||||||||
| |||||||||||||||||||||||||
| Data generator | |
| Data set generator / modeller | |
| Data entry by | |
| Time stamp (last saved) | 2024-08-22T16:18:16.000 |
| Data set format(s) | |
| Data entry by | |
| Publication and ownership | |
| UUID | 01e8bb45-c8eb-47ed-ba09-f1645372c6ab |
| Date of last revision | 2024-08-22T16:18:16.000 |
| Data set version | 00.00.001 |
| Workflow and publication status | Working draft |
| Registration authority | |
| Owner of data set | |
| Copyright | Yes |
| License type | Free of charge for all users and uses |
Inputs
| Type of flow | Classification | Flow | Mean amount | Resulting amount | Minimum amount | Maximum amount |
|---|---|---|---|---|---|---|
| Elementary flow | Land use / Land occupation | 3.761083616683E-6 m2*a | 3.761083616683E-6 m2*a | |||
| Elementary flow | Resources / Resources from water / Renewable material resources from water | 5.44384558303756E-6 m3 | 5.44384558303756E-6 m3 | |||
| Elementary flow | Land use / Land transformation | 2.68819578467393E-16 m2 | 2.68819578467393E-16 m2 | |||
| Elementary flow | Resources / Resources from water / Renewable material resources from water | 1.62782990560367E-9 m3 | 1.62782990560367E-9 m3 | |||
| Elementary flow | Land use / Land transformation | 3.94677047060338E-11 m2 | 3.94677047060338E-11 m2 | |||
| Elementary flow | Land use / Land occupation | 3.72692602223694E-11 m2*a | 3.72692602223694E-11 m2*a | |||
| Elementary flow | Land use / Land transformation | 1.03706863527833E-9 m2 | 1.03706863527833E-9 m2 | |||
| Elementary flow | Land use / Land occupation | 6.33778110317492E-9 m2*a | 6.33778110317492E-9 m2*a | |||
| Elementary flow | Land use / Land transformation | 7.33599955198716E-7 m2 | 7.33599955198716E-7 m2 | |||
| Elementary flow | Land use / Land transformation | 5.92277185483262E-18 m2 | 5.92277185483262E-18 m2 | |||
| Elementary flow | Land use / Land transformation | 4.48047134371357E-11 m2 | 4.48047134371357E-11 m2 | |||
| Elementary flow | Land use / Land transformation | 3.8290563030869E-9 m2 | 3.8290563030869E-9 m2 | |||
| Elementary flow | Resources / Resources from ground / Non-renewable element resources from ground | 1.15615485072151E-9 kg | 1.15615485072151E-9 kg | |||
| Elementary flow | Land use / Land transformation | 3.45547610745954E-13 m2 | 3.45547610745954E-13 m2 | |||
| Elementary flow | Land use / Land transformation | 1.33103680698296E-29 m2 | 1.33103680698296E-29 m2 | |||
| Elementary flow | Land use / Land transformation | 6.74612372556457E-14 m2 | 6.74612372556457E-14 m2 | |||
| Elementary flow | Land use / Land transformation | 5.64161810405289E-6 m2 | 5.64161810405289E-6 m2 | |||
| Elementary flow | Land use / Land occupation | 6.27011863318891E-10 m2*a | 6.27011863318891E-10 m2*a | |||
| Elementary flow | Land use / Land transformation | 3.6518398225187E-11 m2 | 3.6518398225187E-11 m2 | |||
| Elementary flow | Resources / Resources from water / Renewable energy resources from water | 5.22575170233209E-15 MJ | 5.22575170233209E-15 MJ | |||
| Elementary flow | Land use / Land transformation | 4.05862114208059E-14 m2 | 4.05862114208059E-14 m2 | |||
| Elementary flow | Land use / Land occupation | 2.9979197881165E-6 m2*a | 2.9979197881165E-6 m2*a | |||
| Elementary flow | Resources / Resources from water / Renewable energy resources from water | 0.050682512861289 MJ | 0.050682512861289 MJ | |||
| Elementary flow | Resources / Resources from ground / Non-renewable element resources from ground | 1.4881208773596E-7 kg | 1.4881208773596E-7 kg | |||
| Elementary flow | Resources / Resources from ground / Non-renewable material resources from ground | 0.04569915187981714 kg | 0.04569915187981714 kg | |||
| Elementary flow | Land use / Land transformation | 3.17314650518956E-11 m2 | 3.17314650518956E-11 m2 | |||
| Elementary flow | Land use / Land transformation | 2.08688839490873E-11 m2 | 2.08688839490873E-11 m2 | |||
| Elementary flow | Land use / Land transformation | 3.7610836166857E-6 m2 | 3.7610836166857E-6 m2 | |||
| Elementary flow | Land use / Land transformation | 2.68819578467393E-16 m2 | 2.68819578467393E-16 m2 | |||
| Elementary flow | Resources / Resources from water / Renewable material resources from water | 5.611932053111528E-6 m3 | 5.611932053111528E-6 m3 | |||
| Elementary flow | Land use / Land transformation | 2.44470258069533E-5 m2 | 2.44470258069533E-5 m2 | |||
| Elementary flow | Land use / Land occupation | 8.06998274317038E-12 m2*a | 8.06998274317038E-12 m2*a | |||
| Elementary flow | Resources / Resources from ground / Non-renewable energy resources from ground | 43.74604676997011 MJ | 43.74604676997011 MJ | |||
| Elementary flow | Land use / Land transformation | 9.54105910642198E-12 m2 | 9.54105910642198E-12 m2 | |||
| Elementary flow | Resources / Resources from ground / Non-renewable material resources from ground | 5.65881653472096E-9 kg | 5.65881653472096E-9 kg | |||
| Elementary flow | Resources / Resources from ground / Renewable material resources from ground | 2.66954417093139E-17 kg | 2.66954417093139E-17 kg | |||
| Elementary flow | Land use / Land transformation | 1.93399620877881E-13 m2 | 1.93399620877881E-13 m2 | |||
| Elementary flow | Land use / Land transformation | 3.92906726618777E-10 m2 | 3.92906726618777E-10 m2 | |||
| Elementary flow | Land use / Land transformation | 1.1075002489816E-15 m2 | 1.1075002489816E-15 m2 | |||
| Elementary flow | Resources / Resources from air / Renewable material resources from air | 0.00291647002575922 kg | 0.00291647002575922 kg | |||
| Elementary flow | Land use / Land occupation | 4.37383719435668E-11 m2*a | 4.37383719435668E-11 m2*a | |||
| Elementary flow | Land use / Land transformation | 3.58845637936396E-7 m2 | 3.58845637936396E-7 m2 | |||
| Elementary flow | Land use / Land occupation | 5.6833414717469E-13 m2*a | 5.6833414717469E-13 m2*a | |||
| Elementary flow | Resources / Resources from water / Renewable material resources from water | 1.14872333621115E-7 m3 | 1.14872333621115E-7 m3 | |||
| Elementary flow | Land use / Land transformation | 6.60539700227109E-13 m2 | 6.60539700227109E-13 m2 | |||
| Elementary flow | Land use / Land occupation | 9.20821194034518E-12 m2*a | 9.20821194034518E-12 m2*a | |||
| Elementary flow | Resources / Resources from ground / Non-renewable element resources from ground | 3.02774086369723E-11 kg | 3.02774086369723E-11 kg | |||
| Elementary flow | Land use / Land transformation | 2.018106120363E-9 m2 | 2.018106120363E-9 m2 | |||
| Elementary flow | Land use / Land transformation | 9.20988780698484E-10 m2 | 9.20988780698484E-10 m2 | |||
| Elementary flow | Resources / Resources from ground / Non-renewable element resources from ground | 8.56784812644429E-6 kg | 8.56784812644429E-6 kg | |||
| Elementary flow | Resources / Resources from biosphere / Renewable energy resources from biosphere | 0.024177524713430782 MJ | 0.024177524713430782 MJ | |||
| Elementary flow | Land use / Land occupation | 1.13243891979924E-19 m2*a | 1.13243891979924E-19 m2*a | |||
| Elementary flow | Resources / Resources from ground / Non-renewable element resources from ground | 2.22927964609276E-11 kg | 2.22927964609276E-11 kg | |||
| Elementary flow | Resources / Resources from water / Renewable material resources from water | 2.14988663808716E-9 m3 | 2.14988663808716E-9 m3 | |||
| Elementary flow | Land use / Land transformation | 1.05629685052915E-10 m2 | 1.05629685052915E-10 m2 | |||
| Elementary flow | Land use / Land occupation | 4.61294175641544E-11 m2*a | 4.61294175641544E-11 m2*a | |||
| Elementary flow | Land use / Land occupation | 1.54428462811835E-11 m2*a | 1.54428462811835E-11 m2*a | |||
| Elementary flow | Land use / Land occupation | 5.23182220925554E-5 m2*a | 5.23182220925554E-5 m2*a | |||
| Elementary flow | Land use / Land transformation | 6.24130375682577E-17 m2 | 6.24130375682577E-17 m2 | |||
| Elementary flow | Resources / Resources from ground / Non-renewable element resources from ground | 4.78548365977962E-14 kg | 4.78548365977962E-14 kg | |||
| Elementary flow | Land use / Land occupation | 4.35249056086051E-12 m2*a | 4.35249056086051E-12 m2*a | |||
| Elementary flow | Land use / Land transformation | 8.03211511812908E-11 m2 | 8.03211511812908E-11 m2 | |||
| Elementary flow | Resources / Resources from ground / Non-renewable energy resources from ground | 2.2732591432694216 MJ | 2.2732591432694216 MJ | |||
| Elementary flow | Land use / Land transformation | 2.09759392209527E-13 m2 | 2.09759392209527E-13 m2 | |||
| Elementary flow | Resources / Resources from water / Renewable material resources from water | 0.29454998393214016 m3 | 0.29454998393214016 m3 | |||
| Elementary flow | Resources / Resources from ground / Non-renewable element resources from ground | 1.60462777848326E-5 kg | 1.60462777848326E-5 kg | |||
| Elementary flow | Resources / Resources from ground / Non-renewable material resources from ground | 7.96980863249378E-6 kg | 7.96980863249378E-6 kg | |||
| Elementary flow | Land use / Land transformation | 1.33103680698296E-29 m2 | 1.33103680698296E-29 m2 | |||
| Elementary flow | Resources / Resources from water / Renewable material resources from water | 3.55873642784129E-9 m3 | 3.55873642784129E-9 m3 | |||
| Elementary flow | Resources / Resources from ground / Non-renewable material resources from ground | 0.00325306014824655 kg | 0.00325306014824655 kg | |||
| Elementary flow | Land use / Land occupation | 6.12265169976433E-11 m2*a | 6.12265169976433E-11 m2*a | |||
| Elementary flow | Land use / Land transformation | 3.42221078570673E-10 m2 | 3.42221078570673E-10 m2 | |||
| Elementary flow | Resources / Resources from water / Renewable material resources from water | 4.25958376591716E-8 m3 | 4.25958376591716E-8 m3 | |||
| Elementary flow | Land use / Land occupation | 8.81227190496834E-5 m2*a | 8.81227190496834E-5 m2*a | |||
| Elementary flow | Land use / Land transformation | 1.89290133161131E-13 m2 | 1.89290133161131E-13 m2 | |||
| Elementary flow | Resources / Resources from ground / Non-renewable material resources from ground | 4.55931158640787E-10 kg | 4.55931158640787E-10 kg | |||
| Elementary flow | Resources / Resources from ground / Non-renewable material resources from ground | 4.3061734242853E-4 kg | 4.3061734242853E-4 kg | |||
| Elementary flow | Land use / Land occupation | 1.52485164209096E-4 m2*a | 1.52485164209096E-4 m2*a | |||
| Elementary flow | Land use / Land transformation | 3.98031621009757E-9 m2 | 3.98031621009757E-9 m2 | |||
| Elementary flow | Resources / Resources from air / Renewable element resources from air | 7.84774905008801E-4 kg | 7.84774905008801E-4 kg | |||
| Elementary flow | Land use / Land occupation | 2.44470261225107E-5 m2*a | 2.44470261225107E-5 m2*a | |||
| Elementary flow | Land use / Land transformation | 3.77369302914478E-11 m2 | 3.77369302914478E-11 m2 | |||
| Elementary flow | Land use / Land transformation | 1.38736460709443E-12 m2 | 1.38736460709443E-12 m2 | |||
| Elementary flow | Land use / Land occupation | 5.1598339943554E-12 m2*a | 5.1598339943554E-12 m2*a | |||
| Elementary flow | Land use / Land transformation | 6.789570519047E-11 m2 | 6.789570519047E-11 m2 | |||
| Elementary flow | Land use / Land transformation | 8.21263880877629E-10 m2 | 8.21263880877629E-10 m2 | |||
| Elementary flow | Land use / Land transformation | 8.68392967173756E-14 m2 | 8.68392967173756E-14 m2 | |||
| Elementary flow | Land use / Land transformation | 6.61008650315746E-12 m2 | 6.61008650315746E-12 m2 | |||
| Elementary flow | Land use / Land transformation | 1.37479094949285E-14 m2 | 1.37479094949285E-14 m2 | |||
| Elementary flow | Resources / Resources from ground / Non-renewable element resources from ground | 8.08358445850853E-15 kg | 8.08358445850853E-15 kg | |||
| Elementary flow | Resources / Resources from water / Renewable material resources from water | 9.82989251133683E-7 m3 | 9.82989251133683E-7 m3 | |||
| Elementary flow | Land use / Land transformation | 2.05498186681705E-11 m2 | 2.05498186681705E-11 m2 | |||
| Elementary flow | Resources / Resources from ground / Non-renewable element resources from ground | 0.0016655993258055 kg | 0.0016655993258055 kg | |||
| Elementary flow | Land use / Land transformation | 1.86274768950896E-10 m2 | 1.86274768950896E-10 m2 | |||
| Elementary flow | Land use / Land transformation | 3.26571771794645E-13 m2 | 3.26571771794645E-13 m2 | |||
| Elementary flow | Land use / Land transformation | 4.4422410210952E-14 m2 | 4.4422410210952E-14 m2 | |||
| Elementary flow | Land use / Land occupation | 1.54320988731126E-11 m2*a | 1.54320988731126E-11 m2*a | |||
| Elementary flow | Land use / Land transformation | 9.43779798845315E-10 m2 | 9.43779798845315E-10 m2 | |||
| Elementary flow | Land use / Land occupation | 7.91021229476521E-9 m2*a | 7.91021229476521E-9 m2*a | |||
| Elementary flow | Land use / Land transformation | 6.34853311406226E-14 m2 | 6.34853311406226E-14 m2 | |||
| Elementary flow | Resources / Resources from water / Renewable material resources from water | 3.37853456055134E-5 m3 | 3.37853456055134E-5 m3 | |||
| Elementary flow | Resources / Resources from water / Renewable material resources from water | 1.28040392241248E-8 m3 | 1.28040392241248E-8 m3 | |||
| Elementary flow | Land use / Land transformation | 6.74612372556457E-14 m2 | 6.74612372556457E-14 m2 | |||
| Elementary flow | Land use / Land occupation | 7.06032743042385E-11 m2*a | 7.06032743042385E-11 m2*a | |||
| Elementary flow | Land use / Land occupation | 1.0570664144287E-10 m2*a | 1.0570664144287E-10 m2*a | |||
| Elementary flow | Resources / Resources from water / Renewable material resources from water | 6.49028225765149E-8 m3 | 6.49028225765149E-8 m3 | |||
| Elementary flow | Land use / Land transformation | 1.76936052700447E-10 m2 | 1.76936052700447E-10 m2 | |||
| Elementary flow | Land use / Land occupation | 1.78735425327134E-11 m2*a | 1.78735425327134E-11 m2*a | |||
| Elementary flow | Land use / Land transformation | 6.83964629796339E-10 m2 | 6.83964629796339E-10 m2 | |||
| Elementary flow | Resources / Resources from water / Renewable material resources from water | 1.88761607411286E-8 m3 | 1.88761607411286E-8 m3 | |||
| Elementary flow | Land use / Land transformation | 8.56221120566297E-14 m2 | 8.56221120566297E-14 m2 | |||
| Elementary flow | Land use / Land transformation | 7.58326538913381E-11 m2 | 7.58326538913381E-11 m2 | |||
| Elementary flow | Land use / Land occupation | 1.66898606083854E-10 m2*a | 1.66898606083854E-10 m2*a | |||
| Elementary flow | Land use / Land transformation | 4.01605357504714E-9 m2 | 4.01605357504714E-9 m2 | |||
| Elementary flow | Resources / Resources from ground / Non-renewable element resources from ground | 1.2328612325601796E-5 kg | 1.2328612325601796E-5 kg | |||
| Elementary flow | Land use / Land transformation | 5.46916912328727E-13 m2 | 5.46916912328727E-13 m2 | |||
| Elementary flow | Land use / Land transformation | 1.26921499696328E-15 m2 | 1.26921499696328E-15 m2 | |||
| Elementary flow | Land use / Land transformation | 1.06726607611909E-12 m2 | 1.06726607611909E-12 m2 | |||
| Elementary flow | Land use / Land transformation | 2.21435458579E-10 m2 | 2.21435458579E-10 m2 | |||
| Elementary flow | Land use / Land occupation | 2.30936381155599E-5 m2*a | 2.30936381155599E-5 m2*a | |||
| Elementary flow | Land use / Land transformation | 2.68738128034498E-12 m2 | 2.68738128034498E-12 m2 | |||
| Elementary flow | Land use / Land occupation | 1.16540587466145E-13 m2*a | 1.16540587466145E-13 m2*a | |||
| Elementary flow | Resources / Resources from water / Renewable material resources from water | 3.04932840288306E-10 m3 | 3.04932840288306E-10 m3 | |||
| Elementary flow | Land use / Land occupation | 6.5633735723398E-12 m2*a | 6.5633735723398E-12 m2*a | |||
| Elementary flow | Land use / Land transformation | 4.10422484795668E-10 m2 | 4.10422484795668E-10 m2 | |||
| Elementary flow | Land use / Land transformation | 2.98916667307122E-9 m2 | 2.98916667307122E-9 m2 | |||
| Elementary flow | Resources / Resources from water / Renewable material resources from water | 6.62425099085985E-6 m3 | 6.62425099085985E-6 m3 | |||
| Elementary flow | Land use / Land transformation | 1.20430175084126E-22 m2 | 1.20430175084126E-22 m2 | |||
| Elementary flow | Resources / Resources from water / Renewable material resources from water | 1.17318520442125E-5 m3 | 1.17318520442125E-5 m3 | |||
| Elementary flow | Resources / Resources from water / Renewable material resources from water | 1.15231438271619E-6 m3 | 1.15231438271619E-6 m3 | |||
| Elementary flow | Land use / Land transformation | 2.27472662793093E-12 m2 | 2.27472662793093E-12 m2 | |||
| Elementary flow | Resources / Resources from ground / Non-renewable material resources from ground | 1.14177143943929E-5 kg | 1.14177143943929E-5 kg | |||
| Elementary flow | Land use / Land occupation | 0.00115211058181799 m3*a | 0.00115211058181799 m3*a | |||
| Elementary flow | Land use / Land transformation | 6.83964629796339E-10 m2 | 6.83964629796339E-10 m2 | |||
| Elementary flow | Land use / Land transformation | 1.1409122005361E-10 m2 | 1.1409122005361E-10 m2 | |||
| Elementary flow | Resources / Resources from water / Renewable material resources from water | 3.7743623403752E-4 m3 | 3.7743623403752E-4 m3 | |||
| Elementary flow | Land use / Land transformation | 2.311797025529E-14 m2 | 2.311797025529E-14 m2 | |||
| Elementary flow | Land use / Land occupation | 4.21075423568289E-12 m2*a | 4.21075423568289E-12 m2*a | |||
| Elementary flow | Resources / Resources from water / Renewable material resources from water | 0.00586389258479434 m3 | 0.00586389258479434 m3 | |||
| Elementary flow | Land use / Land occupation | 3.20007513754926E-7 m2*a | 3.20007513754926E-7 m2*a | |||
| Elementary flow | Land use / Land transformation | 4.90103346110863E-15 m2 | 4.90103346110863E-15 m2 | |||
| Elementary flow | Land use / Land transformation | 3.26832480809413E-12 m2 | 3.26832480809413E-12 m2 | |||
| Elementary flow | Land use / Land occupation | 1.2768934546652E-15 m2*a | 1.2768934546652E-15 m2*a | |||
| Elementary flow | Land use / Land transformation | 6.19824278272664E-9 m2 | 6.19824278272664E-9 m2 | |||
| Elementary flow | Land use / Land occupation | 8.28329422869422E-10 m2*a | 8.28329422869422E-10 m2*a | |||
| Elementary flow | Land use / Land transformation | 6.00040224125247E-12 m2 | 6.00040224125247E-12 m2 | |||
| Elementary flow | Land use / Land occupation | 6.24548296395613E-11 m2*a | 6.24548296395613E-11 m2*a | |||
| Elementary flow | Resources / Resources from water / Renewable material resources from water | 4.37590158470895E-8 m3 | 4.37590158470895E-8 m3 | |||
| Elementary flow | Resources / Resources from ground / Non-renewable element resources from ground | 5.27625561873431E-8 kg | 5.27625561873431E-8 kg | |||
| Elementary flow | Land use / Land occupation | 2.00994195325962E-10 m2*a | 2.00994195325962E-10 m2*a | |||
| Elementary flow | Resources / Resources from water / Renewable material resources from water | 5.804114448202211E-5 m3 | 5.804114448202211E-5 m3 | |||
| Elementary flow | Land use / Land occupation | 3.46044478311E-12 m2*a | 3.46044478311E-12 m2*a | |||
| Elementary flow | Resources / Resources from water / Renewable material resources from water | 0.010333397857328085 m3 | 0.010333397857328085 m3 | |||
| Elementary flow | Land use / Land occupation | 1.04896950123583E-7 m2*a | 1.04896950123583E-7 m2*a | |||
| Elementary flow | Land use / Land transformation | 9.41429282997081E-11 m2 | 9.41429282997081E-11 m2 | |||
| Elementary flow | Land use / Land occupation | 2.58860015709162E-6 m2*a | 2.58860015709162E-6 m2*a | |||
| Elementary flow | Resources / Resources from ground / Non-renewable element resources from ground | 9.619594066976473E-6 kg | 9.619594066976473E-6 kg | |||
| Elementary flow | Resources / Resources from ground / Non-renewable material resources from ground | 8.77223091088295E-10 kg | 8.77223091088295E-10 kg | |||
| Elementary flow | Land use / Land transformation | 2.18910624518344E-6 m2 | 2.18910624518344E-6 m2 | |||
| Elementary flow | Land use / Land transformation | 6.12375644256625E-11 m2 | 6.12375644256625E-11 m2 | |||
| Elementary flow | Land use / Land transformation | 1.09856479331174E-10 m2 | 1.09856479331174E-10 m2 | |||
| Elementary flow | Land use / Land occupation | 6.14805912983837E-12 m2*a | 6.14805912983837E-12 m2*a | |||
| Elementary flow | Resources / Resources from water / Renewable material resources from water | 5.36326245900661E-7 m3 | 5.36326245900661E-7 m3 | |||
| Elementary flow | Land use / Land occupation | 2.42218023986098E-8 m3 | 2.42218023986098E-8 m3 | |||
| Elementary flow | Resources / Resources from water / Renewable material resources from water | 3.97449587269419E-5 m3 | 3.97449587269419E-5 m3 | |||
| Elementary flow | Land use / Land occupation | 9.26879395780382E-13 m2*a | 9.26879395780382E-13 m2*a | |||
| Elementary flow | Land use / Land transformation | 1.7081957804915E-11 m2 | 1.7081957804915E-11 m2 | |||
| Elementary flow | Land use / Land transformation | 2.35467351357292E-11 m2 | 2.35467351357292E-11 m2 | |||
| Elementary flow | Land use / Land transformation | 5.80712299709504E-9 m2 | 5.80712299709504E-9 m2 | |||
| Elementary flow | Land use / Land transformation | 5.64162192993126E-6 m2 | 5.64162192993126E-6 m2 | |||
| Elementary flow | Land use / Land transformation | 3.08217591861945E-9 m2 | 3.08217591861945E-9 m2 | |||
| Elementary flow | Land use / Land transformation | 7.14950684335731E-14 m2 | 7.14950684335731E-14 m2 | |||
| Elementary flow | Land use / Land transformation | 5.13732672339779E-15 m2 | 5.13732672339779E-15 m2 | |||
| Elementary flow | Land use / Land occupation | 8.64367747306897E-12 m2*a | 8.64367747306897E-12 m2*a | |||
| Elementary flow | Land use / Land transformation | 3.95469189805289E-6 m2 | 3.95469189805289E-6 m2 | |||
| Elementary flow | Land use / Land transformation | 1.26921499696328E-15 m2 | 1.26921499696328E-15 m2 | |||
| Elementary flow | Land use / Land transformation | 2.80677712191066E-9 m2 | 2.80677712191066E-9 m2 | |||
| Elementary flow | Land use / Land transformation | 1.01036186451449E-11 m2 | 1.01036186451449E-11 m2 | |||
| Elementary flow | Land use / Land transformation | 1.75519822474703E-12 m2 | 1.75519822474703E-12 m2 | |||
| Elementary flow | Land use / Land occupation | 3.52347239246053E-9 m2*a | 3.52347239246053E-9 m2*a | |||
| Elementary flow | Land use / Land transformation | 1.17318346976153E-9 m2 | 1.17318346976153E-9 m2 | |||
| Elementary flow | Resources / Resources from water / Renewable material resources from water | 8.26750534826843E-13 m3 | 8.26750534826843E-13 m3 | |||
| Elementary flow | Land use / Land transformation | 2.4447023186199E-5 m2 | 2.4447023186199E-5 m2 | |||
| Elementary flow | Land use / Land transformation | 2.73499929838631E-13 m2 | 2.73499929838631E-13 m2 | |||
| Elementary flow | Land use / Land transformation | 2.49093980780653E-4 m2 | 2.49093980780653E-4 m2 | |||
| Elementary flow | Resources / Resources from water / Renewable material resources from water | 1.115008648684924E-4 m3 | 1.115008648684924E-4 m3 | |||
| Elementary flow | Resources / Resources from ground / Non-renewable element resources from ground | 3.70046617665744E-9 kg | 3.70046617665744E-9 kg | |||
| Elementary flow | Land use / Land transformation | 9.89824449547673E-11 m2 | 9.89824449547673E-11 m2 | |||
| Elementary flow | Resources / Resources from ground / Non-renewable material resources from ground | 4.9624531739137E-6 kg | 4.9624531739137E-6 kg | |||
| Elementary flow | Resources / Resources from ground / Non-renewable element resources from ground | 1.00713917432016E-7 kg | 1.00713917432016E-7 kg | |||
| Elementary flow | Land use / Land transformation | 7.11273526352883E-11 m2 | 7.11273526352883E-11 m2 | |||
| Elementary flow | Land use / Land transformation | 2.4675162365128E-5 m2 | 2.4675162365128E-5 m2 | |||
| Elementary flow | Land use / Land transformation | 1.40400005266811E-10 m2 | 1.40400005266811E-10 m2 | |||
| Elementary flow | Land use / Land transformation | 7.89897328712986E-12 m2 | 7.89897328712986E-12 m2 | |||
| Elementary flow | Land use / Land transformation | 5.92277185483262E-18 m2 | 5.92277185483262E-18 m2 | |||
| Elementary flow | Land use / Land transformation | 1.05600985936033E-12 m2 | 1.05600985936033E-12 m2 | |||
| Elementary flow | Resources / Resources from water / Renewable material resources from water | 3.54010685442239E-10 m3 | 3.54010685442239E-10 m3 | |||
| Elementary flow | Resources / Resources from water / Renewable material resources from water | 1.350633587996083E-4 m3 | 1.350633587996083E-4 m3 | |||
| Elementary flow | Land use / Land transformation | 4.6595919974554E-12 m2 | 4.6595919974554E-12 m2 | |||
| Elementary flow | Land use / Land transformation | 8.83684255087493E-11 m2 | 8.83684255087493E-11 m2 | |||
| Elementary flow | Land use / Land transformation | 3.761083616683E-6 m2 | 3.761083616683E-6 m2 | |||
| Elementary flow | Resources / Resources from water / Renewable material resources from water | 1.03202765154653E-11 m3 | 1.03202765154653E-11 m3 | |||
| Elementary flow | Resources / Resources from ground / Non-renewable material resources from ground | 6.039422389888176E-16 kg | 6.039422389888176E-16 kg | |||
| Elementary flow | Land use / Land transformation | 2.12350741220859E-8 m2 | 2.12350741220859E-8 m2 | |||
| Elementary flow | Land use / Land transformation | 9.02427109126942E-7 m2 | 9.02427109126942E-7 m2 | |||
| Elementary flow | Land use / Land occupation | 2.81971317013448E-10 m2*a | 2.81971317013448E-10 m2*a | |||
| Elementary flow | Land use / Land transformation | 4.67546968482635E-7 m2 | 4.67546968482635E-7 m2 | |||
| Elementary flow | Land use / Land transformation | 1.82279624272729E-12 m2 | 1.82279624272729E-12 m2 | |||
| Elementary flow | Land use / Land transformation | 4.23894187729617E-14 m2 | 4.23894187729617E-14 m2 | |||
| Elementary flow | Land use / Land transformation | 4.29882910061687E-12 m2 | 4.29882910061687E-12 m2 | |||
| Elementary flow | Resources / Resources from water / Renewable material resources from water | 2.74201469059625E-9 m3 | 2.74201469059625E-9 m3 | |||
| Elementary flow | Resources / Resources from ground / Non-renewable energy resources from ground | 0.0737943748866455 MJ | 0.0737943748866455 MJ | |||
| Elementary flow | Land use / Land transformation | 2.81189688333058E-13 m2 | 2.81189688333058E-13 m2 | |||
| Elementary flow | Land use / Land transformation | 9.39057984141527E-13 m2 | 9.39057984141527E-13 m2 | |||
| Elementary flow | Land use / Land occupation | 8.5983742534851E-12 m2*a | 8.5983742534851E-12 m2*a | |||
| Elementary flow | Land use / Land transformation | 1.03706863527833E-9 m2 | 1.03706863527833E-9 m2 | |||
| Elementary flow | Land use / Land transformation | 3.10090513545708E-7 m2 | 3.10090513545708E-7 m2 | |||
| Elementary flow | Land use / Land transformation | 2.3775207899159E-12 m2 | 2.3775207899159E-12 m2 | |||
| Elementary flow | Resources / Resources from water / Renewable material resources from water | 13.510005958700186 kg | 13.510005958700186 kg | |||
| Elementary flow | Land use / Land occupation | 3.91376999755857E-8 m2*a | 3.91376999755857E-8 m2*a | |||
| Elementary flow | Land use / Land transformation | 6.46436560116382E-11 m2 | 6.46436560116382E-11 m2 | |||
| Elementary flow | Land use / Land transformation | 1.24719188652825E-9 m2 | 1.24719188652825E-9 m2 | |||
| Elementary flow | Land use / Land transformation | 9.16367921802584E-19 m2 | 9.16367921802584E-19 m2 | |||
| Elementary flow | Resources / Resources from water / Renewable material resources from water | 1.525487279546867E-7 m3 | 1.525487279546867E-7 m3 | |||
| Elementary flow | Land use / Land transformation | -5.53244264261937E-16 m2 | -5.53244264261937E-16 m2 | |||
| Elementary flow | Land use / Land occupation | 1.24562335349427E-10 m2*a | 1.24562335349427E-10 m2*a | |||
| Elementary flow | Land use / Land transformation | 3.7610836166857E-6 m2 | 3.7610836166857E-6 m2 | |||
| Elementary flow | Land use / Land transformation | 1.62355978973067E-11 m2 | 1.62355978973067E-11 m2 | |||
| Elementary flow | Resources / Resources from water / Renewable material resources from water | -2.294919831594357E-8 m3 | -2.294919831594357E-8 m3 | |||
| Elementary flow | Land use / Land occupation | 8.36141443899726E-11 m2*a | 8.36141443899726E-11 m2*a | |||
| Elementary flow | Land use / Land transformation | 1.34571146543852E-13 m2 | 1.34571146543852E-13 m2 | |||
| Elementary flow | Land use / Land transformation | 5.67126726072552E-10 m2 | 5.67126726072552E-10 m2 | |||
| Elementary flow | Land use / Land transformation | 5.15607704054968E-4 m2 | 5.15607704054968E-4 m2 | |||
| Elementary flow | Land use / Land occupation | 3.70281810765345E-5 m2*a | 3.70281810765345E-5 m2*a | |||
| Elementary flow | Land use / Land transformation | 1.88054118801928E-6 m2 | 1.88054118801928E-6 m2 | |||
| Elementary flow | Resources / Resources from air / Renewable material resources from air | 1.1317682861284E-4 kg | 1.1317682861284E-4 kg | |||
| Elementary flow | Land use / Land transformation | 1.30646231495097E-5 m2 | 1.30646231495097E-5 m2 | |||
| Elementary flow | Resources / Resources from water / Renewable material resources from water | 6.57668996496038E-10 m3 | 6.57668996496038E-10 m3 | |||
| Elementary flow | Land use / Land transformation | 4.09506162953713E-18 m2 | 4.09506162953713E-18 m2 | |||
| Elementary flow | Land use / Land transformation | 4.89632914208582E-14 m2 | 4.89632914208582E-14 m2 | |||
| Elementary flow | Land use / Land transformation | 3.36801651374776E-12 m2 | 3.36801651374776E-12 m2 | |||
| Elementary flow | Land use / Land transformation | 1.90289750314743E-12 m2 | 1.90289750314743E-12 m2 | |||
| Elementary flow | Resources / Resources from ground / Non-renewable material resources from ground | 3.31334919350213E-6 kg | 3.31334919350213E-6 kg | |||
| Elementary flow | Land use / Land transformation | -6.67455750973591E-14 m2 | -6.67455750973591E-14 m2 | |||
| Elementary flow | Land use / Land transformation | 2.29355051202108E-12 m2 | 2.29355051202108E-12 m2 | |||
| Elementary flow | Resources / Resources from water / Renewable material resources from water | 8.3513589962026E-9 m3 | 8.3513589962026E-9 m3 | |||
| Elementary flow | Land use / Land transformation | 2.45578931189328E-9 m2 | 2.45578931189328E-9 m2 | |||
| Elementary flow | Land use / Land occupation | 2.54844983086791E-12 m2*a | 2.54844983086791E-12 m2*a | |||
| Elementary flow | Resources / Resources from water / Renewable material resources from water | 4.65584657688149E-9 m3 | 4.65584657688149E-9 m3 | |||
| Elementary flow | Land use / Land transformation | 7.02511532283458E-13 m2 | 7.02511532283458E-13 m2 | |||
| Elementary flow | Land use / Land transformation | 1.69248604147671E-5 m2 | 1.69248604147671E-5 m2 | |||
| Elementary flow | Resources / Resources from ground / Non-renewable element resources from ground | 6.35050031034624E-6 kg | 6.35050031034624E-6 kg | |||
| Elementary flow | Land use / Land transformation | 3.49516085543859E-12 m2 | 3.49516085543859E-12 m2 | |||
| Elementary flow | Land use / Land occupation | 2.73966471121497E-5 m2*a | 2.73966471121497E-5 m2*a | |||
| Elementary flow | Land use / Land transformation | 4.52671714711654E-12 m2 | 4.52671714711654E-12 m2 | |||
| Elementary flow | Resources / Resources from ground / Non-renewable element resources from ground | 5.66389423551648E-10 kg | 5.66389423551648E-10 kg | |||
| Elementary flow | Land use / Land occupation | 1.93161297899092E-7 m2*a | 1.93161297899092E-7 m2*a | |||
| Elementary flow | Land use / Land occupation | 4.55791267800121E-11 m2*a | 4.55791267800121E-11 m2*a | |||
| Elementary flow | Land use / Land occupation | 1.88827492148763E-11 m2*a | 1.88827492148763E-11 m2*a | |||
| Elementary flow | Land use / Land transformation | 3.00944488420393E-5 m2 | 3.00944488420393E-5 m2 | |||
| Elementary flow | Land use / Land transformation | 1.93399620877881E-13 m2 | 1.93399620877881E-13 m2 | |||
| Elementary flow | Land use / Land transformation | 1.38798413764174E-12 m2 | 1.38798413764174E-12 m2 | |||
| Elementary flow | Resources / Resources from water / Renewable material resources from water | 8.220529456033727E-7 m3 | 8.220529456033727E-7 m3 | |||
| Elementary flow | Resources / Resources from water / Renewable material resources from water | 6.742709929727909E-6 m3 | 6.742709929727909E-6 m3 | |||
| Elementary flow | Land use / Land transformation | 1.27528223455907E-14 m2 | 1.27528223455907E-14 m2 | |||
| Elementary flow | Land use / Land transformation | 4.90103346110863E-15 m2 | 4.90103346110863E-15 m2 | |||
| Elementary flow | Land use / Land transformation | 9.55845010038081E-12 m2 | 9.55845010038081E-12 m2 | |||
| Elementary flow | Land use / Land occupation | 9.44055024270884E-12 m2*a | 9.44055024270884E-12 m2*a | |||
| Elementary flow | Land use / Land transformation | 2.52290264642729E-22 m2 | 2.52290264642729E-22 m2 | |||
| Elementary flow | Resources / Resources from water / Renewable material resources from water | 3.97656073360049E-8 m3 | 3.97656073360049E-8 m3 | |||
| Elementary flow | Land use / Land transformation | 1.87612073178137E-10 m2 | 1.87612073178137E-10 m2 | |||
| Elementary flow | Resources / Resources from water / Renewable material resources from water | 3.2839401006959098E-6 m3 | 3.2839401006959098E-6 m3 | |||
| Elementary flow | Land use / Land transformation | 6.40179753195363E-9 m2 | 6.40179753195363E-9 m2 | |||
| Elementary flow | Resources / Resources from water / Renewable material resources from water | 3.31614687111682E-8 m3 | 3.31614687111682E-8 m3 | |||
| Elementary flow | Resources / Resources from water / Renewable material resources from water | 5.07345074303625E-6 m3 | 5.07345074303625E-6 m3 | |||
| Elementary flow | Land use / Land transformation | 4.76586840618405E-12 m2 | 4.76586840618405E-12 m2 | |||
| Elementary flow | Resources / Resources from ground / Non-renewable element resources from ground | 7.275276541859006E-6 kg | 7.275276541859006E-6 kg | |||
| Elementary flow | Resources / Resources from water / Renewable material resources from water | 1.1004698462607957E-6 m3 | 1.1004698462607957E-6 m3 | |||
| Elementary flow | Land use / Land transformation | 2.80831658918917E-11 m2 | 2.80831658918917E-11 m2 | |||
| Elementary flow | Land use / Land transformation | 7.58298812190945E-6 m2 | 7.58298812190945E-6 m2 | |||
| Elementary flow | Land use / Land transformation | 6.3000948146725E-19 m2 | 6.3000948146725E-19 m2 | |||
| Elementary flow | Land use / Land transformation | 3.76108065318324E-6 m2 | 3.76108065318324E-6 m2 | |||
| Elementary flow | Land use / Land occupation | 2.36056132335198E-8 m2*a | 2.36056132335198E-8 m2*a | |||
| Elementary flow | Resources / Resources from water / Renewable material resources from water | 1.8614893711539306E-6 m3 | 1.8614893711539306E-6 m3 | |||
| Elementary flow | Resources / Resources from water / Renewable material resources from water | 6.56915997443019E-4 m3 | 6.56915997443019E-4 m3 | |||
| Elementary flow | Land use / Land transformation | 3.47061080472764E-14 m2 | 3.47061080472764E-14 m2 | |||
| Elementary flow | Land use / Land occupation | 2.01160525918707E-11 m2*a | 2.01160525918707E-11 m2*a | |||
| Elementary flow | Resources / Resources from ground / Non-renewable material resources from ground | 3.94287708331733E-6 kg | 3.94287708331733E-6 kg | |||
| Elementary flow | Land use / Land transformation | 1.11336472960501E-14 m2 | 1.11336472960501E-14 m2 | |||
| Elementary flow | Land use / Land transformation | 2.36088047112243E-11 m2 | 2.36088047112243E-11 m2 | |||
| Elementary flow | Land use / Land occupation | 1.59268385125781E-11 m2*a | 1.59268385125781E-11 m2*a | |||
| Elementary flow | Land use / Land transformation | 1.25808983931296E-12 m2 | 1.25808983931296E-12 m2 | |||
| Elementary flow | Land use / Land occupation | 9.79585767646734E-11 m2*a | 9.79585767646734E-11 m2*a | |||
| Elementary flow | Resources / Resources from ground / Non-renewable element resources from ground | 2.03199286509681E-13 kg | 2.03199286509681E-13 kg | |||
| Elementary flow | Land use / Land transformation | 4.93346253945118E-10 m2 | 4.93346253945118E-10 m2 | |||
| Elementary flow | Land use / Land transformation | 2.275262644654E-13 m2 | 2.275262644654E-13 m2 | |||
| Elementary flow | Resources / Resources from water / Renewable material resources from water | 5.57078516832847E-5 m3 | 5.57078516832847E-5 m3 | |||
| Elementary flow | Land use / Land transformation | 4.02353160114453E-15 m2 | 4.02353160114453E-15 m2 | |||
| Elementary flow | Resources / Resources from water / Renewable material resources from water | 1.65814475159534E-6 m3 | 1.65814475159534E-6 m3 | |||
| Elementary flow | Land use / Land occupation | 2.64896781201634E-10 m2*a | 2.64896781201634E-10 m2*a | |||
| Elementary flow | Land use / Land transformation | 1.53155770765428E-8 m2 | 1.53155770765428E-8 m2 | |||
| Elementary flow | Land use / Land transformation | 2.9979197881165E-6 m2 | 2.9979197881165E-6 m2 | |||
| Elementary flow | Resources / Resources from ground / Non-renewable material resources from ground | 0.00100008623664623 kg | 0.00100008623664623 kg | |||
| Elementary flow | Resources / Resources from water / Renewable material resources from water | 1.09352330452391E-9 m3 | 1.09352330452391E-9 m3 | |||
| Elementary flow | Land use / Land occupation | 5.6599912432091E-6 m2*a | 5.6599912432091E-6 m2*a | |||
| Elementary flow | Land use / Land transformation | 3.94452045601742E-5 m2 | 3.94452045601742E-5 m2 | |||
| Elementary flow | Land use / Land occupation | 9.47042747819653E-12 m2*a | 9.47042747819653E-12 m2*a | |||
| Elementary flow | Resources / Resources from water / Renewable material resources from water | 1.021650186037293E-5 m3 | 1.021650186037293E-5 m3 | |||
| Elementary flow | Land use / Land occupation | 2.27497961674015E-9 m2*a | 2.27497961674015E-9 m2*a | |||
| Elementary flow | Land use / Land occupation | 1.90388790311374E-9 m2*a | 1.90388790311374E-9 m2*a | |||
| Elementary flow | Land use / Land transformation | 3.11977680617189E-7 m2 | 3.11977680617189E-7 m2 | |||
| Elementary flow | Resources / Resources from water / Renewable material resources from water | 5.79772633987353E-7 m3 | 5.79772633987353E-7 m3 | |||
| Elementary flow | Land use / Land transformation | 8.36577591575663E-12 m2 | 8.36577591575663E-12 m2 | |||
| Elementary flow | Land use / Land transformation | 7.83030035679684E-12 m2 | 7.83030035679684E-12 m2 | |||
| Elementary flow | Land use / Land occupation | 5.64161810405273E-6 m2*a | 5.64161810405273E-6 m2*a | |||
| Elementary flow | Land use / Land occupation | 3.36777181878026E-7 m2*a | 3.36777181878026E-7 m2*a | |||
| Elementary flow | Land use / Land transformation | 3.07159764745433E-12 m2 | 3.07159764745433E-12 m2 | |||
| Elementary flow | Land use / Land transformation | 3.1005598341439E-7 m2 | 3.1005598341439E-7 m2 | |||
| Elementary flow | Land use / Land transformation | 1.75221601276069E-14 m2 | 1.75221601276069E-14 m2 | |||
| Elementary flow | Land use / Land occupation | 2.34401838631819E-7 m2*a | 2.34401838631819E-7 m2*a | |||
| Elementary flow | Land use / Land occupation | 2.37506252797805E-10 m2*a | 2.37506252797805E-10 m2*a | |||
| Elementary flow | Land use / Land transformation | 2.37440344763114E-15 m2 | 2.37440344763114E-15 m2 | |||
| Elementary flow | Land use / Land transformation | 2.83021768038836E-7 m2 | 2.83021768038836E-7 m2 | |||
| Elementary flow | Land use / Land transformation | 1.79779161180547E-8 m2 | 1.79779161180547E-8 m2 | |||
| Elementary flow | Land use / Land occupation | 2.4412282215192E-5 m2*a | 2.4412282215192E-5 m2*a | |||
| Elementary flow | Land use / Land transformation | 1.12775022532416E-13 m2 | 1.12775022532416E-13 m2 | |||
| Elementary flow | Land use / Land occupation | -3.23750347234762E-14 m2*a | -3.23750347234762E-14 m2*a | |||
| Elementary flow | Land use / Land occupation | 1.3366153690817E-10 m2*a | 1.3366153690817E-10 m2*a | |||
| Elementary flow | Land use / Land transformation | 6.97938484396841E-7 m2 | 6.97938484396841E-7 m2 | |||
| Elementary flow | Land use / Land occupation | 5.21035780304253E-12 m2*a | 5.21035780304253E-12 m2*a | |||
| Elementary flow | Land use / Land transformation | 4.1356139599629E-10 m2 | 4.1356139599629E-10 m2 | |||
| Elementary flow | Resources / Resources from water / Renewable material resources from water | 8.468636536283206E-6 m3 | 8.468636536283206E-6 m3 | |||
| Elementary flow | Land use / Land transformation | 5.56200287068467E-7 m2 | 5.56200287068467E-7 m2 | |||
| Elementary flow | Land use / Land transformation | 1.94828632529686E-16 m2 | 1.94828632529686E-16 m2 | |||
| Elementary flow | Land use / Land occupation | 1.80925419159309E-10 m2*a | 1.80925419159309E-10 m2*a | |||
| Elementary flow | Land use / Land transformation | 3.79210440775666E-12 m2 | 3.79210440775666E-12 m2 | |||
| Elementary flow | Resources / Resources from water / Renewable material resources from water | 5.14734044821057E-7 m3 | 5.14734044821057E-7 m3 | |||
| Elementary flow | Land use / Land transformation | 3.6518398225187E-11 m2 | 3.6518398225187E-11 m2 | |||
| Elementary flow | Land use / Land occupation | 3.35824321767222E-12 m2*a | 3.35824321767222E-12 m2*a | |||
| Elementary flow | Resources / Resources from water / Renewable material resources from water | 3.01089645714552E-8 m3 | 3.01089645714552E-8 m3 | |||
| Elementary flow | Land use / Land transformation | 4.03111814910292E-13 m2 | 4.03111814910292E-13 m2 | |||
| Elementary flow | Land use / Land occupation | 1.88054118801928E-6 m2*a | 1.88054118801928E-6 m2*a | |||
| Elementary flow | Land use / Land transformation | 1.37479094949285E-14 m2 | 1.37479094949285E-14 m2 | |||
| Elementary flow | Land use / Land occupation | 2.65946898029179E-9 m2*a | 2.65946898029179E-9 m2*a | |||
| Elementary flow | Land use / Land occupation | 1.90801352996241E-8 m2*a | 1.90801352996241E-8 m2*a | |||
| Elementary flow | Land use / Land transformation | 7.52215568805652E-6 m2 | 7.52215568805652E-6 m2 | |||
| Elementary flow | Land use / Land transformation | 5.36724945582946E-12 m2 | 5.36724945582946E-12 m2 | |||
| Elementary flow | Land use / Land transformation | 8.81227201087724E-5 m2 | 8.81227201087724E-5 m2 | |||
| Elementary flow | Land use / Land occupation | 3.7610836166857E-6 m2*a | 3.7610836166857E-6 m2*a | |||
| Elementary flow | Land use / Land occupation | 3.08616850959989E-8 m2*a | 3.08616850959989E-8 m2*a | |||
| Elementary flow | Resources / Resources from ground / Non-renewable element resources from ground | 5.185964594687654E-5 kg | 5.185964594687654E-5 kg | |||
| Elementary flow | Resources / Resources from ground / Non-renewable element resources from ground | 2.6509387084980588E-5 kg | 2.6509387084980588E-5 kg | |||
| Elementary flow | Resources / Resources from ground / Non-renewable element resources from ground | 2.23566543155788E-8 kg | 2.23566543155788E-8 kg | |||
| Elementary flow | Land use / Land occupation | 2.14445844476978E-9 m2*a | 2.14445844476978E-9 m2*a | |||
| Elementary flow | Resources / Resources from water / Renewable material resources from water | 1.0311986998772404E-5 m3 | 1.0311986998772404E-5 m3 | |||
| Elementary flow | Resources / Resources from ground / Non-renewable element resources from ground | 3.61056326614826E-10 kg | 3.61056326614826E-10 kg | |||
| Elementary flow | Land use / Land transformation | 8.77599285067313E-13 m2 | 8.77599285067313E-13 m2 | |||
| Elementary flow | Land use / Land occupation | 5.13048732328174E-14 m2*a | 5.13048732328174E-14 m2*a | |||
| Elementary flow | Land use / Land transformation | 3.76108372420252E-6 m2 | 3.76108372420252E-6 m2 | |||
| Elementary flow | Resources / Resources from ground / Non-renewable element resources from ground | 7.444930695659189E-6 kg | 7.444930695659189E-6 kg | |||
| Elementary flow | Land use / Land occupation | 1.98201361101327E-10 m2*a | 1.98201361101327E-10 m2*a | |||
| Elementary flow | Land use / Land transformation | 6.01182927408529E-13 m2 | 6.01182927408529E-13 m2 | |||
| Elementary flow | Resources / Resources from water / Renewable material resources from water | 2.47075472728924E-6 m3 | 2.47075472728924E-6 m3 | |||
| Elementary flow | Resources / Resources from water / Renewable material resources from water | 8.590778208781834E-7 m3 | 8.590778208781834E-7 m3 | |||
| Elementary flow | Resources / Resources from water / Renewable material resources from water | 3.79907342609131E-10 m3 | 3.79907342609131E-10 m3 | |||
| Elementary flow | Land use / Land transformation | 1.07815401957233E-13 m2 | 1.07815401957233E-13 m2 | |||
| Elementary flow | Land use / Land occupation | 4.67546968482635E-7 m2*a | 4.67546968482635E-7 m2*a | |||
| Elementary flow | Land use / Land transformation | 1.0168347930369E-9 m2 | 1.0168347930369E-9 m2 | |||
| Elementary flow | Land use / Land transformation | 4.15520510197635E-12 m2 | 4.15520510197635E-12 m2 | |||
| Elementary flow | Land use / Land occupation | 3.09560917797452E-8 m2*a | 3.09560917797452E-8 m2*a | |||
| Elementary flow | Land use / Land transformation | 9.33073469893226E-13 m2 | 9.33073469893226E-13 m2 | |||
| Elementary flow | Land use / Land transformation | 5.29203445506155E-12 m2 | 5.29203445506155E-12 m2 | |||
| Elementary flow | Land use / Land transformation | 2.28912528672937E-12 m2 | 2.28912528672937E-12 m2 | |||
| Elementary flow | Resources / Resources from water / Renewable material resources from water | 2.40200588622598E-11 m3 | 2.40200588622598E-11 m3 | |||
| Elementary flow | Land use / Land transformation | 2.8543479044345E-12 m2 | 2.8543479044345E-12 m2 | |||
| Elementary flow | Land use / Land transformation | 3.91959798834268E-13 m2 | 3.91959798834268E-13 m2 | |||
| Elementary flow | Land use / Land occupation | 1.20328042140597E-11 m2*a | 1.20328042140597E-11 m2*a | |||
| Elementary flow | Land use / Land transformation | 7.0372222210557E-8 m2 | 7.0372222210557E-8 m2 | |||
| Elementary flow | Land use / Land occupation | 6.64500149388959E-14 m2*a | 6.64500149388959E-14 m2*a | |||
| Elementary flow | Land use / Land transformation | 3.374502002514E-17 m2 | 3.374502002514E-17 m2 | |||
| Elementary flow | Land use / Land occupation | 1.49537978398903E-14 m2*a | 1.49537978398903E-14 m2*a | |||
| Elementary flow | Resources / Resources from water / Renewable material resources from water | 1.42057314737507E-6 m3 | 1.42057314737507E-6 m3 | |||
| Elementary flow | Land use / Land occupation | 9.65076396912995E-9 m2*a | 9.65076396912995E-9 m2*a | |||
| Elementary flow | Resources / Resources from water / Renewable material resources from water | 2.996530797442723E-5 m3 | 2.996530797442723E-5 m3 | |||
| Elementary flow | Land use / Land occupation | 7.48050289049207E-11 m2*a | 7.48050289049207E-11 m2*a | |||
| Elementary flow | Land use / Land transformation | 5.89413525586629E-13 m2 | 5.89413525586629E-13 m2 | |||
| Elementary flow | Land use / Land transformation | 3.17314650518956E-11 m2 | 3.17314650518956E-11 m2 | |||
| Elementary flow | Land use / Land transformation | 6.03803517278078E-7 m2 | 6.03803517278078E-7 m2 | |||
| Elementary flow | Land use / Land transformation | 2.91046165909077E-10 m2 | 2.91046165909077E-10 m2 | |||
| Elementary flow | Land use / Land transformation | 2.07405919430116E-12 m2 | 2.07405919430116E-12 m2 | |||
| Elementary flow | Resources / Resources from water / Renewable material resources from water | 7.37961304840436E-8 m3 | 7.37961304840436E-8 m3 | |||
| Elementary flow | Land use / Land transformation | 3.95469189805289E-6 m2 | 3.95469189805289E-6 m2 | |||
| Elementary flow | Land use / Land transformation | 2.54853072347148E-4 m2 | 2.54853072347148E-4 m2 | |||
| Elementary flow | Land use / Land occupation | 2.26534983185554E-10 m2*a | 2.26534983185554E-10 m2*a | |||
| Elementary flow | Land use / Land occupation | 1.86116115661949E-12 m2*a | 1.86116115661949E-12 m2*a | |||
| Elementary flow | Land use / Land transformation | 2.37865619503897E-16 m2 | 2.37865619503897E-16 m2 | |||
| Elementary flow | Land use / Land transformation | 6.15115587184001E-12 m2 | 6.15115587184001E-12 m2 | |||
| Elementary flow | Land use / Land transformation | 6.74612372556457E-14 m2 | 6.74612372556457E-14 m2 | |||
| Elementary flow | Resources / Resources from ground / Non-renewable element resources from ground | 2.59274616651212E-8 kg | 2.59274616651212E-8 kg | |||
| Elementary flow | Land use / Land transformation | 1.98474933690142E-11 m2 | 1.98474933690142E-11 m2 | |||
| Elementary flow | Resources / Resources from ground / Non-renewable element resources from ground | 0.004237685447639184 kg | 0.004237685447639184 kg | |||
| Elementary flow | Land use / Land transformation | 3.74615821818865E-16 m2 | 3.74615821818865E-16 m2 | |||
| Elementary flow | Resources / Resources from ground / Non-renewable element resources from ground | 3.855127264860505E-5 kg | 3.855127264860505E-5 kg | |||
| Elementary flow | Land use / Land occupation | 2.19110389351123E-9 m2*a | 2.19110389351123E-9 m2*a | |||
| Elementary flow | Land use / Land transformation | 6.41544757542392E-13 m2 | 6.41544757542392E-13 m2 | |||
| Elementary flow | Resources / Resources from ground / Non-renewable element resources from ground | 7.41848300632628E-6 kg | 7.41848300632628E-6 kg | |||
| Elementary flow | Land use / Land occupation | 1.78796482456391E-9 m2*a | 1.78796482456391E-9 m2*a | |||
| Elementary flow | Land use / Land occupation | 6.69496715469403E-11 m2*a | 6.69496715469403E-11 m2*a | |||
| Elementary flow | Land use / Land transformation | 3.39997293041654E-14 m2 | 3.39997293041654E-14 m2 | |||
| Elementary flow | Land use / Land transformation | 8.77599285067313E-13 m2 | 8.77599285067313E-13 m2 | |||
| Elementary flow | Land use / Land transformation | 1.11368862931293E-11 m2 | 1.11368862931293E-11 m2 | |||
| Elementary flow | Land use / Land occupation | 5.99152496425554E-11 m2*a | 5.99152496425554E-11 m2*a | |||
| Elementary flow | Land use / Land transformation | 2.27472662793093E-12 m2 | 2.27472662793093E-12 m2 | |||
| Elementary flow | Resources / Resources from water / Renewable material resources from water | 2.78300134904413E-7 m3 | 2.78300134904413E-7 m3 | |||
| Elementary flow | Land use / Land transformation | 1.95943063076787E-14 m2 | 1.95943063076787E-14 m2 | |||
| Elementary flow | Land use / Land occupation | 4.91316812589419E-10 m2*a | 4.91316812589419E-10 m2*a | |||
| Elementary flow | Land use / Land transformation | 4.90103346110863E-15 m2 | 4.90103346110863E-15 m2 | |||
| Elementary flow | Land use / Land occupation | 1.40517739115258E-4 m2*a | 1.40517739115258E-4 m2*a | |||
| Elementary flow | Land use / Land occupation | 1.75165277645781E-11 m2*a | 1.75165277645781E-11 m2*a | |||
| Elementary flow | Land use / Land occupation | 2.78390661474077E-12 m2*a | 2.78390661474077E-12 m2*a | |||
| Elementary flow | Land use / Land transformation | 7.58491354855135E-10 m2 | 7.58491354855135E-10 m2 | |||
| Elementary flow | Land use / Land transformation | 2.30936431885295E-5 m2 | 2.30936431885295E-5 m2 | |||
| Elementary flow | Resources / Resources from ground / Non-renewable material resources from ground | -3.843834166173739E-9 kg | -3.843834166173739E-9 kg | |||
| Elementary flow | Land use / Land occupation | 2.03094991421801E-9 m2*a | 2.03094991421801E-9 m2*a | |||
| Elementary flow | Land use / Land occupation | 9.77306621714594E-11 m2*a | 9.77306621714594E-11 m2*a | |||
| Elementary flow | Land use / Land transformation | 1.98451229539851E-11 m2 | 1.98451229539851E-11 m2 | |||
| Elementary flow | Land use / Land transformation | 1.26871203592052E-8 m2 | 1.26871203592052E-8 m2 | |||
| Elementary flow | Land use / Land occupation | 3.71930018438502E-20 m2*a | 3.71930018438502E-20 m2*a | |||
| Elementary flow | Resources / Resources from biosphere / Renewable material resources from biosphere | 1.1438343558585966E-6 m3 | 1.1438343558585966E-6 m3 | |||
| Elementary flow | Land use / Land transformation | 2.96645038277524E-9 m2 | 2.96645038277524E-9 m2 | |||
| Elementary flow | Land use / Land transformation | 1.14650422554436E-14 m2 | 1.14650422554436E-14 m2 | |||
| Elementary flow | Land use / Land transformation | 7.4900268971775E-13 m2 | 7.4900268971775E-13 m2 | |||
| Elementary flow | Resources / Resources from ground / Non-renewable element resources from ground | 3.04798929694131E-12 kg | 3.04798929694131E-12 kg | |||
| Elementary flow | Land use / Land occupation | 4.4940161383065E-11 m2*a | 4.4940161383065E-11 m2*a | |||
| Elementary flow | Land use / Land transformation | 8.50415291699194E-17 m2 | 8.50415291699194E-17 m2 | |||
| Elementary flow | Land use / Land transformation | 1.97394200293679E-12 m2 | 1.97394200293679E-12 m2 | |||
| Elementary flow | Resources / Resources from water / Renewable material resources from water | 4.29388212588189E-8 m3 | 4.29388212588189E-8 m3 | |||
| Elementary flow | Resources / Resources from water / Renewable material resources from water | 2.02869735951964E-10 m3 | 2.02869735951964E-10 m3 | |||
| Elementary flow | Land use / Land transformation | 3.39997293041654E-14 m2 | 3.39997293041654E-14 m2 | |||
| Elementary flow | Land use / Land transformation | 1.08760371397577E-11 m2 | 1.08760371397577E-11 m2 | |||
| Elementary flow | Land use / Land transformation | 5.2318217359044E-5 m2 | 5.2318217359044E-5 m2 | |||
| Elementary flow | Land use / Land transformation | 9.39312937277151E-17 m2 | 9.39312937277151E-17 m2 | |||
| Elementary flow | Land use / Land occupation | 1.25399107570872E-5 m2*a | 1.25399107570872E-5 m2*a | |||
| Elementary flow | Land use / Land transformation | 6.24704383608932E-14 m2 | 6.24704383608932E-14 m2 | |||
| Elementary flow | Land use / Land occupation | 7.75506167541993E-19 m2*a | 7.75506167541993E-19 m2*a | |||
| Elementary flow | Land use / Land occupation | 9.8727026695292E-11 m2*a | 9.8727026695292E-11 m2*a | |||
| Elementary flow | Land use / Land transformation | 1.59695926906441E-7 m2 | 1.59695926906441E-7 m2 | |||
| Elementary flow | Resources / Resources from water / Renewable material resources from water | 5.65185818890863E-8 m3 | 5.65185818890863E-8 m3 | |||
| Elementary flow | Land use / Land occupation | 1.77057660732669E-9 m2*a | 1.77057660732669E-9 m2*a | |||
| Elementary flow | Land use / Land transformation | 1.30297862190499E-13 m2 | 1.30297862190499E-13 m2 | |||
| Elementary flow | Land use / Land transformation | 1.02044194996072E-12 m2 | 1.02044194996072E-12 m2 | |||
| Elementary flow | Land use / Land occupation | 1.30646231496098E-5 m2*a | 1.30646231496098E-5 m2*a | |||
| Elementary flow | Land use / Land occupation | 7.42232053549121E-14 m2*a | 7.42232053549121E-14 m2*a | |||
| Elementary flow | Land use / Land transformation | 3.02090369301513E-7 m2 | 3.02090369301513E-7 m2 | |||
| Elementary flow | Land use / Land transformation | 9.02427271446332E-7 m2 | 9.02427271446332E-7 m2 | |||
| Elementary flow | Land use / Land transformation | 8.77929959379144E-13 m2 | 8.77929959379144E-13 m2 | |||
| Elementary flow | Resources / Resources from ground / Non-renewable material resources from ground | 1.10479255332213E-18 kg | 1.10479255332213E-18 kg | |||
| Elementary flow | Land use / Land transformation | 9.47223578624482E-15 m2 | 9.47223578624482E-15 m2 | |||
| Elementary flow | Resources / Resources from water / Renewable material resources from water | 0.00539081072355285 m3 | 0.00539081072355285 m3 | |||
| Elementary flow | Resources / Resources from water / Renewable material resources from water | 1.68190615506151E-9 m3 | 1.68190615506151E-9 m3 | |||
| Elementary flow | Land use / Land transformation | 2.37440344763114E-15 m2 | 2.37440344763114E-15 m2 | |||
| Elementary flow | Land use / Land occupation | 4.27879647312117E-11 m2*a | 4.27879647312117E-11 m2*a | |||
| Elementary flow | Land use / Land transformation | 5.78268965828292E-10 m2 | 5.78268965828292E-10 m2 | |||
| Elementary flow | Land use / Land transformation | 3.60555203843548E-11 m2 | 3.60555203843548E-11 m2 | |||
| Elementary flow | Resources / Resources from air / Renewable energy resources from air | 0.02050363233068432 MJ | 0.02050363233068432 MJ | |||
| Elementary flow | Resources / Resources from ground / Non-renewable material resources from ground | 9.09657807695846E-5 kg | 9.09657807695846E-5 kg | |||
| Elementary flow | Land use / Land occupation | 9.37027766156826E-10 m2*a | 9.37027766156826E-10 m2*a | |||
| Elementary flow | Land use / Land occupation | 4.38111088770739E-19 m2*a | 4.38111088770739E-19 m2*a | |||
| Elementary flow | Land use / Land occupation | 5.00427898782659E-11 m2*a | 5.00427898782659E-11 m2*a | |||
| Elementary flow | Resources / Resources from water / Renewable material resources from water | 2.8154922109122E-8 m3 | 2.8154922109122E-8 m3 | |||
| Elementary flow | Land use / Land occupation | 2.84146361013085E-11 m2*a | 2.84146361013085E-11 m2*a | |||
| Elementary flow | Land use / Land transformation | 1.65120275975849E-12 m2 | 1.65120275975849E-12 m2 | |||
| Elementary flow | Resources / Resources from water / Renewable material resources from water | 3.59327737181622E-7 m3 | 3.59327737181622E-7 m3 | |||
| Elementary flow | Resources / Resources from water / Renewable material resources from water | 7.50591446832429E-8 m3 | 7.50591446832429E-8 m3 | |||
| Elementary flow | Resources / Resources from water / Renewable material resources from water | 8.229186110238068E-7 m3 | 8.229186110238068E-7 m3 | |||
| Elementary flow | Land use / Land occupation | 1.6305366182706E-8 m2*a | 1.6305366182706E-8 m2*a | |||
| Elementary flow | Resources / Resources from ground / Non-renewable element resources from ground | 6.03908105436555E-5 kg | 6.03908105436555E-5 kg | |||
| Elementary flow | Land use / Land transformation | 6.19824278272664E-9 m2 | 6.19824278272664E-9 m2 | |||
| Elementary flow | Land use / Land occupation | 5.62728252111083E-8 m2*a | 5.62728252111083E-8 m2*a | |||
| Elementary flow | Land use / Land transformation | 1.94859216236916E-9 m2 | 1.94859216236916E-9 m2 | |||
| Elementary flow | Land use / Land occupation | 3.10199687751187E-7 m2*a | 3.10199687751187E-7 m2*a | |||
| Elementary flow | Land use / Land transformation | 2.79575520099614E-13 m2 | 2.79575520099614E-13 m2 | |||
| Elementary flow | Resources / Resources from ground / Non-renewable energy resources from ground | 0.40474218300455755 MJ | 0.40474218300455755 MJ | |||
| Elementary flow | Resources / Resources from water / Renewable material resources from water | 1.67145481490446E-7 m3 | 1.67145481490446E-7 m3 | |||
| Elementary flow | Land use / Land occupation | 3.95469189805289E-6 m2*a | 3.95469189805289E-6 m2*a | |||
| Elementary flow | Land use / Land transformation | 1.34571146543852E-13 m2 | 1.34571146543852E-13 m2 | |||
| Elementary flow | Land use / Land transformation | 3.30335601835545E-12 m2 | 3.30335601835545E-12 m2 | |||
| Elementary flow | Land use / Land transformation | 3.53726087692816E-12 m2 | 3.53726087692816E-12 m2 | |||
| Elementary flow | Land use / Land occupation | 1.36483597675856E-10 m2*a | 1.36483597675856E-10 m2*a | |||
| Elementary flow | Resources / Resources from ground / Non-renewable element resources from ground | 7.75401319666428E-8 kg | 7.75401319666428E-8 kg | |||
| Elementary flow | Land use / Land occupation | 1.13744204140693E-7 m2*a | 1.13744204140693E-7 m2*a | |||
| Elementary flow | Resources / Resources from water / Renewable material resources from water | 1.4430718748144659E-4 m3 | 1.4430718748144659E-4 m3 | |||
| Elementary flow | Land use / Land transformation | 8.40959751232165E-7 m2 | 8.40959751232165E-7 m2 | |||
| Elementary flow | Land use / Land occupation | 4.28970410601439E-12 m2*a | 4.28970410601439E-12 m2*a | |||
| Elementary flow | Land use / Land transformation | 2.57099150658717E-12 m2 | 2.57099150658717E-12 m2 | |||
| Elementary flow | Resources / Resources from ground / Non-renewable element resources from ground | 4.73146258699161E-11 kg | 4.73146258699161E-11 kg | |||
| Elementary flow | Land use / Land occupation | 3.76108054566915E-6 m2*a | 3.76108054566915E-6 m2*a | |||
| Elementary flow | Resources / Resources from water / Renewable material resources from water | 7.636726864700095E-5 m3 | 7.636726864700095E-5 m3 | |||
| Elementary flow | Land use / Land transformation | 2.24193996342047E-11 m2 | 2.24193996342047E-11 m2 | |||
| Elementary flow | Land use / Land transformation | 1.14639121942015E-11 m2 | 1.14639121942015E-11 m2 | |||
| Elementary flow | Land use / Land transformation | 7.37883060334775E-10 m2 | 7.37883060334775E-10 m2 | |||
| Elementary flow | Land use / Land transformation | 6.46892411743398E-15 m2 | 6.46892411743398E-15 m2 | |||
| Elementary flow | Land use / Land occupation | 6.83964629796339E-10 m2*a | 6.83964629796339E-10 m2*a | |||
| Elementary flow | Land use / Land transformation | 5.64161810405273E-6 m2 | 5.64161810405273E-6 m2 | |||
| Elementary flow | Land use / Land transformation | 1.23705342258187E-15 m2 | 1.23705342258187E-15 m2 | |||
| Elementary flow | Land use / Land occupation | 4.49447110363155E-11 m2*a | 4.49447110363155E-11 m2*a | |||
| Elementary flow | Resources / Resources from ground / Non-renewable material resources from ground | 2.98850692440142E-8 kg | 2.98850692440142E-8 kg | |||
| Elementary flow | Land use / Land transformation | 7.67739965200123E-13 m2 | 7.67739965200123E-13 m2 | |||
| Elementary flow | Land use / Land transformation | 1.17008373391535E-12 m2 | 1.17008373391535E-12 m2 | |||
| Elementary flow | Land use / Land occupation | 1.24461640390899E-7 m2*a | 1.24461640390899E-7 m2*a | |||
| Elementary flow | Land use / Land transformation | 4.06074263976267E-11 m2 | 4.06074263976267E-11 m2 | |||
| Elementary flow | Land use / Land occupation | 1.68713812999835E-11 m2*a | 1.68713812999835E-11 m2*a | |||
| Elementary flow | Land use / Land transformation | 7.47174824623539E-7 m2 | 7.47174824623539E-7 m2 | |||
| Elementary flow | Resources / Resources from ground / Non-renewable material resources from ground | 3.99029699197938E-12 kg | 3.99029699197938E-12 kg | |||
| Elementary flow | Land use / Land occupation | 9.4806355411789E-11 m2*a | 9.4806355411789E-11 m2*a | |||
| Elementary flow | Land use / Land occupation | 3.84926854525436E-11 m2*a | 3.84926854525436E-11 m2*a | |||
| Elementary flow | Land use / Land transformation | 8.81743783845543E-14 m2 | 8.81743783845543E-14 m2 | |||
| Elementary flow | Land use / Land occupation | 3.7610836166857E-6 m2*a | 3.7610836166857E-6 m2*a | |||
| Elementary flow | Land use / Land transformation | 1.8868383536685E-11 m2 | 1.8868383536685E-11 m2 | |||
| Elementary flow | Resources / Resources from water / Renewable material resources from water | 4.57005661722004E-8 m3 | 4.57005661722004E-8 m3 | |||
| Elementary flow | Land use / Land occupation | 3.53648115351978E-11 m2*a | 3.53648115351978E-11 m2*a | |||
| Elementary flow | Resources / Resources from ground / Non-renewable element resources from ground | 7.03474998769796E-8 kg | 7.03474998769796E-8 kg | |||
| Elementary flow | Land use / Land occupation | 2.12682871819361E-10 m2*a | 2.12682871819361E-10 m2*a | |||
| Elementary flow | Land use / Land occupation | 2.41367571320828E-8 m2*a | 2.41367571320828E-8 m2*a | |||
| Elementary flow | Resources / Resources from ground / Non-renewable material resources from ground | 7.351411265409159E-6 kg | 7.351411265409159E-6 kg | |||
| Elementary flow | Land use / Land transformation | 3.77369302914478E-11 m2 | 3.77369302914478E-11 m2 | |||
| Elementary flow | Land use / Land occupation | 2.46190805822997E-6 m2*a | 2.46190805822997E-6 m2*a | |||
| Elementary flow | Resources / Resources from water / Renewable material resources from water | 8.26456420460364E-5 m3 | 8.26456420460364E-5 m3 | |||
| Elementary flow | Land use / Land occupation | 7.3560336913825E-11 m2*a | 7.3560336913825E-11 m2*a | |||
| Elementary flow | Land use / Land transformation | 6.11887847116199E-13 m2 | 6.11887847116199E-13 m2 | |||
| Elementary flow | Land use / Land transformation | 7.70268959658414E-12 m2 | 7.70268959658414E-12 m2 | |||
| Elementary flow | Resources / Resources from ground / Non-renewable element resources from ground | 1.202648896667843E-10 kg | 1.202648896667843E-10 kg | |||
| Elementary flow | Resources / Resources from water / Renewable material resources from water | 7.91586965498913E-10 m3 | 7.91586965498913E-10 m3 | |||
| Elementary flow | Resources / Resources from water / Renewable material resources from water | 2.49021135597776E-7 m3 | 2.49021135597776E-7 m3 | |||
| Elementary flow | Resources / Resources from water / Renewable material resources from water | 4.409647934423503E-4 m3 | 4.409647934423503E-4 m3 | |||
| Elementary flow | Land use / Land occupation | 4.69922506838089E-10 m2*a | 4.69922506838089E-10 m2*a | |||
| Elementary flow | Land use / Land transformation | 6.48844790779284E-9 m2 | 6.48844790779284E-9 m2 | |||
| Elementary flow | Land use / Land occupation | 8.11865214521925E-11 m2*a | 8.11865214521925E-11 m2*a | |||
| Elementary flow | Land use / Land occupation | 4.04767423533874E-12 m2*a | 4.04767423533874E-12 m2*a | |||
| Elementary flow | Land use / Land transformation | 3.09560917797452E-8 m2 | 3.09560917797452E-8 m2 | |||
| Elementary flow | Land use / Land transformation | 8.77599285067313E-13 m2 | 8.77599285067313E-13 m2 | |||
| Elementary flow | Land use / Land transformation | 2.68819578467393E-16 m2 | 2.68819578467393E-16 m2 | |||
| Elementary flow | Land use / Land occupation | 8.30273260714827E-8 m2*a | 8.30273260714827E-8 m2*a | |||
| Elementary flow | Land use / Land transformation | 1.1075002489816E-15 m2 | 1.1075002489816E-15 m2 | |||
| Elementary flow | Land use / Land transformation | 8.50376805298099E-13 m2 | 8.50376805298099E-13 m2 | |||
| Elementary flow | Land use / Land occupation | 5.25664803828206E-13 m2*a | 5.25664803828206E-13 m2*a | |||
| Elementary flow | Land use / Land occupation | 1.64505487683686E-11 m2*a | 1.64505487683686E-11 m2*a | |||
| Elementary flow | Resources / Resources from ground / Non-renewable material resources from ground | 1.7546996633196934E-6 kg | 1.7546996633196934E-6 kg | |||
| Elementary flow | Land use / Land transformation | -1.14059304403063E-10 m2 | -1.14059304403063E-10 m2 | |||
| Elementary flow | Resources / Resources from water / Renewable material resources from water | 1.915068583084203E-5 m3 | 1.915068583084203E-5 m3 | |||
| Elementary flow | Land use / Land transformation | 7.53333668582353E-11 m2 | 7.53333668582353E-11 m2 | |||
| Elementary flow | Resources / Resources from water / Renewable material resources from water | 1.46058098007049E-6 m3 | 1.46058098007049E-6 m3 | |||
| Elementary flow | Land use / Land occupation | 6.13441916823513E-13 m2*a | 6.13441916823513E-13 m2*a | |||
| Elementary flow | Resources / Resources from water / Renewable material resources from water | 3.8022840100561E-8 m3 | 3.8022840100561E-8 m3 | |||
| Elementary flow | Land use / Land occupation | 1.46266813186391E-7 m2*a | 1.46266813186391E-7 m2*a | |||
| Elementary flow | Land use / Land transformation | 6.14663790740395E-7 m2 | 6.14663790740395E-7 m2 | |||
| Elementary flow | Land use / Land transformation | 1.26921499696328E-15 m2 | 1.26921499696328E-15 m2 | |||
| Elementary flow | Land use / Land transformation | 2.44732284228478E-9 m2 | 2.44732284228478E-9 m2 | |||
| Elementary flow | Land use / Land transformation | 1.62871122654609E-13 m2 | 1.62871122654609E-13 m2 | |||
| Elementary flow | Land use / Land transformation | 3.58066391071217E-13 m2 | 3.58066391071217E-13 m2 | |||
| Elementary flow | Land use / Land occupation | 1.70348335092428E-12 m2*a | 1.70348335092428E-12 m2*a | |||
| Elementary flow | Resources / Resources from water / Renewable material resources from water | 8.86526020028587E-9 m3 | 8.86526020028587E-9 m3 | |||
| Elementary flow | Land use / Land transformation | 3.03734916447065E-9 m2 | 3.03734916447065E-9 m2 | |||
| Elementary flow | Land use / Land transformation | 3.89022658435284E-5 m2 | 3.89022658435284E-5 m2 | |||
| Elementary flow | Resources / Resources from ground / Non-renewable element resources from ground | 1.2099352956016E-9 kg | 1.2099352956016E-9 kg | |||
| Elementary flow | Land use / Land transformation | 3.25627159956564E-14 m2 | 3.25627159956564E-14 m2 | |||
| Elementary flow | Land use / Land occupation | 1.67195258658161E-8 m2*a | 1.67195258658161E-8 m2*a | |||
| Elementary flow | Land use / Land transformation | 1.79335561373873E-8 m2 | 1.79335561373873E-8 m2 | |||
| Elementary flow | Land use / Land transformation | 2.16821211297444E-10 m2 | 2.16821211297444E-10 m2 | |||
| Elementary flow | Land use / Land transformation | 3.01899574079679E-10 m2 | 3.01899574079679E-10 m2 | |||
| Elementary flow | Emissions | 5.20079157215309E-20 kg | 5.20079157215309E-20 kg | |||
| Elementary flow | Resources / Resources from ground / Non-renewable material resources from ground | 1.29734576404019E-4 kg | 1.29734576404019E-4 kg | |||
| Elementary flow | Resources / Resources from water / Renewable material resources from water | 6.15249302813629E-7 m3 | 6.15249302813629E-7 m3 | |||
| Elementary flow | Land use / Land transformation | 8.8065585241534E-12 m2 | 8.8065585241534E-12 m2 | |||
| Elementary flow | Land use / Land transformation | 1.8815994291178E-6 m2 | 1.8815994291178E-6 m2 | |||
| Elementary flow | Land use / Land transformation | 1.1075002489816E-15 m2 | 1.1075002489816E-15 m2 | |||
| Elementary flow | Land use / Land transformation | 1.03207627355188E-11 m2 | 1.03207627355188E-11 m2 | |||
| Elementary flow | Land use / Land occupation | 5.63434790484915E-11 m2*a | 5.63434790484915E-11 m2*a | |||
| Elementary flow | Land use / Land transformation | 3.00998505408203E-11 m2 | 3.00998505408203E-11 m2 | |||
| Elementary flow | Land use / Land transformation | 3.71930018438502E-20 m2 | 3.71930018438502E-20 m2 | |||
| Elementary flow | Resources / Resources from water / Renewable material resources from water | 3.223918714257176E-5 m3 | 3.223918714257176E-5 m3 | |||
| Elementary flow | Land use / Land transformation | 1.65776564017247E-12 m2 | 1.65776564017247E-12 m2 | |||
| Elementary flow | Land use / Land transformation | 5.79310139800973E-10 m2 | 5.79310139800973E-10 m2 | |||
| Elementary flow | Land use / Land occupation | 2.19062671741827E-9 m2*a | 2.19062671741827E-9 m2*a | |||
| Elementary flow | Land use / Land occupation | 4.13053820539677E-10 m2*a | 4.13053820539677E-10 m2*a | |||
| Elementary flow | Land use / Land occupation | 1.01577240178596E-6 m2*a | 1.01577240178596E-6 m2*a | |||
| Elementary flow | Land use / Land occupation | 1.44019633248258E-9 m2*a | 1.44019633248258E-9 m2*a | |||
| Elementary flow | Land use / Land transformation | 1.21203494660756E-9 m2 | 1.21203494660756E-9 m2 | |||
| Elementary flow | Land use / Land transformation | 4.09304233259206E-10 m2 | 4.09304233259206E-10 m2 | |||
| Elementary flow | Land use / Land transformation | 5.63996297731911E-7 m2 | 5.63996297731911E-7 m2 | |||
| Elementary flow | Land use / Land transformation | 1.89702598234496E-11 m2 | 1.89702598234496E-11 m2 | |||
| Elementary flow | Land use / Land transformation | 4.9740689451063E-7 m2 | 4.9740689451063E-7 m2 | |||
| Elementary flow | Land use / Land occupation | 2.52290264642729E-22 m2*a | 2.52290264642729E-22 m2*a | |||
| Elementary flow | Land use / Land occupation | 1.91063581086604E-9 m2*a | 1.91063581086604E-9 m2*a | |||
| Elementary flow | Land use / Land transformation | 4.94120442538059E-7 m2 | 4.94120442538059E-7 m2 | |||
| Elementary flow | Land use / Land transformation | 1.06240081364254E-14 m2 | 1.06240081364254E-14 m2 | |||
| Elementary flow | Land use / Land transformation | 1.57994353568535E-16 m2 | 1.57994353568535E-16 m2 | |||
| Elementary flow | Resources / Resources from ground / Non-renewable element resources from ground | 7.79996244910243E-9 kg | 7.79996244910243E-9 kg | |||
| Elementary flow | Land use / Land transformation | 7.89843014558798E-12 m2 | 7.89843014558798E-12 m2 | |||
| Elementary flow | Resources / Resources from ground / Non-renewable material resources from ground | 3.59993991146216E-6 kg | 3.59993991146216E-6 kg | |||
| Elementary flow | Land use / Land transformation | 2.77831545565626E-12 m2 | 2.77831545565626E-12 m2 | |||
| Elementary flow | Land use / Land occupation | 9.02131378238781E-7 m2*a | 9.02131378238781E-7 m2*a | |||
| Elementary flow | Land use / Land transformation | 1.94234312443576E-15 m2 | 1.94234312443576E-15 m2 | |||
| Elementary flow | Land use / Land occupation | 1.01293917864028E-8 m2*a | 1.01293917864028E-8 m2*a | |||
| Elementary flow | Resources / Resources from water / Renewable material resources from water | 1.65245477209975E-7 m3 | 1.65245477209975E-7 m3 | |||
| Elementary flow | Resources / Resources from water / Renewable material resources from water | 4.93353290965927E-9 m3 | 4.93353290965927E-9 m3 | |||
| Elementary flow | Resources / Resources from ground / Non-renewable material resources from ground | 1.48121565917999E-5 kg | 1.48121565917999E-5 kg | |||
| Elementary flow | Land use / Land transformation | 3.45547610745954E-13 m2 | 3.45547610745954E-13 m2 | |||
| Elementary flow | Land use / Land transformation | 1.75519822474703E-11 m2 | 1.75519822474703E-11 m2 | |||
| Elementary flow | Land use / Land transformation | 3.07159764745433E-12 m2 | 3.07159764745433E-12 m2 | |||
| Elementary flow | Resources / Resources from ground / Non-renewable element resources from ground | 1.3455285199627902E-5 kg | 1.3455285199627902E-5 kg | |||
| Elementary flow | Land use / Land transformation | 4.33364345894575E-12 m2 | 4.33364345894575E-12 m2 | |||
| Elementary flow | Resources / Resources from ground / Non-renewable element resources from ground | 9.6672535028753E-10 kg | 9.6672535028753E-10 kg | |||
| Elementary flow | Land use / Land occupation | 1.26880560685171E-8 m2*a | 1.26880560685171E-8 m2*a | |||
| Elementary flow | Resources / Resources from water / Renewable material resources from water | 8.20475895389406E-7 m3 | 8.20475895389406E-7 m3 | |||
| Elementary flow | Land use / Land transformation | 7.2840844155603E-11 m2 | 7.2840844155603E-11 m2 | |||
| Elementary flow | Land use / Land occupation | 6.67114782244439E-12 m2*a | 6.67114782244439E-12 m2*a | |||
| Elementary flow | Resources / Resources from water / Renewable material resources from water | 1.38036032584195E-5 m3 | 1.38036032584195E-5 m3 | |||
| Elementary flow | Land use / Land occupation | 6.95220950361048E-12 m2*a | 6.95220950361048E-12 m2*a | |||
| Elementary flow | Land use / Land occupation | 6.36449580771006E-10 m2*a | 6.36449580771006E-10 m2*a | |||
| Elementary flow | Land use / Land occupation | 7.38868758126648E-11 m2*a | 7.38868758126648E-11 m2*a | |||
| Elementary flow | Land use / Land occupation | 1.73296054768384E-11 m2*a | 1.73296054768384E-11 m2*a | |||
| Elementary flow | Resources / Resources from water / Renewable material resources from water | 0.0847910567064805 kg | 0.0847910567064805 kg | |||
| Elementary flow | Resources / Resources from ground / Non-renewable element resources from ground | 2.1174160169423E-7 kg | 2.1174160169423E-7 kg | |||
| Elementary flow | Resources / Resources from water / Renewable material resources from water | 1.01866061013888E-8 m3 | 1.01866061013888E-8 m3 | |||
| Elementary flow | Land use / Land occupation | 3.89948435982896E-8 m2*a | 3.89948435982896E-8 m2*a | |||
| Elementary flow | Land use / Land transformation | 1.88054118801928E-6 m2 | 1.88054118801928E-6 m2 | |||
| Elementary flow | Land use / Land occupation | 1.50414463084678E-7 m3 | 1.50414463084678E-7 m3 | |||
| Elementary flow | Land use / Land transformation | 2.80831658918917E-11 m2 | 2.80831658918917E-11 m2 | |||
| Elementary flow | Land use / Land occupation | 8.23964284778959E-11 m2*a | 8.23964284778959E-11 m2*a | |||
| Elementary flow | Resources / Resources from ground / Non-renewable element resources from ground | 3.55374217334727E-9 kg | 3.55374217334727E-9 kg | |||
| Elementary flow | Land use / Land transformation | 4.25069417130166E-11 m2 | 4.25069417130166E-11 m2 | |||
| Elementary flow | Resources / Resources from water / Renewable material resources from water | 5.96269275566952E-10 m3 | 5.96269275566952E-10 m3 | |||
| Elementary flow | Resources / Resources from ground / Non-renewable energy resources from ground | 0.7524801806088849 MJ | 0.7524801806088849 MJ | |||
| Elementary flow | Land use / Land transformation | 1.7081957804915E-11 m2 | 1.7081957804915E-11 m2 | |||
| Elementary flow | Land use / Land transformation | 2.02546873670859E-7 m2 | 2.02546873670859E-7 m2 | |||
| Elementary flow | Land use / Land transformation | 1.52320707388143E-13 m2 | 1.52320707388143E-13 m2 | |||
| Elementary flow | Land use / Land occupation | 4.1445378603804E-7 m2*a | 4.1445378603804E-7 m2*a | |||
| Elementary flow | Land use / Land occupation | 6.74955817323018E-11 m2*a | 6.74955817323018E-11 m2*a | |||
| Elementary flow | Land use / Land occupation | 5.64161810405273E-6 m2*a | 5.64161810405273E-6 m2*a | |||
| Elementary flow | Land use / Land transformation | 7.4599453807761E-12 m2 | 7.4599453807761E-12 m2 | |||
| Elementary flow | Land use / Land transformation | 9.17400068244393E-12 m2 | 9.17400068244393E-12 m2 | |||
| Elementary flow | Land use / Land occupation | 2.41411896068672E-13 m2*a | 2.41411896068672E-13 m2*a | |||
| Elementary flow | Land use / Land occupation | 3.12938813145812E-9 m2*a | 3.12938813145812E-9 m2*a | |||
| Elementary flow | Land use / Land occupation | 2.62154311925053E-12 m2*a | 2.62154311925053E-12 m2*a | |||
| Elementary flow | Resources / Resources from water / Renewable material resources from water | 2.13068769375838E-8 m3 | 2.13068769375838E-8 m3 | |||
| Elementary flow | Land use / Land transformation | 2.84774614764372E-13 m2 | 2.84774614764372E-13 m2 | |||
| Elementary flow | Resources / Resources from ground / Non-renewable element resources from ground | 9.86198021623964E-15 kg | 9.86198021623964E-15 kg | |||
| Elementary flow | Resources / Resources from water / Renewable material resources from water | 1.42547074799519E-9 m3 | 1.42547074799519E-9 m3 | |||
| Elementary flow | Land use / Land transformation | 1.46266813186391E-7 m2 | 1.46266813186391E-7 m2 | |||
| Elementary flow | Land use / Land transformation | 2.06833424461173E-12 m2 | 2.06833424461173E-12 m2 | |||
| Elementary flow | Land use / Land transformation | 3.60709756445118E-14 m2 | 3.60709756445118E-14 m2 | |||
| Elementary flow | Land use / Land transformation | 6.7237086354178E-12 m2 | 6.7237086354178E-12 m2 | |||
| Elementary flow | Land use / Land occupation | 1.94055486894638E-11 m2*a | 1.94055486894638E-11 m2*a | |||
| Elementary flow | Land use / Land occupation | 1.27168256318885E-12 m2*a | 1.27168256318885E-12 m2*a | |||
| Elementary flow | Resources / Resources from ground / Non-renewable element resources from ground | 3.285999758516064E-7 kg | 3.285999758516064E-7 kg | |||
| Elementary flow | Land use / Land transformation | 6.66840920463919E-12 m2 | 6.66840920463919E-12 m2 | |||
| Elementary flow | Resources / Resources from ground / Non-renewable energy resources from ground | 8.17828487642706E-5 MJ | 8.17828487642706E-5 MJ | |||
| Elementary flow | Land use / Land transformation | 1.62178719181695E-9 m2 | 1.62178719181695E-9 m2 | |||
| Elementary flow | Resources / Resources from ground / Non-renewable material resources from ground | 3.16311086501211E-6 kg | 3.16311086501211E-6 kg | |||
| Elementary flow | Land use / Land transformation | 1.6926428942343E-5 m2 | 1.6926428942343E-5 m2 | |||
| Elementary flow | Land use / Land transformation | 1.1075002489816E-15 m2 | 1.1075002489816E-15 m2 | |||
| Elementary flow | Land use / Land occupation | 7.84945854179774E-5 m2*a | 7.84945854179774E-5 m2*a | |||
| Elementary flow | Land use / Land transformation | 2.91942129409635E-13 m2 | 2.91942129409635E-13 m2 | |||
| Elementary flow | Land use / Land transformation | 9.5390100535914E-12 m2 | 9.5390100535914E-12 m2 | |||
| Elementary flow | Land use / Land occupation | 5.27663458207805E-13 m2*a | 5.27663458207805E-13 m2*a | |||
| Elementary flow | Land use / Land occupation | 6.1828467347696E-11 m2*a | 6.1828467347696E-11 m2*a | |||
| Elementary flow | Land use / Land transformation | 4.88207866511435E-10 m2 | 4.88207866511435E-10 m2 | |||
| Elementary flow | Resources / Resources from water / Renewable material resources from water | 5.80861739870815E-8 m3 | 5.80861739870815E-8 m3 | |||
| Elementary flow | Resources / Resources from water / Renewable material resources from water | 9.09657281009964E-11 m3 | 9.09657281009964E-11 m3 | |||
| Elementary flow | Resources / Resources from ground / Non-renewable element resources from ground | 3.08932392376704E-9 kg | 3.08932392376704E-9 kg | |||
| Elementary flow | Resources / Resources from water / Renewable material resources from water | 3.763544373378941E-4 m3 | 3.763544373378941E-4 m3 | |||
| Elementary flow | Land use / Land transformation | 2.07405919430116E-12 m2 | 2.07405919430116E-12 m2 | |||
| Elementary flow | Land use / Land transformation | 1.69550229206148E-9 m2 | 1.69550229206148E-9 m2 | |||
| Elementary flow | Land use / Land transformation | 2.81354962728916E-13 m2 | 2.81354962728916E-13 m2 | |||
| Elementary flow | Land use / Land transformation | 2.00166826075579E-6 m2 | 2.00166826075579E-6 m2 | |||
| Elementary flow | Land use / Land transformation | 5.04516345317629E-7 m2 | 5.04516345317629E-7 m2 | |||
| Elementary flow | Land use / Land occupation | 1.54617162243346E-11 m2*a | 1.54617162243346E-11 m2*a | |||
| Elementary flow | Resources / Resources from water / Renewable material resources from water | 4.40239674781714E-6 kg | 4.40239674781714E-6 kg | |||
| Elementary flow | Land use / Land occupation | 4.62287685293982E-9 m2*a | 4.62287685293982E-9 m2*a | |||
| Elementary flow | Land use / Land occupation | 6.31433959840906E-11 m2*a | 6.31433959840906E-11 m2*a | |||
| Elementary flow | Land use / Land transformation | 2.92851329694774E-13 m2 | 2.92851329694774E-13 m2 | |||
| Elementary flow | Resources / Resources from water / Renewable material resources from water | 2.88750409147068E-7 m3 | 2.88750409147068E-7 m3 | |||
| Elementary flow | Land use / Land occupation | 5.56098115126985E-7 m2*a | 5.56098115126985E-7 m2*a | |||
| Elementary flow | Land use / Land transformation | 3.36801651374776E-12 m2 | 3.36801651374776E-12 m2 | |||
| Elementary flow | Land use / Land transformation | 2.43268954829981E-12 m2 | 2.43268954829981E-12 m2 | |||
| Elementary flow | Land use / Land transformation | 2.49030189722997E-10 m2 | 2.49030189722997E-10 m2 | |||
| Elementary flow | Land use / Land occupation | 2.03998375824992E-12 m2*a | 2.03998375824992E-12 m2*a | |||
| Elementary flow | Land use / Land occupation | 1.64248438985883E-7 m2*a | 1.64248438985883E-7 m2*a | |||
| Elementary flow | Land use / Land transformation | 3.76108716681801E-6 m2 | 3.76108716681801E-6 m2 | |||
| Elementary flow | Land use / Land transformation | 1.512804462837E-6 m2 | 1.512804462837E-6 m2 | |||
| Elementary flow | Land use / Land occupation | 2.49461287990894E-8 m2*a | 2.49461287990894E-8 m2*a | |||
| Elementary flow | Land use / Land occupation | 2.48954447297669E-6 m2*a | 2.48954447297669E-6 m2*a | |||
| Elementary flow | Resources / Resources from water / Renewable material resources from water | 1.273457155955488E-4 m3 | 1.273457155955488E-4 m3 | |||
| Elementary flow | Land use / Land transformation | 7.52215568805652E-6 m2 | 7.52215568805652E-6 m2 | |||
| Elementary flow | Land use / Land transformation | 2.92652737455866E-13 m2 | 2.92652737455866E-13 m2 | |||
| Elementary flow | Resources / Resources from ground / Non-renewable material resources from ground | 1.39584724550935E-6 kg | 1.39584724550935E-6 kg | |||
| Elementary flow | Land use / Land transformation | 9.43779798845315E-10 m2 | 9.43779798845315E-10 m2 | |||
| Elementary flow | Land use / Land transformation | 2.47410081117859E-10 m2 | 2.47410081117859E-10 m2 | |||
| Elementary flow | Resources / Resources from water / Renewable material resources from water | 9.14426719349753E-15 m3 | 9.14426719349753E-15 m3 | |||
| Elementary flow | Land use / Land occupation | 6.21701216872299E-13 m2*a | 6.21701216872299E-13 m2*a | |||
| Elementary flow | Land use / Land transformation | 3.7610836166857E-6 m2 | 3.7610836166857E-6 m2 | |||
| Elementary flow | Land use / Land transformation | -5.73734792567936E-16 m2 | -5.73734792567936E-16 m2 | |||
| Elementary flow | Land use / Land transformation | 3.47061080472764E-14 m2 | 3.47061080472764E-14 m2 | |||
| Elementary flow | Land use / Land transformation | 1.53705342240863E-10 m2 | 1.53705342240863E-10 m2 | |||
| Elementary flow | Resources / Resources from ground / Non-renewable element resources from ground | 4.77521556259814E-9 kg | 4.77521556259814E-9 kg | |||
| Elementary flow | Land use / Land transformation | 3.90532722674623E-11 m2 | 3.90532722674623E-11 m2 | |||
| Elementary flow | Land use / Land transformation | 1.18475889300747E-11 m2 | 1.18475889300747E-11 m2 | |||
| Elementary flow | Resources / Resources from ground / Non-renewable element resources from ground | 1.927024079623052E-11 kg | 1.927024079623052E-11 kg | |||
| Elementary flow | Land use / Land occupation | 7.28773224347527E-7 m2*a | 7.28773224347527E-7 m2*a | |||
| Elementary flow | Land use / Land transformation | 1.70122678411143E-8 m2 | 1.70122678411143E-8 m2 | |||
| Elementary flow | Resources / Resources from ground / Non-renewable element resources from ground | 6.16011600002408E-10 kg | 6.16011600002408E-10 kg | |||
| Elementary flow | Land use / Land transformation | 2.96395090925635E-10 m2 | 2.96395090925635E-10 m2 | |||
| Elementary flow | Land use / Land transformation | 5.23182222202697E-5 m2 | 5.23182222202697E-5 m2 | |||
| Elementary flow | Land use / Land transformation | 1.57924061314363E-14 m2 | 1.57924061314363E-14 m2 | |||
| Elementary flow | Land use / Land transformation | 5.67417406448958E-10 m2 | 5.67417406448958E-10 m2 | |||
| Elementary flow | Land use / Land transformation | 3.58429733452616E-11 m2 | 3.58429733452616E-11 m2 | |||
| Elementary flow | Resources / Resources from water / Renewable material resources from water | 3.17305271315362E-6 m3 | 3.17305271315362E-6 m3 | |||
| Elementary flow | Land use / Land occupation | 6.46412951209412E-11 m2*a | 6.46412951209412E-11 m2*a | |||
| Elementary flow | Land use / Land transformation | 5.64161810405273E-6 m2 | 5.64161810405273E-6 m2 | |||
| Elementary flow | Resources / Resources from ground / Non-renewable element resources from ground | 1.45745707901777E-10 kg | 1.45745707901777E-10 kg | |||
| Elementary flow | Land use / Land occupation | 1.77987022966514E-7 m2*a | 1.77987022966514E-7 m2*a | |||
| Elementary flow | Resources / Resources from ground / Non-renewable material resources from ground | 4.14949266273197E-5 kg | 4.14949266273197E-5 kg | |||
| Elementary flow | Land use / Land occupation | 3.6707905414058E-10 m3 | 3.6707905414058E-10 m3 | |||
| Elementary flow | Resources / Resources from water / Renewable material resources from water | 1.30834159718522E-6 m3 | 1.30834159718522E-6 m3 | |||
| Elementary flow | Land use / Land transformation | 3.69138805677236E-14 m2 | 3.69138805677236E-14 m2 | |||
| Elementary flow | Land use / Land occupation | 1.08902893673274E-10 m2*a | 1.08902893673274E-10 m2*a | |||
| Elementary flow | Land use / Land transformation | 1.74892590036547E-12 m2 | 1.74892590036547E-12 m2 | |||
| Elementary flow | Land use / Land transformation | 4.84896248607036E-18 m2 | 4.84896248607036E-18 m2 | |||
| Elementary flow | Land use / Land occupation | 1.45079602385006E-7 m2*a | 1.45079602385006E-7 m2*a | |||
| Elementary flow | Land use / Land transformation | 1.29489980015893E-8 m2 | 1.29489980015893E-8 m2 | |||
| Elementary flow | Land use / Land transformation | 5.64162163767677E-6 m2 | 5.64162163767677E-6 m2 | |||
| Elementary flow | Land use / Land occupation | 2.51768817582646E-8 m2*a | 2.51768817582646E-8 m2*a | |||
| Elementary flow | Land use / Land transformation | 6.46412951209412E-11 m2 | 6.46412951209412E-11 m2 | |||
| Elementary flow | Land use / Land transformation | 1.3395604790025E-10 m2 | 1.3395604790025E-10 m2 | |||
| Elementary flow | Land use / Land transformation | 1.91778266172489E-11 m2 | 1.91778266172489E-11 m2 | |||
| Elementary flow | Land use / Land transformation | 4.09394877012189E-10 m2 | 4.09394877012189E-10 m2 | |||
| Elementary flow | Resources / Resources from ground / Non-renewable element resources from ground | 1.01599643254744E-13 kg | 1.01599643254744E-13 kg | |||
| Elementary flow | Land use / Land transformation | 7.37883060334775E-10 m2 | 7.37883060334775E-10 m2 | |||
| Elementary flow | Land use / Land transformation | 3.47061080472764E-14 m2 | 3.47061080472764E-14 m2 | |||
| Elementary flow | Land use / Land transformation | 3.26520541271586E-14 m2 | 3.26520541271586E-14 m2 | |||
| Elementary flow | Land use / Land transformation | 1.32605144137807E-8 m2 | 1.32605144137807E-8 m2 | |||
| Elementary flow | Land use / Land occupation | 4.00104552278353E-10 m2*a | 4.00104552278353E-10 m2*a | |||
| Elementary flow | Land use / Land transformation | 2.73310755246097E-5 m2 | 2.73310755246097E-5 m2 | |||
| Elementary flow | Land use / Land occupation | 5.6088761110839E-8 m2*a | 5.6088761110839E-8 m2*a | |||
| Elementary flow | Land use / Land occupation | 9.49869025305477E-12 m2*a | 9.49869025305477E-12 m2*a | |||
| Elementary flow | Land use / Land transformation | 1.94234312443576E-15 m2 | 1.94234312443576E-15 m2 | |||
| Elementary flow | Resources / Resources from water / Renewable material resources from water | 8.93816070720889E-8 m3 | 8.93816070720889E-8 m3 | |||
| Elementary flow | Land use / Land transformation | 5.64161810405273E-6 m2 | 5.64161810405273E-6 m2 | |||
| Elementary flow | Resources / Resources from water / Renewable material resources from water | 2.66392654823153E-7 m3 | 2.66392654823153E-7 m3 | |||
| Elementary flow | Land use / Land transformation | 4.43443489788472E-13 m2 | 4.43443489788472E-13 m2 | |||
| Elementary flow | Land use / Land transformation | 1.65544739946088E-5 m2 | 1.65544739946088E-5 m2 | |||
| Elementary flow | Land use / Land transformation | 1.06025332445294E-9 m2 | 1.06025332445294E-9 m2 | |||
| Elementary flow | Land use / Land occupation | 3.83119632404719E-11 m2*a | 3.83119632404719E-11 m2*a | |||
| Elementary flow | Land use / Land transformation | 4.04011119233916E-5 m2 | 4.04011119233916E-5 m2 | |||
| Elementary flow | Land use / Land transformation | 3.40237893506446E-10 m2 | 3.40237893506446E-10 m2 | |||
| Elementary flow | Resources / Resources from water / Renewable material resources from water | 1.34367907169655E-8 m3 | 1.34367907169655E-8 m3 | |||
| Elementary flow | Resources / Resources from ground / Non-renewable element resources from ground | 2.03199286509681E-13 kg | 2.03199286509681E-13 kg | |||
| Elementary flow | Land use / Land transformation | 1.34813223018863E-14 m2 | 1.34813223018863E-14 m2 | |||
| Elementary flow | Land use / Land occupation | 3.0484227667341E-9 m2*a | 3.0484227667341E-9 m2*a | |||
| Elementary flow | Land use / Land occupation | 6.33023369846928E-14 m2*a | 6.33023369846928E-14 m2*a | |||
| Elementary flow | Resources / Resources from water / Renewable material resources from water | 1.7867563188608E-6 m3 | 1.7867563188608E-6 m3 | |||
| Elementary flow | Land use / Land transformation | 4.3351090079741E-11 m2 | 4.3351090079741E-11 m2 | |||
| Elementary flow | Resources / Resources from water / Renewable material resources from water | 7.97267508217078E-12 m3 | 7.97267508217078E-12 m3 | |||
| Elementary flow | Land use / Land transformation | 1.88062834307443E-6 m2 | 1.88062834307443E-6 m2 | |||
| Elementary flow | Land use / Land transformation | 4.33623637056512E-8 m2 | 4.33623637056512E-8 m2 | |||
| Elementary flow | Resources / Resources from water / Renewable material resources from water | 1.46416491389111E-8 m3 | 1.46416491389111E-8 m3 | |||
| Elementary flow | Land use / Land occupation | 2.39051329617273E-8 m2*a | 2.39051329617273E-8 m2*a | |||
| Elementary flow | Land use / Land transformation | 4.36923853208421E-14 m2 | 4.36923853208421E-14 m2 | |||
| Elementary flow | Land use / Land transformation | 1.32314297190641E-14 m2 | 1.32314297190641E-14 m2 | |||
| Elementary flow | Land use / Land occupation | 2.02080990824865E-10 m2*a | 2.02080990824865E-10 m2*a | |||
| Elementary flow | Resources / Resources from water / Renewable material resources from water | 4.12475321303068E-7 m3 | 4.12475321303068E-7 m3 | |||
| Elementary flow | Land use / Land transformation | 2.92299550301257E-6 m2 | 2.92299550301257E-6 m2 | |||
| Elementary flow | Land use / Land transformation | 1.17212538090919E-9 m2 | 1.17212538090919E-9 m2 | |||
| Elementary flow | Land use / Land transformation | 2.85683990132801E-13 m2 | 2.85683990132801E-13 m2 | |||
| Elementary flow | Land use / Land occupation | 3.27528593775981E-8 m2*a | 3.27528593775981E-8 m2*a | |||
| Elementary flow | Resources / Resources from ground / Non-renewable material resources from ground | 7.85509518418289E-4 kg | 7.85509518418289E-4 kg | |||
| Elementary flow | Resources / Resources from water / Renewable material resources from water | 2.12542528498333E-7 m3 | 2.12542528498333E-7 m3 | |||
| Elementary flow | Land use / Land transformation | 5.17593451214859E-19 m2 | 5.17593451214859E-19 m2 | |||
| Elementary flow | Resources / Resources from air / Renewable material resources from air | 9.71691857294664E-9 m3 | 9.71691857294664E-9 m3 | |||
| Elementary flow | Land use / Land transformation | 3.3526645691262E-10 m2 | 3.3526645691262E-10 m2 | |||
| Elementary flow | Land use / Land occupation | 4.58217576434778E-10 m2*a | 4.58217576434778E-10 m2*a | |||
| Elementary flow | Land use / Land transformation | 3.5556394039051E-8 m2 | 3.5556394039051E-8 m2 | |||
| Elementary flow | Land use / Land occupation | 2.25664914120052E-5 m2*a | 2.25664914120052E-5 m2*a | |||
| Elementary flow | Resources / Resources from water / Renewable material resources from water | 4.766366896469276E-7 m3 | 4.766366896469276E-7 m3 | |||
| Elementary flow | Resources / Resources from water / Renewable material resources from water | 9.18525726315552E-10 m3 | 9.18525726315552E-10 m3 | |||
| Elementary flow | Land use / Land transformation | 1.94234312443576E-15 m2 | 1.94234312443576E-15 m2 | |||
| Elementary flow | Land use / Land occupation | 1.60823820438042E-10 m2*a | 1.60823820438042E-10 m2*a | |||
| Elementary flow | Resources / Resources from water / Renewable material resources from water | 2.08181003913111E-8 m3 | 2.08181003913111E-8 m3 | |||
| Elementary flow | Resources / Resources from ground / Non-renewable energy resources from ground | 5.33755228027962E-14 MJ | 5.33755228027962E-14 MJ | |||
| Elementary flow | Resources / Resources from water / Renewable material resources from water | 1.62147941975511E-5 m3 | 1.62147941975511E-5 m3 | |||
| Elementary flow | Land use / Land transformation | 1.75221601276069E-14 m2 | 1.75221601276069E-14 m2 | |||
| Elementary flow | Land use / Land transformation | 1.05001580244542E-17 m2 | 1.05001580244542E-17 m2 | |||
| Elementary flow | Land use / Land transformation | 2.21364918113563E-9 m2 | 2.21364918113563E-9 m2 | |||
| Elementary flow | Resources / Resources from ground / Non-renewable material resources from ground | 1.68967144152106E-17 kg | 1.68967144152106E-17 kg | |||
| Elementary flow | Land use / Land transformation | 2.70809903362098E-12 m2 | 2.70809903362098E-12 m2 | |||
| Elementary flow | Land use / Land transformation | 4.74117502722038E-12 m2 | 4.74117502722038E-12 m2 | |||
| Elementary flow | Land use / Land transformation | 7.6258770376472E-12 m2 | 7.6258770376472E-12 m2 | |||
| Elementary flow | Resources / Resources from water / Renewable material resources from water | 7.73331375972136E-21 m3 | 7.73331375972136E-21 m3 | |||
| Elementary flow | Land use / Land occupation | 4.08106152563794E-11 m2*a | 4.08106152563794E-11 m2*a | |||
| Elementary flow | Land use / Land occupation | 2.47539769133391E-8 m2*a | 2.47539769133391E-8 m2*a | |||
| Elementary flow | Land use / Land occupation | 3.39341707383331E-14 m2*a | 3.39341707383331E-14 m2*a | |||
| Elementary flow | Land use / Land transformation | 4.62423502564936E-12 m2 | 4.62423502564936E-12 m2 | |||
| Elementary flow | Resources / Resources from ground / Non-renewable material resources from ground | 5.54159835300544E-4 kg | 5.54159835300544E-4 kg | |||
| Elementary flow | Land use / Land transformation | 2.37170239137574E-13 m2 | 2.37170239137574E-13 m2 | |||
| Elementary flow | Land use / Land transformation | 2.6465479848929E-14 m2 | 2.6465479848929E-14 m2 | |||
| Elementary flow | Land use / Land occupation | 4.56543994811343E-11 m2*a | 4.56543994811343E-11 m2*a | |||
| Elementary flow | Land use / Land transformation | 4.26908366617032E-13 m2 | 4.26908366617032E-13 m2 | |||
| Elementary flow | Land use / Land occupation | 4.5858753383679E-11 m2*a | 4.5858753383679E-11 m2*a | |||
| Elementary flow | Land use / Land transformation | 3.16130189527556E-12 m2 | 3.16130189527556E-12 m2 | |||
| Elementary flow | Land use / Land occupation | 2.70603382982444E-10 m2*a | 2.70603382982444E-10 m2*a | |||
| Elementary flow | Land use / Land occupation | 2.29369067465978E-11 m2*a | 2.29369067465978E-11 m2*a | |||
| Elementary flow | Land use / Land transformation | 2.84948448209008E-9 m2 | 2.84948448209008E-9 m2 | |||
| Elementary flow | Land use / Land transformation | 6.78685192154926E-7 m2 | 6.78685192154926E-7 m2 | |||
| Elementary flow | Land use / Land occupation | 4.11972443084595E-10 m2*a | 4.11972443084595E-10 m2*a | |||
| Elementary flow | Land use / Land transformation | 6.3283247725416E-14 m2 | 6.3283247725416E-14 m2 | |||
| Elementary flow | Resources / Resources from water / Renewable material resources from water | 2.2217994871580812E-5 m3 | 2.2217994871580812E-5 m3 | |||
| Elementary flow | Land use / Land transformation | 7.6258770376472E-12 m2 | 7.6258770376472E-12 m2 | |||
| Elementary flow | Land use / Land transformation | 3.09560917797452E-8 m2 | 3.09560917797452E-8 m2 | |||
| Elementary flow | Land use / Land occupation | 3.10556070728916E-17 m2*a | 3.10556070728916E-17 m2*a | |||
| Elementary flow | Land use / Land transformation | 1.22863997724957E-11 m2 | 1.22863997724957E-11 m2 | |||
| Elementary flow | Land use / Land occupation | 1.39128994372857E-10 m2*a | 1.39128994372857E-10 m2*a | |||
| Elementary flow | Resources / Resources from ground / Non-renewable material resources from ground | 0.00179925569849023 kg | 0.00179925569849023 kg | |||
| Elementary flow | Land use / Land transformation | 2.74464651962432E-12 m2 | 2.74464651962432E-12 m2 | |||
| Elementary flow | Resources / Resources from water / Renewable material resources from water | 9.37388703821219E-9 m3 | 9.37388703821219E-9 m3 | |||
| Elementary flow | Resources / Resources from water / Renewable material resources from water | 2.160806846801347E-6 m3 | 2.160806846801347E-6 m3 | |||
| Elementary flow | Land use / Land transformation | 7.54000266174146E-8 m2 | 7.54000266174146E-8 m2 | |||
| Elementary flow | Land use / Land transformation | 8.20884045923413E-8 m2 | 8.20884045923413E-8 m2 | |||
| Elementary flow | Land use / Land transformation | 1.92832189374331E-11 m2 | 1.92832189374331E-11 m2 | |||
| Elementary flow | Resources / Resources from ground / Non-renewable element resources from ground | 1.4454279353367732E-9 kg | 1.4454279353367732E-9 kg | |||
| Elementary flow | Land use / Land transformation | 1.41114138331252E-7 m2 | 1.41114138331252E-7 m2 | |||
| Elementary flow | Land use / Land transformation | 3.07454958043667E-10 m2 | 3.07454958043667E-10 m2 | |||
| Elementary flow | Land use / Land occupation | 1.33103680698296E-29 m2*a | 1.33103680698296E-29 m2*a | |||
| Elementary flow | Land use / Land transformation | 7.38868758126648E-11 m2 | 7.38868758126648E-11 m2 | |||
| Elementary flow | Land use / Land transformation | 6.04382534222209E-7 m2 | 6.04382534222209E-7 m2 | |||
| Elementary flow | Resources / Resources from air / Renewable energy resources from air | 0.020337266964917493 MJ | 0.020337266964917493 MJ | |||
| Elementary flow | Land use / Land transformation | 1.41885966224129E-22 m2 | 1.41885966224129E-22 m2 | |||
| Elementary flow | Resources / Resources from water / Renewable material resources from water | 1.53739765674022E-6 m3 | 1.53739765674022E-6 m3 | |||
| Elementary flow | Land use / Land transformation | 1.34837814460836E-12 m2 | 1.34837814460836E-12 m2 | |||
| Elementary flow | Land use / Land transformation | 1.44871268250297E-11 m2 | 1.44871268250297E-11 m2 | |||
| Elementary flow | Resources / Resources from water / Renewable material resources from water | 1.23359531605428E-5 m3 | 1.23359531605428E-5 m3 | |||
| Elementary flow | Resources / Resources from water / Renewable material resources from water | 3.9092135981201E-8 m3 | 3.9092135981201E-8 m3 | |||
| Elementary flow | Land use / Land occupation | 2.26225770621645E-7 m2*a | 2.26225770621645E-7 m2*a | |||
| Elementary flow | Land use / Land occupation | 4.66011365991149E-11 m2*a | 4.66011365991149E-11 m2*a | |||
| Elementary flow | Land use / Land transformation | 3.47061080472764E-14 m2 | 3.47061080472764E-14 m2 | |||
| Elementary flow | Land use / Land transformation | 4.13053820539677E-10 m2 | 4.13053820539677E-10 m2 | |||
| Elementary flow | Resources / Resources from ground / Non-renewable material resources from ground | 4.67491587242951E-21 kg | 4.67491587242951E-21 kg | |||
| Elementary flow | Land use / Land occupation | 1.16760344532828E-18 m2*a | 1.16760344532828E-18 m2*a | |||
| Elementary flow | Land use / Land transformation | 1.23705342258187E-15 m2 | 1.23705342258187E-15 m2 | |||
| Elementary flow | Land use / Land occupation | 6.87902535326616E-13 m2*a | 6.87902535326616E-13 m2*a | |||
| Elementary flow | Land use / Land occupation | 4.89238196413218E-11 m2*a | 4.89238196413218E-11 m2*a | |||
| Elementary flow | Land use / Land occupation | 1.69248604848623E-5 m2*a | 1.69248604848623E-5 m2*a | |||
| Elementary flow | Land use / Land occupation | 1.43641336722836E-13 m2*a | 1.43641336722836E-13 m2*a | |||
| Elementary flow | Land use / Land occupation | 7.1359810930943E-4 m2*a | 7.1359810930943E-4 m2*a | |||
| Elementary flow | Land use / Land occupation | 6.04352461926538E-11 m2*a | 6.04352461926538E-11 m2*a | |||
| Elementary flow | Land use / Land transformation | 9.55845010038081E-12 m2 | 9.55845010038081E-12 m2 | |||
| Elementary flow | Land use / Land occupation | 7.64267659323514E-14 m2*a | 7.64267659323514E-14 m2*a | |||
| Elementary flow | Land use / Land transformation | 7.52215800071578E-6 m2 | 7.52215800071578E-6 m2 | |||
| Elementary flow | Land use / Land transformation | 8.77599285067313E-13 m2 | 8.77599285067313E-13 m2 | |||
| Elementary flow | Resources / Resources from water / Renewable material resources from water | 4.95328399138262E-7 m3 | 4.95328399138262E-7 m3 | |||
| Elementary flow | Resources / Resources from air / Renewable element resources from air | 2.26966948993098E-18 kg | 2.26966948993098E-18 kg | |||
| Elementary flow | Land use / Land occupation | 6.06217118708691E-10 m2*a | 6.06217118708691E-10 m2*a | |||
| Elementary flow | Land use / Land transformation | 1.22488521076025E-12 m2 | 1.22488521076025E-12 m2 | |||
| Elementary flow | Land use / Land transformation | 5.15466591147274E-4 m2 | 5.15466591147274E-4 m2 | |||
| Elementary flow | Resources / Resources from water / Renewable material resources from water | 2.05825885067029E-10 m3 | 2.05825885067029E-10 m3 | |||
| Elementary flow | Resources / Resources from water / Renewable material resources from water | 0.00665270646189804 m3 | 0.00665270646189804 m3 | |||
| Elementary flow | Resources / Resources from ground / Non-renewable material resources from ground | 5.98876340239309E-8 kg | 5.98876340239309E-8 kg | |||
| Elementary flow | Land use / Land transformation | 4.03111814910292E-13 m2 | 4.03111814910292E-13 m2 | |||
| Elementary flow | Land use / Land transformation | 4.36923853208421E-14 m2 | 4.36923853208421E-14 m2 | |||
| Elementary flow | Land use / Land transformation | 3.95843754663009E-12 m2 | 3.95843754663009E-12 m2 | |||
| Elementary flow | Land use / Land transformation | 1.34571146543852E-13 m2 | 1.34571146543852E-13 m2 | |||
| Elementary flow | Land use / Land occupation | 4.36544951912083E-10 m2*a | 4.36544951912083E-10 m2*a | |||
| Elementary flow | Land use / Land occupation | 3.78594933501199E-9 m2*a | 3.78594933501199E-9 m2*a | |||
| Elementary flow | Land use / Land transformation | 6.74612372556457E-14 m2 | 6.74612372556457E-14 m2 | |||
| Elementary flow | Resources / Resources from ground / Non-renewable element resources from ground | 1.52617500310558E-8 kg | 1.52617500310558E-8 kg | |||
| Elementary flow | Resources / Resources from ground / Non-renewable material resources from ground | 3.21274361602497E-5 kg | 3.21274361602497E-5 kg | |||
| Elementary flow | Land use / Land transformation | 2.44285080681225E-5 m2 | 2.44285080681225E-5 m2 | |||
| Elementary flow | Land use / Land transformation | 5.64161810405289E-6 m2 | 5.64161810405289E-6 m2 | |||
| Elementary flow | Land use / Land transformation | 3.70281680092916E-5 m2 | 3.70281680092916E-5 m2 | |||
| Elementary flow | Land use / Land transformation | 3.90234141645306E-10 m2 | 3.90234141645306E-10 m2 | |||
| Elementary flow | Resources / Resources from water / Renewable material resources from water | 2.14206231508966E-8 m3 | 2.14206231508966E-8 m3 | |||
| Elementary flow | Land use / Land occupation | 3.80719991943894E-9 m2*a | 3.80719991943894E-9 m2*a | |||
| Elementary flow | Resources / Resources from ground / Non-renewable element resources from ground | 4.58894143515753E-6 kg | 4.58894143515753E-6 kg | |||
| Elementary flow | Land use / Land transformation | 4.23894187729617E-14 m2 | 4.23894187729617E-14 m2 | |||
| Elementary flow | Land use / Land transformation | 1.41982743944062E-5 m2 | 1.41982743944062E-5 m2 | |||
| Elementary flow | Land use / Land transformation | 6.24130375682577E-17 m2 | 6.24130375682577E-17 m2 | |||
| Elementary flow | Land use / Land occupation | 5.64162190506501E-6 m2*a | 5.64162190506501E-6 m2*a | |||
| Elementary flow | Land use / Land transformation | 1.86093326432845E-12 m2 | 1.86093326432845E-12 m2 | |||
| Elementary flow | Land use / Land transformation | 1.01682667120525E-11 m2 | 1.01682667120525E-11 m2 | |||
| Elementary flow | Land use / Land transformation | 2.69272563155617E-13 m2 | 2.69272563155617E-13 m2 | |||
| Elementary flow | Resources / Resources from water / Renewable material resources from water | 2.02944525446242E-8 m3 | 2.02944525446242E-8 m3 | |||
| Elementary flow | Land use / Land transformation | 1.01036186451449E-11 m2 | 1.01036186451449E-11 m2 | |||
| Elementary flow | Resources / Resources from ground / Non-renewable energy resources from ground | 1.00632192427265E-4 MJ | 1.00632192427265E-4 MJ | |||
| Elementary flow | Land use / Land transformation | 2.47219039065338E-9 m2 | 2.47219039065338E-9 m2 | |||
| Elementary flow | Land use / Land transformation | 4.49305546998614E-22 m2 | 4.49305546998614E-22 m2 | |||
| Elementary flow | Land use / Land transformation | 2.96645038277524E-9 m2 | 2.96645038277524E-9 m2 | |||
| Elementary flow | Land use / Land occupation | 3.88367048047408E-11 m2*a | 3.88367048047408E-11 m2*a | |||
| Elementary flow | Land use / Land occupation | 8.88064204102325E-10 m2*a | 8.88064204102325E-10 m2*a | |||
| Elementary flow | Land use / Land transformation | 8.16196636897985E-15 m2 | 8.16196636897985E-15 m2 | |||
| Elementary flow | Resources / Resources from water / Renewable material resources from water | 2.32166602503438E-8 m3 | 2.32166602503438E-8 m3 | |||
| Elementary flow | Resources / Resources from water / Renewable material resources from water | 4.57905280313967E-8 m3 | 4.57905280313967E-8 m3 | |||
| Elementary flow | Land use / Land transformation | 7.14950684335731E-14 m2 | 7.14950684335731E-14 m2 | |||
| Elementary flow | Land use / Land occupation | 1.60612648185423E-10 m2*a | 1.60612648185423E-10 m2*a | |||
| Elementary flow | Resources / Resources from air / Renewable element resources from air | 2.66274073825681E-19 kg | 2.66274073825681E-19 kg | |||
| Elementary flow | Resources / Resources from ground / Non-renewable element resources from ground | 1.63665660532714E-10 kg | 1.63665660532714E-10 kg | |||
| Elementary flow | Land use / Land transformation | 4.74204018023069E-9 m2 | 4.74204018023069E-9 m2 | |||
| Elementary flow | Land use / Land occupation | 1.07763269031377E-10 m2*a | 1.07763269031377E-10 m2*a | |||
| Elementary flow | Land use / Land transformation | 1.5185259011313E-16 m2 | 1.5185259011313E-16 m2 | |||
| Elementary flow | Land use / Land transformation | 1.18475889300747E-11 m2 | 1.18475889300747E-11 m2 | |||
| Elementary flow | Land use / Land transformation | 1.75519822474703E-12 m2 | 1.75519822474703E-12 m2 | |||
| Elementary flow | Resources / Resources from air / Renewable material resources from air | 0.142450360769458 kg | 0.142450360769458 kg | |||
| Elementary flow | Land use / Land transformation | 4.24741638477985E-14 m2 | 4.24741638477985E-14 m2 | |||
| Elementary flow | Land use / Land transformation | 1.50468476588878E-8 m2 | 1.50468476588878E-8 m2 | |||
| Elementary flow | Land use / Land transformation | 3.83508795432771E-5 m2 | 3.83508795432771E-5 m2 | |||
| Elementary flow | Land use / Land transformation | 3.83508839629734E-5 m2 | 3.83508839629734E-5 m2 | |||
| Elementary flow | Land use / Land transformation | 7.70268959658414E-12 m2 | 7.70268959658414E-12 m2 | |||
| Elementary flow | Land use / Land occupation | 1.32993323834388E-10 m2*a | 1.32993323834388E-10 m2*a | |||
| Elementary flow | Land use / Land transformation | 2.44732284228478E-9 m2 | 2.44732284228478E-9 m2 | |||
| Elementary flow | Land use / Land transformation | 4.7681905800798E-17 m2 | 4.7681905800798E-17 m2 | |||
| Elementary flow | Land use / Land occupation | 2.38036965087966E-13 m2*a | 2.38036965087966E-13 m2*a | |||
| Elementary flow | Resources / Resources from ground / Non-renewable element resources from ground | 8.77497678217597E-9 kg | 8.77497678217597E-9 kg | |||
| Elementary flow | Resources / Resources from water / Renewable material resources from water | 1.46404045032798E-7 m3 | 1.46404045032798E-7 m3 | |||
| Elementary flow | Land use / Land transformation | 1.10195523891057E-12 m2 | 1.10195523891057E-12 m2 | |||
| Elementary flow | Resources / Resources from water / Renewable material resources from water | 4.65710039940161E-7 m3 | 4.65710039940161E-7 m3 | |||
| Elementary flow | Land use / Land occupation | 6.5994272444895E-12 m2*a | 6.5994272444895E-12 m2*a | |||
| Elementary flow | Resources / Resources from water / Renewable material resources from water | 2.76690293190365E-7 m3 | 2.76690293190365E-7 m3 | |||
| Elementary flow | Resources / Resources from water / Renewable material resources from water | 4.09521762455E-7 m3 | 4.09521762455E-7 m3 | |||
| Elementary flow | Resources / Resources from water / Renewable material resources from water | 1.56184766417335E-6 m3 | 1.56184766417335E-6 m3 | |||
| Elementary flow | Resources / Resources from water / Renewable material resources from water | 9.21256520488084E-8 m3 | 9.21256520488084E-8 m3 | |||
| Elementary flow | Land use / Land transformation | 1.48249602480705E-10 m2 | 1.48249602480705E-10 m2 | |||
| Elementary flow | Land use / Land transformation | 1.34571146543852E-13 m2 | 1.34571146543852E-13 m2 | |||
| Elementary flow | Land use / Land occupation | 1.78553708287692E-10 m2*a | 1.78553708287692E-10 m2*a | |||
| Elementary flow | Resources / Resources from water / Renewable material resources from water | 2.0294721293898158E-7 m3 | 2.0294721293898158E-7 m3 | |||
| Elementary flow | Land use / Land transformation | 4.27860962567206E-13 m2 | 4.27860962567206E-13 m2 | |||
| Elementary flow | Land use / Land occupation | 8.4776519939063E-10 m2*a | 8.4776519939063E-10 m2*a | |||
| Elementary flow | Land use / Land occupation | 1.23561880718968E-10 m2*a | 1.23561880718968E-10 m2*a | |||
| Elementary flow | Land use / Land transformation | 1.140912200537E-10 m2 | 1.140912200537E-10 m2 | |||
| Elementary flow | Land use / Land transformation | 9.28858111082201E-11 m2 | 9.28858111082201E-11 m2 | |||
| Elementary flow | Resources / Resources from biosphere / Renewable material resources from biosphere | 9.89568335148098E-7 m3 | 9.89568335148098E-7 m3 | |||
| Elementary flow | Resources / Resources from water / Renewable material resources from water | 1.11325651570734E-8 m3 | 1.11325651570734E-8 m3 | |||
| Elementary flow | Land use / Land occupation | 1.32968988695147E-10 m2*a | 1.32968988695147E-10 m2*a | |||
| Elementary flow | Land use / Land occupation | 3.25217727065572E-6 m2*a | 3.25217727065572E-6 m2*a | |||
| Elementary flow | Land use / Land occupation | 3.36792835419532E-13 m2*a | 3.36792835419532E-13 m2*a | |||
| Elementary flow | Land use / Land occupation | 2.00167934986778E-6 m2*a | 2.00167934986778E-6 m2*a | |||
| Elementary flow | Land use / Land transformation | 2.09759392209527E-13 m2 | 2.09759392209527E-13 m2 | |||
| Elementary flow | Land use / Land transformation | 1.94234312443576E-15 m2 | 1.94234312443576E-15 m2 | |||
| Elementary flow | Land use / Land transformation | 1.5447989929673E-14 m2 | 1.5447989929673E-14 m2 | |||
| Elementary flow | Land use / Land transformation | 1.75519822474703E-11 m2 | 1.75519822474703E-11 m2 | |||
| Elementary flow | Land use / Land occupation | 1.1485845479799E-10 m2*a | 1.1485845479799E-10 m2*a | |||
| Elementary flow | Land use / Land occupation | 1.42464206857869E-13 m2*a | 1.42464206857869E-13 m2*a | |||
| Elementary flow | Land use / Land occupation | 2.41867088946175E-11 m2*a | 2.41867088946175E-11 m2*a | |||
| Elementary flow | Resources / Resources from water / Renewable material resources from water | 5.24106290521196E-8 m3 | 5.24106290521196E-8 m3 | |||
| Elementary flow | Land use / Land transformation | 4.34852735558251E-13 m2 | 4.34852735558251E-13 m2 | |||
| Elementary flow | Resources / Resources from water / Renewable material resources from water | 5.27615115238862E-8 m3 | 5.27615115238862E-8 m3 | |||
| Elementary flow | Land use / Land transformation | 6.3773102749067E-27 m2 | 6.3773102749067E-27 m2 | |||
| Elementary flow | Resources / Resources from ground / Non-renewable material resources from ground | 0.00116886267047958 kg | 0.00116886267047958 kg | |||
| Elementary flow | Land use / Land transformation | 6.61195042974049E-7 m2 | 6.61195042974049E-7 m2 | |||
| Elementary flow | Resources / Resources from water / Renewable material resources from water | 4.41355110104374E-9 m3 | 4.41355110104374E-9 m3 | |||
| Elementary flow | Land use / Land transformation | 3.40237893506446E-10 m2 | 3.40237893506446E-10 m2 | |||
| Elementary flow | Land use / Land transformation | 4.02353160114453E-15 m2 | 4.02353160114453E-15 m2 | |||
| Elementary flow | Land use / Land transformation | 1.03448942865885E-6 m2 | 1.03448942865885E-6 m2 | |||
| Elementary flow | Land use / Land transformation | 8.77929959379144E-13 m2 | 8.77929959379144E-13 m2 | |||
| Elementary flow | Land use / Land occupation | 3.00886381977453E-5 m2*a | 3.00886381977453E-5 m2*a | |||
| Elementary flow | Land use / Land transformation | 4.03111814910292E-13 m2 | 4.03111814910292E-13 m2 | |||
| Elementary flow | Land use / Land occupation | 1.16039772526728E-11 m2*a | 1.16039772526728E-11 m2*a | |||
| Elementary flow | Land use / Land transformation | 4.40476557724887E-13 m2 | 4.40476557724887E-13 m2 | |||
| Elementary flow | Land use / Land transformation | 1.55894963364708E-8 m2 | 1.55894963364708E-8 m2 | |||
| Elementary flow | Land use / Land occupation | 1.67178038670306E-11 m2*a | 1.67178038670306E-11 m2*a | |||
| Elementary flow | Land use / Land transformation | 4.02353160114453E-15 m2 | 4.02353160114453E-15 m2 | |||
| Elementary flow | Land use / Land transformation | 9.79585767646734E-11 m2 | 9.79585767646734E-11 m2 | |||
| Elementary flow | Land use / Land occupation | 4.13317626851888E-10 m2*a | 4.13317626851888E-10 m2*a | |||
| Elementary flow | Land use / Land occupation | 1.63203640799493E-11 m2*a | 1.63203640799493E-11 m2*a | |||
| Elementary flow | Resources / Resources from water / Renewable material resources from water | 3.93763180852053E-8 m3 | 3.93763180852053E-8 m3 | |||
| Elementary flow | Resources / Resources from ground / Non-renewable material resources from ground | 1.94250958543792E-7 kg | 1.94250958543792E-7 kg | |||
| Elementary flow | Resources / Resources from water / Renewable material resources from water | 1.07575393159484E-7 m3 | 1.07575393159484E-7 m3 | |||
| Elementary flow | Land use / Land occupation | 1.83934916753595E-17 m2*a | 1.83934916753595E-17 m2*a | |||
| Elementary flow | Land use / Land transformation | 7.48050289049207E-11 m2 | 7.48050289049207E-11 m2 | |||
| Elementary flow | Land use / Land occupation | 3.49812565955598E-11 m2*a | 3.49812565955598E-11 m2*a | |||
| Elementary flow | Land use / Land transformation | 1.8275784909497E-11 m2 | 1.8275784909497E-11 m2 | |||
| Elementary flow | Land use / Land transformation | 2.47219039065338E-9 m2 | 2.47219039065338E-9 m2 | |||
| Elementary flow | Land use / Land transformation | 2.76373805435126E-6 m2 | 2.76373805435126E-6 m2 | |||
| Elementary flow | Land use / Land transformation | 3.37501120655565E-13 m2 | 3.37501120655565E-13 m2 | |||
| Elementary flow | Land use / Land transformation | 1.65860646018484E-11 m2 | 1.65860646018484E-11 m2 | |||
| Elementary flow | Land use / Land occupation | 7.22273862932234E-8 m2*a | 7.22273862932234E-8 m2*a | |||
| Elementary flow | Land use / Land transformation | 1.48249602480705E-10 m2 | 1.48249602480705E-10 m2 | |||
| Elementary flow | Land use / Land transformation | 5.64162192993126E-6 m2 | 5.64162192993126E-6 m2 | |||
| Elementary flow | Land use / Land transformation | 2.4274014944678E-9 m2 | 2.4274014944678E-9 m2 | |||
| Elementary flow | Land use / Land transformation | 1.62178719181695E-9 m2 | 1.62178719181695E-9 m2 | |||
| Elementary flow | Land use / Land occupation | 8.07426879263111E-12 m2*a | 8.07426879263111E-12 m2*a | |||
| Elementary flow | Resources / Resources from water / Renewable material resources from water | 1.56908490723326E-9 m3 | 1.56908490723326E-9 m3 | |||
| Elementary flow | Land use / Land transformation | 2.91942129409635E-13 m2 | 2.91942129409635E-13 m2 | |||
| Elementary flow | Land use / Land transformation | 4.03111814910292E-13 m2 | 4.03111814910292E-13 m2 | |||
| Elementary flow | Land use / Land occupation | 7.13237065808976E-11 m2*a | 7.13237065808976E-11 m2*a | |||
| Elementary flow | Land use / Land transformation | 2.49438377305649E-9 m2 | 2.49438377305649E-9 m2 | |||
| Elementary flow | Land use / Land occupation | 9.25968909314564E-16 m2*a | 9.25968909314564E-16 m2*a | |||
| Elementary flow | Land use / Land occupation | 4.80809187618935E-8 m2*a | 4.80809187618935E-8 m2*a | |||
| Elementary flow | Land use / Land transformation | 5.5867669098032E-12 m2 | 5.5867669098032E-12 m2 | |||
| Elementary flow | Land use / Land transformation | 1.35916970421682E-6 m2 | 1.35916970421682E-6 m2 | |||
| Elementary flow | Land use / Land occupation | 6.84715666513428E-11 m2*a | 6.84715666513428E-11 m2*a | |||
| Elementary flow | Land use / Land transformation | 1.22863997724957E-11 m2 | 1.22863997724957E-11 m2 | |||
| Elementary flow | Land use / Land transformation | 1.37485906667381E-10 m2 | 1.37485906667381E-10 m2 | |||
| Elementary flow | Land use / Land transformation | 2.75876032430693E-10 m2 | 2.75876032430693E-10 m2 | |||
| Elementary flow | Land use / Land occupation | 3.83508839629734E-5 m2*a | 3.83508839629734E-5 m2*a | |||
| Elementary flow | Land use / Land occupation | 2.54294604519466E-5 m2*a | 2.54294604519466E-5 m2*a | |||
| Elementary flow | Land use / Land transformation | 1.06563085889843E-12 m2 | 1.06563085889843E-12 m2 | |||
| Elementary flow | Land use / Land transformation | 2.94004424684717E-18 m2 | 2.94004424684717E-18 m2 | |||
| Elementary flow | Land use / Land transformation | 4.3351090079741E-11 m2 | 4.3351090079741E-11 m2 | |||
| Elementary flow | Land use / Land transformation | 5.73877005551582E-14 m2 | 5.73877005551582E-14 m2 | |||
| Elementary flow | Resources / Resources from ground / Non-renewable element resources from ground | 4.41264671444088E-6 kg | 4.41264671444088E-6 kg | |||
| Elementary flow | Land use / Land occupation | 2.16360127647474E-6 m2*a | 2.16360127647474E-6 m2*a | |||
| Elementary flow | Land use / Land occupation | 1.88054118801928E-6 m2*a | 1.88054118801928E-6 m2*a | |||
| Elementary flow | Land use / Land transformation | 1.53705342240863E-10 m2 | 1.53705342240863E-10 m2 | |||
| Elementary flow | Land use / Land occupation | 3.16460702724931E-8 m2*a | 3.16460702724931E-8 m2*a | |||
| Elementary flow | Resources / Resources from ground / Non-renewable element resources from ground | 2.03199286509682E-11 kg | 2.03199286509682E-11 kg | |||
| Elementary flow | Land use / Land occupation | 2.94062007666518E-13 m2*a | 2.94062007666518E-13 m2*a | |||
| Elementary flow | Land use / Land transformation | 8.77599285067313E-13 m2 | 8.77599285067313E-13 m2 | |||
| Elementary flow | Land use / Land transformation | 6.52279616956067E-8 m2 | 6.52279616956067E-8 m2 | |||
| Elementary flow | Land use / Land occupation | 7.74283665041531E-13 m2*a | 7.74283665041531E-13 m2*a | |||
| Elementary flow | Resources / Resources from ground / Renewable energy resources from ground | 0.00218016535227454 MJ | 0.00218016535227454 MJ | |||
| Elementary flow | Land use / Land occupation | 1.8499470350131E-10 m2*a | 1.8499470350131E-10 m2*a | |||
| Elementary flow | Land use / Land occupation | 4.73938397227792E-10 m2*a | 4.73938397227792E-10 m2*a | |||
| Elementary flow | Land use / Land transformation | 6.00163883175884E-13 m2 | 6.00163883175884E-13 m2 | |||
| Elementary flow | Resources / Resources from water / Renewable material resources from water | 1.13403286097013E-8 m3 | 1.13403286097013E-8 m3 | |||
| Elementary flow | Land use / Land transformation | 3.8481896218064E-13 m2 | 3.8481896218064E-13 m2 | |||
| Elementary flow | Resources / Resources from water / Renewable material resources from water | 1.41241325437369E-8 m3 | 1.41241325437369E-8 m3 | |||
| Elementary flow | Land use / Land transformation | 4.82679467191931E-12 m2 | 4.82679467191931E-12 m2 | |||
| Elementary flow | Land use / Land transformation | 8.77599285067313E-13 m2 | 8.77599285067313E-13 m2 | |||
| Elementary flow | Land use / Land occupation | 5.43502126113885E-11 m2*a | 5.43502126113885E-11 m2*a | |||
| Elementary flow | Resources / Resources from water / Renewable material resources from water | 2.3084802874046995E-5 m3 | 2.3084802874046995E-5 m3 | |||
| Elementary flow | Land use / Land transformation | 2.57695270405576E-13 m2 | 2.57695270405576E-13 m2 | |||
| Elementary flow | Land use / Land transformation | 7.12268047831069E-12 m2 | 7.12268047831069E-12 m2 | |||
| Elementary flow | Resources / Resources from ground / Non-renewable material resources from ground | 2.08952517037663E-8 kg | 2.08952517037663E-8 kg | |||
| Elementary flow | Land use / Land transformation | 6.12375644256625E-11 m2 | 6.12375644256625E-11 m2 | |||
| Elementary flow | Land use / Land occupation | 2.46751839377625E-5 m2*a | 2.46751839377625E-5 m2*a | |||
| Elementary flow | Land use / Land occupation | 3.83968952743138E-9 m2*a | 3.83968952743138E-9 m2*a | |||
| Elementary flow | Land use / Land transformation | 3.69138805677236E-14 m2 | 3.69138805677236E-14 m2 | |||
| Elementary flow | Land use / Land transformation | 8.08160414345061E-17 m2 | 8.08160414345061E-17 m2 | |||
| Elementary flow | Land use / Land transformation | 4.45358766780661E-7 m2 | 4.45358766780661E-7 m2 | |||
| Elementary flow | Land use / Land transformation | 4.1660438926723E-13 m2 | 4.1660438926723E-13 m2 | |||
| Elementary flow | Land use / Land transformation | 2.81116972624019E-13 m2 | 2.81116972624019E-13 m2 | |||
| Elementary flow | Resources / Resources from water / Renewable material resources from water | -3.28787102770807E-13 m3 | -3.28787102770807E-13 m3 | |||
| Elementary flow | Land use / Land transformation | 7.37883060334775E-10 m2 | 7.37883060334775E-10 m2 | |||
| Elementary flow | Land use / Land transformation | 7.58326538913381E-11 m2 | 7.58326538913381E-11 m2 | |||
| Elementary flow | Land use / Land transformation | 3.70281680093717E-5 m2 | 3.70281680093717E-5 m2 | |||
| Elementary flow | Land use / Land transformation | 7.52215568805652E-6 m2 | 7.52215568805652E-6 m2 | |||
| Elementary flow | Land use / Land transformation | 2.19209979417736E-8 m2 | 2.19209979417736E-8 m2 | |||
| Elementary flow | Land use / Land transformation | 1.6983715484771E-13 m2 | 1.6983715484771E-13 m2 | |||
| Elementary flow | Land use / Land transformation | 1.66892289845025E-5 m2 | 1.66892289845025E-5 m2 | |||
| Elementary flow | Land use / Land transformation | 3.761083616683E-6 m2 | 3.761083616683E-6 m2 | |||
| Elementary flow | Land use / Land transformation | 4.67546968482635E-7 m2 | 4.67546968482635E-7 m2 | |||
| Elementary flow | Land use / Land transformation | 2.68419674679321E-9 m2 | 2.68419674679321E-9 m2 | |||
| Elementary flow | Land use / Land transformation | 3.17522067303693E-13 m2 | 3.17522067303693E-13 m2 | |||
| Elementary flow | Land use / Land transformation | 2.83021768038836E-7 m2 | 2.83021768038836E-7 m2 | |||
| Elementary flow | Land use / Land occupation | 3.08582147843756E-8 m2*a | 3.08582147843756E-8 m2*a | |||
| Elementary flow | Land use / Land transformation | 4.90052952557932E-14 m2 | 4.90052952557932E-14 m2 | |||
| Elementary flow | Land use / Land transformation | 4.95868559619603E-13 m2 | 4.95868559619603E-13 m2 | |||
| Elementary flow | Land use / Land transformation | 1.69449635491768E-9 m2 | 1.69449635491768E-9 m2 | |||
| Elementary flow | Land use / Land transformation | -1.23535843337508E-10 m2 | -1.23535843337508E-10 m2 | |||
| Elementary flow | Land use / Land transformation | 2.34215658462594E-7 m2 | 2.34215658462594E-7 m2 | |||
| Elementary flow | Land use / Land transformation | 1.70158599124429E-12 m2 | 1.70158599124429E-12 m2 | |||
| Elementary flow | Resources / Resources from ground / Non-renewable material resources from ground | -1.02274676529471E-10 kg | -1.02274676529471E-10 kg | |||
| Elementary flow | Land use / Land occupation | 1.1744106330623E-9 m2*a | 1.1744106330623E-9 m2*a | |||
| Elementary flow | Land use / Land transformation | 5.09415181583795E-10 m2 | 5.09415181583795E-10 m2 | |||
| Elementary flow | Land use / Land occupation | 2.7618474080849E-16 m2*a | 2.7618474080849E-16 m2*a | |||
| Elementary flow | Land use / Land transformation | 9.47223578624482E-15 m2 | 9.47223578624482E-15 m2 | |||
| Elementary flow | Land use / Land transformation | 3.00886381006755E-5 m2 | 3.00886381006755E-5 m2 | |||
| Elementary flow | Land use / Land transformation | 9.96029806675435E-13 m2 | 9.96029806675435E-13 m2 | |||
| Elementary flow | Land use / Land occupation | 2.99033422995493E-10 m2*a | 2.99033422995493E-10 m2*a | |||
| Elementary flow | Land use / Land transformation | -7.99130603933909E-16 m2 | -7.99130603933909E-16 m2 | |||
| Elementary flow | Land use / Land transformation | 7.59271056412966E-9 m2 | 7.59271056412966E-9 m2 | |||
| Elementary flow | Land use / Land transformation | 2.78892297568753E-13 m2 | 2.78892297568753E-13 m2 | |||
| Elementary flow | Resources / Resources from ground / Non-renewable element resources from ground | 8.28796629604278E-11 kg | 8.28796629604278E-11 kg | |||
| Elementary flow | Land use / Land transformation | 1.0547207954236E-12 m2 | 1.0547207954236E-12 m2 | |||
| Elementary flow | Land use / Land occupation | 5.73507006022848E-10 m2*a | 5.73507006022848E-10 m2*a | |||
| Elementary flow | Resources / Resources from water / Renewable material resources from water | 3.02598976829951E-7 m3 | 3.02598976829951E-7 m3 | |||
| Elementary flow | Land use / Land occupation | 2.66749456714809E-11 m2*a | 2.66749456714809E-11 m2*a | |||
| Elementary flow | Resources / Resources from water / Renewable material resources from water | 5.14528023407685E-8 m3 | 5.14528023407685E-8 m3 | |||
| Elementary flow | Land use / Land occupation | 1.57679232722888E-12 m2*a | 1.57679232722888E-12 m2*a | |||
| Elementary flow | Land use / Land occupation | 1.62265292620716E-9 m2*a | 1.62265292620716E-9 m2*a | |||
| Elementary flow | Land use / Land transformation | 1.97394200293679E-12 m2 | 1.97394200293679E-12 m2 | |||
| Elementary flow | Land use / Land transformation | 9.39057984141527E-13 m2 | 9.39057984141527E-13 m2 | |||
| Elementary flow | Land use / Land transformation | 3.40237893506446E-10 m2 | 3.40237893506446E-10 m2 | |||
| Elementary flow | Land use / Land transformation | 2.47403461335044E-5 m2 | 2.47403461335044E-5 m2 | |||
| Elementary flow | Land use / Land transformation | 1.82665759169233E-9 m2 | 1.82665759169233E-9 m2 | |||
| Elementary flow | Resources / Resources from water / Renewable material resources from water | 1.12803049934312E-7 m3 | 1.12803049934312E-7 m3 | |||
| Elementary flow | Resources / Resources from ground / Non-renewable material resources from ground | 1.1300731595629E-9 kg | 1.1300731595629E-9 kg | |||
| Elementary flow | Land use / Land occupation | 2.21483283406342E-12 m2*a | 2.21483283406342E-12 m2*a | |||
| Elementary flow | Land use / Land transformation | 8.03211511812908E-11 m2 | 8.03211511812908E-11 m2 | |||
| Elementary flow | Land use / Land transformation | 9.17400068244393E-12 m2 | 9.17400068244393E-12 m2 | |||
| Elementary flow | Resources / Resources from water / Renewable material resources from water | 5.25208027309579E-7 m3 | 5.25208027309579E-7 m3 | |||
| Elementary flow | Land use / Land transformation | 3.761083616683E-6 m2 | 3.761083616683E-6 m2 | |||
| Elementary flow | Land use / Land transformation | 1.02044194996072E-12 m2 | 1.02044194996072E-12 m2 | |||
| Elementary flow | Land use / Land transformation | 3.07937794600652E-14 m2 | 3.07937794600652E-14 m2 | |||
| Elementary flow | Land use / Land transformation | 3.57554547084638E-12 m2 | 3.57554547084638E-12 m2 | |||
| Elementary flow | Resources / Resources from water / Renewable material resources from water | 2.0547176345242E-7 m3 | 2.0547176345242E-7 m3 | |||
| Elementary flow | Land use / Land transformation | 1.46934243572214E-13 m2 | 1.46934243572214E-13 m2 | |||
| Elementary flow | Land use / Land occupation | 1.04509205045446E-10 m2*a | 1.04509205045446E-10 m2*a | |||
| Elementary flow | Land use / Land transformation | 2.96395058078223E-10 m2 | 2.96395058078223E-10 m2 | |||
| Elementary flow | Land use / Land occupation | 1.85612934625054E-9 m2*a | 1.85612934625054E-9 m2*a | |||
| Elementary flow | Land use / Land occupation | 3.27390986804395E-12 m2*a | 3.27390986804395E-12 m2*a | |||
| Elementary flow | Land use / Land occupation | 5.15466591147274E-4 m2*a | 5.15466591147274E-4 m2*a | |||
| Elementary flow | Land use / Land transformation | 1.67656190633946E-11 m2 | 1.67656190633946E-11 m2 | |||
| Elementary flow | Land use / Land transformation | 5.64161810405273E-6 m2 | 5.64161810405273E-6 m2 | |||
| Elementary flow | Land use / Land transformation | 8.45959094355507E-12 m2 | 8.45959094355507E-12 m2 | |||
| Elementary flow | Land use / Land transformation | 4.25480903000361E-10 m2 | 4.25480903000361E-10 m2 | |||
| Elementary flow | Land use / Land transformation | 8.50376805298099E-13 m2 | 8.50376805298099E-13 m2 | |||
| Elementary flow | Land use / Land occupation | 5.64162163758436E-6 m2*a | 5.64162163758436E-6 m2*a | |||
| Elementary flow | Resources / Resources from air / Renewable element resources from air | 1.61280794883851E-5 kg | 1.61280794883851E-5 kg | |||
| Elementary flow | Resources / Resources from water / Renewable material resources from water | 2.11336431095512E-12 m3 | 2.11336431095512E-12 m3 | |||
| Elementary flow | Resources / Resources from ground / Non-renewable material resources from ground | 1.98421577620876E-12 kg | 1.98421577620876E-12 kg | |||
| Elementary flow | Land use / Land occupation | 2.37504496462493E-12 m2*a | 2.37504496462493E-12 m2*a | |||
| Elementary flow | Resources / Resources from ground / Non-renewable material resources from ground | 0.00448503591571788 kg | 0.00448503591571788 kg | |||
| Elementary flow | Land use / Land occupation | 2.14754187220186E-7 m2*a | 2.14754187220186E-7 m2*a | |||
| Elementary flow | Resources / Resources from water / Renewable material resources from water | 1.71251088686799E-8 m3 | 1.71251088686799E-8 m3 | |||
| Elementary flow | Resources / Resources from water / Renewable material resources from water | 1.213439064410804E-4 m3 | 1.213439064410804E-4 m3 | |||
| Elementary flow | Land use / Land transformation | 1.40710297209524E-11 m2 | 1.40710297209524E-11 m2 | |||
| Elementary flow | Land use / Land occupation | 5.1022608317886E-11 m2*a | 5.1022608317886E-11 m2*a | |||
| Elementary flow | Land use / Land occupation | 1.00564062062265E-8 m2*a | 1.00564062062265E-8 m2*a | |||
| Elementary flow | Land use / Land transformation | 2.5738077135306E-13 m2 | 2.5738077135306E-13 m2 | |||
| Elementary flow | Land use / Land transformation | 1.65860646018484E-11 m2 | 1.65860646018484E-11 m2 | |||
| Elementary flow | Land use / Land transformation | 3.7610836166857E-6 m2 | 3.7610836166857E-6 m2 | |||
| Elementary flow | Land use / Land occupation | 5.32918969791706E-5 m2*a | 5.32918969791706E-5 m2*a | |||
| Elementary flow | Land use / Land transformation | 2.93208515521078E-13 m2 | 2.93208515521078E-13 m2 | |||
| Elementary flow | Land use / Land transformation | 4.45358766780661E-7 m2 | 4.45358766780661E-7 m2 | |||
| Elementary flow | Land use / Land occupation | 4.64392078206275E-8 m2*a | 4.64392078206275E-8 m2*a | |||
| Elementary flow | Land use / Land transformation | 5.6416181041453E-6 m2 | 5.6416181041453E-6 m2 | |||
| Elementary flow | Land use / Land occupation | 8.88618860662021E-15 m2*a | 8.88618860662021E-15 m2*a | |||
| Elementary flow | Land use / Land transformation | 8.71021775187259E-14 m2 | 8.71021775187259E-14 m2 | |||
| Elementary flow | Land use / Land transformation | 1.8868383536685E-11 m2 | 1.8868383536685E-11 m2 | |||
| Elementary flow | Land use / Land occupation | 1.65902496786376E-16 m2*a | 1.65902496786376E-16 m2*a | |||
| Elementary flow | Resources / Resources from ground / Non-renewable element resources from ground | 2.92180314761458E-9 kg | 2.92180314761458E-9 kg | |||
| Elementary flow | Land use / Land transformation | 3.65197231265315E-7 m2 | 3.65197231265315E-7 m2 | |||
| Elementary flow | Land use / Land transformation | 3.30335601835545E-12 m2 | 3.30335601835545E-12 m2 | |||
| Elementary flow | Land use / Land transformation | 1.5031930155854E-13 m2 | 1.5031930155854E-13 m2 | |||
| Elementary flow | Land use / Land transformation | 7.24754559263752E-12 m2 | 7.24754559263752E-12 m2 | |||
| Elementary flow | Land use / Land transformation | 7.59271056412966E-9 m2 | 7.59271056412966E-9 m2 | |||
| Elementary flow | Land use / Land transformation | 7.2840844155603E-11 m2 | 7.2840844155603E-11 m2 | |||
| Elementary flow | Land use / Land transformation | 1.1200512550942E-9 m2 | 1.1200512550942E-9 m2 | |||
| Elementary flow | Land use / Land occupation | 6.22217758290347E-11 m2*a | 6.22217758290347E-11 m2*a | |||
| Elementary flow | Resources / Resources from water / Renewable material resources from water | 3.85929159641887E-5 m3 | 3.85929159641887E-5 m3 | |||
| Elementary flow | Resources / Resources from air / Renewable element resources from air | 4.34882147814045E-4 kg | 4.34882147814045E-4 kg | |||
| Elementary flow | Land use / Land transformation | 1.35916970421682E-6 m2 | 1.35916970421682E-6 m2 | |||
| Elementary flow | Land use / Land transformation | 4.41555551863239E-8 m2 | 4.41555551863239E-8 m2 | |||
| Elementary flow | Land use / Land occupation | 2.94166916728151E-9 m2*a | 2.94166916728151E-9 m2*a | |||
| Elementary flow | Resources / Resources from water / Renewable material resources from water | 2.74176482213705E-12 m3 | 2.74176482213705E-12 m3 | |||
| Elementary flow | Resources / Resources from water / Renewable material resources from water | 7.81495698726001E-8 m3 | 7.81495698726001E-8 m3 | |||
| Elementary flow | Resources / Resources from water / Renewable material resources from water | 3.06765216325956E-7 m3 | 3.06765216325956E-7 m3 | |||
| Elementary flow | Land use / Land transformation | 1.76839337676838E-8 m2 | 1.76839337676838E-8 m2 | |||
| Elementary flow | Land use / Land transformation | 9.96029806675435E-13 m2 | 9.96029806675435E-13 m2 | |||
| Elementary flow | Land use / Land occupation | 5.6416181041453E-6 m2*a | 5.6416181041453E-6 m2*a | |||
| Elementary flow | Resources / Resources from water / Renewable material resources from water | 5.97559624250814E-13 m3 | 5.97559624250814E-13 m3 | |||
| Elementary flow | Land use / Land occupation | 1.12402731115186E-10 m2*a | 1.12402731115186E-10 m2*a | |||
| Elementary flow | Land use / Land transformation | 1.76787615815035E-11 m2 | 1.76787615815035E-11 m2 | |||
| Elementary flow | Land use / Land transformation | 4.24741638477985E-14 m2 | 4.24741638477985E-14 m2 | |||
| Elementary flow | Land use / Land transformation | 2.9403177153476E-15 m2 | 2.9403177153476E-15 m2 | |||
| Elementary flow | Land use / Land occupation | 1.35916970421682E-6 m2*a | 1.35916970421682E-6 m2*a | |||
| Elementary flow | Land use / Land transformation | 1.78517510156562E-8 m2 | 1.78517510156562E-8 m2 | |||
| Elementary flow | Resources / Resources from water / Renewable material resources from water | 4.29183526662965E-6 m3 | 4.29183526662965E-6 m3 | |||
| Elementary flow | Land use / Land occupation | 6.8738517407839E-13 m2*a | 6.8738517407839E-13 m2*a | |||
| Elementary flow | Land use / Land transformation | 2.44732284228478E-9 m2 | 2.44732284228478E-9 m2 | |||
| Elementary flow | Land use / Land transformation | 3.61730840552269E-13 m2 | 3.61730840552269E-13 m2 | |||
| Elementary flow | Land use / Land transformation | 7.58491354855135E-10 m2 | 7.58491354855135E-10 m2 | |||
| Elementary flow | Land use / Land transformation | 3.08303246020984E-13 m2 | 3.08303246020984E-13 m2 | |||
| Elementary flow | Resources / Resources from ground / Non-renewable element resources from ground | 9.99628144784894E-7 kg | 9.99628144784894E-7 kg | |||
| Elementary flow | Land use / Land occupation | 2.30891377308385E-11 m2*a | 2.30891377308385E-11 m2*a | |||
| Elementary flow | Resources / Resources from ground / Non-renewable energy resources from ground | 7.953443082012862E-5 MJ | 7.953443082012862E-5 MJ | |||
| Elementary flow | Land use / Land transformation | 2.30936381210122E-5 m2 | 2.30936381210122E-5 m2 | |||
| Elementary flow | Land use / Land transformation | 3.11554183793146E-11 m2 | 3.11554183793146E-11 m2 | |||
| Elementary flow | Land use / Land occupation | 4.42982734077911E-12 m2*a | 4.42982734077911E-12 m2*a | |||
| Elementary flow | Resources / Resources from water / Renewable material resources from water | 4.11469569779451E-12 m3 | 4.11469569779451E-12 m3 | |||
| Elementary flow | Resources / Resources from water / Renewable material resources from water | 3.6508790577246416E-6 m3 | 3.6508790577246416E-6 m3 | |||
| Elementary flow | Land use / Land transformation | 7.76685609985248E-13 m2 | 7.76685609985248E-13 m2 | |||
| Elementary flow | Land use / Land transformation | 6.27011863318891E-12 m2 | 6.27011863318891E-12 m2 | |||
| Elementary flow | Land use / Land transformation | 5.4420090211931E-13 m2 | 5.4420090211931E-13 m2 | |||
| Elementary flow | Land use / Land transformation | 3.98031621009757E-9 m2 | 3.98031621009757E-9 m2 | |||
| Elementary flow | Land use / Land transformation | 3.90949889308764E-10 m2 | 3.90949889308764E-10 m2 | |||
| Elementary flow | Land use / Land transformation | 2.81189688333058E-13 m2 | 2.81189688333058E-13 m2 | |||
| Elementary flow | Resources / Resources from ground / Non-renewable element resources from ground | 1.40196405095532E-7 kg | 1.40196405095532E-7 kg | |||
| Elementary flow | Resources / Resources from ground / Non-renewable element resources from ground | 2.1984179059551E-19 kg | 2.1984179059551E-19 kg | |||
| Elementary flow | Resources / Resources from water / Renewable material resources from water | 4.86357774718097E-8 m3 | 4.86357774718097E-8 m3 | |||
| Elementary flow | Land use / Land transformation | 8.02225043554028E-11 m2 | 8.02225043554028E-11 m2 | |||
| Elementary flow | Land use / Land occupation | 1.29580749835119E-8 m2*a | 1.29580749835119E-8 m2*a | |||
| Elementary flow | Land use / Land transformation | 3.95283731895958E-12 m2 | 3.95283731895958E-12 m2 | |||
| Elementary flow | Resources / Resources from water / Renewable material resources from water | 1.53294689265045E-7 m3 | 1.53294689265045E-7 m3 | |||
| Elementary flow | Resources / Resources from water / Renewable material resources from water | 3.98692265076818E-8 m3 | 3.98692265076818E-8 m3 | |||
| Elementary flow | Land use / Land transformation | 3.91186770690627E-11 m2 | 3.91186770690627E-11 m2 | |||
| Elementary flow | Land use / Land occupation | 4.9894702468499E-10 m2*a | 4.9894702468499E-10 m2*a | |||
| Elementary flow | Land use / Land occupation | 2.47219039065338E-9 m2*a | 2.47219039065338E-9 m2*a | |||
| Elementary flow | Land use / Land transformation | 6.66840920463919E-12 m2 | 6.66840920463919E-12 m2 | |||
| Elementary flow | Resources / Resources from ground / Non-renewable element resources from ground | 8.60095077467196E-10 kg | 8.60095077467196E-10 kg | |||
| Elementary flow | Land use / Land transformation | 2.19860223614624E-16 m2 | 2.19860223614624E-16 m2 | |||
| Elementary flow | Land use / Land transformation | 8.77599285067313E-13 m2 | 8.77599285067313E-13 m2 | |||
| Elementary flow | Land use / Land transformation | 9.25968909314564E-16 m2 | 9.25968909314564E-16 m2 | |||
| Elementary flow | Resources / Resources from water / Renewable material resources from water | 1.95779769317139E-9 m3 | 1.95779769317139E-9 m3 | |||
| Elementary flow | Land use / Land transformation | 2.90773395055145E-13 m2 | 2.90773395055145E-13 m2 | |||
| Elementary flow | Land use / Land occupation | 8.6282610550667E-10 m2*a | 8.6282610550667E-10 m2*a | |||
| Elementary flow | Resources / Resources from ground / Non-renewable material resources from ground | 4.42869804051381E-15 kg | 4.42869804051381E-15 kg | |||
| Elementary flow | Land use / Land occupation | 0.00313859574128617 m2*a | 0.00313859574128617 m2*a | |||
| Elementary flow | Land use / Land occupation | 1.61291747080435E-14 m2*a | 1.61291747080435E-14 m2*a | |||
| Elementary flow | Resources / Resources from water / Renewable material resources from water | 7.59802793062652E-10 m3 | 7.59802793062652E-10 m3 | |||
| Elementary flow | Land use / Land transformation | 6.30097329446986E-8 m2 | 6.30097329446986E-8 m2 | |||
| Elementary flow | Land use / Land occupation | 5.90184559712886E-10 m2*a | 5.90184559712886E-10 m2*a | |||
| Elementary flow | Land use / Land transformation | 1.20062668634338E-9 m2 | 1.20062668634338E-9 m2 | |||
| Elementary flow | Land use / Land transformation | 5.89413525586629E-13 m2 | 5.89413525586629E-13 m2 | |||
| Elementary flow | Resources / Resources from water / Renewable material resources from water | 7.90315814638248E-7 m3 | 7.90315814638248E-7 m3 | |||
| Elementary flow | Land use / Land transformation | 2.50611161183146E-14 m2 | 2.50611161183146E-14 m2 | |||
| Elementary flow | Land use / Land transformation | 1.33478597972438E-11 m2 | 1.33478597972438E-11 m2 | |||
| Elementary flow | Land use / Land transformation | 1.45394703078975E-10 m2 | 1.45394703078975E-10 m2 | |||
| Elementary flow | Land use / Land occupation | 3.7610836166857E-6 m2*a | 3.7610836166857E-6 m2*a | |||
| Elementary flow | Land use / Land occupation | 4.22364281594209E-9 m2*a | 4.22364281594209E-9 m2*a | |||
| Elementary flow | Land use / Land occupation | 4.89236908780894E-10 m2*a | 4.89236908780894E-10 m2*a | |||
| Elementary flow | Land use / Land transformation | 2.41976877602525E-11 m2 | 2.41976877602525E-11 m2 | |||
| Elementary flow | Land use / Land transformation | 8.8122720108872E-5 m2 | 8.8122720108872E-5 m2 | |||
| Elementary flow | Land use / Land transformation | 2.68419674682904E-9 m2 | 2.68419674682904E-9 m2 | |||
| Elementary flow | Land use / Land occupation | 5.6416181041453E-6 m2*a | 5.6416181041453E-6 m2*a | |||
| Elementary flow | Land use / Land transformation | 2.45214963695669E-9 m2 | 2.45214963695669E-9 m2 | |||
| Elementary flow | Resources / Resources from ground / Non-renewable material resources from ground | 6.26425842118242E-6 kg | 6.26425842118242E-6 kg | |||
| Elementary flow | Land use / Land transformation | 7.31186739077668E-13 m2 | 7.31186739077668E-13 m2 | |||
| Elementary flow | Land use / Land occupation | 3.3069088262996E-9 m2*a | 3.3069088262996E-9 m2*a | |||
| Elementary flow | Land use / Land transformation | 2.2566491754174E-5 m2 | 2.2566491754174E-5 m2 | |||
| Elementary flow | Land use / Land transformation | 8.77599285067313E-13 m2 | 8.77599285067313E-13 m2 | |||
| Elementary flow | Land use / Land transformation | 4.1108888528701E-14 m2 | 4.1108888528701E-14 m2 | |||
| Elementary flow | Land use / Land transformation | 1.30646231496098E-5 m2 | 1.30646231496098E-5 m2 | |||
| Elementary flow | Land use / Land occupation | 1.66645885676929E-11 m2*a | 1.66645885676929E-11 m2*a | |||
| Elementary flow | Land use / Land transformation | 1.52320707388143E-13 m2 | 1.52320707388143E-13 m2 | |||
| Elementary flow | Land use / Land occupation | 1.54645340778777E-9 m2*a | 1.54645340778777E-9 m2*a | |||
| Elementary flow | Land use / Land transformation | 2.25664914121049E-5 m2 | 2.25664914121049E-5 m2 | |||
| Elementary flow | Resources / Resources from water / Renewable material resources from water | 3.80040884506339E-8 kg | 3.80040884506339E-8 kg | |||
| Elementary flow | Land use / Land occupation | 7.61528998177974E-14 m2*a | 7.61528998177974E-14 m2*a | |||
| Elementary flow | Land use / Land transformation | 2.49152232394255E-13 m2 | 2.49152232394255E-13 m2 | |||
| Elementary flow | Land use / Land transformation | 1.23705342258187E-15 m2 | 1.23705342258187E-15 m2 | |||
| Elementary flow | Resources / Resources from water / Renewable material resources from water | 6.87679297054335E-9 m3 | 6.87679297054335E-9 m3 | |||
| Elementary flow | Land use / Land transformation | 3.11895896599713E-7 m2 | 3.11895896599713E-7 m2 | |||
| Elementary flow | Resources / Resources from water / Renewable material resources from water | 7.02755471895477E-9 m3 | 7.02755471895477E-9 m3 | |||
| Elementary flow | Land use / Land occupation | 1.78024924116765E-17 m2*a | 1.78024924116765E-17 m2*a | |||
| Elementary flow | Land use / Land transformation | 2.68819578467393E-16 m2 | 2.68819578467393E-16 m2 | |||
| Elementary flow | Land use / Land transformation | 3.9348178283057E-14 m2 | 3.9348178283057E-14 m2 | |||
| Elementary flow | Land use / Land transformation | 3.85180637349654E-16 m2 | 3.85180637349654E-16 m2 | |||
| Elementary flow | Resources / Resources from water / Renewable material resources from water | 5.0917931069875E-8 m3 | 5.0917931069875E-8 m3 | |||
| Elementary flow | Resources / Resources from ground / Non-renewable element resources from ground | 2.59635258125727E-8 kg | 2.59635258125727E-8 kg | |||
| Elementary flow | Land use / Land occupation | 5.08838758945866E-5 m2*a | 5.08838758945866E-5 m2*a | |||
| Elementary flow | Land use / Land occupation | 3.74478225409546E-15 m2*a | 3.74478225409546E-15 m2*a | |||
| Elementary flow | Land use / Land transformation | 2.37821337335181E-8 m2 | 2.37821337335181E-8 m2 | |||
| Elementary flow | Resources / Resources from water / Renewable material resources from water | 3.64809123436081E-7 m3 | 3.64809123436081E-7 m3 | |||
| Elementary flow | Land use / Land transformation | 7.4900268971775E-13 m2 | 7.4900268971775E-13 m2 | |||
| Elementary flow | Resources / Resources from ground / Non-renewable element resources from ground | 2.14150675422808E-9 kg | 2.14150675422808E-9 kg | |||
| Elementary flow | Land use / Land transformation | 2.81564579305897E-9 m2 | 2.81564579305897E-9 m2 | |||
| Elementary flow | Land use / Land transformation | 5.62417000418999E-16 m2 | 5.62417000418999E-16 m2 | |||
| Elementary flow | Land use / Land transformation | 7.38868758126648E-11 m2 | 7.38868758126648E-11 m2 | |||
| Elementary flow | Resources / Resources from biosphere / Renewable energy resources from biosphere | 4.790780285725749E-12 MJ | 4.790780285725749E-12 MJ | |||
| Elementary flow | Resources / Resources from water / Renewable material resources from water | 1.20330458856183E-7 m3 | 1.20330458856183E-7 m3 | |||
| Elementary flow | Resources / Resources from water / Renewable material resources from water | 7.73365942531849E-10 m3 | 7.73365942531849E-10 m3 | |||
| Elementary flow | Land use / Land transformation | 9.41429282997081E-11 m2 | 9.41429282997081E-11 m2 | |||
| Elementary flow | Land use / Land transformation | 4.34986243542659E-8 m2 | 4.34986243542659E-8 m2 | |||
| Elementary flow | Land use / Land transformation | 5.17593451214859E-19 m2 | 5.17593451214859E-19 m2 | |||
| Elementary flow | Resources / Resources from ground / Non-renewable element resources from ground | 5.02933787744023E-7 kg | 5.02933787744023E-7 kg | |||
| Elementary flow | Land use / Land transformation | 1.14650422554436E-14 m2 | 1.14650422554436E-14 m2 | |||
| Elementary flow | Land use / Land transformation | 1.24907279712362E-13 m2 | 1.24907279712362E-13 m2 | |||
| Elementary flow | Land use / Land transformation | 1.46266813186391E-7 m2 | 1.46266813186391E-7 m2 | |||
| Elementary flow | Land use / Land transformation | 3.95843754663009E-12 m2 | 3.95843754663009E-12 m2 | |||
| Elementary flow | Land use / Land transformation | 6.24837265744696E-9 m2 | 6.24837265744696E-9 m2 | |||
| Elementary flow | Land use / Land occupation | 5.40825787413983E-10 m2*a | 5.40825787413983E-10 m2*a | |||
| Elementary flow | Land use / Land occupation | 7.52215590658351E-6 m2*a | 7.52215590658351E-6 m2*a | |||
| Elementary flow | Land use / Land transformation | 3.11554183793146E-11 m2 | 3.11554183793146E-11 m2 | |||
| Elementary flow | Resources / Resources from water / Renewable material resources from water | 3.43807162933552E-8 m3 | 3.43807162933552E-8 m3 | |||
| Elementary flow | Land use / Land transformation | 2.00166826072173E-6 m2 | 2.00166826072173E-6 m2 | |||
| Elementary flow | Land use / Land transformation | 1.50668337525113E-8 m2 | 1.50668337525113E-8 m2 | |||
| Elementary flow | Land use / Land transformation | 6.03738829048191E-6 m2 | 6.03738829048191E-6 m2 | |||
| Elementary flow | Land use / Land transformation | 8.77599285067313E-13 m2 | 8.77599285067313E-13 m2 | |||
| Elementary flow | Land use / Land occupation | 4.52824688220379E-13 m2*a | 4.52824688220379E-13 m2*a | |||
| Elementary flow | Land use / Land occupation | 1.14511220363673E-10 m2*a | 1.14511220363673E-10 m2*a | |||
| Elementary flow | Land use / Land transformation | 1.05629685052915E-10 m2 | 1.05629685052915E-10 m2 | |||
| Elementary flow | Resources / Resources from water / Renewable material resources from water | 6.81744272238189E-8 m3 | 6.81744272238189E-8 m3 | |||
| Elementary flow | Land use / Land transformation | 1.81504822788789E-12 m2 | 1.81504822788789E-12 m2 | |||
| Elementary flow | Land use / Land transformation | 8.68392967173756E-14 m2 | 8.68392967173756E-14 m2 | |||
| Elementary flow | Land use / Land transformation | 6.13185676569026E-13 m2 | 6.13185676569026E-13 m2 | |||
| Elementary flow | Land use / Land transformation | 2.00546736900994E-13 m2 | 2.00546736900994E-13 m2 | |||
| Elementary flow | Land use / Land transformation | 1.86274768950896E-10 m2 | 1.86274768950896E-10 m2 | |||
| Elementary flow | Land use / Land transformation | 2.64831683040334E-7 m2 | 2.64831683040334E-7 m2 | |||
| Elementary flow | Land use / Land transformation | 3.38607976470386E-12 m2 | 3.38607976470386E-12 m2 | |||
| Elementary flow | Land use / Land transformation | 2.00546736900994E-13 m2 | 2.00546736900994E-13 m2 | |||
| Elementary flow | Land use / Land transformation | 5.56098114110777E-7 m2 | 5.56098114110777E-7 m2 | |||
| Elementary flow | Resources / Resources from water / Renewable material resources from water | 7.89990754241562E-8 m3 | 7.89990754241562E-8 m3 | |||
| Elementary flow | Land use / Land transformation | 7.70479475489967E-11 m2 | 7.70479475489967E-11 m2 | |||
| Elementary flow | Land use / Land transformation | 5.87718221290481E-9 m2 | 5.87718221290481E-9 m2 | |||
| Elementary flow | Resources / Resources from ground / Non-renewable material resources from ground | 2.67721669596896E-8 kg | 2.67721669596896E-8 kg | |||
| Elementary flow | Land use / Land occupation | 2.56052017955289E-9 m2*a | 2.56052017955289E-9 m2*a | |||
| Elementary flow | Land use / Land occupation | 9.24260290951283E-5 m2*a | 9.24260290951283E-5 m2*a | |||
| Elementary flow | Land use / Land transformation | 5.64161810405273E-6 m2 | 5.64161810405273E-6 m2 | |||
| Elementary flow | Land use / Land transformation | 1.0476026068882E-12 m2 | 1.0476026068882E-12 m2 | |||
| Elementary flow | Resources / Resources from water / Renewable material resources from water | 2.73125600866331E-8 m3 | 2.73125600866331E-8 m3 | |||
| Elementary flow | Land use / Land occupation | 5.50440040946635E-10 m2*a | 5.50440040946635E-10 m2*a | |||
| Elementary flow | Land use / Land transformation | 3.8481896218064E-13 m2 | 3.8481896218064E-13 m2 | |||
| Elementary flow | Land use / Land occupation | 7.36215535597953E-11 m2*a | 7.36215535597953E-11 m2*a | |||
| Elementary flow | Land use / Land transformation | 1.5447989929673E-14 m2 | 1.5447989929673E-14 m2 | |||
| Elementary flow | Land use / Land transformation | 1.23705342258187E-15 m2 | 1.23705342258187E-15 m2 | |||
| Elementary flow | Resources / Resources from water / Renewable material resources from water | 4.3647938750251E-11 m3 | 4.3647938750251E-11 m3 | |||
| Elementary flow | Land use / Land transformation | 7.89843014558798E-12 m2 | 7.89843014558798E-12 m2 | |||
| Elementary flow | Land use / Land transformation | 3.8290563030869E-9 m2 | 3.8290563030869E-9 m2 | |||
| Elementary flow | Land use / Land occupation | 5.96495398621765E-10 m2*a | 5.96495398621765E-10 m2*a | |||
| Elementary flow | Land use / Land transformation | 4.90103346110863E-15 m2 | 4.90103346110863E-15 m2 | |||
| Elementary flow | Land use / Land occupation | 4.41006637027075E-17 m2*a | 4.41006637027075E-17 m2*a | |||
| Elementary flow | Land use / Land transformation | 3.62298570441047E-12 m2 | 3.62298570441047E-12 m2 | |||
| Elementary flow | Resources / Resources from water / Renewable material resources from water | 5.81453013926152E-11 m3 | 5.81453013926152E-11 m3 | |||
| Elementary flow | Land use / Land occupation | 1.94143932104755E-7 m2*a | 1.94143932104755E-7 m2*a | |||
| Elementary flow | Land use / Land transformation | 1.07349193875844E-7 m2 | 1.07349193875844E-7 m2 | |||
| Elementary flow | Land use / Land occupation | 4.36319134927786E-11 m2*a | 4.36319134927786E-11 m2*a | |||
| Elementary flow | Land use / Land transformation | 3.26422776362114E-15 m2 | 3.26422776362114E-15 m2 | |||
| Elementary flow | Land use / Land transformation | 1.48909470237391E-9 m2 | 1.48909470237391E-9 m2 | |||
| Elementary flow | Land use / Land transformation | -1.22943169835985E-16 m2 | -1.22943169835985E-16 m2 | |||
| Elementary flow | Land use / Land transformation | 2.45552476091279E-12 m2 | 2.45552476091279E-12 m2 | |||
| Elementary flow | Land use / Land transformation | 9.0191580935124E-15 m2 | 9.0191580935124E-15 m2 | |||
| Elementary flow | Resources / Resources from water / Renewable material resources from water | 9.41258390775589E-11 m3 | 9.41258390775589E-11 m3 | |||
| Elementary flow | Land use / Land transformation | 7.02068400331285E-9 m2 | 7.02068400331285E-9 m2 | |||
| Elementary flow | Land use / Land occupation | 7.5221579955143E-6 m2*a | 7.5221579955143E-6 m2*a | |||
| Elementary flow | Resources / Resources from water / Renewable material resources from water | 3.62181796641113E-7 m3 | 3.62181796641113E-7 m3 | |||
| Elementary flow | Land use / Land transformation | 2.18203311873166E-17 m2 | 2.18203311873166E-17 m2 | |||
| Elementary flow | Land use / Land transformation | 6.41544757542392E-13 m2 | 6.41544757542392E-13 m2 | |||
| Elementary flow | Land use / Land occupation | 2.08236648283658E-12 m2*a | 2.08236648283658E-12 m2*a | |||
| Elementary flow | Land use / Land transformation | 2.5738077135306E-13 m2 | 2.5738077135306E-13 m2 | |||
| Elementary flow | Land use / Land transformation | 2.28408955475987E-12 m2 | 2.28408955475987E-12 m2 | |||
| Elementary flow | Resources / Resources from ground / Non-renewable material resources from ground | 6.69234085545876E-26 kg | 6.69234085545876E-26 kg | |||
| Elementary flow | Resources / Resources from water / Renewable material resources from water | 1.33157652915036E-7 m3 | 1.33157652915036E-7 m3 | |||
| Elementary flow | Resources / Resources from water / Renewable material resources from water | 4.9871556270451E-7 m3 | 4.9871556270451E-7 m3 | |||
| Elementary flow | Resources / Resources from water / Renewable material resources from water | 1.43271710310216E-9 m3 | 1.43271710310216E-9 m3 | |||
| Elementary flow | Land use / Land transformation | 4.35121286213748E-8 m2 | 4.35121286213748E-8 m2 | |||
| Elementary flow | Land use / Land transformation | 2.9979197881165E-6 m2 | 2.9979197881165E-6 m2 | |||
| Elementary flow | Land use / Land transformation | 1.62355978973067E-11 m2 | 1.62355978973067E-11 m2 | |||
| Elementary flow | Land use / Land transformation | 1.81504822788789E-12 m2 | 1.81504822788789E-12 m2 | |||
| Elementary flow | Land use / Land transformation | 1.1118579704074E-13 m2 | 1.1118579704074E-13 m2 | |||
| Elementary flow | Land use / Land transformation | 1.1118579704074E-13 m2 | 1.1118579704074E-13 m2 | |||
| Elementary flow | Land use / Land transformation | 4.92078796842225E-11 m2 | 4.92078796842225E-11 m2 | |||
| Elementary flow | Land use / Land transformation | 4.78512566577268E-12 m2 | 4.78512566577268E-12 m2 | |||
| Elementary flow | Land use / Land transformation | 4.02353160114453E-15 m2 | 4.02353160114453E-15 m2 | |||
| Elementary flow | Land use / Land transformation | 2.41902815845661E-10 m2 | 2.41902815845661E-10 m2 | |||
| Elementary flow | Land use / Land transformation | 1.42884930286662E-12 m2 | 1.42884930286662E-12 m2 | |||
| Elementary flow | Resources / Resources from ground / Non-renewable material resources from ground | 5.09797048312356E-7 kg | 5.09797048312356E-7 kg | |||
| Elementary flow | Land use / Land occupation | 1.46650309310307E-13 m2*a | 1.46650309310307E-13 m2*a | |||
| Elementary flow | Resources / Resources from water / Renewable material resources from water | 4.98392524978674E-8 m3 | 4.98392524978674E-8 m3 | |||
| Elementary flow | Land use / Land occupation | 1.35282937049475E-12 m2*a | 1.35282937049475E-12 m2*a | |||
| Elementary flow | Land use / Land occupation | 7.62381520425947E-10 m2*a | 7.62381520425947E-10 m2*a | |||
| Elementary flow | Land use / Land transformation | 2.44122822182503E-5 m2 | 2.44122822182503E-5 m2 | |||
| Elementary flow | Land use / Land transformation | 3.09352551124307E-7 m2 | 3.09352551124307E-7 m2 | |||
| Elementary flow | Land use / Land occupation | 6.23767275980083E-10 m2*a | 6.23767275980083E-10 m2*a | |||
| Elementary flow | Land use / Land transformation | 2.91101585284529E-14 m2 | 2.91101585284529E-14 m2 | |||
| Elementary flow | Land use / Land occupation | 3.58265062853459E-20 m2*a | 3.58265062853459E-20 m2*a | |||
| Elementary flow | Land use / Land transformation | 1.26921499696328E-15 m2 | 1.26921499696328E-15 m2 | |||
| Elementary flow | Land use / Land occupation | 9.50695223123858E-9 m2*a | 9.50695223123858E-9 m2*a | |||
| Elementary flow | Land use / Land occupation | 4.10712436159909E-11 m2*a | 4.10712436159909E-11 m2*a | |||
| Elementary flow | Land use / Land transformation | 8.77599285067313E-13 m2 | 8.77599285067313E-13 m2 | |||
| Elementary flow | Land use / Land transformation | 1.57570274990646E-9 m2 | 1.57570274990646E-9 m2 | |||
| Elementary flow | Land use / Land occupation | 4.62161375795048E-10 m2*a | 4.62161375795048E-10 m2*a | |||
| Elementary flow | Land use / Land transformation | 7.76685609985248E-13 m2 | 7.76685609985248E-13 m2 | |||
| Elementary flow | Land use / Land transformation | 6.15115587184001E-12 m2 | 6.15115587184001E-12 m2 | |||
| Elementary flow | Resources / Resources from air / Renewable element resources from air | 5.73601853284279E-11 kg | 5.73601853284279E-11 kg | |||
| Elementary flow | Land use / Land occupation | 2.14567700602311E-5 m2*a | 2.14567700602311E-5 m2*a | |||
| Elementary flow | Land use / Land occupation | 7.59613934037792E-18 m2*a | 7.59613934037792E-18 m2*a | |||
| Elementary flow | Land use / Land transformation | 6.52886035507481E-8 m2 | 6.52886035507481E-8 m2 | |||
| Elementary flow | Land use / Land transformation | 5.65802547920808E-14 m2 | 5.65802547920808E-14 m2 | |||
| Elementary flow | Land use / Land transformation | 2.57695270405576E-13 m2 | 2.57695270405576E-13 m2 | |||
| Elementary flow | Resources / Resources from ground / Non-renewable material resources from ground | 0.00655913979308396 kg | 0.00655913979308396 kg | |||
| Elementary flow | Land use / Land occupation | 4.61176419006889E-10 m2*a | 4.61176419006889E-10 m2*a | |||
| Elementary flow | Land use / Land occupation | 3.03661088475036E-4 m2*a | 3.03661088475036E-4 m2*a | |||
| Elementary flow | Land use / Land occupation | 1.25855635325716E-11 m2*a | 1.25855635325716E-11 m2*a | |||
| Elementary flow | Resources / Resources from water / Non-renewable material resources from water | 6.50071400096407E-7 kg | 6.50071400096407E-7 kg | |||
| Elementary flow | Land use / Land occupation | 2.40205939790942E-13 m2*a | 2.40205939790942E-13 m2*a | |||
| Elementary flow | Land use / Land transformation | 7.70479475489967E-11 m2 | 7.70479475489967E-11 m2 | |||
| Elementary flow | Resources / Resources from ground / Non-renewable material resources from ground | 4.24206670560309E-5 kg | 4.24206670560309E-5 kg | |||
| Elementary flow | Resources / Resources from ground / Non-renewable material resources from ground | -1.68367164759971E-23 kg | -1.68367164759971E-23 kg | |||
| Elementary flow | Land use / Land transformation | 8.93872567660619E-10 m2 | 8.93872567660619E-10 m2 | |||
| Elementary flow | Land use / Land transformation | 2.90053591709172E-8 m2 | 2.90053591709172E-8 m2 | |||
| Elementary flow | Land use / Land transformation | 3.90532722674623E-11 m2 | 3.90532722674623E-11 m2 | |||
| Elementary flow | Land use / Land transformation | 2.83504266660262E-18 m2 | 2.83504266660262E-18 m2 | |||
| Elementary flow | Land use / Land transformation | 1.01653574800901E-11 m2 | 1.01653574800901E-11 m2 | |||
| Elementary flow | Land use / Land transformation | 7.89897328712986E-12 m2 | 7.89897328712986E-12 m2 | |||
| Elementary flow | Resources / Resources from water / Renewable material resources from water | 3.53680102055676E-7 m3 | 3.53680102055676E-7 m3 | |||
| Elementary flow | Land use / Land occupation | 6.58529112105884E-13 m2*a | 6.58529112105884E-13 m2*a | |||
| Elementary flow | Land use / Land transformation | 2.81564579305897E-9 m2 | 2.81564579305897E-9 m2 | |||
| Elementary flow | Land use / Land transformation | 3.42221078570673E-10 m2 | 3.42221078570673E-10 m2 | |||
| Elementary flow | Resources / Resources from water / Renewable material resources from water | 1.29212254420527E-7 m3 | 1.29212254420527E-7 m3 | |||
| Elementary flow | Land use / Land transformation | 1.33914259950299E-13 m2 | 1.33914259950299E-13 m2 | |||
| Elementary flow | Land use / Land transformation | 6.23728249313479E-10 m2 | 6.23728249313479E-10 m2 | |||
| Elementary flow | Land use / Land occupation | 6.0395574526369E-10 m2*a | 6.0395574526369E-10 m2*a | |||
| Elementary flow | Land use / Land transformation | 5.64161783666448E-6 m2 | 5.64161783666448E-6 m2 |
Outputs
| Type of flow | Classification | Flow | Mean amount | Resulting amount | Minimum amount | Maximum amount |
|---|---|---|---|---|---|---|
| Elementary flow | Emissions / Emissions to water / Emissions to fresh water | 4.52167684517468E-4 kg | 4.52167684517468E-4 kg | |||
| Elementary flow | Emissions / Emissions to water / Emissions to fresh water | 1.28047056503895E-9 kg | 1.28047056503895E-9 kg | |||
| Elementary flow | Emissions / Emissions to water / Emissions to fresh water | 0.0010738533565584248 kg | 0.0010738533565584248 kg | |||
| Elementary flow | Emissions / Emissions to water / Emissions to sea water | 0.001722090910910866 kg | 0.001722090910910866 kg | |||
| Elementary flow | Emissions / Emissions to soil / Emissions to non-agricultural soil | 1.43192048007069E-5 kg | 1.43192048007069E-5 kg | |||
| Elementary flow | Emissions / Emissions to water / Emissions to fresh water | 6.3149118838449E-7 kg | 6.3149118838449E-7 kg | |||
| Elementary flow | Emissions / Emissions to water / Emissions to fresh water | 2.89229017752865E-4 kg | 2.89229017752865E-4 kg | |||
| Elementary flow | Emissions / Emissions to soil / Emissions to non-agricultural soil | 1.505329937242E-14 kg | 1.505329937242E-14 kg | |||
| Elementary flow | Emissions / Emissions to water / Emissions to fresh water | 1.95685320739936E-19 kg | 1.95685320739936E-19 kg | |||
| Elementary flow | Emissions / Emissions to water / Emissions to fresh water | 4.460909989695463E-11 kg | 4.460909989695463E-11 kg | |||
| Elementary flow | Emissions / Emissions to soil / Emissions to non-agricultural soil | 1.5213199733714873E-6 kg | 1.5213199733714873E-6 kg | |||
| Elementary flow | Emissions / Emissions to air / Emissions to air, unspecified | 5.14630076774919E-7 kg | 5.14630076774919E-7 kg | |||
| Elementary flow | Emissions / Emissions to soil / Emissions to non-agricultural soil | 2.5690813969912E-6 kg | 2.5690813969912E-6 kg | |||
| Elementary flow | Emissions / Emissions to air / Emissions to air, unspecified | 4.93279995311933E-8 kg | 4.93279995311933E-8 kg | |||
| Elementary flow | Emissions / Emissions to air / Emissions to air, unspecified | 1.59368180734893E-7 kg | 1.59368180734893E-7 kg | |||
| Elementary flow | Emissions / Emissions to water / Emissions to fresh water | 1.91960120878971E-7 kg | 1.91960120878971E-7 kg | |||
| Elementary flow | Emissions / Emissions to air / Emissions to air, unspecified | 5.29473337648255E-17 kg | 5.29473337648255E-17 kg | |||
| Elementary flow | Emissions / Emissions to water / Emissions to fresh water | 2.71456117385625E-9 kg | 2.71456117385625E-9 kg | |||
| Elementary flow | Emissions / Emissions to water / Emissions to fresh water | 2.03768503191271E-4 kg | 2.03768503191271E-4 kg | |||
| Elementary flow | Emissions / Emissions to water / Emissions to water, unspecified | 1.31765797239729E-18 kg | 1.31765797239729E-18 kg | |||
| Elementary flow | Emissions / Emissions to water / Emissions to sea water | 7.42771636421989E-9 kg | 7.42771636421989E-9 kg | |||
| Elementary flow | Emissions / Emissions to air / Emissions to air, unspecified | 2.94552807973045E-14 kg | 2.94552807973045E-14 kg | |||
| Elementary flow | Emissions / Emissions to soil / Emissions to agricultural soil | 1.35024287814684E-9 kg | 1.35024287814684E-9 kg | |||
| Elementary flow | Emissions / Emissions to soil / Emissions to agricultural soil | 4.01762831800204E-12 kg | 4.01762831800204E-12 kg | |||
| Elementary flow | Emissions / Emissions to soil / Emissions to agricultural soil | 1.03367969152379E-19 kg | 1.03367969152379E-19 kg | |||
| Elementary flow | Emissions / Emissions to water / Emissions to sea water | 2.52819586407872E-10 kg | 2.52819586407872E-10 kg | |||
| Elementary flow | Emissions / Emissions to soil / Emissions to agricultural soil | 3.41967900408142E-12 kg | 3.41967900408142E-12 kg | |||
| Elementary flow | Emissions / Emissions to air / Emissions to non-urban air or from high stacks | 1.92936728070514E-13 kg | 1.92936728070514E-13 kg | |||
| Elementary flow | Emissions / Emissions to air / Emissions to air, unspecified | 1.6572257533653E-9 kg | 1.6572257533653E-9 kg | |||
| Elementary flow | Emissions / Emissions to air / Emissions to air, unspecified | 5.89055711349187E-13 kg | 5.89055711349187E-13 kg | |||
| Elementary flow | Emissions / Emissions to water / Emissions to fresh water | 6.02843327723949E-14 kg | 6.02843327723949E-14 kg | |||
| Elementary flow | Emissions / Emissions to water / Emissions to sea water | 3.6544364949809956E-6 kg | 3.6544364949809956E-6 kg | |||
| Elementary flow | Emissions / Emissions to water / Emissions to sea water | 1.40442580761235E-10 kg | 1.40442580761235E-10 kg | |||
| Elementary flow | Emissions / Emissions to air / Emissions to air, unspecified | 3.33597129129305E-13 kg | 3.33597129129305E-13 kg | |||
| Elementary flow | Emissions / Emissions to air / Emissions to air, unspecified | 3.79443858766314E-8 kg | 3.79443858766314E-8 kg | |||
| Elementary flow | Emissions / Emissions to water / Emissions to fresh water | 4.32421039059513E-8 m3 | 4.32421039059513E-8 m3 | |||
| Elementary flow | Emissions / Emissions to water / Emissions to fresh water | 3.53088388047704E-9 m3 | 3.53088388047704E-9 m3 | |||
| Elementary flow | Emissions / Emissions to water / Emissions to water, unspecified | 1.62259071557859E-16 kg | 1.62259071557859E-16 kg | |||
| Elementary flow | Emissions / Emissions to water / Emissions to fresh water | -1.15003673229125E-21 kg | -1.15003673229125E-21 kg | |||
| Elementary flow | Emissions / Emissions to water / Emissions to fresh water | 8.57977258486268E-7 m3 | 8.57977258486268E-7 m3 | |||
| Elementary flow | Emissions / Emissions to soil / Emissions to non-agricultural soil | 2.29876258046621E-5 kg | 2.29876258046621E-5 kg | |||
| Elementary flow | Emissions / Emissions to water / Emissions to fresh water | 4.68094002569968E-13 kg | 4.68094002569968E-13 kg | |||
| Elementary flow | Emissions / Emissions to air / Emissions to air, unspecified (long-term) | 1.93903686017128E-9 kg | 1.93903686017128E-9 kg | |||
| Elementary flow | Emissions / Emissions to soil / Emissions to agricultural soil | 1.37404016220211E-11 kg | 1.37404016220211E-11 kg | |||
| Elementary flow | Emissions / Emissions to air / Emissions to air, unspecified | 8.8869790078386E-6 kg | 8.8869790078386E-6 kg | |||
| Elementary flow | Emissions / Emissions to air / Emissions to air, unspecified (long-term) | 2.2890978954913E-11 kg | 2.2890978954913E-11 kg | |||
| Elementary flow | Emissions / Emissions to water / Emissions to sea water | 7.7086603166777E-8 kg | 7.7086603166777E-8 kg | |||
| Elementary flow | Emissions / Emissions to air / Emissions to non-urban air or from high stacks | 5.88226091184771E-10 kg | 5.88226091184771E-10 kg | |||
| Elementary flow | Emissions / Emissions to air / Emissions to air, unspecified | 9.05319147635257E-8 kg | 9.05319147635257E-8 kg | |||
| Elementary flow | Emissions / Emissions to water / Emissions to water, unspecified | 2.26228202268312E-15 kg | 2.26228202268312E-15 kg | |||
| Elementary flow | Emissions / Emissions to air / Emissions to non-urban air or from high stacks | 1.56860473887772E-8 kg | 1.56860473887772E-8 kg | |||
| Elementary flow | Emissions / Emissions to soil / Emissions to non-agricultural soil | 4.45832024612543E-19 kg | 4.45832024612543E-19 kg | |||
| Elementary flow | Emissions / Emissions to soil / Emissions to agricultural soil | 1.76551995080551E-14 kg | 1.76551995080551E-14 kg | |||
| Elementary flow | Emissions / Emissions to water / Emissions to fresh water | -4.33931317729596E-21 kg | -4.33931317729596E-21 kg | |||
| Elementary flow | Emissions / Emissions to soil / Emissions to non-agricultural soil | 8.21103892325004E-9 kg | 8.21103892325004E-9 kg | |||
| Elementary flow | Emissions / Emissions to air / Emissions to air, unspecified | 2.57664380246697E-13 kg | 2.57664380246697E-13 kg | |||
| Elementary flow | Emissions / Emissions to air / Emissions to non-urban air or from high stacks | 1.55147894387545E-16 kg | 1.55147894387545E-16 kg | |||
| Elementary flow | Emissions / Emissions to soil / Emissions to non-agricultural soil | 2.87837451286916E-7 kg | 2.87837451286916E-7 kg | |||
| Elementary flow | Emissions / Emissions to air / Emissions to non-urban air or from high stacks | 2.44362024133367E-14 kg | 2.44362024133367E-14 kg | |||
| Elementary flow | Emissions / Emissions to air / Emissions to non-urban air or from high stacks | 1.59827457943937E-15 kg | 1.59827457943937E-15 kg | |||
| Elementary flow | Emissions / Emissions to soil / Emissions to agricultural soil | 5.2394747822776E-18 kg | 5.2394747822776E-18 kg | |||
| Elementary flow | Emissions / Emissions to air / Emissions to air, unspecified | 1.18158806172966E-12 kg | 1.18158806172966E-12 kg | |||
| Elementary flow | Emissions / Emissions to water / Emissions to fresh water | 6.4851975891906E-7 m3 | 6.4851975891906E-7 m3 | |||
| Elementary flow | Emissions / Emissions to water / Emissions to water, unspecified | 8.931769012524394E-9 kg | 8.931769012524394E-9 kg | |||
| Elementary flow | Emissions / Emissions to air / Emissions to air, unspecified (long-term) | 4.46918073635456E-9 kg | 4.46918073635456E-9 kg | |||
| Elementary flow | Emissions / Emissions to air / Emissions to urban air close to ground | 2.16922535895114E-8 kg | 2.16922535895114E-8 kg | |||
| Elementary flow | Emissions / Emissions to air / Emissions to air, unspecified | 4.983525473275E-14 kg | 4.983525473275E-14 kg | |||
| Elementary flow | Emissions / Emissions to air / Emissions to urban air close to ground | 5.68967418303521E-9 kg | 5.68967418303521E-9 kg | |||
| Elementary flow | Emissions / Emissions to air / Emissions to air, unspecified | 1.69174118225796E-12 kg | 1.69174118225796E-12 kg | |||
| Elementary flow | Emissions / Emissions to water / Emissions to fresh water | 3.11259454840845E-13 kg | 3.11259454840845E-13 kg | |||
| Elementary flow | Emissions / Emissions to air / Emissions to air, unspecified | 5.99209108062571E-14 kBq | 5.99209108062571E-14 kBq | |||
| Elementary flow | Emissions / Emissions to air / Emissions to air, unspecified (long-term) | 4.09423842085086E-11 kg | 4.09423842085086E-11 kg | |||
| Elementary flow | Emissions / Emissions to air / Emissions to air, unspecified | 3.24222756293543E-11 kg | 3.24222756293543E-11 kg | |||
| Elementary flow | Emissions / Emissions to water / Emissions to fresh water | 4.51690148984961E-11 m3 | 4.51690148984961E-11 m3 | |||
| Elementary flow | Emissions / Emissions to water / Emissions to fresh water | 6.18693724893117E-10 m3 | 6.18693724893117E-10 m3 | |||
| Elementary flow | Emissions / Emissions to air / Emissions to air, unspecified | -7.78316181613076E-23 kg | -7.78316181613076E-23 kg | |||
| Elementary flow | Emissions / Emissions to air / Emissions to air, unspecified | 9.664418961093006E-8 kg | 9.664418961093006E-8 kg | |||
| Elementary flow | Emissions / Emissions to air / Emissions to air, unspecified | 8.09275880964581E-12 kg | 8.09275880964581E-12 kg | |||
| Elementary flow | Emissions / Emissions to soil / Emissions to agricultural soil | 2.84356205389396E-15 kg | 2.84356205389396E-15 kg | |||
| Elementary flow | Emissions / Emissions to air / Emissions to air, unspecified | 1.65934839158522E-11 kg | 1.65934839158522E-11 kg | |||
| Elementary flow | Emissions / Emissions to air / Emissions to non-urban air or from high stacks | 9.74298624339248E-14 kg | 9.74298624339248E-14 kg | |||
| Elementary flow | Emissions / Emissions to soil / Emissions to non-agricultural soil | 7.39692686778481E-16 kg | 7.39692686778481E-16 kg | |||
| Elementary flow | Emissions / Emissions to air / Emissions to air, unspecified | 3.48449413964879E-11 kg | 3.48449413964879E-11 kg | |||
| Elementary flow | Emissions / Emissions to soil / Emissions to non-agricultural soil | 7.612961943335144E-8 kg | 7.612961943335144E-8 kg | |||
| Elementary flow | Emissions / Emissions to air / Emissions to air, unspecified | 1.08533139125921E-9 kg | 1.08533139125921E-9 kg | |||
| Elementary flow | Emissions / Emissions to water / Emissions to fresh water | 8.22072923228096E-7 m3 | 8.22072923228096E-7 m3 | |||
| Elementary flow | Emissions / Emissions to air / Emissions to air, unspecified | 5.51011278492544E-5 kBq | 5.51011278492544E-5 kBq | |||
| Elementary flow | Emissions / Emissions to water / Emissions to fresh water | 1.27920227041056E-7 m3 | 1.27920227041056E-7 m3 | |||
| Elementary flow | Emissions / Emissions to air / Emissions to urban air close to ground | 1.04100205559282E-12 kg | 1.04100205559282E-12 kg | |||
| Elementary flow | Emissions / Emissions to soil / Emissions to agricultural soil | 4.5959611365799E-27 kg | 4.5959611365799E-27 kg | |||
| Elementary flow | Emissions / Emissions to water / Emissions to water, unspecified | 8.77343513895403E-16 kg | 8.77343513895403E-16 kg | |||
| Elementary flow | Emissions / Emissions to soil / Emissions to agricultural soil | 9.00012879994419E-16 kg | 9.00012879994419E-16 kg | |||
| Elementary flow | Emissions / Emissions to water / Emissions to fresh water | 1.09598178594699E-9 m3 | 1.09598178594699E-9 m3 | |||
| Waste flow | Wastes | 3.97368995944224E-8 kg | 3.97368995944224E-8 kg | |||
| Elementary flow | Emissions / Emissions to water / Emissions to fresh water | 0.00537601695725903 m3 | 0.00537601695725903 m3 | |||
| Elementary flow | Emissions / Emissions to air / Emissions to air, unspecified | -7.60324280779427E-24 kg | -7.60324280779427E-24 kg | |||
| Elementary flow | Emissions / Emissions to water / Emissions to fresh water | 1.59944495990031E-13 kg | 1.59944495990031E-13 kg | |||
| Elementary flow | Emissions / Emissions to soil / Emissions to agricultural soil | 3.24634677760934E-12 kg | 3.24634677760934E-12 kg | |||
| Elementary flow | Emissions / Emissions to air / Emissions to non-urban air or from high stacks | 1.00264246212542E-13 kg | 1.00264246212542E-13 kg | |||
| Elementary flow | Emissions / Emissions to air / Emissions to air, unspecified | 5.61473992294386E-13 kg | 5.61473992294386E-13 kg | |||
| Elementary flow | Emissions / Emissions to air / Emissions to air, unspecified | -5.47599360015892E-17 kg | -5.47599360015892E-17 kg | |||
| Elementary flow | Emissions / Emissions to water / Emissions to fresh water | 5.51215234284168E-10 m3 | 5.51215234284168E-10 m3 | |||
| Elementary flow | Emissions / Emissions to air / Emissions to air, unspecified | 3.94699063310353E-5 kg | 3.94699063310353E-5 kg | |||
| Elementary flow | Emissions / Emissions to water / Emissions to sea water | 3.60178696832607E-8 kg | 3.60178696832607E-8 kg | |||
| Elementary flow | Emissions / Emissions to water / Emissions to fresh water | 1.34552503602438E-9 m3 | 1.34552503602438E-9 m3 | |||
| Elementary flow | Emissions / Emissions to soil / Emissions to agricultural soil | 1.99470759320747E-10 kg | 1.99470759320747E-10 kg | |||
| Elementary flow | Emissions / Emissions to soil / Emissions to agricultural soil | 4.14139459727248E-11 kg | 4.14139459727248E-11 kg | |||
| Elementary flow | Emissions / Emissions to water / Emissions to sea water | 2.76564159008326E-12 kg | 2.76564159008326E-12 kg | |||
| Elementary flow | Emissions / Emissions to soil / Emissions to agricultural soil | 7.73495433207109E-13 kg | 7.73495433207109E-13 kg | |||
| Elementary flow | Emissions / Emissions to air / Emissions to air, unspecified | 5.65161414392112E-7 kg | 5.65161414392112E-7 kg | |||
| Elementary flow | Emissions / Emissions to water / Emissions to sea water | 2.26074500993274E-6 kg | 2.26074500993274E-6 kg | |||
| Elementary flow | Emissions / Emissions to air / Emissions to air, unspecified | 4.96059692428478E-10 kg | 4.96059692428478E-10 kg | |||
| Elementary flow | Emissions / Emissions to soil / Emissions to non-agricultural soil | 8.55020594288399E-15 kg | 8.55020594288399E-15 kg | |||
| Elementary flow | Emissions / Emissions to water / Emissions to sea water | 1.38619058480238E-9 kBq | 1.38619058480238E-9 kBq | |||
| Elementary flow | Emissions / Emissions to soil / Emissions to agricultural soil | 5.06506424606574E-10 kg | 5.06506424606574E-10 kg | |||
| Elementary flow | Emissions / Emissions to air / Emissions to urban air close to ground | 3.85313174278472E-13 kg | 3.85313174278472E-13 kg | |||
| Elementary flow | Emissions / Emissions to water / Emissions to fresh water | 1.582154302139306E-7 m3 | 1.582154302139306E-7 m3 | |||
| Elementary flow | Emissions / Emissions to water / Emissions to fresh water | -2.85455329458937E-16 kg | -2.85455329458937E-16 kg | |||
| Elementary flow | Emissions / Emissions to water / Emissions to fresh water | 1.69727159574921E-7 kg | 1.69727159574921E-7 kg | |||
| Elementary flow | Emissions / Emissions to air / Emissions to urban air close to ground | 8.76057946927278E-8 kg | 8.76057946927278E-8 kg | |||
| Elementary flow | Emissions / Emissions to water / Emissions to fresh water | 5.20528678483576E-9 kg | 5.20528678483576E-9 kg | |||
| Elementary flow | Emissions / Emissions to water / Emissions to fresh water | 7.21698397445482E-9 kBq | 7.21698397445482E-9 kBq | |||
| Elementary flow | Emissions / Emissions to air / Emissions to air, unspecified (long-term) | 2.08530681043665E-8 kg | 2.08530681043665E-8 kg | |||
| Elementary flow | Emissions / Emissions to water / Emissions to water, unspecified | 7.43249633136105E-17 kg | 7.43249633136105E-17 kg | |||
| Elementary flow | Emissions / Emissions to water / Emissions to fresh water | 5.000332339685335E-7 m3 | 5.000332339685335E-7 m3 | |||
| Elementary flow | Emissions / Emissions to water / Emissions to sea water | 1.53534511085852E-5 kg | 1.53534511085852E-5 kg | |||
| Elementary flow | Emissions / Emissions to water / Emissions to fresh water | 1.27153927352969E-13 kg | 1.27153927352969E-13 kg | |||
| Elementary flow | Emissions / Emissions to soil / Emissions to agricultural soil | 6.95521141730362E-14 kg | 6.95521141730362E-14 kg | |||
| Elementary flow | Emissions / Emissions to soil / Emissions to agricultural soil | 1.24775888549774E-11 kg | 1.24775888549774E-11 kg | |||
| Elementary flow | Emissions / Emissions to air / Emissions to air, unspecified | 0.001688333747287 kg | 0.001688333747287 kg | |||
| Elementary flow | Emissions / Emissions to soil / Emissions to agricultural soil | 5.91322747118378E-16 kg | 5.91322747118378E-16 kg | |||
| Elementary flow | Emissions / Emissions to air / Emissions to air, unspecified | 2.56241540888666E-22 kg | 2.56241540888666E-22 kg | |||
| Elementary flow | Emissions / Emissions to air / Emissions to air, unspecified (long-term) | 3.66834869342842E-9 kg | 3.66834869342842E-9 kg | |||
| Elementary flow | Emissions / Emissions to soil / Emissions to agricultural soil | -1.45214462526401E-11 kg | -1.45214462526401E-11 kg | |||
| Elementary flow | Emissions / Emissions to water / Emissions to fresh water | 1.18376315085439E-15 kg | 1.18376315085439E-15 kg | |||
| Elementary flow | Emissions / Emissions to soil / Emissions to agricultural soil | 3.07249925332178E-15 kg | 3.07249925332178E-15 kg | |||
| Elementary flow | Emissions / Emissions to soil / Emissions to agricultural soil | 1.020853512725E-11 kg | 1.020853512725E-11 kg | |||
| Elementary flow | Emissions / Emissions to water / Emissions to fresh water | 2.41611367268627E-10 kg | 2.41611367268627E-10 kg | |||
| Waste flow | Wastes / Other waste | 1.78704684468477E-4 kg | 1.78704684468477E-4 kg | |||
| Elementary flow | Emissions / Emissions to air / Emissions to non-urban air or from high stacks | 5.47671810828722E-13 kg | 5.47671810828722E-13 kg | |||
| Elementary flow | Emissions / Emissions to air / Emissions to non-urban air or from high stacks | 5.40153538219516E-9 kg | 5.40153538219516E-9 kg | |||
| Elementary flow | Emissions / Emissions to air / Emissions to air, unspecified | 3.36750370810068E-12 kg | 3.36750370810068E-12 kg | |||
| Elementary flow | Emissions / Emissions to air / Emissions to urban air close to ground | 3.36750370810068E-12 kg | 3.36750370810068E-12 kg | |||
| Elementary flow | Emissions / Emissions to soil / Emissions to agricultural soil | 2.75608848419271E-15 kg | 2.75608848419271E-15 kg | |||
| Elementary flow | Emissions / Emissions to soil / Emissions to agricultural soil | 1.15573094206936E-14 kg | 1.15573094206936E-14 kg | |||
| Elementary flow | Emissions / Emissions to air / Emissions to urban air close to ground | 5.76930688639988E-14 kg | 5.76930688639988E-14 kg | |||
| Elementary flow | Emissions / Emissions to water / Emissions to sea water | 0.0018560331764244614 kg | 0.0018560331764244614 kg | |||
| Elementary flow | Emissions / Emissions to air / Emissions to air, unspecified | 2.17045617675004E-6 kg | 2.17045617675004E-6 kg | |||
| Elementary flow | Emissions / Emissions to soil / Emissions to agricultural soil | 6.82775231312555E-13 kg | 6.82775231312555E-13 kg | |||
| Elementary flow | Emissions / Emissions to air / Emissions to air, unspecified (long-term) | 4.51211709435218E-10 kg | 4.51211709435218E-10 kg | |||
| Elementary flow | Emissions / Emissions to water / Emissions to water, unspecified | 1.26430511187877E-21 kg | 1.26430511187877E-21 kg | |||
| Elementary flow | Emissions / Emissions to water / Emissions to water, unspecified (long-term) | 3.10627986749761E-4 kg | 3.10627986749761E-4 kg | |||
| Elementary flow | Emissions / Emissions to air / Emissions to air, unspecified | 1.06315475965243E-6 kBq | 1.06315475965243E-6 kBq | |||
| Elementary flow | Emissions / Emissions to air / Emissions to air, unspecified | 8.22719824415279E-5 kg | 8.22719824415279E-5 kg | |||
| Elementary flow | Emissions / Emissions to water / Emissions to fresh water | 1.10015561212503E-6 m3 | 1.10015561212503E-6 m3 | |||
| Elementary flow | Emissions / Emissions to air / Emissions to air, unspecified | 5.52692742358038E-11 kg | 5.52692742358038E-11 kg | |||
| Elementary flow | Emissions / Emissions to water / Emissions to fresh water | 8.81019072048692E-8 m3 | 8.81019072048692E-8 m3 | |||
| Elementary flow | Emissions / Emissions to water / Emissions to water, unspecified | 1.45812112852064E-14 kg | 1.45812112852064E-14 kg | |||
| Elementary flow | Emissions / Emissions to air / Emissions to air, unspecified (long-term) | 5.64259232610427E-10 kg | 5.64259232610427E-10 kg | |||
| Elementary flow | Emissions / Emissions to air / Emissions to air, unspecified | 9.1295451803522E-11 kg | 9.1295451803522E-11 kg | |||
| Elementary flow | Emissions / Emissions to air / Emissions to air, unspecified | 0.10205661841499473 kg | 0.10205661841499473 kg | |||
| Elementary flow | Emissions / Emissions to water / Emissions to fresh water | 2.0873766846306938E-6 kg | 2.0873766846306938E-6 kg | |||
| Elementary flow | Emissions / Emissions to water / Emissions to fresh water | 6.42426265719388E-9 kBq | 6.42426265719388E-9 kBq | |||
| Elementary flow | Emissions / Emissions to air / Emissions to air, unspecified | 6.71287301518748E-12 kg | 6.71287301518748E-12 kg | |||
| Elementary flow | Emissions / Emissions to air / Emissions to air, unspecified | 1.63823312452706E-6 kg | 1.63823312452706E-6 kg | |||
| Waste flow | Wastes | 3.72153772254621E-9 kg | 3.72153772254621E-9 kg | |||
| Elementary flow | Emissions / Emissions to air / Emissions to air, unspecified (long-term) | 5.27866049702834E-7 kg | 5.27866049702834E-7 kg | |||
| Elementary flow | Emissions / Emissions to air / Emissions to air, unspecified | 1.27249070337389E-11 kg | 1.27249070337389E-11 kg | |||
| Elementary flow | Emissions / Emissions to water / Emissions to fresh water | 1.12469691174472E-18 kg | 1.12469691174472E-18 kg | |||
| Elementary flow | Emissions / Emissions to water / Emissions to fresh water | 4.48713575707026E-8 kg | 4.48713575707026E-8 kg | |||
| Elementary flow | Emissions / Emissions to water / Emissions to fresh water | 1.21456293846463E-8 kBq | 1.21456293846463E-8 kBq | |||
| Elementary flow | Emissions / Emissions to soil / Emissions to non-agricultural soil | 3.92397768588176E-8 kg | 3.92397768588176E-8 kg | |||
| Elementary flow | Emissions / Emissions to air / Emissions to air, unspecified (long-term) | 8.69061970010418E-12 kg | 8.69061970010418E-12 kg | |||
| Elementary flow | Emissions / Emissions to air / Emissions to lower stratosphere and upper troposphere | 4.19217482390186E-9 kg | 4.19217482390186E-9 kg | |||
| Elementary flow | Emissions / Emissions to air / Emissions to air, unspecified | 5.23857392426431E-13 kg | 5.23857392426431E-13 kg | |||
| Elementary flow | Emissions / Emissions to air / Emissions to air, unspecified | 2.90307952523555E-11 kg | 2.90307952523555E-11 kg | |||
| Elementary flow | Emissions / Emissions to air / Emissions to lower stratosphere and upper troposphere | 2.90307952523555E-11 kg | 2.90307952523555E-11 kg | |||
| Elementary flow | Emissions / Emissions to soil / Emissions to agricultural soil | 2.40734959968176E-13 kg | 2.40734959968176E-13 kg | |||
| Elementary flow | Emissions / Emissions to soil / Emissions to agricultural soil | 5.86355722537931E-15 kg | 5.86355722537931E-15 kg | |||
| Elementary flow | Emissions / Emissions to water / Emissions to fresh water | 1.32603902970356E-10 kg | 1.32603902970356E-10 kg | |||
| Elementary flow | Emissions / Emissions to water / Emissions to water, unspecified | 3.57129633820561E-21 kg | 3.57129633820561E-21 kg | |||
| Elementary flow | Emissions / Emissions to air / Emissions to air, unspecified | 2.61707845985487E-6 kg | 2.61707845985487E-6 kg | |||
| Elementary flow | Emissions / Emissions to water / Emissions to fresh water | 1.24080486873323E-12 kg | 1.24080486873323E-12 kg | |||
| Elementary flow | Emissions / Emissions to air / Emissions to air, unspecified | 5.34427422916241E-7 kg | 5.34427422916241E-7 kg | |||
| Elementary flow | Emissions / Emissions to soil / Emissions to agricultural soil | 3.92531050195215E-17 kg | 3.92531050195215E-17 kg | |||
| Elementary flow | Emissions / Emissions to water / Emissions to fresh water | 1.66984798679664E-5 kBq | 1.66984798679664E-5 kBq | |||
| Elementary flow | Emissions / Emissions to water / Emissions to fresh water | 1.24309961143057E-5 kBq | 1.24309961143057E-5 kBq | |||
| Elementary flow | Emissions / Emissions to air / Emissions to air, unspecified | 1.44886063001341E-10 kg | 1.44886063001341E-10 kg | |||
| Elementary flow | Emissions / Emissions to water / Emissions to water, unspecified | 2.351868171459922E-8 kg | 2.351868171459922E-8 kg | |||
| Elementary flow | Emissions / Emissions to water / Emissions to fresh water | 2.19361129837182E-9 m3 | 2.19361129837182E-9 m3 | |||
| Elementary flow | Emissions / Emissions to water / Emissions to fresh water | -3.49752639261919E-25 kg | -3.49752639261919E-25 kg | |||
| Elementary flow | Emissions / Emissions to water / Emissions to fresh water | 1.30146270973134E-10 kBq | 1.30146270973134E-10 kBq | |||
| Elementary flow | Emissions / Emissions to water / Emissions to fresh water | 1.40619145051449E-6 m3 | 1.40619145051449E-6 m3 | |||
| Elementary flow | Emissions / Emissions to water / Emissions to fresh water | 6.19955423335018E-11 kg | 6.19955423335018E-11 kg | |||
| Elementary flow | Emissions / Emissions to water / Emissions to sea water | 1.65964909677101E-24 kg | 1.65964909677101E-24 kg | |||
| Elementary flow | Emissions / Emissions to water / Emissions to fresh water | 4.5938985095174E-11 kg | 4.5938985095174E-11 kg | |||
| Elementary flow | Emissions / Emissions to air / Emissions to air, unspecified | 9.81603514811101E-15 kg | 9.81603514811101E-15 kg | |||
| Elementary flow | Emissions / Emissions to soil / Emissions to agricultural soil | 5.04448851481486E-15 kg | 5.04448851481486E-15 kg | |||
| Elementary flow | Emissions / Emissions to water / Emissions to fresh water | 1.61496291744445E-11 kg | 1.61496291744445E-11 kg | |||
| Elementary flow | Emissions / Emissions to air / Emissions to air, unspecified | 9.09978293985072E-10 kg | 9.09978293985072E-10 kg | |||
| Elementary flow | Emissions / Emissions to water / Emissions to fresh water | 2.07377550202929E-9 m3 | 2.07377550202929E-9 m3 | |||
| Elementary flow | Emissions / Emissions to air / Emissions to air, unspecified | 4.47027385411984E-27 kg | 4.47027385411984E-27 kg | |||
| Elementary flow | Emissions / Emissions to soil / Emissions to agricultural soil | 7.53162030207043E-9 kg | 7.53162030207043E-9 kg | |||
| Elementary flow | Emissions / Emissions to soil / Emissions to non-agricultural soil | 7.37617895380673E-8 kg | 7.37617895380673E-8 kg | |||
| Elementary flow | Emissions / Emissions to soil / Emissions to agricultural soil | 1.17808510449183E-19 kg | 1.17808510449183E-19 kg | |||
| Elementary flow | Emissions / Emissions to soil / Emissions to agricultural soil | 1.1351946521973E-10 kg | 1.1351946521973E-10 kg | |||
| Elementary flow | Emissions / Emissions to air / Emissions to air, unspecified | 1.37493155356779E-7 kg | 1.37493155356779E-7 kg | |||
| Elementary flow | Emissions / Emissions to soil / Emissions to agricultural soil | 3.44942697800482E-10 kg | 3.44942697800482E-10 kg | |||
| Elementary flow | Emissions / Emissions to water / Emissions to fresh water | 2.10849222468862E-7 m3 | 2.10849222468862E-7 m3 | |||
| Elementary flow | Emissions / Emissions to air / Emissions to air, unspecified | 4.17580358493785E-13 kg | 4.17580358493785E-13 kg | |||
| Elementary flow | Emissions / Emissions to water / Emissions to fresh water | 8.45992902393406E-7 m3 | 8.45992902393406E-7 m3 | |||
| Elementary flow | Emissions / Emissions to water / Emissions to fresh water | 2.02167139406081E-8 m3 | 2.02167139406081E-8 m3 | |||
| Elementary flow | Emissions / Emissions to air / Emissions to urban air close to ground | 1.45499661990169E-8 kg | 1.45499661990169E-8 kg | |||
| Elementary flow | Emissions / Emissions to water / Emissions to fresh water | 1.54305152069725E-8 m3 | 1.54305152069725E-8 m3 | |||
| Elementary flow | Emissions / Emissions to soil / Emissions to non-agricultural soil | 3.973087566071571E-12 kg | 3.973087566071571E-12 kg | |||
| Elementary flow | Emissions / Emissions to air / Emissions to air, unspecified | 1.538735818345212E-5 kBq | 1.538735818345212E-5 kBq | |||
| Elementary flow | Emissions / Emissions to soil / Emissions to agricultural soil | 2.82996459831907E-16 kg | 2.82996459831907E-16 kg | |||
| Elementary flow | Emissions / Emissions to water / Emissions to fresh water | 7.74283571728596E-9 m3 | 7.74283571728596E-9 m3 | |||
| Elementary flow | Emissions / Emissions to water / Emissions to sea water | 6.0951849438304E-9 kg | 6.0951849438304E-9 kg | |||
| Elementary flow | Emissions / Emissions to water / Emissions to fresh water | 1.89830071540115E-8 kg | 1.89830071540115E-8 kg | |||
| Elementary flow | Emissions / Emissions to air / Emissions to air, unspecified (long-term) | 9.44501247988019E-14 kg | 9.44501247988019E-14 kg | |||
| Elementary flow | Emissions / Emissions to water / Emissions to fresh water | 2.24769738760388E-7 kBq | 2.24769738760388E-7 kBq | |||
| Elementary flow | Emissions / Emissions to water / Emissions to sea water | 1.47833128038051E-29 kg | 1.47833128038051E-29 kg | |||
| Elementary flow | Emissions / Emissions to air / Emissions to air, unspecified | 8.590211314E-8 kg | 8.590211314E-8 kg | |||
| Elementary flow | Emissions / Emissions to air / Emissions to urban air close to ground | 8.80633147355876E-7 kg | 8.80633147355876E-7 kg | |||
| Elementary flow | Emissions / Emissions to air / Emissions to air, unspecified | 7.11379559506385E-13 kg | 7.11379559506385E-13 kg | |||
| Elementary flow | Emissions / Emissions to water / Emissions to sea water | 4.27607207103188E-5 kg | 4.27607207103188E-5 kg | |||
| Elementary flow | Emissions / Emissions to water / Emissions to fresh water | 1.58554501541243E-7 kg | 1.58554501541243E-7 kg | |||
| Elementary flow | Emissions / Emissions to water / Emissions to fresh water | 8.49464590054734E-16 kg | 8.49464590054734E-16 kg | |||
| Elementary flow | Emissions / Emissions to air / Emissions to air, unspecified (long-term) | 2.54021787929083E-12 kg | 2.54021787929083E-12 kg | |||
| Elementary flow | Emissions / Emissions to water / Emissions to fresh water | 4.3869534921211E-13 kg | 4.3869534921211E-13 kg | |||
| Elementary flow | Emissions / Emissions to water / Emissions to fresh water | 2.31470988609565E-16 kg | 2.31470988609565E-16 kg | |||
| Elementary flow | Emissions / Emissions to air / Emissions to air, unspecified | 7.75645434469878E-10 kg | 7.75645434469878E-10 kg | |||
| Elementary flow | Emissions / Emissions to air / Emissions to air, unspecified | -5.58230161724025E-25 kg | -5.58230161724025E-25 kg | |||
| Elementary flow | Emissions / Emissions to water / Emissions to fresh water | 5.14188713090141E-7 m3 | 5.14188713090141E-7 m3 | |||
| Elementary flow | Emissions / Emissions to soil / Emissions to agricultural soil | 4.2511644389123E-13 kg | 4.2511644389123E-13 kg | |||
| Elementary flow | Emissions / Emissions to air / Emissions to air, unspecified | 8.78737724676332E-4 kBq | 8.78737724676332E-4 kBq | |||
| Elementary flow | Emissions / Emissions to soil / Emissions to agricultural soil | 6.62626793708668E-11 kg | 6.62626793708668E-11 kg | |||
| Elementary flow | Emissions / Emissions to air / Emissions to air, unspecified | 2.80665519619646E-26 kg | 2.80665519619646E-26 kg | |||
| Elementary flow | Emissions / Emissions to air / Emissions to air, unspecified | 8.93174227356586E-11 kg | 8.93174227356586E-11 kg | |||
| Elementary flow | Emissions / Emissions to soil / Emissions to agricultural soil | 4.84584133960729E-14 kg | 4.84584133960729E-14 kg | |||
| Elementary flow | Emissions / Emissions to water / Emissions to fresh water | 6.29716203751692E-6 kBq | 6.29716203751692E-6 kBq | |||
| Elementary flow | Emissions / Emissions to soil / Emissions to agricultural soil | 7.02764589025443E-15 kg | 7.02764589025443E-15 kg | |||
| Elementary flow | Emissions / Emissions to water / Emissions to fresh water | 2.30412622953152E-8 kg | 2.30412622953152E-8 kg | |||
| Elementary flow | Emissions / Emissions to air / Emissions to air, unspecified | 2.800467290903558E-7 kg | 2.800467290903558E-7 kg | |||
| Elementary flow | Emissions / Emissions to air / Emissions to air, unspecified | 1.90236390932292E-9 kg | 1.90236390932292E-9 kg | |||
| Elementary flow | Emissions / Emissions to soil / Emissions to agricultural soil | 1.47217222646471E-15 kg | 1.47217222646471E-15 kg | |||
| Elementary flow | Emissions / Emissions to air / Emissions to urban air close to ground | 3.9690073467829E-9 kg | 3.9690073467829E-9 kg | |||
| Elementary flow | Emissions / Emissions to water / Emissions to fresh water | 2.42256179482092E-9 m3 | 2.42256179482092E-9 m3 | |||
| Elementary flow | Emissions / Emissions to water / Emissions to water, unspecified | 3.21101319985645E-16 kg | 3.21101319985645E-16 kg | |||
| Elementary flow | Emissions / Emissions to water / Emissions to fresh water | 3.66435411583405E-14 kg | 3.66435411583405E-14 kg | |||
| Elementary flow | Emissions / Emissions to air / Emissions to air, unspecified | 5.40196066696367E-12 kg | 5.40196066696367E-12 kg | |||
| Elementary flow | Emissions / Emissions to air / Emissions to air, unspecified | 1.17742301035026E-9 kg | 1.17742301035026E-9 kg | |||
| Elementary flow | Emissions / Emissions to air / Emissions to air, unspecified | 1.15352114086539E-16 kg | 1.15352114086539E-16 kg | |||
| Elementary flow | Emissions / Emissions to soil / Emissions to agricultural soil | 1.469659205385477E-12 kg | 1.469659205385477E-12 kg | |||
| Elementary flow | Emissions / Emissions to air / Emissions to air, unspecified | 1.24523732012779E-12 kg | 1.24523732012779E-12 kg | |||
| Elementary flow | Emissions / Emissions to air / Emissions to non-urban air or from high stacks | 3.9000246665413E-7 kg | 3.9000246665413E-7 kg | |||
| Elementary flow | Emissions / Emissions to air / Emissions to air, unspecified | 7.036303904244657E-7 kg | 7.036303904244657E-7 kg | |||
| Elementary flow | Emissions / Emissions to air / Emissions to non-urban air or from high stacks | 1.0323400544306E-16 kg | 1.0323400544306E-16 kg | |||
| Elementary flow | Emissions / Emissions to water / Emissions to sea water | 8.04045038628951E-6 kg | 8.04045038628951E-6 kg | |||
| Elementary flow | Emissions / Emissions to air / Emissions to air, unspecified | -9.08438843213868E-23 kg | -9.08438843213868E-23 kg | |||
| Elementary flow | Emissions / Emissions to water / Emissions to fresh water | 7.728667570332467E-4 kg | 7.728667570332467E-4 kg | |||
| Elementary flow | Emissions / Emissions to soil / Emissions to agricultural soil | 2.29565605384575E-28 kg | 2.29565605384575E-28 kg | |||
| Elementary flow | Emissions / Emissions to water / Emissions to fresh water | 6.21440080269789E-15 kg | 6.21440080269789E-15 kg | |||
| Elementary flow | Emissions / Emissions to soil / Emissions to agricultural soil | 8.38440344445673E-12 kg | 8.38440344445673E-12 kg | |||
| Elementary flow | Emissions / Emissions to soil / Emissions to non-agricultural soil | 1.1001912400916E-16 kg | 1.1001912400916E-16 kg | |||
| Elementary flow | Emissions / Emissions to water / Emissions to fresh water | 2.0269143930979E-14 kg | 2.0269143930979E-14 kg | |||
| Elementary flow | Emissions / Emissions to air / Emissions to air, unspecified | 4.17519094307968E-6 kg | 4.17519094307968E-6 kg | |||
| Elementary flow | Emissions / Emissions to soil / Emissions to agricultural soil | 2.68780364520247E-13 kg | 2.68780364520247E-13 kg | |||
| Elementary flow | Emissions / Emissions to water / Emissions to fresh water | 4.72039393308103E-8 kBq | 4.72039393308103E-8 kBq | |||
| Elementary flow | Emissions / Emissions to soil / Emissions to agricultural soil | 3.80892722973712E-14 kg | 3.80892722973712E-14 kg | |||
| Elementary flow | Emissions / Emissions to soil / Emissions to agricultural soil | 2.23162781644764E-11 kg | 2.23162781644764E-11 kg | |||
| Elementary flow | Emissions / Emissions to soil / Emissions to non-agricultural soil | 5.70643236207075E-14 kg | 5.70643236207075E-14 kg | |||
| Elementary flow | Emissions / Emissions to water / Emissions to fresh water | 0.30281589367740286 m3 | 0.30281589367740286 m3 | |||
| Elementary flow | Emissions / Emissions to air / Emissions to air, unspecified | 1.20108825644083E-11 kg | 1.20108825644083E-11 kg | |||
| Elementary flow | Emissions / Emissions to water / Emissions to water, unspecified (long-term) | 1.270031242E-9 kg | 1.270031242E-9 kg | |||
| Elementary flow | Emissions / Emissions to air / Emissions to non-urban air or from high stacks | 2.63694099460917E-14 kg | 2.63694099460917E-14 kg | |||
| Elementary flow | Emissions / Emissions to water / Emissions to sea water | 0.00188131602555143 kBq | 0.00188131602555143 kBq | |||
| Elementary flow | Emissions / Emissions to air / Emissions to air, unspecified (long-term) | 5.35883319917068E-11 kg | 5.35883319917068E-11 kg | |||
| Elementary flow | Emissions / Emissions to air / Emissions to air, unspecified | 0.007285177372880978 kBq | 0.007285177372880978 kBq | |||
| Elementary flow | Emissions / Emissions to water / Emissions to fresh water | 1.32416206712626E-8 m3 | 1.32416206712626E-8 m3 | |||
| Elementary flow | Emissions / Emissions to water / Emissions to fresh water | 6.57539420920772E-6 m3 | 6.57539420920772E-6 m3 | |||
| Elementary flow | Emissions / Emissions to soil / Emissions to non-agricultural soil | 6.25998227430559E-13 kg | 6.25998227430559E-13 kg | |||
| Elementary flow | Emissions / Emissions to air / Emissions to air, unspecified (long-term) | 4.01997205219013E-9 kg | 4.01997205219013E-9 kg | |||
| Elementary flow | Emissions / Emissions to water / Emissions to fresh water | 1.4996187309809E-16 kg | 1.4996187309809E-16 kg | |||
| Elementary flow | Emissions / Emissions to air / Emissions to air, unspecified | -2.52393830061657E-21 kg | -2.52393830061657E-21 kg | |||
| Elementary flow | Emissions / Emissions to air / Emissions to non-urban air or from high stacks | 2.50192293952893E-14 kg | 2.50192293952893E-14 kg | |||
| Elementary flow | Emissions / Emissions to water / Emissions to water, unspecified | 4.279600295257351E-16 kg | 4.279600295257351E-16 kg | |||
| Elementary flow | Emissions / Emissions to water / Emissions to sea water | -3.24545486995456E-14 kg | -3.24545486995456E-14 kg | |||
| Elementary flow | Emissions / Emissions to soil / Emissions to non-agricultural soil | 1.51327931872043E-7 kg | 1.51327931872043E-7 kg | |||
| Elementary flow | Emissions / Emissions to water / Emissions to sea water | 5.81689246347214E-8 kg | 5.81689246347214E-8 kg | |||
| Waste flow | Wastes | 1.20808673357941E-5 kg | 1.20808673357941E-5 kg | |||
| Elementary flow | Emissions / Emissions to air / Emissions to air, unspecified | 6.87133772753029E-18 kg | 6.87133772753029E-18 kg | |||
| Elementary flow | Emissions / Emissions to soil / Emissions to agricultural soil | 1.31037974823887E-28 kg | 1.31037974823887E-28 kg | |||
| Elementary flow | Emissions / Emissions to water / Emissions to fresh water | 1.86130301219258E-6 m3 | 1.86130301219258E-6 m3 | |||
| Elementary flow | Emissions / Emissions to water / Emissions to sea water | 3.35820397921226E-5 kg | 3.35820397921226E-5 kg | |||
| Elementary flow | Emissions / Emissions to air / Emissions to air, unspecified | 2.54711440959345E-10 kg | 2.54711440959345E-10 kg | |||
| Elementary flow | Emissions / Emissions to water / Emissions to water, unspecified | 1.62697632467192E-15 kg | 1.62697632467192E-15 kg | |||
| Elementary flow | Emissions / Emissions to air / Emissions to air, unspecified | 9.32639231573832E-27 kg | 9.32639231573832E-27 kg | |||
| Elementary flow | Emissions / Emissions to water / Emissions to fresh water | 1.7450346330920396E-6 m3 | 1.7450346330920396E-6 m3 | |||
| Elementary flow | Emissions / Emissions to air / Emissions to air, unspecified (long-term) | 7.48197322110675E-9 kg | 7.48197322110675E-9 kg | |||
| Elementary flow | Emissions / Emissions to soil / Emissions to agricultural soil | 7.53467140543294E-12 kg | 7.53467140543294E-12 kg | |||
| Elementary flow | Emissions / Emissions to air / Emissions to air, unspecified (long-term) | 4.64582126797021E-14 kg | 4.64582126797021E-14 kg | |||
| Elementary flow | Emissions / Emissions to soil / Emissions to non-agricultural soil | 8.7131569617906E-15 kg | 8.7131569617906E-15 kg | |||
| Elementary flow | Emissions / Emissions to water / Emissions to sea water | 6.916116681415182E-7 kg | 6.916116681415182E-7 kg | |||
| Elementary flow | Emissions / Emissions to water / Emissions to fresh water | 1.58774359854782E-9 kg | 1.58774359854782E-9 kg | |||
| Elementary flow | Emissions / Emissions to air / Emissions to non-urban air or from high stacks | 1.89536148905466E-21 kg | 1.89536148905466E-21 kg | |||
| Elementary flow | Emissions / Emissions to water / Emissions to sea water | 4.32773967935076E-6 kg | 4.32773967935076E-6 kg | |||
| Elementary flow | Emissions / Emissions to air / Emissions to urban air close to ground | 4.66808868117968E-12 kg | 4.66808868117968E-12 kg | |||
| Elementary flow | Emissions / Emissions to air / Emissions to air, unspecified | 8.06394918747406E-11 kg | 8.06394918747406E-11 kg | |||
| Elementary flow | Emissions / Emissions to water / Emissions to fresh water | 3.02002369565967E-19 kg | 3.02002369565967E-19 kg | |||
| Elementary flow | Emissions / Emissions to soil / Emissions to agricultural soil | 3.13942417762348E-7 kg | 3.13942417762348E-7 kg | |||
| Elementary flow | Emissions / Emissions to air / Emissions to air, unspecified | 1.68764827730445E-10 kg | 1.68764827730445E-10 kg | |||
| Elementary flow | Emissions / Emissions to air / Emissions to air, unspecified | 5.22588422981101E-20 kg | 5.22588422981101E-20 kg | |||
| Elementary flow | Emissions / Emissions to water / Emissions to fresh water | 1.90225565835176E-6 kBq | 1.90225565835176E-6 kBq | |||
| Elementary flow | Emissions / Emissions to air / Emissions to air, unspecified | 1.73991685072154E-8 kg | 1.73991685072154E-8 kg | |||
| Elementary flow | Emissions / Emissions to air / Emissions to air, unspecified | 5.11397307035096E-9 kg | 5.11397307035096E-9 kg | |||
| Elementary flow | Emissions / Emissions to soil / Emissions to non-agricultural soil | 2.01661867349128E-17 kg | 2.01661867349128E-17 kg | |||
| Elementary flow | Emissions / Emissions to air / Emissions to air, unspecified | 6.68156353466214E-9 kg | 6.68156353466214E-9 kg | |||
| Elementary flow | Emissions / Emissions to air / Emissions to air, unspecified | 1.2432603422181026E-5 kg | 1.2432603422181026E-5 kg | |||
| Elementary flow | Emissions / Emissions to soil / Emissions to agricultural soil | 3.00549734821132E-14 kg | 3.00549734821132E-14 kg | |||
| Elementary flow | Emissions / Emissions to water / Emissions to fresh water | 3.4384384737335E-15 kg | 3.4384384737335E-15 kg | |||
| Elementary flow | Emissions / Emissions to air / Emissions to air, unspecified | 4.44728366274384E-11 kg | 4.44728366274384E-11 kg | |||
| Elementary flow | Emissions / Emissions to water / Emissions to fresh water | 3.65968395766219E-7 kg | 3.65968395766219E-7 kg | |||
| Elementary flow | Emissions / Emissions to air / Emissions to air, unspecified (long-term) | 9.56313188064428E-10 kBq | 9.56313188064428E-10 kBq | |||
| Elementary flow | Emissions / Emissions to soil / Emissions to agricultural soil | 4.91927138418335E-15 kg | 4.91927138418335E-15 kg | |||
| Elementary flow | Emissions / Emissions to air / Emissions to urban air close to ground | 2.31346255313964E-11 kg | 2.31346255313964E-11 kg | |||
| Elementary flow | Emissions / Emissions to air / Emissions to air, unspecified | 4.8367278570866E-13 kg | 4.8367278570866E-13 kg | |||
| Elementary flow | Emissions / Emissions to water / Emissions to sea water | 4.96982357089131E-17 kg | 4.96982357089131E-17 kg | |||
| Elementary flow | Emissions / Emissions to water / Emissions to water, unspecified (long-term) | 9.06670015965506E-4 kg | 9.06670015965506E-4 kg | |||
| Elementary flow | Emissions / Emissions to water / Emissions to fresh water | 1.54260078101267E-9 kg | 1.54260078101267E-9 kg | |||
| Elementary flow | Emissions / Emissions to soil / Emissions to agricultural soil | 2.14928329936862E-13 kg | 2.14928329936862E-13 kg | |||
| Elementary flow | Emissions / Emissions to water / Emissions to sea water | 1.10032532662458E-9 kg | 1.10032532662458E-9 kg | |||
| Elementary flow | Emissions / Emissions to water / Emissions to fresh water | 1.39880560963293E-7 kg | 1.39880560963293E-7 kg | |||
| Elementary flow | Emissions / Emissions to air / Emissions to air, unspecified | -1.35884591338321E-20 kg | -1.35884591338321E-20 kg | |||
| Elementary flow | Emissions / Emissions to water / Emissions to fresh water | 6.71675143553483E-4 kg | 6.71675143553483E-4 kg | |||
| Elementary flow | Emissions / Emissions to soil / Emissions to non-agricultural soil | 6.3411127657885E-16 kg | 6.3411127657885E-16 kg | |||
| Elementary flow | Emissions / Emissions to air / Emissions to non-urban air or from high stacks | 9.05250373073552E-13 kg | 9.05250373073552E-13 kg | |||
| Elementary flow | Emissions / Emissions to air / Emissions to air, unspecified | 5.65438009365763E-13 kg | 5.65438009365763E-13 kg | |||
| Elementary flow | Emissions / Emissions to water / Emissions to fresh water | 4.13799019151215E-14 kg | 4.13799019151215E-14 kg | |||
| Elementary flow | Emissions / Emissions to air / Emissions to air, unspecified (long-term) | 9.38951983186825E-7 kg | 9.38951983186825E-7 kg | |||
| Elementary flow | Emissions / Emissions to water / Emissions to water, unspecified | 2.11498165594172E-17 kg | 2.11498165594172E-17 kg | |||
| Elementary flow | Emissions / Emissions to soil / Emissions to agricultural soil | 3.36891062670564E-14 kg | 3.36891062670564E-14 kg | |||
| Elementary flow | Emissions / Emissions to air / Emissions to non-urban air or from high stacks | 1.685074016163E-10 kg | 1.685074016163E-10 kg | |||
| Elementary flow | Emissions / Emissions to soil / Emissions to agricultural soil | 3.18483396786397E-11 kg | 3.18483396786397E-11 kg | |||
| Elementary flow | Emissions / Emissions to air / Emissions to urban air close to ground | 3.57038157144859E-16 kg | 3.57038157144859E-16 kg | |||
| Elementary flow | Emissions / Emissions to water / Emissions to water, unspecified | 8.92372543460027E-20 kg | 8.92372543460027E-20 kg | |||
| Elementary flow | Emissions / Emissions to air / Emissions to non-urban air or from high stacks | 5.2798163468221E-13 kg | 5.2798163468221E-13 kg | |||
| Elementary flow | Emissions / Emissions to air / Emissions to urban air close to ground | 3.62912073116015E-8 kg | 3.62912073116015E-8 kg | |||
| Elementary flow | Emissions / Emissions to air / Emissions to air, unspecified (long-term) | 12.3985292692773 kBq | 12.3985292692773 kBq | |||
| Elementary flow | Emissions / Emissions to water / Emissions to fresh water | 3.94528245435678E-5 m3 | 3.94528245435678E-5 m3 | |||
| Elementary flow | Emissions / Emissions to air / Emissions to air, unspecified | 1.93700058250418E-11 kg | 1.93700058250418E-11 kg | |||
| Elementary flow | Emissions / Emissions to soil / Emissions to non-agricultural soil | 2.6781732889522E-17 kg | 2.6781732889522E-17 kg | |||
| Elementary flow | Emissions / Emissions to soil / Emissions to non-agricultural soil | 2.90774625610832E-8 kg | 2.90774625610832E-8 kg | |||
| Elementary flow | Emissions / Emissions to water / Emissions to sea water | 9.35575225715119E-4 kBq | 9.35575225715119E-4 kBq | |||
| Elementary flow | Emissions / Emissions to air / Emissions to non-urban air or from high stacks | 6.92272081944769E-16 kg | 6.92272081944769E-16 kg | |||
| Elementary flow | Emissions / Emissions to water / Emissions to fresh water | 3.45032096674489E-15 kg | 3.45032096674489E-15 kg | |||
| Elementary flow | Emissions / Emissions to air / Emissions to air, unspecified | 3.6672774774368E-12 kg | 3.6672774774368E-12 kg | |||
| Elementary flow | Emissions / Emissions to water / Emissions to fresh water | 2.08031789193705E-10 kg | 2.08031789193705E-10 kg | |||
| Elementary flow | Emissions / Emissions to water / Emissions to fresh water | 4.93332834701913E-6 m3 | 4.93332834701913E-6 m3 | |||
| Elementary flow | Emissions / Emissions to air / Emissions to air, unspecified | 4.02177340168467E-14 kg | 4.02177340168467E-14 kg | |||
| Elementary flow | Emissions / Emissions to water / Emissions to fresh water | 2.55423133499065E-8 kg | 2.55423133499065E-8 kg | |||
| Elementary flow | Emissions / Emissions to air / Emissions to air, unspecified | 1.66312824453295E-13 kg | 1.66312824453295E-13 kg | |||
| Elementary flow | Emissions / Emissions to water / Emissions to fresh water | 2.33389056931973E-13 kg | 2.33389056931973E-13 kg | |||
| Elementary flow | Emissions / Emissions to air / Emissions to air, unspecified | 1.00328262245013E-11 kg | 1.00328262245013E-11 kg | |||
| Elementary flow | Emissions / Emissions to soil / Emissions to agricultural soil | 1.15436168674151E-7 kg | 1.15436168674151E-7 kg | |||
| Elementary flow | Emissions / Emissions to soil / Emissions to agricultural soil | 4.90836021989171E-14 kg | 4.90836021989171E-14 kg | |||
| Elementary flow | Emissions / Emissions to water / Emissions to fresh water | 5.7965622670973E-5 m3 | 5.7965622670973E-5 m3 | |||
| Elementary flow | Emissions / Emissions to soil / Emissions to agricultural soil | 2.85284424096264E-14 kg | 2.85284424096264E-14 kg | |||
| Elementary flow | Emissions / Emissions to air / Emissions to air, unspecified | 0.00330794478798193 kg | 0.00330794478798193 kg | |||
| Elementary flow | Emissions / Emissions to air / Emissions to air, unspecified | 5.89764841827162E-8 kg | 5.89764841827162E-8 kg | |||
| Waste flow | Wastes / Other waste | 0.00138563905018559 kg | 0.00138563905018559 kg | |||
| Elementary flow | Emissions / Emissions to air / Emissions to air, unspecified | 1.90666763582116E-13 kg | 1.90666763582116E-13 kg | |||
| Elementary flow | Emissions / Emissions to water / Emissions to fresh water | 8.03141077339521E-19 kg | 8.03141077339521E-19 kg | |||
| Elementary flow | Emissions / Emissions to water / Emissions to fresh water | 1.69063050795536E-12 m3 | 1.69063050795536E-12 m3 | |||
| Elementary flow | Emissions / Emissions to water / Emissions to fresh water | 5.05300580050861E-9 kg | 5.05300580050861E-9 kg | |||
| Elementary flow | Emissions / Emissions to water / Emissions to fresh water | 4.35380504221205E-5 m3 | 4.35380504221205E-5 m3 | |||
| Elementary flow | Emissions / Emissions to water / Emissions to fresh water | 0.03579799165142418 MJ | 0.03579799165142418 MJ | |||
| Elementary flow | Emissions / Emissions to air / Emissions to air, unspecified | 6.39051578465141E-6 kg | 6.39051578465141E-6 kg | |||
| Elementary flow | Emissions / Emissions to water / Emissions to fresh water | 1.00534900029209E-12 kg | 1.00534900029209E-12 kg | |||
| Elementary flow | Emissions / Emissions to soil / Emissions to agricultural soil | 2.05024564021865E-15 kg | 2.05024564021865E-15 kg | |||
| Elementary flow | Emissions / Emissions to air / Emissions to air, unspecified | 3.21848795526253E-12 kg | 3.21848795526253E-12 kg | |||
| Elementary flow | Emissions / Emissions to water / Emissions to fresh water | 5.09547370843574E-13 kg | 5.09547370843574E-13 kg | |||
| Elementary flow | Emissions / Emissions to air / Emissions to urban air close to ground | 2.49644334969589E-25 kg | 2.49644334969589E-25 kg | |||
| Elementary flow | Emissions / Emissions to water / Emissions to fresh water | 4.00568545971528E-8 kBq | 4.00568545971528E-8 kBq | |||
| Elementary flow | Emissions / Emissions to air / Emissions to air, unspecified | 4.92014475581574E-18 kg | 4.92014475581574E-18 kg | |||
| Elementary flow | Emissions / Emissions to air / Emissions to air, unspecified (long-term) | 3.73402738654129E-14 kg | 3.73402738654129E-14 kg | |||
| Elementary flow | Emissions / Emissions to soil / Emissions to agricultural soil | 9.63913189241294E-16 kg | 9.63913189241294E-16 kg | |||
| Elementary flow | Emissions / Emissions to soil / Emissions to agricultural soil | 1.89130538279664E-20 kg | 1.89130538279664E-20 kg | |||
| Elementary flow | Emissions / Emissions to water / Emissions to fresh water | 7.88883490924369E-9 kBq | 7.88883490924369E-9 kBq | |||
| Elementary flow | Emissions / Emissions to air / Emissions to air, unspecified | 3.71629202279555E-9 kg | 3.71629202279555E-9 kg | |||
| Elementary flow | Emissions / Emissions to water / Emissions to sea water | 2.06990969639393E-11 kg | 2.06990969639393E-11 kg | |||
| Elementary flow | Emissions / Emissions to water / Emissions to sea water | 5.09251115186282E-9 kg | 5.09251115186282E-9 kg | |||
| Elementary flow | Emissions / Emissions to air / Emissions to air, unspecified | 3.09468083857626E-14 kg | 3.09468083857626E-14 kg | |||
| Elementary flow | Emissions / Emissions to soil / Emissions to agricultural soil | 2.66727686626997E-12 kg | 2.66727686626997E-12 kg | |||
| Elementary flow | Emissions / Emissions to water / Emissions to sea water | 2.56883553790114E-11 kg | 2.56883553790114E-11 kg | |||
| Elementary flow | Emissions / Emissions to air / Emissions to lower stratosphere and upper troposphere | 4.22159991948244 kBq | 4.22159991948244 kBq | |||
| Elementary flow | Emissions / Emissions to soil / Emissions to agricultural soil | 6.40846489833858E-14 kg | 6.40846489833858E-14 kg | |||
| Elementary flow | Emissions / Emissions to soil / Emissions to non-agricultural soil | 1.45498537986179E-9 kg | 1.45498537986179E-9 kg | |||
| Elementary flow | Emissions / Emissions to water / Emissions to sea water | 1.1490537108599E-9 kg | 1.1490537108599E-9 kg | |||
| Elementary flow | Emissions / Emissions to soil / Emissions to agricultural soil | 8.26978114185241E-15 kg | 8.26978114185241E-15 kg | |||
| Elementary flow | Emissions / Emissions to air / Emissions to air, unspecified | 5.00228201555573E-10 kg | 5.00228201555573E-10 kg | |||
| Elementary flow | Emissions / Emissions to water / Emissions to fresh water | 1.467689420089819E-7 kg | 1.467689420089819E-7 kg | |||
| Elementary flow | Emissions / Emissions to air / Emissions to air, unspecified (long-term) | 1.22590773931482E-9 kg | 1.22590773931482E-9 kg | |||
| Elementary flow | Emissions / Emissions to water / Emissions to fresh water | 1.98208404756185E-16 kg | 1.98208404756185E-16 kg | |||
| Elementary flow | Emissions / Emissions to water / Emissions to water, unspecified (long-term) | 2.00852104470363E-7 kg | 2.00852104470363E-7 kg | |||
| Elementary flow | Emissions / Emissions to air / Emissions to air, unspecified (long-term) | 9.98070020995346E-9 kg | 9.98070020995346E-9 kg | |||
| Elementary flow | Emissions / Emissions to water / Emissions to fresh water | 3.48571713062196E-7 m3 | 3.48571713062196E-7 m3 | |||
| Elementary flow | Emissions / Emissions to water / Emissions to sea water | 2.17522363283648E-7 kg | 2.17522363283648E-7 kg | |||
| Elementary flow | Emissions / Emissions to soil / Emissions to agricultural soil | 7.65108095011988E-4 kg | 7.65108095011988E-4 kg | |||
| Elementary flow | Emissions / Emissions to soil / Emissions to agricultural soil | 1.76093918586526E-18 kg | 1.76093918586526E-18 kg | |||
| Elementary flow | Emissions / Emissions to air / Emissions to air, unspecified | 3.04092530008843E-11 kg | 3.04092530008843E-11 kg | |||
| Elementary flow | Emissions / Emissions to water / Emissions to fresh water | 1.08821233998932E-6 m3 | 1.08821233998932E-6 m3 | |||
| Elementary flow | Emissions / Emissions to water / Emissions to fresh water | 3.31548978037657E-11 kg | 3.31548978037657E-11 kg | |||
| Elementary flow | Emissions / Emissions to water / Emissions to fresh water | 1.22108418218757E-8 kg | 1.22108418218757E-8 kg | |||
| Elementary flow | Emissions / Emissions to air / Emissions to air, unspecified | 2.24330933155209E-13 kg | 2.24330933155209E-13 kg | |||
| Elementary flow | Emissions / Emissions to air / Emissions to air, unspecified | 0.2134773609245619 MJ | 0.2134773609245619 MJ | |||
| Elementary flow | Emissions / Emissions to air / Emissions to urban air close to ground | 6.73015429600875E-12 kg | 6.73015429600875E-12 kg | |||
| Elementary flow | Emissions / Emissions to soil / Emissions to agricultural soil | 1.59775940119761E-16 kg | 1.59775940119761E-16 kg | |||
| Elementary flow | Emissions / Emissions to soil / Emissions to non-agricultural soil | 6.14651796572049E-14 kg | 6.14651796572049E-14 kg | |||
| Elementary flow | Emissions / Emissions to water / Emissions to fresh water | 2.53139202694814E-7 kBq | 2.53139202694814E-7 kBq | |||
| Elementary flow | Emissions / Emissions to air / Emissions to air, unspecified | 1.81257509861835E-5 kg | 1.81257509861835E-5 kg | |||
| Elementary flow | Emissions / Emissions to water / Emissions to fresh water | 2.58423411792173E-7 m3 | 2.58423411792173E-7 m3 | |||
| Elementary flow | Emissions / Emissions to water / Emissions to fresh water | 4.72210433699831E-19 kg | 4.72210433699831E-19 kg | |||
| Elementary flow | Emissions / Emissions to water / Emissions to fresh water | 2.18377663156942E-10 kg | 2.18377663156942E-10 kg | |||
| Elementary flow | Emissions / Emissions to water / Emissions to fresh water | 1.15932796244116E-5 m3 | 1.15932796244116E-5 m3 | |||
| Elementary flow | Emissions / Emissions to water / Emissions to water, unspecified | 2.7901668890818E-15 kg | 2.7901668890818E-15 kg | |||
| Elementary flow | Emissions / Emissions to air / Emissions to air, unspecified | 1.541739760562528E-4 kg | 1.541739760562528E-4 kg | |||
| Elementary flow | Emissions / Emissions to air / Emissions to air, unspecified | 1.36205574000474E-9 kg | 1.36205574000474E-9 kg | |||
| Elementary flow | Emissions / Emissions to water / Emissions to fresh water | 1.15425681619057E-10 kg | 1.15425681619057E-10 kg | |||
| Elementary flow | Emissions / Emissions to water / Emissions to sea water | 1.07927596519791E-9 kg | 1.07927596519791E-9 kg | |||
| Elementary flow | Emissions / Emissions to water / Emissions to fresh water | 3.56953176584087E-4 m3 | 3.56953176584087E-4 m3 | |||
| Elementary flow | Emissions / Emissions to air / Emissions to air, unspecified | 9.60913894913582E-12 kg | 9.60913894913582E-12 kg | |||
| Elementary flow | Emissions / Emissions to air / Emissions to non-urban air or from high stacks | 1.4141876091167E-10 kg | 1.4141876091167E-10 kg | |||
| Waste flow | Wastes / Radioactive waste | 1.39651217015715E-5 kg | 1.39651217015715E-5 kg | |||
| Elementary flow | Emissions / Emissions to soil / Emissions to non-agricultural soil | 9.13588506773393E-16 kg | 9.13588506773393E-16 kg | |||
| Elementary flow | Emissions / Emissions to air / Emissions to air, unspecified | -1.30485638835356E-21 kg | -1.30485638835356E-21 kg | |||
| Elementary flow | Emissions / Emissions to soil / Emissions to agricultural soil | 1.88117857217472E-11 kg | 1.88117857217472E-11 kg | |||
| Elementary flow | Emissions / Emissions to soil / Emissions to agricultural soil | 5.78935862634977E-13 kg | 5.78935862634977E-13 kg | |||
| Elementary flow | Emissions / Emissions to water / Emissions to fresh water | 2.84173624663617E-7 m3 | 2.84173624663617E-7 m3 | |||
| Elementary flow | Emissions / Emissions to water / Emissions to sea water | 9.7077055114238E-7 kg | 9.7077055114238E-7 kg | |||
| Elementary flow | Emissions / Emissions to water / Emissions to fresh water | 5.0800335488669E-14 kg | 5.0800335488669E-14 kg | |||
| Elementary flow | Emissions / Emissions to water / Emissions to fresh water | 4.63015649403043E-7 kBq | 4.63015649403043E-7 kBq | |||
| Elementary flow | Emissions / Emissions to air / Emissions to air, unspecified | 4.225742220165E-12 kg | 4.225742220165E-12 kg | |||
| Elementary flow | Emissions / Emissions to soil / Emissions to agricultural soil | 9.8100277151699E-13 kg | 9.8100277151699E-13 kg | |||
| Elementary flow | Emissions / Emissions to water / Emissions to fresh water | 2.59165565804801E-18 kg | 2.59165565804801E-18 kg | |||
| Elementary flow | Emissions / Emissions to air / Emissions to air, unspecified | 1.15073106507345E-7 kg | 1.15073106507345E-7 kg | |||
| Elementary flow | Emissions / Emissions to soil / Emissions to agricultural soil | 5.03825536512598E-10 kg | 5.03825536512598E-10 kg | |||
| Elementary flow | Emissions / Emissions to water / Emissions to fresh water | 5.514076486454872E-6 kg | 5.514076486454872E-6 kg | |||
| Elementary flow | Emissions / Emissions to soil / Emissions to non-agricultural soil | 3.05191252022302E-13 kg | 3.05191252022302E-13 kg | |||
| Elementary flow | Emissions / Emissions to water / Emissions to sea water | 6.21065110125862E-19 kg | 6.21065110125862E-19 kg | |||
| Elementary flow | Emissions / Emissions to air / Emissions to air, unspecified | 2.7741351435132E-10 kg | 2.7741351435132E-10 kg | |||
| Elementary flow | Emissions / Emissions to air / Emissions to air, unspecified | 2.93982521623853E-14 kg | 2.93982521623853E-14 kg | |||
| Elementary flow | Emissions / Emissions to water / Emissions to fresh water | 4.01837939903122E-8 kg | 4.01837939903122E-8 kg | |||
| Elementary flow | Emissions / Emissions to air / Emissions to air, unspecified (long-term) | 4.12173725304218E-8 kg | 4.12173725304218E-8 kg | |||
| Elementary flow | Emissions / Emissions to water / Emissions to fresh water | 1.42332659205538E-7 m3 | 1.42332659205538E-7 m3 | |||
| Elementary flow | Emissions / Emissions to water / Emissions to sea water | 4.14694911969296E-4 kBq | 4.14694911969296E-4 kBq | |||
| Elementary flow | Emissions / Emissions to water / Emissions to fresh water | 1.2112738325353E-8 m3 | 1.2112738325353E-8 m3 | |||
| Elementary flow | Emissions / Emissions to soil / Emissions to agricultural soil | 3.912901213781E-11 kg | 3.912901213781E-11 kg | |||
| Elementary flow | Emissions / Emissions to water / Emissions to water, unspecified (long-term) | 2.45583686489564E-8 kg | 2.45583686489564E-8 kg | |||
| Elementary flow | Emissions / Emissions to water / Emissions to fresh water | 2.32421807915331E-13 kg | 2.32421807915331E-13 kg | |||
| Elementary flow | Emissions / Emissions to air / Emissions to non-urban air or from high stacks | 1.92990725015734E-11 kg | 1.92990725015734E-11 kg | |||
| Elementary flow | Emissions / Emissions to water / Emissions to fresh water | 5.46657368900103E-16 kg | 5.46657368900103E-16 kg | |||
| Elementary flow | Emissions / Emissions to soil / Emissions to agricultural soil | 1.47091433329346E-17 kg | 1.47091433329346E-17 kg | |||
| Elementary flow | Emissions / Emissions to soil / Emissions to agricultural soil | 5.93556762880301E-10 kg | 5.93556762880301E-10 kg | |||
| Elementary flow | Emissions / Emissions to soil / Emissions to agricultural soil | 6.1066001980423E-14 kg | 6.1066001980423E-14 kg | |||
| Elementary flow | Emissions / Emissions to air / Emissions to air, unspecified | 1.54005080659262E-7 kg | 1.54005080659262E-7 kg | |||
| Elementary flow | Emissions / Emissions to soil / Emissions to non-agricultural soil | 2.41775780258753E-16 kg | 2.41775780258753E-16 kg | |||
| Elementary flow | Emissions / Emissions to water / Emissions to fresh water | 7.2659536870582E-18 kg | 7.2659536870582E-18 kg | |||
| Elementary flow | Emissions / Emissions to water / Emissions to fresh water | 3.39084716462613E-9 kg | 3.39084716462613E-9 kg | |||
| Elementary flow | Emissions / Emissions to soil / Emissions to non-agricultural soil | 9.05477348130282E-15 kg | 9.05477348130282E-15 kg | |||
| Elementary flow | Emissions / Emissions to air / Emissions to air, unspecified | 7.0924006491518E-11 kg | 7.0924006491518E-11 kg | |||
| Elementary flow | Emissions / Emissions to soil / Emissions to non-agricultural soil | 5.94632958191873E-12 kg | 5.94632958191873E-12 kg | |||
| Elementary flow | Emissions / Emissions to air / Emissions to air, unspecified (long-term) | 3.04087637372424E-11 kg | 3.04087637372424E-11 kg | |||
| Elementary flow | Emissions / Emissions to soil / Emissions to agricultural soil | 1.63114760452436E-13 kg | 1.63114760452436E-13 kg | |||
| Elementary flow | Emissions / Emissions to water / Emissions to fresh water | 1.12575645176737E-7 m3 | 1.12575645176737E-7 m3 | |||
| Elementary flow | Emissions / Emissions to water / Emissions to fresh water | 2.69783680450888E-14 kg | 2.69783680450888E-14 kg | |||
| Elementary flow | Emissions / Emissions to air / Emissions to urban air close to ground | 6.42048906702976E-10 kg | 6.42048906702976E-10 kg | |||
| Elementary flow | Emissions / Emissions to water / Emissions to fresh water | 2.56104767488642E-8 kg | 2.56104767488642E-8 kg | |||
| Elementary flow | Emissions / Emissions to water / Emissions to water, unspecified | 9.053793093153899E-7 kg | 9.053793093153899E-7 kg | |||
| Elementary flow | Emissions / Emissions to air / Emissions to urban air close to ground | 2.70315601745962E-8 kg | 2.70315601745962E-8 kg | |||
| Elementary flow | Emissions / Emissions to soil / Emissions to agricultural soil | 1.83330380363888E-15 kg | 1.83330380363888E-15 kg | |||
| Elementary flow | Emissions / Emissions to air / Emissions to urban air close to ground | 2.04329983321445E-5 kg | 2.04329983321445E-5 kg | |||
| Elementary flow | Emissions / Emissions to water / Emissions to fresh water | 1.61118390098857E-8 m3 | 1.61118390098857E-8 m3 | |||
| Elementary flow | Emissions / Emissions to water / Emissions to fresh water | 8.46536201495577E-6 m3 | 8.46536201495577E-6 m3 | |||
| Elementary flow | Emissions / Emissions to water / Emissions to fresh water | 4.99896727589835E-13 kg | 4.99896727589835E-13 kg | |||
| Elementary flow | Emissions / Emissions to water / Emissions to water, unspecified (long-term) | 9.08596808035125E-6 kg | 9.08596808035125E-6 kg | |||
| Elementary flow | Emissions / Emissions to water / Emissions to fresh water | 1.1462122036859E-9 m3 | 1.1462122036859E-9 m3 | |||
| Elementary flow | Emissions / Emissions to water / Emissions to water, unspecified (long-term) | 2.16820079864822E-6 kg | 2.16820079864822E-6 kg | |||
| Elementary flow | Emissions / Emissions to soil / Emissions to agricultural soil | 3.21313295566875E-15 kg | 3.21313295566875E-15 kg | |||
| Elementary flow | Emissions / Emissions to soil / Emissions to agricultural soil | 1.04026228112466E-13 kg | 1.04026228112466E-13 kg | |||
| Elementary flow | Emissions / Emissions to water / Emissions to sea water | 1.822926107018031E-8 kg | 1.822926107018031E-8 kg | |||
| Elementary flow | Emissions / Emissions to air / Emissions to non-urban air or from high stacks | 1.87828669737425E-9 kg | 1.87828669737425E-9 kg | |||
| Elementary flow | Emissions / Emissions to water / Emissions to fresh water | 2.51399043159971E-7 kg | 2.51399043159971E-7 kg | |||
| Elementary flow | Emissions / Emissions to soil / Emissions to agricultural soil | 9.62512253966749E-15 kg | 9.62512253966749E-15 kg | |||
| Elementary flow | Emissions / Emissions to water / Emissions to water, unspecified | 3.24413135520997E-20 kg | 3.24413135520997E-20 kg | |||
| Elementary flow | Emissions / Emissions to water / Emissions to fresh water | 6.7109584706171E-10 kg | 6.7109584706171E-10 kg | |||
| Elementary flow | Emissions / Emissions to water / Emissions to water, unspecified (long-term) | 1.39414945974893E-4 kg | 1.39414945974893E-4 kg | |||
| Elementary flow | Emissions / Emissions to air / Emissions to air, unspecified | 5.34000070348965E-4 kBq | 5.34000070348965E-4 kBq | |||
| Elementary flow | Emissions / Emissions to soil / Emissions to agricultural soil | 4.25195127199156E-13 kg | 4.25195127199156E-13 kg | |||
| Elementary flow | Emissions / Emissions to water / Emissions to fresh water | 6.73323303773642E-6 m3 | 6.73323303773642E-6 m3 | |||
| Elementary flow | Emissions / Emissions to soil / Emissions to non-agricultural soil | 2.62397891504832E-10 kg | 2.62397891504832E-10 kg | |||
| Elementary flow | Emissions / Emissions to soil / Emissions to agricultural soil | 3.43509955024578E-14 kg | 3.43509955024578E-14 kg | |||
| Elementary flow | Emissions / Emissions to soil / Emissions to agricultural soil | 9.79370664130352E-16 kg | 9.79370664130352E-16 kg | |||
| Elementary flow | Emissions / Emissions to water / Emissions to fresh water | 7.23868211629917E-12 kg | 7.23868211629917E-12 kg | |||
| Elementary flow | Emissions / Emissions to soil / Emissions to agricultural soil | 1.76198068175039E-10 kg | 1.76198068175039E-10 kg | |||
| Elementary flow | Emissions / Emissions to air / Emissions to air, unspecified | 5.5378056583442E-15 kg | 5.5378056583442E-15 kg | |||
| Elementary flow | Emissions / Emissions to water / Emissions to fresh water | 9.79712714483255E-10 kg | 9.79712714483255E-10 kg | |||
| Elementary flow | Emissions / Emissions to air / Emissions to air, unspecified | 3.36721402652478E-11 kg | 3.36721402652478E-11 kg | |||
| Elementary flow | Emissions / Emissions to air / Emissions to air, unspecified | 1.93812003425425E-9 kg | 1.93812003425425E-9 kg | |||
| Elementary flow | Emissions / Emissions to water / Emissions to fresh water | 1.29659933271878E-6 kg | 1.29659933271878E-6 kg | |||
| Elementary flow | Emissions / Emissions to air / Emissions to air, unspecified | 9.567093935508406E-14 kg | 9.567093935508406E-14 kg | |||
| Elementary flow | Emissions / Emissions to soil / Emissions to agricultural soil | 8.38326563517992E-17 kg | 8.38326563517992E-17 kg | |||
| Elementary flow | Emissions / Emissions to water / Emissions to fresh water | 2.39032585307862E-7 kg | 2.39032585307862E-7 kg | |||
| Elementary flow | Emissions / Emissions to water / Emissions to fresh water | 6.20771407304692E-7 kg | 6.20771407304692E-7 kg | |||
| Elementary flow | Emissions / Emissions to water / Emissions to sea water | 1.95954142138831E-21 kg | 1.95954142138831E-21 kg | |||
| Elementary flow | Emissions / Emissions to water / Emissions to fresh water | 5.11574760520544E-7 m3 | 5.11574760520544E-7 m3 | |||
| Elementary flow | Emissions / Emissions to air / Emissions to air, unspecified | 3.40640600107414E-10 kBq | 3.40640600107414E-10 kBq | |||
| Elementary flow | Emissions / Emissions to air / Emissions to non-urban air or from high stacks | 1.47422201501165E-9 kg | 1.47422201501165E-9 kg | |||
| Elementary flow | Emissions / Emissions to soil / Emissions to agricultural soil | 1.01490810070455E-11 kg | 1.01490810070455E-11 kg | |||
| Elementary flow | Emissions / Emissions to air / Emissions to air, unspecified | 1.32804562256263E-9 kg | 1.32804562256263E-9 kg | |||
| Elementary flow | Emissions / Emissions to water / Emissions to fresh water | 6.96816117911409E-9 m3 | 6.96816117911409E-9 m3 | |||
| Elementary flow | Emissions / Emissions to water / Emissions to sea water | 2.54360981598386E-6 kg | 2.54360981598386E-6 kg | |||
| Elementary flow | Emissions / Emissions to water / Emissions to fresh water | 8.1029469456464E-8 m3 | 8.1029469456464E-8 m3 | |||
| Elementary flow | Emissions / Emissions to soil / Emissions to non-agricultural soil | 2.63630898210244E-10 kg | 2.63630898210244E-10 kg | |||
| Elementary flow | Emissions / Emissions to soil / Emissions to non-agricultural soil | 6.94134927722806E-16 kg | 6.94134927722806E-16 kg | |||
| Elementary flow | Emissions / Emissions to soil / Emissions to agricultural soil | 4.63741364472013E-13 kg | 4.63741364472013E-13 kg | |||
| Elementary flow | Emissions / Emissions to water / Emissions to water, unspecified (long-term) | 4.90720163859596E-5 kg | 4.90720163859596E-5 kg | |||
| Elementary flow | Emissions / Emissions to water / Emissions to fresh water | 3.51546585822495E-12 kg | 3.51546585822495E-12 kg | |||
| Elementary flow | Emissions / Emissions to air / Emissions to air, unspecified | 2.19756627116484E-15 kg | 2.19756627116484E-15 kg | |||
| Elementary flow | Emissions / Emissions to water / Emissions to water, unspecified | 2.29381283320595E-15 kg | 2.29381283320595E-15 kg | |||
| Elementary flow | Emissions / Emissions to air / Emissions to air, unspecified | 3.02031848822597E-16 kg | 3.02031848822597E-16 kg | |||
| Elementary flow | Emissions / Emissions to air / Emissions to air, unspecified | 0.0233549509820823 kBq | 0.0233549509820823 kBq | |||
| Elementary flow | Emissions / Emissions to water / Emissions to fresh water | 2.78276297799866E-6 kBq | 2.78276297799866E-6 kBq | |||
| Elementary flow | Emissions / Emissions to water / Emissions to water, unspecified | 9.886329918829378E-9 kg | 9.886329918829378E-9 kg | |||
| Elementary flow | Emissions / Emissions to water / Emissions to fresh water | 1.16642006675729E-5 kBq | 1.16642006675729E-5 kBq | |||
| Elementary flow | Emissions / Emissions to soil / Emissions to non-agricultural soil | 9.05870305048034E-14 kg | 9.05870305048034E-14 kg | |||
| Elementary flow | Emissions / Emissions to soil / Emissions to non-agricultural soil | 7.18573578893804E-15 kg | 7.18573578893804E-15 kg | |||
| Elementary flow | Emissions / Emissions to water / Emissions to sea water | 8.39550707202772E-9 kg | 8.39550707202772E-9 kg | |||
| Elementary flow | Emissions / Emissions to water / Emissions to fresh water | 1.39058693909888E-7 m3 | 1.39058693909888E-7 m3 | |||
| Elementary flow | Emissions / Emissions to water / Emissions to fresh water | 1.18185015851683E-20 kg | 1.18185015851683E-20 kg | |||
| Elementary flow | Emissions / Emissions to air / Emissions to air, unspecified | 8.73128620677188E-5 kg | 8.73128620677188E-5 kg | |||
| Elementary flow | Emissions / Emissions to water / Emissions to water, unspecified (long-term) | 0.0035734496126345 kg | 0.0035734496126345 kg | |||
| Waste flow | Wastes / Other waste | 1.30977738298843E-6 kg | 1.30977738298843E-6 kg | |||
| Elementary flow | Emissions / Emissions to water / Emissions to fresh water | 1.93417537001846E-15 kg | 1.93417537001846E-15 kg | |||
| Elementary flow | Emissions / Emissions to soil / Emissions to agricultural soil | 7.57845906441694E-15 kg | 7.57845906441694E-15 kg | |||
| Elementary flow | Emissions / Emissions to soil / Emissions to agricultural soil | 4.0315813520308E-7 kg | 4.0315813520308E-7 kg | |||
| Elementary flow | Emissions / Emissions to water / Emissions to fresh water | 2.48869209955316E-9 kg | 2.48869209955316E-9 kg | |||
| Elementary flow | Emissions / Emissions to water / Emissions to fresh water | 3.23407070841616E-10 kg | 3.23407070841616E-10 kg | |||
| Elementary flow | Emissions / Emissions to water / Emissions to fresh water | 1.58266643562194E-14 kg | 1.58266643562194E-14 kg | |||
| Elementary flow | Emissions / Emissions to air / Emissions to air, unspecified | 3.96146182888265E-15 kg | 3.96146182888265E-15 kg | |||
| Elementary flow | Emissions / Emissions to air / Emissions to lower stratosphere and upper troposphere | 7.22730360933272E-14 m3 | 7.22730360933272E-14 m3 | |||
| Elementary flow | Emissions / Emissions to air / Emissions to air, unspecified | 2.72308336110818E-17 kg | 2.72308336110818E-17 kg | |||
| Elementary flow | Emissions / Emissions to water / Emissions to fresh water | 4.0609511798357E-9 m3 | 4.0609511798357E-9 m3 | |||
| Elementary flow | Emissions / Emissions to water / Emissions to sea water | 3.499030774826E-10 kg | 3.499030774826E-10 kg | |||
| Elementary flow | Emissions / Emissions to water / Emissions to sea water | 2.03673933857323E-4 kBq | 2.03673933857323E-4 kBq | |||
| Elementary flow | Emissions / Emissions to water / Emissions to fresh water | 2.31864046791857E-7 kg | 2.31864046791857E-7 kg | |||
| Elementary flow | Emissions / Emissions to water / Emissions to water, unspecified (long-term) | 9.16724016101455E-8 kg | 9.16724016101455E-8 kg | |||
| Elementary flow | Emissions / Emissions to air / Emissions to air, unspecified (long-term) | 5.44623871115882E-10 kg | 5.44623871115882E-10 kg | |||
| Elementary flow | Emissions / Emissions to soil / Emissions to non-agricultural soil | 9.10918669778556E-11 kg | 9.10918669778556E-11 kg | |||
| Elementary flow | Emissions / Emissions to water / Emissions to fresh water | 3.60427124882224E-12 kg | 3.60427124882224E-12 kg | |||
| Elementary flow | Emissions / Emissions to soil / Emissions to agricultural soil | 1.01080838769349E-16 kg | 1.01080838769349E-16 kg | |||
| Elementary flow | Emissions / Emissions to air / Emissions to air, unspecified | 2.27664454702998E-10 kg | 2.27664454702998E-10 kg | |||
| Elementary flow | Emissions / Emissions to water / Emissions to fresh water | 3.99150659165385E-13 kg | 3.99150659165385E-13 kg | |||
| Elementary flow | Emissions / Emissions to soil / Emissions to agricultural soil | 3.56565438143059E-13 kg | 3.56565438143059E-13 kg | |||
| Elementary flow | Emissions / Emissions to air / Emissions to air, unspecified | 3.69332665332631E-13 kg | 3.69332665332631E-13 kg | |||
| Elementary flow | Emissions / Emissions to water / Emissions to fresh water | 3.13384842863762E-6 m3 | 3.13384842863762E-6 m3 | |||
| Elementary flow | Emissions / Emissions to water / Emissions to fresh water | 1.05899892257569E-6 m3 | 1.05899892257569E-6 m3 | |||
| Elementary flow | Emissions / Emissions to water / Emissions to fresh water | 7.67491783460393E-8 m3 | 7.67491783460393E-8 m3 | |||
| Elementary flow | Emissions / Emissions to water / Emissions to sea water | 3.69788015612106E-10 kg | 3.69788015612106E-10 kg | |||
| Elementary flow | Emissions / Emissions to air / Emissions to urban air close to ground | 1.74810706082046E-11 kg | 1.74810706082046E-11 kg | |||
| Elementary flow | Emissions / Emissions to soil / Emissions to non-agricultural soil | 2.21344502724264E-15 kg | 2.21344502724264E-15 kg | |||
| Elementary flow | Emissions / Emissions to air / Emissions to air, unspecified | 1.42381862902462E-11 kg | 1.42381862902462E-11 kg | |||
| Elementary flow | Emissions / Emissions to soil / Emissions to agricultural soil | 5.62147480720364E-14 kg | 5.62147480720364E-14 kg | |||
| Elementary flow | Emissions / Emissions to soil / Emissions to agricultural soil | 7.17065899569757E-15 kg | 7.17065899569757E-15 kg | |||
| Elementary flow | Emissions / Emissions to air / Emissions to air, unspecified | 1.3591433242726E-14 kg | 1.3591433242726E-14 kg | |||
| Elementary flow | Emissions / Emissions to water / Emissions to fresh water | 1.72480966421233E-16 kg | 1.72480966421233E-16 kg | |||
| Elementary flow | Emissions / Emissions to air / Emissions to air, unspecified (long-term) | 4.08057054983909E-4 kg | 4.08057054983909E-4 kg | |||
| Elementary flow | Emissions / Emissions to air / Emissions to air, unspecified | 6.73328596379821E-8 kg | 6.73328596379821E-8 kg | |||
| Elementary flow | Emissions / Emissions to water / Emissions to fresh water | 2.97128794411572E-16 kg | 2.97128794411572E-16 kg | |||
| Elementary flow | Emissions / Emissions to air / Emissions to air, unspecified | 3.46517037075108E-10 kg | 3.46517037075108E-10 kg | |||
| Elementary flow | Emissions / Emissions to air / Emissions to non-urban air or from high stacks | 6.78203096538659E-17 kg | 6.78203096538659E-17 kg | |||
| Elementary flow | Emissions / Emissions to water / Emissions to fresh water | -2.6254702859867E-10 m3 | -2.6254702859867E-10 m3 | |||
| Elementary flow | Emissions / Emissions to air / Emissions to non-urban air or from high stacks | 3.05583611914584E-13 kg | 3.05583611914584E-13 kg | |||
| Elementary flow | Emissions / Emissions to water / Emissions to fresh water | 3.94840631447557E-8 m3 | 3.94840631447557E-8 m3 | |||
| Elementary flow | Emissions / Emissions to water / Emissions to fresh water | 2.32362828942443E-10 kg | 2.32362828942443E-10 kg | |||
| Elementary flow | Emissions / Emissions to soil / Emissions to agricultural soil | 1.02993632197015E-19 kg | 1.02993632197015E-19 kg | |||
| Elementary flow | Emissions / Emissions to water / Emissions to fresh water | 8.72952849147761E-8 m3 | 8.72952849147761E-8 m3 | |||
| Elementary flow | Emissions / Emissions to water / Emissions to fresh water | 3.67901767169541E-12 kg | 3.67901767169541E-12 kg | |||
| Elementary flow | Emissions / Emissions to air / Emissions to air, unspecified | 5.40864315524351E-13 kg | 5.40864315524351E-13 kg | |||
| Elementary flow | Emissions / Emissions to air / Emissions to lower stratosphere and upper troposphere | 5.40864315524351E-13 kg | 5.40864315524351E-13 kg | |||
| Elementary flow | Emissions / Emissions to air / Emissions to air, unspecified | 3.10566787460329E-9 kg | 3.10566787460329E-9 kg | |||
| Elementary flow | Emissions / Emissions to water / Emissions to water, unspecified (long-term) | 3.52349303029226E-8 kg | 3.52349303029226E-8 kg | |||
| Elementary flow | Emissions / Emissions to water / Emissions to fresh water | 8.00643616982636E-13 kg | 8.00643616982636E-13 kg | |||
| Elementary flow | Emissions / Emissions to soil / Emissions to non-agricultural soil | 9.32690251514101E-11 kg | 9.32690251514101E-11 kg | |||
| Elementary flow | Emissions / Emissions to air / Emissions to non-urban air or from high stacks | 5.17801164943076E-12 kg | 5.17801164943076E-12 kg | |||
| Elementary flow | Emissions / Emissions to air / Emissions to air, unspecified | 2.41215696740292E-6 kg | 2.41215696740292E-6 kg | |||
| Elementary flow | Emissions / Emissions to water / Emissions to fresh water | 3.35026459257884E-8 kg | 3.35026459257884E-8 kg | |||
| Elementary flow | Emissions / Emissions to water / Emissions to fresh water | 3.27320326283592E-11 kBq | 3.27320326283592E-11 kBq | |||
| Elementary flow | Emissions / Emissions to soil / Emissions to agricultural soil | 5.14079910716034E-15 kg | 5.14079910716034E-15 kg | |||
| Elementary flow | Emissions / Emissions to air / Emissions to air, unspecified | 4.24737368137011E-23 kg | 4.24737368137011E-23 kg | |||
| Elementary flow | Emissions / Emissions to water / Emissions to fresh water | 3.14845575143488E-6 kg | 3.14845575143488E-6 kg | |||
| Elementary flow | Emissions / Emissions to water / Emissions to fresh water | 1.16998577981274E-7 kg | 1.16998577981274E-7 kg | |||
| Elementary flow | Emissions / Emissions to water / Emissions to water, unspecified | 1.31269352934799E-13 kg | 1.31269352934799E-13 kg | |||
| Elementary flow | Emissions / Emissions to air / Emissions to air, unspecified | 6.29340581852484E-11 kg | 6.29340581852484E-11 kg | |||
| Elementary flow | Emissions / Emissions to water / Emissions to fresh water | 3.56186187420772E-7 m3 | 3.56186187420772E-7 m3 | |||
| Elementary flow | Emissions / Emissions to air / Emissions to air, unspecified (long-term) | 5.59971144349108E-8 kg | 5.59971144349108E-8 kg | |||
| Elementary flow | Emissions / Emissions to water / Emissions to fresh water | 6.49581229269675E-7 kBq | 6.49581229269675E-7 kBq | |||
| Elementary flow | Emissions / Emissions to air / Emissions to air, unspecified | 2.09300172530333E-9 kBq | 2.09300172530333E-9 kBq | |||
| Elementary flow | Emissions / Emissions to air / Emissions to non-urban air or from high stacks | 9.47342877996336E-9 kg | 9.47342877996336E-9 kg | |||
| Elementary flow | Emissions / Emissions to water / Emissions to sea water | 1.567532577564E-7 kg | 1.567532577564E-7 kg | |||
| Elementary flow | Emissions / Emissions to soil / Emissions to agricultural soil | 2.55920582805802E-14 kg | 2.55920582805802E-14 kg | |||
| Elementary flow | Emissions / Emissions to soil / Emissions to agricultural soil | 2.63125731428172E-14 kg | 2.63125731428172E-14 kg | |||
| Elementary flow | Emissions / Emissions to air / Emissions to air, unspecified | 1.4996655467004E-10 kg | 1.4996655467004E-10 kg | |||
| Elementary flow | Emissions / Emissions to air / Emissions to air, unspecified | 2.13488340754287E-8 kg | 2.13488340754287E-8 kg | |||
| Elementary flow | Emissions / Emissions to air / Emissions to non-urban air or from high stacks | 8.54346762943415E-6 kg | 8.54346762943415E-6 kg | |||
| Elementary flow | Emissions / Emissions to air / Emissions to air, unspecified (long-term) | 1.71912914573238E-9 kg | 1.71912914573238E-9 kg | |||
| Elementary flow | Emissions / Emissions to air / Emissions to air, unspecified | 5.89642588364287E-10 kBq | 5.89642588364287E-10 kBq | |||
| Elementary flow | Emissions / Emissions to air / Emissions to air, unspecified | 4.91795263310335E-6 kg | 4.91795263310335E-6 kg | |||
| Elementary flow | Emissions / Emissions to air / Emissions to air, unspecified | 1.82972924591856E-12 kg | 1.82972924591856E-12 kg | |||
| Elementary flow | Emissions / Emissions to air / Emissions to non-urban air or from high stacks | 1.82972924591856E-12 kg | 1.82972924591856E-12 kg | |||
| Elementary flow | Emissions / Emissions to soil / Emissions to agricultural soil | 2.6258476571764E-7 kg | 2.6258476571764E-7 kg | |||
| Elementary flow | Emissions / Emissions to water / Emissions to fresh water | 2.17486618929487E-10 m3 | 2.17486618929487E-10 m3 | |||
| Elementary flow | Emissions / Emissions to air / Emissions to air, unspecified | 9.47833850875824E-8 kg | 9.47833850875824E-8 kg | |||
| Elementary flow | Emissions / Emissions to air / Emissions to air, unspecified | 1.13237004731008E-5 kg | 1.13237004731008E-5 kg | |||
| Elementary flow | Emissions / Emissions to water / Emissions to water, unspecified (long-term) | 1.04161437770459E-7 kg | 1.04161437770459E-7 kg | |||
| Elementary flow | Emissions / Emissions to air / Emissions to non-urban air or from high stacks | 4.25807796377573E-13 kg | 4.25807796377573E-13 kg | |||
| Elementary flow | Emissions / Emissions to water / Emissions to fresh water | 7.62683810119208E-5 m3 | 7.62683810119208E-5 m3 | |||
| Elementary flow | Emissions / Emissions to air / Emissions to non-urban air or from high stacks | 4.7915825714969E-8 kg | 4.7915825714969E-8 kg | |||
| Elementary flow | Emissions / Emissions to soil / Emissions to non-agricultural soil | 5.54279359435772E-13 kg | 5.54279359435772E-13 kg | |||
| Elementary flow | Emissions / Emissions to water / Emissions to water, unspecified | 8.70759519594542E-20 kg | 8.70759519594542E-20 kg | |||
| Elementary flow | Emissions / Emissions to air / Emissions to air, unspecified (long-term) | 2.12325483287989E-8 kg | 2.12325483287989E-8 kg | |||
| Elementary flow | Emissions / Emissions to air / Emissions to non-urban air or from high stacks | 8.28302909360771E-13 kg | 8.28302909360771E-13 kg | |||
| Elementary flow | Emissions / Emissions to soil / Emissions to agricultural soil | 6.31409589661067E-18 kg | 6.31409589661067E-18 kg | |||
| Elementary flow | Emissions / Emissions to water / Emissions to water, unspecified | 1.14455698792139E-16 kg | 1.14455698792139E-16 kg | |||
| Elementary flow | Emissions / Emissions to air / Emissions to air, unspecified | -1.51445421445532E-23 kg | -1.51445421445532E-23 kg | |||
| Elementary flow | Emissions / Emissions to water / Emissions to water, unspecified | 1.37770614111404E-14 kg | 1.37770614111404E-14 kg | |||
| Elementary flow | Emissions / Emissions to soil / Emissions to non-agricultural soil | 1.27528613756024E-9 kg | 1.27528613756024E-9 kg | |||
| Elementary flow | Emissions / Emissions to soil / Emissions to agricultural soil | 2.42314398524969E-14 kg | 2.42314398524969E-14 kg | |||
| Elementary flow | Emissions / Emissions to water / Emissions to fresh water | 1.4724513634657E-8 m3 | 1.4724513634657E-8 m3 | |||
| Elementary flow | Emissions / Emissions to air / Emissions to air, unspecified | 2.811750739943072E-7 kg | 2.811750739943072E-7 kg | |||
| Elementary flow | Emissions / Emissions to air / Emissions to air, unspecified | 2.44567541394306E-27 kg | 2.44567541394306E-27 kg | |||
| Elementary flow | Emissions / Emissions to water / Emissions to fresh water | 7.0517935908803E-16 kg | 7.0517935908803E-16 kg | |||
| Elementary flow | Emissions / Emissions to water / Emissions to fresh water | 1.8117025719403E-5 kg | 1.8117025719403E-5 kg | |||
| Elementary flow | Emissions / Emissions to water / Emissions to fresh water | 2.84271599807717E-8 m3 | 2.84271599807717E-8 m3 | |||
| Elementary flow | Emissions / Emissions to water / Emissions to fresh water | 5.73811639178598E-6 kg | 5.73811639178598E-6 kg | |||
| Elementary flow | Emissions / Emissions to air / Emissions to air, unspecified | 1.33500043766477E-13 kg | 1.33500043766477E-13 kg | |||
| Elementary flow | Emissions / Emissions to water / Emissions to water, unspecified | 4.57747976763976E-17 kg | 4.57747976763976E-17 kg | |||
| Elementary flow | Emissions / Emissions to air / Emissions to air, unspecified | 6.05860938597968E-21 kg | 6.05860938597968E-21 kg | |||
| Elementary flow | Emissions / Emissions to water / Emissions to fresh water | 3.5865146184777646E-10 kg | 3.5865146184777646E-10 kg | |||
| Elementary flow | Emissions / Emissions to water / Emissions to fresh water | -5.01093460822275E-22 kg | -5.01093460822275E-22 kg | |||
| Elementary flow | Emissions / Emissions to soil / Emissions to non-agricultural soil | 1.43126169638849E-15 kg | 1.43126169638849E-15 kg | |||
| Elementary flow | Emissions / Emissions to air / Emissions to air, unspecified | 1.4034769907943E-7 kg | 1.4034769907943E-7 kg | |||
| Elementary flow | Emissions / Emissions to water / Emissions to water, unspecified (long-term) | 4.83453348006446E-6 kg | 4.83453348006446E-6 kg | |||
| Elementary flow | Emissions / Emissions to air / Emissions to air, unspecified | 0.0011429757724757295 kg | 0.0011429757724757295 kg | |||
| Elementary flow | Emissions / Emissions to soil / Emissions to non-agricultural soil | 1.17379175546751E-9 kg | 1.17379175546751E-9 kg | |||
| Elementary flow | Emissions / Emissions to water / Emissions to fresh water | 4.37662803196466E-13 m3 | 4.37662803196466E-13 m3 | |||
| Elementary flow | Emissions / Emissions to soil / Emissions to agricultural soil | 1.60378241226872E-17 kg | 1.60378241226872E-17 kg | |||
| Elementary flow | Emissions / Emissions to air / Emissions to air, unspecified | 7.08096148903836E-9 kBq | 7.08096148903836E-9 kBq | |||
| Elementary flow | Emissions / Emissions to air / Emissions to urban air close to ground | 9.33872955489866E-13 kg | 9.33872955489866E-13 kg | |||
| Elementary flow | Emissions / Emissions to air / Emissions to air, unspecified | 1.31996846669473E-14 kg | 1.31996846669473E-14 kg | |||
| Elementary flow | Emissions / Emissions to water / Emissions to fresh water | 1.10946758517899E-10 kg | 1.10946758517899E-10 kg | |||
| Elementary flow | Emissions / Emissions to air / Emissions to air, unspecified | 1.03093539995447E-9 kBq | 1.03093539995447E-9 kBq | |||
| Elementary flow | Emissions / Emissions to water / Emissions to water, unspecified | 7.46393473652874E-17 kg | 7.46393473652874E-17 kg | |||
| Elementary flow | Emissions / Emissions to water / Emissions to sea water | 1.30970607023283E-16 kg | 1.30970607023283E-16 kg | |||
| Elementary flow | Emissions / Emissions to soil / Emissions to agricultural soil | 4.83405546370506E-13 kg | 4.83405546370506E-13 kg | |||
| Elementary flow | Emissions / Emissions to soil / Emissions to non-agricultural soil | 2.42455919219267E-17 kg | 2.42455919219267E-17 kg | |||
| Elementary flow | Emissions / Emissions to water / Emissions to fresh water | 2.99259935618176E-5 m3 | 2.99259935618176E-5 m3 | |||
| Elementary flow | Emissions / Emissions to water / Emissions to fresh water | 2.97959065664343E-7 m3 | 2.97959065664343E-7 m3 | |||
| Elementary flow | Emissions / Emissions to soil / Emissions to agricultural soil | 5.07573357962183E-18 kg | 5.07573357962183E-18 kg | |||
| Elementary flow | Emissions / Emissions to air / Emissions to air, unspecified | 1.77901232640583E-13 kg | 1.77901232640583E-13 kg | |||
| Elementary flow | Emissions / Emissions to air / Emissions to urban air close to ground | 1.77901232640583E-13 kg | 1.77901232640583E-13 kg | |||
| Elementary flow | Emissions / Emissions to water / Emissions to water, unspecified (long-term) | 1.77496495830285E-6 kg | 1.77496495830285E-6 kg | |||
| Elementary flow | Emissions / Emissions to water / Emissions to fresh water | 6.72378733034665E-5 kg | 6.72378733034665E-5 kg | |||
| Elementary flow | Emissions / Emissions to air / Emissions to urban air close to ground | 3.52217798635083E-12 kg | 3.52217798635083E-12 kg | |||
| Elementary flow | Emissions / Emissions to soil / Emissions to agricultural soil | 2.16845152024019E-14 kg | 2.16845152024019E-14 kg | |||
| Elementary flow | Emissions / Emissions to water / Emissions to fresh water | 6.71792103967747E-9 kBq | 6.71792103967747E-9 kBq | |||
| Elementary flow | Emissions / Emissions to water / Emissions to fresh water | -7.13013486533049E-21 kg | -7.13013486533049E-21 kg | |||
| Elementary flow | Emissions / Emissions to air / Emissions to air, unspecified | 9.86892659768001E-24 kBq | 9.86892659768001E-24 kBq | |||
| Elementary flow | Emissions / Emissions to water / Emissions to fresh water | 4.85519849205547E-16 kg | 4.85519849205547E-16 kg | |||
| Elementary flow | Emissions / Emissions to water / Emissions to water, unspecified (long-term) | 1.230030258E-6 kg | 1.230030258E-6 kg | |||
| Elementary flow | Emissions / Emissions to air / Emissions to air, unspecified | 8.03846174481278E-15 kg | 8.03846174481278E-15 kg | |||
| Elementary flow | Emissions / Emissions to air / Emissions to air, unspecified | 2.93286941257125E-8 kg | 2.93286941257125E-8 kg | |||
| Elementary flow | Emissions / Emissions to water / Emissions to fresh water | 2.78111561963172E-6 kBq | 2.78111561963172E-6 kBq | |||
| Elementary flow | Emissions / Emissions to air / Emissions to air, unspecified | 2.16777431718366E-13 kg | 2.16777431718366E-13 kg | |||
| Elementary flow | Emissions / Emissions to soil / Emissions to agricultural soil | 1.28522648578051E-16 kg | 1.28522648578051E-16 kg | |||
| Elementary flow | Emissions / Emissions to air / Emissions to non-urban air or from high stacks | 2.77981741609842E-13 kg | 2.77981741609842E-13 kg | |||
| Elementary flow | Emissions / Emissions to water / Emissions to fresh water | 7.08075073857924E-9 kBq | 7.08075073857924E-9 kBq | |||
| Elementary flow | Emissions / Emissions to soil / Emissions to agricultural soil | 3.26897451050176E-15 kg | 3.26897451050176E-15 kg | |||
| Elementary flow | Emissions / Emissions to soil / Emissions to non-agricultural soil | 5.52190923010492E-18 kg | 5.52190923010492E-18 kg | |||
| Elementary flow | Emissions / Emissions to soil / Emissions to agricultural soil | 7.09470850029799E-11 kg | 7.09470850029799E-11 kg | |||
| Elementary flow | Emissions / Emissions to soil / Emissions to agricultural soil | 2.11773809420989E-16 kg | 2.11773809420989E-16 kg | |||
| Elementary flow | Emissions / Emissions to air / Emissions to non-urban air or from high stacks | 5.43276786722073E-14 kg | 5.43276786722073E-14 kg | |||
| Elementary flow | Emissions / Emissions to soil / Emissions to non-agricultural soil | 2.04389075962769E-10 kg | 2.04389075962769E-10 kg | |||
| Elementary flow | Emissions / Emissions to air / Emissions to air, unspecified | 1.21186175522991E-10 kg | 1.21186175522991E-10 kg | |||
| Elementary flow | Emissions / Emissions to air / Emissions to air, unspecified | 2.96304523071955E-13 kg | 2.96304523071955E-13 kg | |||
| Elementary flow | Emissions / Emissions to water / Emissions to fresh water | 4.763011242183E-10 kg | 4.763011242183E-10 kg | |||
| Elementary flow | Emissions / Emissions to water / Emissions to fresh water | 2.0711175403404E-6 m3 | 2.0711175403404E-6 m3 | |||
| Elementary flow | Emissions / Emissions to water / Emissions to fresh water | 1.20640152184884E-13 kg | 1.20640152184884E-13 kg | |||
| Elementary flow | Emissions / Emissions to air / Emissions to urban air close to ground | 7.45486726937496E-11 kg | 7.45486726937496E-11 kg | |||
| Elementary flow | Emissions / Emissions to soil / Emissions to agricultural soil | 1.11779606462902E-14 kg | 1.11779606462902E-14 kg | |||
| Elementary flow | Emissions / Emissions to water / Emissions to fresh water | 5.16715116889981E-8 m3 | 5.16715116889981E-8 m3 | |||
| Elementary flow | Emissions / Emissions to soil / Emissions to agricultural soil | 3.32131325080608E-11 kg | 3.32131325080608E-11 kg | |||
| Elementary flow | Emissions / Emissions to water / Emissions to water, unspecified | 1.08773816027628E-16 kg | 1.08773816027628E-16 kg | |||
| Elementary flow | Emissions / Emissions to air / Emissions to air, unspecified | 7.42873651978097E-4 m3 | 7.42873651978097E-4 m3 | |||
| Elementary flow | Emissions / Emissions to air / Emissions to air, unspecified | 1.57629256384054E-11 kg | 1.57629256384054E-11 kg | |||
| Elementary flow | Emissions / Emissions to air / Emissions to air, unspecified | 1.79999033611422E-11 kg | 1.79999033611422E-11 kg | |||
| Elementary flow | Emissions / Emissions to soil / Emissions to agricultural soil | 2.23204677429836E-12 kg | 2.23204677429836E-12 kg | |||
| Elementary flow | Emissions / Emissions to water / Emissions to sea water | 0.171784691074404 kBq | 0.171784691074404 kBq | |||
| Elementary flow | Emissions / Emissions to water / Emissions to fresh water | 0.487051477941891 kBq | 0.487051477941891 kBq | |||
| Elementary flow | Emissions / Emissions to water / Emissions to fresh water | 4.91370539468792E-8 m3 | 4.91370539468792E-8 m3 | |||
| Elementary flow | Emissions / Emissions to water / Emissions to fresh water | 1.11221360750333E-10 kg | 1.11221360750333E-10 kg | |||
| Elementary flow | Emissions / Emissions to water / Emissions to water, unspecified (long-term) | 5.44963133224337E-9 kg | 5.44963133224337E-9 kg | |||
| Elementary flow | Emissions / Emissions to soil / Emissions to agricultural soil | 1.06038989942571E-11 kg | 1.06038989942571E-11 kg | |||
| Elementary flow | Emissions / Emissions to soil / Emissions to agricultural soil | 1.30783349458905E-11 kg | 1.30783349458905E-11 kg | |||
| Elementary flow | Emissions / Emissions to water / Emissions to fresh water | 3.30765371307586E-7 kg | 3.30765371307586E-7 kg | |||
| Elementary flow | Emissions / Emissions to soil / Emissions to agricultural soil | 7.92851553173634E-12 kg | 7.92851553173634E-12 kg | |||
| Elementary flow | Emissions / Emissions to water / Emissions to sea water | 5.67321243200973E-8 kg | 5.67321243200973E-8 kg | |||
| Elementary flow | Emissions / Emissions to soil / Emissions to agricultural soil | 6.26410656576849E-13 kg | 6.26410656576849E-13 kg | |||
| Elementary flow | Emissions / Emissions to water / Emissions to sea water | 4.12613607437595E-19 kg | 4.12613607437595E-19 kg | |||
| Elementary flow | Emissions / Emissions to soil / Emissions to agricultural soil | 5.35632132328559E-12 kg | 5.35632132328559E-12 kg | |||
| Elementary flow | Emissions / Emissions to air / Emissions to non-urban air or from high stacks | 2.90756232044912E-12 kg | 2.90756232044912E-12 kg | |||
| Elementary flow | Emissions / Emissions to water / Emissions to fresh water | 4.51991912203087E-19 kg | 4.51991912203087E-19 kg | |||
| Elementary flow | Emissions / Emissions to water / Emissions to fresh water | 6.49093188945058E-10 kg | 6.49093188945058E-10 kg | |||
| Elementary flow | Emissions / Emissions to water / Emissions to fresh water | 2.83211563035062E-10 m3 | 2.83211563035062E-10 m3 | |||
| Elementary flow | Emissions / Emissions to soil / Emissions to agricultural soil | 8.11333650694703E-12 kg | 8.11333650694703E-12 kg | |||
| Elementary flow | Emissions / Emissions to soil / Emissions to non-agricultural soil | 2.86858392868154E-15 kg | 2.86858392868154E-15 kg | |||
| Elementary flow | Emissions / Emissions to air / Emissions to non-urban air or from high stacks | 7.85877809577603E-18 kg | 7.85877809577603E-18 kg | |||
| Elementary flow | Emissions / Emissions to air / Emissions to air, unspecified | 4.18877016301166E-13 kg | 4.18877016301166E-13 kg | |||
| Elementary flow | Emissions / Emissions to air / Emissions to lower stratosphere and upper troposphere | 9.44867885272562E-17 kg | 9.44867885272562E-17 kg | |||
| Elementary flow | Emissions / Emissions to soil / Emissions to non-agricultural soil | 1.49447276178417E-14 kg | 1.49447276178417E-14 kg | |||
| Elementary flow | Emissions / Emissions to water / Emissions to fresh water | 9.05913487064036E-16 kg | 9.05913487064036E-16 kg | |||
| Elementary flow | Emissions / Emissions to air / Emissions to air, unspecified | 8.76235904930874E-8 kg | 8.76235904930874E-8 kg | |||
| Elementary flow | Emissions / Emissions to soil / Emissions to agricultural soil | 1.3649359132707E-13 kg | 1.3649359132707E-13 kg | |||
| Elementary flow | Emissions / Emissions to water / Emissions to water, unspecified (long-term) | 1.94201091906347E-7 kg | 1.94201091906347E-7 kg | |||
| Elementary flow | Emissions / Emissions to water / Emissions to fresh water | 1.86810640385938E-10 m3 | 1.86810640385938E-10 m3 | |||
| Elementary flow | Emissions / Emissions to soil / Emissions to agricultural soil | 6.34487189801488E-16 kg | 6.34487189801488E-16 kg | |||
| Elementary flow | Emissions / Emissions to water / Emissions to sea water | 3.82941862011868E-6 kg | 3.82941862011868E-6 kg | |||
| Elementary flow | Emissions / Emissions to air / Emissions to air, unspecified | 7.84308105948227E-13 kg | 7.84308105948227E-13 kg | |||
| Elementary flow | Emissions / Emissions to water / Emissions to fresh water | -2.8571781837318E-20 kg | -2.8571781837318E-20 kg | |||
| Elementary flow | Emissions / Emissions to water / Emissions to fresh water | 1.09941523289668E-8 kg | 1.09941523289668E-8 kg | |||
| Elementary flow | Emissions / Emissions to soil / Emissions to agricultural soil | 3.81116162466629E-13 kg | 3.81116162466629E-13 kg | |||
| Elementary flow | Emissions / Emissions to water / Emissions to water, unspecified | 2.95378854367297E-13 kg | 2.95378854367297E-13 kg | |||
| Elementary flow | Emissions / Emissions to soil / Emissions to non-agricultural soil | 2.08786040424987E-14 kg | 2.08786040424987E-14 kg | |||
| Elementary flow | Emissions / Emissions to water / Emissions to fresh water | 1.63192030870113E-8 m3 | 1.63192030870113E-8 m3 | |||
| Elementary flow | Emissions / Emissions to soil / Emissions to agricultural soil | 3.2869020115731E-12 kg | 3.2869020115731E-12 kg | |||
| Elementary flow | Emissions / Emissions to air / Emissions to air, unspecified | 5.22074407189331E-11 kg | 5.22074407189331E-11 kg | |||
| Elementary flow | Emissions / Emissions to water / Emissions to fresh water | 1.52505393058961E-7 m3 | 1.52505393058961E-7 m3 | |||
| Elementary flow | Emissions / Emissions to air / Emissions to air, unspecified | 5.95576785301543E-5 kBq | 5.95576785301543E-5 kBq | |||
| Elementary flow | Emissions / Emissions to air / Emissions to air, unspecified | 4.3195860856312E-9 kg | 4.3195860856312E-9 kg | |||
| Elementary flow | Emissions / Emissions to soil / Emissions to non-agricultural soil | 2.55148653129224E-14 kg | 2.55148653129224E-14 kg | |||
| Elementary flow | Emissions / Emissions to soil / Emissions to agricultural soil | 2.52924802391478E-8 kg | 2.52924802391478E-8 kg | |||
| Elementary flow | Emissions / Emissions to air / Emissions to air, unspecified | 1.86970785493546E-12 kg | 1.86970785493546E-12 kg | |||
| Elementary flow | Emissions / Emissions to soil / Emissions to agricultural soil | 4.39001868801865E-10 kg | 4.39001868801865E-10 kg | |||
| Elementary flow | Emissions / Emissions to water / Emissions to fresh water | 0.00364122693725655 kg | 0.00364122693725655 kg | |||
| Elementary flow | Emissions / Emissions to water / Emissions to sea water | 1.66493719500648E-22 kg | 1.66493719500648E-22 kg | |||
| Elementary flow | Emissions / Emissions to water / Emissions to water, unspecified (long-term) | 4.62025928343372E-6 kg | 4.62025928343372E-6 kg | |||
| Elementary flow | Emissions / Emissions to air / Emissions to urban air close to ground | 2.61943580197091E-11 kg | 2.61943580197091E-11 kg | |||
| Elementary flow | Emissions / Emissions to water / Emissions to fresh water | 0.00628191130213288 kBq | 0.00628191130213288 kBq | |||
| Elementary flow | Emissions / Emissions to water / Emissions to fresh water | 3.0259094176749E-13 kg | 3.0259094176749E-13 kg | |||
| Elementary flow | Emissions / Emissions to water / Emissions to water, unspecified (long-term) | 1.38676990230464E-8 kg | 1.38676990230464E-8 kg | |||
| Elementary flow | Emissions / Emissions to soil / Emissions to non-agricultural soil | 3.50681703329214E-18 kg | 3.50681703329214E-18 kg | |||
| Elementary flow | Emissions / Emissions to water / Emissions to fresh water | 4.65947888772598E-12 kg | 4.65947888772598E-12 kg | |||
| Elementary flow | Emissions / Emissions to soil / Emissions to agricultural soil | 6.46246369804831E-13 kg | 6.46246369804831E-13 kg | |||
| Elementary flow | Emissions / Emissions to water / Emissions to sea water | 1.53238630935533E-7 kg | 1.53238630935533E-7 kg | |||
| Elementary flow | Emissions / Emissions to air / Emissions to non-urban air or from high stacks | 5.0930274604616E-5 kg | 5.0930274604616E-5 kg | |||
| Elementary flow | Emissions / Emissions to air / Emissions to urban air close to ground | 3.60450979223124E-11 kg | 3.60450979223124E-11 kg | |||
| Elementary flow | Emissions / Emissions to water / Emissions to water, unspecified | 9.10459220357304E-16 kg | 9.10459220357304E-16 kg | |||
| Elementary flow | Emissions / Emissions to water / Emissions to fresh water | 1.67539967419067E-7 kg | 1.67539967419067E-7 kg | |||
| Elementary flow | Emissions / Emissions to water / Emissions to sea water | 8.18888105278154E-5 kBq | 8.18888105278154E-5 kBq | |||
| Elementary flow | Emissions / Emissions to water / Emissions to fresh water | 5.44378425634259E-6 m3 | 5.44378425634259E-6 m3 | |||
| Elementary flow | Emissions / Emissions to soil / Emissions to agricultural soil | 1.67684390630828E-10 kg | 1.67684390630828E-10 kg | |||
| Elementary flow | Emissions / Emissions to soil / Emissions to non-agricultural soil | 9.07315881697762E-20 kg | 9.07315881697762E-20 kg | |||
| Elementary flow | Emissions / Emissions to soil / Emissions to agricultural soil | 5.42707901936108E-15 kg | 5.42707901936108E-15 kg | |||
| Elementary flow | Emissions / Emissions to air / Emissions to air, unspecified | 9.0393399031144E-8 kg | 9.0393399031144E-8 kg | |||
| Elementary flow | Emissions / Emissions to air / Emissions to air, unspecified | 3.42148391459166E-17 kg | 3.42148391459166E-17 kg | |||
| Elementary flow | Emissions / Emissions to soil / Emissions to agricultural soil | 1.3121757157619E-14 kg | 1.3121757157619E-14 kg | |||
| Elementary flow | Emissions / Emissions to water / Emissions to sea water | 1.52430583487915E-4 kg | 1.52430583487915E-4 kg | |||
| Elementary flow | Emissions / Emissions to soil / Emissions to agricultural soil | 6.47720460500887E-14 kg | 6.47720460500887E-14 kg | |||
| Elementary flow | Emissions / Emissions to soil / Emissions to agricultural soil | 2.43434611297349E-12 kg | 2.43434611297349E-12 kg | |||
| Elementary flow | Emissions / Emissions to water / Emissions to water, unspecified | 9.14319116344719E-17 kg | 9.14319116344719E-17 kg | |||
| Elementary flow | Emissions / Emissions to air / Emissions to air, unspecified | 2.32195251936818E-7 kg | 2.32195251936818E-7 kg | |||
| Elementary flow | Emissions / Emissions to soil / Emissions to agricultural soil | 1.71641722812803E-14 kg | 1.71641722812803E-14 kg | |||
| Elementary flow | Emissions / Emissions to air / Emissions to air, unspecified | 6.46446605225209E-10 kg | 6.46446605225209E-10 kg | |||
| Elementary flow | Emissions / Emissions to water / Emissions to fresh water | 4.13294620009085E-8 kg | 4.13294620009085E-8 kg | |||
| Elementary flow | Emissions / Emissions to air / Emissions to air, unspecified | 5.46580638987728E-13 kg | 5.46580638987728E-13 kg | |||
| Elementary flow | Emissions / Emissions to air / Emissions to non-urban air or from high stacks | 3.68016835233039E-13 kg | 3.68016835233039E-13 kg | |||
| Elementary flow | Emissions / Emissions to water / Emissions to fresh water | 1.2548290612477908E-4 kBq | 1.2548290612477908E-4 kBq | |||
| Elementary flow | Emissions / Emissions to air / Emissions to urban air close to ground | 9.15306960843543E-7 kg | 9.15306960843543E-7 kg | |||
| Elementary flow | Emissions / Emissions to water / Emissions to fresh water | 4.95503211996376E-9 m3 | 4.95503211996376E-9 m3 | |||
| Elementary flow | Emissions / Emissions to air / Emissions to air, unspecified (long-term) | 7.38383081630665E-9 kg | 7.38383081630665E-9 kg | |||
| Elementary flow | Emissions / Emissions to air / Emissions to air, unspecified | 1.38141156192548E-13 kBq | 1.38141156192548E-13 kBq | |||
| Elementary flow | Emissions / Emissions to water / Emissions to sea water | 1.6650440507704E-10 kg | 1.6650440507704E-10 kg | |||
| Elementary flow | Emissions / Emissions to water / Emissions to fresh water | 3.2142202243919E-15 kg | 3.2142202243919E-15 kg | |||
| Elementary flow | Emissions / Emissions to water / Emissions to fresh water | 5.96557961571781E-11 kg | 5.96557961571781E-11 kg | |||
| Elementary flow | Emissions / Emissions to air / Emissions to air, unspecified | 2.12307360463241E-13 kg | 2.12307360463241E-13 kg | |||
| Elementary flow | Emissions / Emissions to air / Emissions to urban air close to ground | 9.22456957163655E-10 kg | 9.22456957163655E-10 kg | |||
| Elementary flow | Emissions / Emissions to air / Emissions to air, unspecified | 9.23005801465246E-9 kg | 9.23005801465246E-9 kg | |||
| Elementary flow | Emissions / Emissions to water / Emissions to fresh water | 2.76849205543454E-16 kg | 2.76849205543454E-16 kg | |||
| Elementary flow | Emissions / Emissions to water / Emissions to fresh water | 4.76175985885122E-7 kg | 4.76175985885122E-7 kg | |||
| Elementary flow | Emissions / Emissions to air / Emissions to urban air close to ground | 1.45534829261104E-8 kg | 1.45534829261104E-8 kg | |||
| Elementary flow | Emissions / Emissions to water / Emissions to fresh water | 8.11143452816312E-5 m3 | 8.11143452816312E-5 m3 | |||
| Elementary flow | Emissions / Emissions to water / Emissions to fresh water | 3.65349121153423E-9 m3 | 3.65349121153423E-9 m3 | |||
| Elementary flow | Emissions / Emissions to air / Emissions to non-urban air or from high stacks | 1.66210191835953E-14 kg | 1.66210191835953E-14 kg | |||
| Elementary flow | Emissions / Emissions to water / Emissions to water, unspecified | 8.22341238326948E-17 kg | 8.22341238326948E-17 kg | |||
| Elementary flow | Emissions / Emissions to air / Emissions to air, unspecified | 3.21769542937718E-11 kg | 3.21769542937718E-11 kg | |||
| Elementary flow | Emissions / Emissions to soil / Emissions to agricultural soil | 2.86618776066917E-11 kg | 2.86618776066917E-11 kg | |||
| Elementary flow | Emissions / Emissions to air / Emissions to air, unspecified | 1.71776255634807E-12 kg | 1.71776255634807E-12 kg | |||
| Elementary flow | Emissions / Emissions to air / Emissions to non-urban air or from high stacks | 3.57092291541361E-9 kg | 3.57092291541361E-9 kg | |||
| Elementary flow | Emissions / Emissions to water / Emissions to fresh water | 4.33734578722731E-8 m3 | 4.33734578722731E-8 m3 | |||
| Elementary flow | Emissions / Emissions to water / Emissions to fresh water | 1.39629968447898E-12 kg | 1.39629968447898E-12 kg | |||
| Elementary flow | Emissions / Emissions to water / Emissions to fresh water | 1.10309763423126E-6 kBq | 1.10309763423126E-6 kBq | |||
| Elementary flow | Emissions / Emissions to air / Emissions to air, unspecified | 1.10881779367292E-13 kg | 1.10881779367292E-13 kg | |||
| Elementary flow | Emissions / Emissions to water / Emissions to fresh water | 5.82334401502143E-10 kg | 5.82334401502143E-10 kg | |||
| Elementary flow | Emissions / Emissions to water / Emissions to water, unspecified | 4.1416743858816E-17 kg | 4.1416743858816E-17 kg | |||
| Elementary flow | Emissions / Emissions to air / Emissions to air, unspecified (long-term) | 2.84517880602102E-10 kg | 2.84517880602102E-10 kg | |||
| Elementary flow | Emissions / Emissions to soil / Emissions to non-agricultural soil | 1.33435703067727E-7 kg | 1.33435703067727E-7 kg | |||
| Elementary flow | Emissions / Emissions to air / Emissions to air, unspecified | 9.45859294783682E-10 kg | 9.45859294783682E-10 kg | |||
| Elementary flow | Emissions / Emissions to soil / Emissions to non-agricultural soil | 7.46136655338279E-14 kg | 7.46136655338279E-14 kg | |||
| Elementary flow | Emissions / Emissions to water / Emissions to water, unspecified (long-term) | 1.06812352038829E-6 kg | 1.06812352038829E-6 kg | |||
| Elementary flow | Emissions / Emissions to water / Emissions to fresh water | 1.02374992092064E-6 kg | 1.02374992092064E-6 kg | |||
| Elementary flow | Emissions / Emissions to air / Emissions to air, unspecified | 2.1495445038403E-22 kg | 2.1495445038403E-22 kg | |||
| Elementary flow | Emissions / Emissions to industrial soil / Other emissions to industrial soil | 1.10946758517899E-10 kg | 1.10946758517899E-10 kg | |||
| Elementary flow | Emissions / Emissions to soil / Emissions to non-agricultural soil | 4.78195351013919E-14 kg | 4.78195351013919E-14 kg | |||
| Elementary flow | Emissions / Emissions to water / Emissions to fresh water | 1.93832640124539E-7 kg | 1.93832640124539E-7 kg | |||
| Elementary flow | Emissions / Emissions to water / Emissions to sea water | 0.002331637749986931 kg | 0.002331637749986931 kg | |||
| Elementary flow | Emissions / Emissions to air / Emissions to non-urban air or from high stacks | 4.12697709621847E-8 kg | 4.12697709621847E-8 kg | |||
| Elementary flow | Emissions / Emissions to water / Emissions to fresh water | 2.38088151699814E-7 kg | 2.38088151699814E-7 kg | |||
| Elementary flow | Emissions / Emissions to air / Emissions to air, unspecified | 1.03711254118377E-8 kg | 1.03711254118377E-8 kg | |||
| Elementary flow | Emissions / Emissions to air / Emissions to air, unspecified (long-term) | 5.65641448433512E-10 kg | 5.65641448433512E-10 kg | |||
| Elementary flow | Emissions / Emissions to air / Emissions to air, unspecified | 2.77696289895408E-6 kBq | 2.77696289895408E-6 kBq | |||
| Elementary flow | Emissions / Emissions to water / Emissions to fresh water | 2.36386501896407E-10 kg | 2.36386501896407E-10 kg | |||
| Elementary flow | Emissions / Emissions to air / Emissions to air, unspecified | 1.80667919706016E-13 kg | 1.80667919706016E-13 kg | |||
| Elementary flow | Emissions / Emissions to air / Emissions to urban air close to ground | 3.69623250198175E-18 kg | 3.69623250198175E-18 kg | |||
| Elementary flow | Emissions / Emissions to water / Emissions to water, unspecified | 9.1450468277628E-19 kg | 9.1450468277628E-19 kg | |||
| Elementary flow | Emissions / Emissions to soil / Emissions to agricultural soil | 1.05452430872157E-15 kg | 1.05452430872157E-15 kg | |||
| Elementary flow | Emissions / Emissions to air / Emissions to air, unspecified | 3.11780020288178E-5 kBq | 3.11780020288178E-5 kBq | |||
| Elementary flow | Emissions / Emissions to air / Emissions to air, unspecified | 4.65276856478173E-13 kg | 4.65276856478173E-13 kg | |||
| Elementary flow | Emissions / Emissions to soil / Emissions to agricultural soil | 9.67639019898686E-14 kg | 9.67639019898686E-14 kg | |||
| Elementary flow | Emissions / Emissions to water / Emissions to sea water | 12.4548048159821 kg | 12.4548048159821 kg | |||
| Elementary flow | Emissions / Emissions to soil / Emissions to non-agricultural soil | 2.69854673324793E-14 kg | 2.69854673324793E-14 kg | |||
| Elementary flow | Emissions / Emissions to air / Emissions to air, unspecified | 1.34049605664502E-13 kg | 1.34049605664502E-13 kg | |||
| Elementary flow | Emissions / Emissions to soil / Emissions to agricultural soil | 1.35001385636624E-15 kg | 1.35001385636624E-15 kg | |||
| Elementary flow | Emissions / Emissions to soil / Emissions to agricultural soil | 1.55871007703879E-9 kg | 1.55871007703879E-9 kg | |||
| Elementary flow | Emissions / Emissions to soil / Emissions to agricultural soil | 2.58762838014929E-13 kg | 2.58762838014929E-13 kg | |||
| Elementary flow | Emissions / Emissions to soil / Emissions to agricultural soil | 4.49280611473511E-12 kg | 4.49280611473511E-12 kg | |||
| Elementary flow | Emissions / Emissions to water / Emissions to fresh water | 1.68914259190261E-8 kg | 1.68914259190261E-8 kg | |||
| Elementary flow | Emissions / Emissions to water / Emissions to fresh water | 5.09410712022325E-14 kg | 5.09410712022325E-14 kg | |||
| Elementary flow | Emissions / Emissions to air / Emissions to urban air close to ground | 1.32465026872004E-5 kg | 1.32465026872004E-5 kg | |||
| Elementary flow | Emissions / Emissions to air / Emissions to air, unspecified | 2.38155265617708E-7 kg | 2.38155265617708E-7 kg | |||
| Elementary flow | Emissions / Emissions to air / Emissions to air, unspecified | 4.86633494471441E-12 kg | 4.86633494471441E-12 kg | |||
| Elementary flow | Emissions / Emissions to water / Emissions to fresh water | 2.8626019729438232E-9 m3 | 2.8626019729438232E-9 m3 | |||
| Elementary flow | Emissions / Emissions to soil / Emissions to agricultural soil | 7.04712883292585E-14 kg | 7.04712883292585E-14 kg | |||
| Elementary flow | Emissions / Emissions to air / Emissions to air, unspecified | 2.45977571443513E-8 kg | 2.45977571443513E-8 kg | |||
| Elementary flow | Emissions / Emissions to water / Emissions to fresh water | 1.09941523289668E-7 kg | 1.09941523289668E-7 kg | |||
| Elementary flow | Emissions / Emissions to air / Emissions to air, unspecified | 1.86744121361497E-13 kg | 1.86744121361497E-13 kg | |||
| Elementary flow | Emissions / Emissions to soil / Emissions to agricultural soil | 2.40615529307091E-14 kg | 2.40615529307091E-14 kg | |||
| Elementary flow | Emissions / Emissions to water / Emissions to fresh water | 8.1174469628084E-6 kg | 8.1174469628084E-6 kg | |||
| Elementary flow | Emissions / Emissions to water / Emissions to fresh water | 2.26827297705919E-7 kg | 2.26827297705919E-7 kg | |||
| Elementary flow | Emissions / Emissions to water / Emissions to fresh water | 9.44905725567911E-6 kBq | 9.44905725567911E-6 kBq | |||
| Elementary flow | Emissions / Emissions to air / Emissions to air, unspecified | 1.27687356838173E-11 kg | 1.27687356838173E-11 kg | |||
| Elementary flow | Emissions / Emissions to water / Emissions to fresh water | 6.70236375653566E-4 kBq | 6.70236375653566E-4 kBq | |||
| Elementary flow | Emissions / Emissions to air / Emissions to non-urban air or from high stacks | 5.28550601517535E-8 kg | 5.28550601517535E-8 kg | |||
| Elementary flow | Emissions / Emissions to soil / Emissions to agricultural soil | 3.50053531895069E-17 kg | 3.50053531895069E-17 kg | |||
| Elementary flow | Emissions / Emissions to water / Emissions to fresh water | 2.72493751043912E-12 m3 | 2.72493751043912E-12 m3 | |||
| Elementary flow | Emissions / Emissions to air / Emissions to air, unspecified (long-term) | 2.02444444776518E-9 kg | 2.02444444776518E-9 kg | |||
| Elementary flow | Emissions / Emissions to water / Emissions to fresh water | 1.1034882469993E-7 m3 | 1.1034882469993E-7 m3 | |||
| Elementary flow | Emissions / Emissions to air / Emissions to non-urban air or from high stacks | 7.45629619565877E-19 kg | 7.45629619565877E-19 kg | |||
| Elementary flow | Emissions / Emissions to soil / Emissions to non-agricultural soil | 5.73723942347216E-6 kg | 5.73723942347216E-6 kg | |||
| Elementary flow | Emissions / Emissions to water / Emissions to fresh water | 1.43469720790092E-6 m3 | 1.43469720790092E-6 m3 | |||
| Elementary flow | Emissions / Emissions to water / Emissions to fresh water | 1.25527177581777E-9 m3 | 1.25527177581777E-9 m3 | |||
| Elementary flow | Emissions / Emissions to soil / Emissions to agricultural soil | 9.94833019362833E-11 kg | 9.94833019362833E-11 kg | |||
| Elementary flow | Emissions / Emissions to soil / Emissions to non-agricultural soil | 3.03595180300399E-16 kg | 3.03595180300399E-16 kg | |||
| Elementary flow | Emissions / Emissions to water / Emissions to fresh water | 0.00583608950600275 m3 | 0.00583608950600275 m3 | |||
| Elementary flow | Emissions / Emissions to water / Emissions to fresh water | 8.4462169471623E-16 kg | 8.4462169471623E-16 kg | |||
| Elementary flow | Emissions / Emissions to soil / Emissions to non-agricultural soil | 2.21335750061927E-15 kg | 2.21335750061927E-15 kg | |||
| Elementary flow | Emissions / Emissions to air / Emissions to air, unspecified | 2.41394770418204E-7 kg | 2.41394770418204E-7 kg | |||
| Elementary flow | Emissions / Emissions to water / Emissions to fresh water | 4.99647087183595E-13 kg | 4.99647087183595E-13 kg | |||
| Elementary flow | Emissions / Emissions to soil / Emissions to agricultural soil | 5.99855149823953E-9 kg | 5.99855149823953E-9 kg | |||
| Elementary flow | Emissions / Emissions to water / Emissions to fresh water | 7.63481969725588E-19 kg | 7.63481969725588E-19 kg | |||
| Elementary flow | Emissions / Emissions to soil / Emissions to agricultural soil | 6.08112487258598E-17 kg | 6.08112487258598E-17 kg | |||
| Elementary flow | Emissions / Emissions to water / Emissions to fresh water | 5.91837221388495E-12 kg | 5.91837221388495E-12 kg | |||
| Elementary flow | Emissions / Emissions to air / Emissions to air, unspecified | -1.15694521419903E-21 kg | -1.15694521419903E-21 kg | |||
| Elementary flow | Emissions / Emissions to air / Emissions to air, unspecified | 5.37751198055142E-13 kg | 5.37751198055142E-13 kg | |||
| Elementary flow | Emissions / Emissions to air / Emissions to air, unspecified | 9.06338015009545E-15 kg | 9.06338015009545E-15 kg | |||
| Elementary flow | Emissions / Emissions to soil / Emissions to agricultural soil | 1.54180532483146E-11 kg | 1.54180532483146E-11 kg | |||
| Elementary flow | Emissions / Emissions to air / Emissions to air, unspecified | 1.3926892508099908E-5 kg | 1.3926892508099908E-5 kg | |||
| Elementary flow | Emissions / Emissions to soil / Emissions to agricultural soil | 6.64994469556181E-11 kg | 6.64994469556181E-11 kg | |||
| Elementary flow | Emissions / Emissions to air / Emissions to air, unspecified | 4.37671862981617E-27 kg | 4.37671862981617E-27 kg | |||
| Elementary flow | Emissions / Emissions to air / Emissions to urban air close to ground | 1.20737632878922E-8 kg | 1.20737632878922E-8 kg | |||
| Elementary flow | Emissions / Emissions to water / Emissions to fresh water | 2.02439349605228E-15 kg | 2.02439349605228E-15 kg | |||
| Elementary flow | Emissions / Emissions to air / Emissions to air, unspecified | 3.63708327839478E-9 kg | 3.63708327839478E-9 kg | |||
| Elementary flow | Emissions / Emissions to soil / Emissions to agricultural soil | 5.28947581977311E-15 kg | 5.28947581977311E-15 kg | |||
| Elementary flow | Emissions / Emissions to soil / Emissions to non-agricultural soil | 7.20571458146328E-8 kg | 7.20571458146328E-8 kg | |||
| Elementary flow | Emissions / Emissions to air / Emissions to air, unspecified | 5.54504272752776E-11 kg | 5.54504272752776E-11 kg | |||
| Elementary flow | Emissions / Emissions to water / Emissions to fresh water | 3.64874995921619E-5 kg | 3.64874995921619E-5 kg | |||
| Elementary flow | Emissions / Emissions to water / Emissions to fresh water | 2.25365640136519E-10 kg | 2.25365640136519E-10 kg | |||
| Elementary flow | Emissions / Emissions to water / Emissions to fresh water | 9.43851861102705E-18 kg | 9.43851861102705E-18 kg | |||
| Elementary flow | Emissions / Emissions to air / Emissions to non-urban air or from high stacks | 3.93584191766405E-14 kg | 3.93584191766405E-14 kg | |||
| Elementary flow | Emissions / Emissions to soil / Emissions to agricultural soil | 1.16965406681717E-13 kg | 1.16965406681717E-13 kg | |||
| Elementary flow | Emissions / Emissions to air / Emissions to non-urban air or from high stacks | 1.39052691152443E-21 kg | 1.39052691152443E-21 kg | |||
| Elementary flow | Emissions / Emissions to air / Emissions to air, unspecified | -9.14368849608457E-21 kg | -9.14368849608457E-21 kg | |||
| Elementary flow | Emissions / Emissions to soil / Emissions to agricultural soil | 3.63549973433105E-12 kg | 3.63549973433105E-12 kg | |||
| Elementary flow | Emissions / Emissions to soil / Emissions to agricultural soil | 1.90979363704716E-14 kg | 1.90979363704716E-14 kg | |||
| Elementary flow | Emissions / Emissions to air / Emissions to air, unspecified | 1.69956685034896E-15 kg | 1.69956685034896E-15 kg | |||
| Elementary flow | Emissions / Emissions to air / Emissions to air, unspecified | -1.45773709412172E-22 kg | -1.45773709412172E-22 kg | |||
| Elementary flow | Emissions / Emissions to water / Emissions to fresh water | 9.24736887799288E-13 kg | 9.24736887799288E-13 kg | |||
| Elementary flow | Emissions / Emissions to soil / Emissions to agricultural soil | 1.45732554718979E-14 kg | 1.45732554718979E-14 kg | |||
| Elementary flow | Emissions / Emissions to soil / Emissions to agricultural soil | 9.34197906417001E-13 kg | 9.34197906417001E-13 kg | |||
| Elementary flow | Emissions / Emissions to soil / Emissions to agricultural soil | 9.67835277018309E-12 kg | 9.67835277018309E-12 kg | |||
| Elementary flow | Emissions / Emissions to water / Emissions to water, unspecified | 2.19002468504705E-19 kg | 2.19002468504705E-19 kg | |||
| Elementary flow | Emissions / Emissions to soil / Emissions to agricultural soil | 1.11408471555373E-13 kg | 1.11408471555373E-13 kg | |||
| Elementary flow | Emissions / Emissions to air / Emissions to air, unspecified | 4.15797555474567E-4 kBq | 4.15797555474567E-4 kBq | |||
| Elementary flow | Emissions / Emissions to soil / Emissions to agricultural soil | 1.61995419159969E-13 kg | 1.61995419159969E-13 kg | |||
| Elementary flow | Emissions / Emissions to water / Emissions to fresh water | 3.88112020786232E-8 m3 | 3.88112020786232E-8 m3 | |||
| Elementary flow | Emissions / Emissions to water / Emissions to water, unspecified | 3.73554447160659E-17 kg | 3.73554447160659E-17 kg | |||
| Elementary flow | Emissions / Emissions to water / Emissions to fresh water | 5.39713355936345E-7 m3 | 5.39713355936345E-7 m3 | |||
| Elementary flow | Emissions / Emissions to air / Emissions to non-urban air or from high stacks | 3.05670944240859E-8 kg | 3.05670944240859E-8 kg | |||
| Elementary flow | Emissions / Emissions to water / Emissions to sea water | 3.33770745773892E-12 kg | 3.33770745773892E-12 kg | |||
| Elementary flow | Emissions / Emissions to air / Emissions to air, unspecified (long-term) | 5.57607287299179E-5 kg | 5.57607287299179E-5 kg | |||
| Elementary flow | Emissions / Emissions to soil / Emissions to agricultural soil | 4.20770002770364E-13 kg | 4.20770002770364E-13 kg | |||
| Elementary flow | Emissions / Emissions to air / Emissions to air, unspecified | -1.3975792273913E-23 kg | -1.3975792273913E-23 kg | |||
| Elementary flow | Emissions / Emissions to air / Emissions to air, unspecified | -2.99960289281329E-23 kg | -2.99960289281329E-23 kg | |||
| Elementary flow | Emissions / Emissions to soil / Emissions to non-agricultural soil | 4.51057084407372E-17 kg | 4.51057084407372E-17 kg | |||
| Elementary flow | Emissions / Emissions to water / Emissions to sea water | 1.37179810673529E-9 kg | 1.37179810673529E-9 kg | |||
| Elementary flow | Emissions / Emissions to air / Emissions to air, unspecified (long-term) | 1.12183969213552E-7 kg | 1.12183969213552E-7 kg | |||
| Elementary flow | Emissions / Emissions to water / Emissions to water, unspecified | 3.05556072920782E-16 kg | 3.05556072920782E-16 kg | |||
| Elementary flow | Emissions / Emissions to water / Emissions to sea water | 5.25635774279086E-6 kg | 5.25635774279086E-6 kg | |||
| Elementary flow | Emissions / Emissions to air / Emissions to air, unspecified | 1.61659352863312E-10 kg | 1.61659352863312E-10 kg | |||
| Elementary flow | Emissions / Emissions to soil / Emissions to agricultural soil | 1.50928708643704E-19 kg | 1.50928708643704E-19 kg | |||
| Elementary flow | Emissions / Emissions to water / Emissions to sea water | 4.16853237611227E-7 kBq | 4.16853237611227E-7 kBq | |||
| Elementary flow | Emissions / Emissions to soil / Emissions to agricultural soil | 4.50418069656403E-13 kg | 4.50418069656403E-13 kg | |||
| Elementary flow | Emissions / Emissions to water / Emissions to fresh water | 5.42604637107409E-14 kg | 5.42604637107409E-14 kg | |||
| Elementary flow | Emissions / Emissions to air / Emissions to air, unspecified (long-term) | 3.10992379974761E-9 kg | 3.10992379974761E-9 kg | |||
| Elementary flow | Emissions / Emissions to soil / Emissions to agricultural soil | 8.2758745879389E-14 kg | 8.2758745879389E-14 kg | |||
| Elementary flow | Emissions / Emissions to air / Emissions to air, unspecified | 9.01384797103759E-12 kg | 9.01384797103759E-12 kg | |||
| Elementary flow | Emissions / Emissions to air / Emissions to air, unspecified | 2.91871325188466E-13 kg | 2.91871325188466E-13 kg | |||
| Elementary flow | Emissions / Emissions to water / Emissions to fresh water | 1.58219885803323E-5 m3 | 1.58219885803323E-5 m3 | |||
| Elementary flow | Emissions / Emissions to soil / Emissions to non-agricultural soil | 3.34661902187075E-10 kg | 3.34661902187075E-10 kg | |||
| Elementary flow | Emissions / Emissions to air / Emissions to air, unspecified | -3.98405831886334E-23 kg | -3.98405831886334E-23 kg | |||
| Elementary flow | Emissions / Emissions to water / Emissions to fresh water | 1.53885620947097E-19 kg | 1.53885620947097E-19 kg | |||
| Elementary flow | Emissions / Emissions to air / Emissions to air, unspecified | 1.04807873921301E-11 kg | 1.04807873921301E-11 kg | |||
| Elementary flow | Emissions / Emissions to water / Emissions to fresh water | 6.6589027326078E-14 kg | 6.6589027326078E-14 kg | |||
| Elementary flow | Emissions / Emissions to soil / Emissions to non-agricultural soil | 1.03090516214467E-4 MJ | 1.03090516214467E-4 MJ | |||
| Elementary flow | Emissions / Emissions to water / Emissions to fresh water | 1.0846879700862E-4 kg | 1.0846879700862E-4 kg | |||
| Elementary flow | Emissions / Emissions to water / Emissions to fresh water | 1.77302841749781E-6 kg | 1.77302841749781E-6 kg | |||
| Elementary flow | Emissions / Emissions to soil / Emissions to agricultural soil | 5.55347707959587E-11 kg | 5.55347707959587E-11 kg | |||
| Elementary flow | Emissions / Emissions to soil / Emissions to non-agricultural soil | 3.61736198375672E-12 kg | 3.61736198375672E-12 kg | |||
| Elementary flow | Emissions / Emissions to soil / Emissions to agricultural soil | 1.77309874803238E-24 kg | 1.77309874803238E-24 kg | |||
| Elementary flow | Emissions / Emissions to air / Emissions to air, unspecified | 1.00903364823919E-11 kg | 1.00903364823919E-11 kg | |||
| Elementary flow | Emissions / Emissions to air / Emissions to air, unspecified (long-term) | 1.0828813801031E-9 kg | 1.0828813801031E-9 kg | |||
| Elementary flow | Emissions / Emissions to air / Emissions to air, unspecified | 9.21548075366457E-11 kg | 9.21548075366457E-11 kg | |||
| Elementary flow | Emissions / Emissions to water / Emissions to fresh water | 5.97232202445326E-18 kg | 5.97232202445326E-18 kg | |||
| Elementary flow | Emissions / Emissions to air / Emissions to non-urban air or from high stacks | 1.46072867239663E-14 kg | 1.46072867239663E-14 kg | |||
| Elementary flow | Emissions / Emissions to water / Emissions to fresh water | 3.31600326221249E-5 m3 | 3.31600326221249E-5 m3 | |||
| Elementary flow | Emissions / Emissions to soil / Emissions to agricultural soil | 1.05452430872158E-14 kg | 1.05452430872158E-14 kg | |||
| Waste flow | Wastes / Other waste | 8.66991491729036E-10 kg | 8.66991491729036E-10 kg | |||
| Elementary flow | Emissions / Emissions to water / Emissions to water, unspecified (long-term) | 2.4681277568081E-15 kg | 2.4681277568081E-15 kg | |||
| Elementary flow | Emissions / Emissions to water / Emissions to fresh water | 7.42191118594706E-10 kg | 7.42191118594706E-10 kg | |||
| Elementary flow | Emissions / Emissions to air / Emissions to urban air close to ground | 1.33386186177371E-7 kg | 1.33386186177371E-7 kg | |||
| Elementary flow | Emissions / Emissions to air / Emissions to urban air close to ground | 5.77702441005132E-13 kg | 5.77702441005132E-13 kg | |||
| Elementary flow | Emissions / Emissions to air / Emissions to non-urban air or from high stacks | 1.12139798194653E-12 kg | 1.12139798194653E-12 kg | |||
| Elementary flow | Emissions / Emissions to air / Emissions to air, unspecified | 2.93890788712854E-11 kg | 2.93890788712854E-11 kg | |||
| Elementary flow | Emissions / Emissions to soil / Emissions to agricultural soil | 8.72499942310485E-8 kg | 8.72499942310485E-8 kg | |||
| Elementary flow | Emissions / Emissions to soil / Emissions to non-agricultural soil | -4.1132382168023E-24 kg | -4.1132382168023E-24 kg | |||
| Elementary flow | Emissions / Emissions to soil / Emissions to non-agricultural soil | 3.74721274302115E-15 kg | 3.74721274302115E-15 kg | |||
| Elementary flow | Emissions / Emissions to soil / Emissions to agricultural soil | 1.50434944967716E-13 kg | 1.50434944967716E-13 kg | |||
| Elementary flow | Emissions / Emissions to water / Emissions to fresh water | 1.26802935087066E-10 kg | 1.26802935087066E-10 kg | |||
| Elementary flow | Emissions / Emissions to soil / Emissions to agricultural soil | 3.34075835941526E-12 kg | 3.34075835941526E-12 kg | |||
| Elementary flow | Emissions / Emissions to water / Emissions to fresh water | 1.00035381589243E-6 m3 | 1.00035381589243E-6 m3 | |||
| Elementary flow | Emissions / Emissions to air / Emissions to urban air close to ground | 5.88350822716631E-11 kg | 5.88350822716631E-11 kg | |||
| Elementary flow | Emissions / Emissions to water / Emissions to fresh water | 8.8992518850513E-8 m3 | 8.8992518850513E-8 m3 | |||
| Elementary flow | Emissions / Emissions to air / Emissions to air, unspecified | 8.16060985078977E-8 kg | 8.16060985078977E-8 kg | |||
| Elementary flow | Emissions / Emissions to water / Emissions to fresh water | 1.38035622167498E-5 m3 | 1.38035622167498E-5 m3 | |||
| Elementary flow | Emissions / Emissions to air / Emissions to non-urban air or from high stacks | 1.40985433912209E-13 kg | 1.40985433912209E-13 kg | |||
| Elementary flow | Emissions / Emissions to air / Emissions to urban air close to ground | 3.63600632629311E-7 m3 | 3.63600632629311E-7 m3 | |||
| Elementary flow | Emissions / Emissions to soil / Emissions to agricultural soil | 8.45660945330697E-12 kg | 8.45660945330697E-12 kg | |||
| Elementary flow | Emissions / Emissions to air / Emissions to air, unspecified | 1.06810449237937E-10 kg | 1.06810449237937E-10 kg | |||
| Elementary flow | Emissions / Emissions to water / Emissions to sea water | 3.80970299298621E-5 kg | 3.80970299298621E-5 kg | |||
| Elementary flow | Emissions / Emissions to water / Emissions to fresh water | 1.26292940684849E-18 kg | 1.26292940684849E-18 kg | |||
| Elementary flow | Emissions / Emissions to air / Emissions to air, unspecified | 3.76800426235709E-20 kg | 3.76800426235709E-20 kg | |||
| Elementary flow | Emissions / Emissions to soil / Emissions to agricultural soil | 1.95844104011503E-27 kg | 1.95844104011503E-27 kg | |||
| Elementary flow | Emissions / Emissions to soil / Emissions to non-agricultural soil | 3.56356044592159E-7 kg | 3.56356044592159E-7 kg | |||
| Elementary flow | Emissions / Emissions to water / Emissions to fresh water | 8.74436680129251E-8 kg | 8.74436680129251E-8 kg | |||
| Elementary flow | Emissions / Emissions to water / Emissions to fresh water | 6.41985758946014E-11 kg | 6.41985758946014E-11 kg | |||
| Elementary flow | Emissions / Emissions to water / Emissions to fresh water | 2.5539294240047E-8 m3 | 2.5539294240047E-8 m3 | |||
| Elementary flow | Emissions / Emissions to air / Emissions to air, unspecified | 4.69644232702726E-9 kg | 4.69644232702726E-9 kg | |||
| Elementary flow | Emissions / Emissions to water / Emissions to sea water | 1.17923488079704E-24 kg | 1.17923488079704E-24 kg | |||
| Elementary flow | Emissions / Emissions to water / Emissions to fresh water | 9.88913159791146E-8 m3 | 9.88913159791146E-8 m3 | |||
| Elementary flow | Emissions / Emissions to air / Emissions to air, unspecified | 3.70510333449569E-6 kBq | 3.70510333449569E-6 kBq | |||
| Elementary flow | Emissions / Emissions to water / Emissions to fresh water | 6.66874564700975E-10 kg | 6.66874564700975E-10 kg | |||
| Elementary flow | Emissions / Emissions to soil / Emissions to agricultural soil | 2.79992581611381E-17 kg | 2.79992581611381E-17 kg | |||
| Elementary flow | Emissions / Emissions to air / Emissions to air, unspecified | 7.88709958046226E-11 kBq | 7.88709958046226E-11 kBq | |||
| Elementary flow | Emissions / Emissions to water / Emissions to sea water | 2.54582072146333E-4 kg | 2.54582072146333E-4 kg | |||
| Elementary flow | Emissions / Emissions to soil / Emissions to agricultural soil | 1.31531975274539E-6 kg | 1.31531975274539E-6 kg | |||
| Elementary flow | Emissions / Emissions to water / Emissions to fresh water | 1.2919144682604E-12 kg | 1.2919144682604E-12 kg | |||
| Elementary flow | Emissions / Emissions to soil / Emissions to agricultural soil | 5.77357843801464E-11 kg | 5.77357843801464E-11 kg | |||
| Elementary flow | Emissions / Emissions to water / Emissions to sea water | 1.7331844307290323E-4 m3 | 1.7331844307290323E-4 m3 | |||
| Elementary flow | Emissions / Emissions to water / Emissions to fresh water | 2.16746513408786E-10 kg | 2.16746513408786E-10 kg | |||
| Elementary flow | Emissions / Emissions to air / Emissions to air, unspecified | 6.31155933299968E-15 kg | 6.31155933299968E-15 kg | |||
| Elementary flow | Emissions / Emissions to water / Emissions to fresh water | 4.8635297535046E-8 m3 | 4.8635297535046E-8 m3 | |||
| Elementary flow | Emissions / Emissions to air / Emissions to air, unspecified | 8.1365411044308E-9 kg | 8.1365411044308E-9 kg | |||
| Elementary flow | Emissions / Emissions to water / Emissions to sea water | 1.33864922356338E-8 kBq | 1.33864922356338E-8 kBq | |||
| Elementary flow | Emissions / Emissions to water / Emissions to fresh water | 3.53767086420508E-15 kg | 3.53767086420508E-15 kg | |||
| Elementary flow | Emissions / Emissions to air / Emissions to air, unspecified | 3.06389704778024E-13 kg | 3.06389704778024E-13 kg | |||
| Elementary flow | Emissions / Emissions to soil / Emissions to agricultural soil | 3.60347822721881E-16 kg | 3.60347822721881E-16 kg | |||
| Elementary flow | Emissions / Emissions to water / Emissions to fresh water | 6.29592559659579E-9 kg | 6.29592559659579E-9 kg | |||
| Elementary flow | Emissions / Emissions to air / Emissions to air, unspecified | 1.5346018118963E-12 kg | 1.5346018118963E-12 kg | |||
| Elementary flow | Emissions / Emissions to water / Emissions to fresh water | 5.22423490976138E-10 kg | 5.22423490976138E-10 kg | |||
| Elementary flow | Emissions / Emissions to water / Emissions to sea water | 5.72853387047302E-29 kg | 5.72853387047302E-29 kg | |||
| Elementary flow | Emissions / Emissions to air / Emissions to urban air close to ground | 1.85001652552662E-18 kg | 1.85001652552662E-18 kg | |||
| Elementary flow | Emissions / Emissions to soil / Emissions to non-agricultural soil | 1.50678005682022E-5 kg | 1.50678005682022E-5 kg | |||
| Elementary flow | Emissions / Emissions to soil / Emissions to non-agricultural soil | 1.51749781768456E-14 kg | 1.51749781768456E-14 kg | |||
| Elementary flow | Emissions / Emissions to air / Emissions to air, unspecified | -3.06891827169309E-22 kg | -3.06891827169309E-22 kg | |||
| Elementary flow | Emissions / Emissions to air / Emissions to air, unspecified | 3.61300315043407E-9 kg | 3.61300315043407E-9 kg | |||
| Elementary flow | Emissions / Emissions to air / Emissions to air, unspecified (long-term) | 6.83852695556572E-13 kg | 6.83852695556572E-13 kg | |||
| Elementary flow | Emissions / Emissions to water / Emissions to fresh water | -1.32334847319821E-20 kg | -1.32334847319821E-20 kg | |||
| Elementary flow | Emissions / Emissions to water / Emissions to sea water | 7.74323371910707E-5 kg | 7.74323371910707E-5 kg | |||
| Elementary flow | Emissions / Emissions to soil / Emissions to agricultural soil | 3.06119895116103E-16 kg | 3.06119895116103E-16 kg | |||
| Elementary flow | Emissions / Emissions to air / Emissions to air, unspecified | 2.07502090910708E-10 kg | 2.07502090910708E-10 kg | |||
| Elementary flow | Emissions / Emissions to water / Emissions to fresh water | 1.400061779413E-5 kg | 1.400061779413E-5 kg | |||
| Elementary flow | Emissions / Emissions to soil / Emissions to agricultural soil | 1.22611431785551E-11 kg | 1.22611431785551E-11 kg | |||
| Elementary flow | Emissions / Emissions to air / Emissions to air, unspecified | 1.01594139634838E-11 kg | 1.01594139634838E-11 kg | |||
| Elementary flow | Emissions / Emissions to water / Emissions to fresh water | 1.24349579535165E-6 m3 | 1.24349579535165E-6 m3 | |||
| Elementary flow | Emissions / Emissions to air / Emissions to urban air close to ground | 5.9393205919099E-7 kg | 5.9393205919099E-7 kg | |||
| Elementary flow | Emissions / Emissions to air / Emissions to air, unspecified | 6.95642602028002E-5 kg | 6.95642602028002E-5 kg | |||
| Elementary flow | Emissions / Emissions to water / Emissions to sea water | 4.26555636332018E-4 kBq | 4.26555636332018E-4 kBq | |||
| Elementary flow | Emissions / Emissions to water / Emissions to fresh water | 1.40562576070824E-10 kg | 1.40562576070824E-10 kg | |||
| Elementary flow | Emissions / Emissions to soil / Emissions to agricultural soil | 4.87003958863372E-10 kg | 4.87003958863372E-10 kg | |||
| Elementary flow | Emissions / Emissions to air / Emissions to air, unspecified (long-term) | 4.89689078709855E-11 kg | 4.89689078709855E-11 kg | |||
| Elementary flow | Emissions / Emissions to air / Emissions to air, unspecified | 3.83718919880922E-12 kg | 3.83718919880922E-12 kg | |||
| Elementary flow | Emissions / Emissions to soil / Emissions to agricultural soil | 1.27822301711925E-15 kg | 1.27822301711925E-15 kg | |||
| Elementary flow | Emissions / Emissions to soil / Emissions to agricultural soil | 1.34861265474749E-9 kg | 1.34861265474749E-9 kg | |||
| Elementary flow | Emissions / Emissions to air / Emissions to non-urban air or from high stacks | 3.35033631489043E-12 kg | 3.35033631489043E-12 kg | |||
| Elementary flow | Emissions / Emissions to water / Emissions to fresh water | 5.89677374066865E-17 kg | 5.89677374066865E-17 kg | |||
| Elementary flow | Emissions / Emissions to soil / Emissions to non-agricultural soil | 3.21131033605787E-10 kg | 3.21131033605787E-10 kg | |||
| Elementary flow | Emissions / Emissions to soil / Emissions to agricultural soil | 1.27940674679421E-15 kg | 1.27940674679421E-15 kg | |||
| Elementary flow | Emissions / Emissions to air / Emissions to air, unspecified | 1.71157858599564E-12 kg | 1.71157858599564E-12 kg | |||
| Elementary flow | Emissions / Emissions to air / Emissions to air, unspecified | 2.83350554713487E-21 kg | 2.83350554713487E-21 kg | |||
| Elementary flow | Emissions / Emissions to water / Emissions to sea water | 1.44662916993458E-5 kg | 1.44662916993458E-5 kg | |||
| Elementary flow | Emissions / Emissions to air / Emissions to urban air close to ground | 1.38564059381078E-10 kg | 1.38564059381078E-10 kg | |||
| Elementary flow | Emissions / Emissions to air / Emissions to air, unspecified | 1.72639005141748E-10 kg | 1.72639005141748E-10 kg | |||
| Elementary flow | Emissions / Emissions to water / Emissions to fresh water | 1.6820126282525E-11 kg | 1.6820126282525E-11 kg | |||
| Elementary flow | Emissions / Emissions to air / Emissions to air, unspecified | 2.48544449380975E-11 kg | 2.48544449380975E-11 kg | |||
| Elementary flow | Emissions / Emissions to water / Emissions to fresh water | 7.31153656033728E-9 kg | 7.31153656033728E-9 kg | |||
| Elementary flow | Emissions / Emissions to air / Emissions to air, unspecified | 2.35390022403417E-14 kg | 2.35390022403417E-14 kg | |||
| Elementary flow | Emissions / Emissions to air / Emissions to air, unspecified | 1.92671084481048E-7 kg | 1.92671084481048E-7 kg | |||
| Elementary flow | Emissions / Emissions to air / Emissions to air, unspecified | 8.82456447933126E-9 kg | 8.82456447933126E-9 kg | |||
| Elementary flow | Emissions / Emissions to air / Emissions to non-urban air or from high stacks | 2.03454551638505E-12 kg | 2.03454551638505E-12 kg | |||
| Elementary flow | Emissions / Emissions to soil / Emissions to agricultural soil | 2.45681930870024E-12 kg | 2.45681930870024E-12 kg | |||
| Elementary flow | Emissions / Emissions to air / Emissions to air, unspecified | 1.77566882152919E-13 kg | 1.77566882152919E-13 kg | |||
| Elementary flow | Emissions / Emissions to water / Emissions to fresh water | 0.0223338595728589 kg | 0.0223338595728589 kg | |||
| Elementary flow | Emissions / Emissions to soil / Emissions to non-agricultural soil | 1.86055577524918E-9 kg | 1.86055577524918E-9 kg | |||
| Elementary flow | Emissions / Emissions to soil / Emissions to agricultural soil | 8.0620888182341E-13 kg | 8.0620888182341E-13 kg | |||
| Elementary flow | Emissions / Emissions to air / Emissions to air, unspecified | 1.22060146214604E-8 kg | 1.22060146214604E-8 kg | |||
| Elementary flow | Emissions / Emissions to soil / Emissions to non-agricultural soil | 8.33071915668634E-16 kg | 8.33071915668634E-16 kg | |||
| Elementary flow | Emissions / Emissions to water / Emissions to fresh water | 8.92271563887675E-13 m3 | 8.92271563887675E-13 m3 | |||
| Elementary flow | Emissions / Emissions to soil / Emissions to agricultural soil | 8.38326563517992E-17 kg | 8.38326563517992E-17 kg | |||
| Elementary flow | Emissions / Emissions to air / Emissions to lower stratosphere and upper troposphere | 7.93372038584416E-12 kg | 7.93372038584416E-12 kg | |||
| Elementary flow | Emissions / Emissions to soil / Emissions to agricultural soil | 3.75147650463115E-13 kg | 3.75147650463115E-13 kg | |||
| Elementary flow | Emissions / Emissions to water / Emissions to sea water | 1.39154267200238E-12 kg | 1.39154267200238E-12 kg | |||
| Elementary flow | Emissions / Emissions to soil / Emissions to agricultural soil | 1.41950950948483E-9 kg | 1.41950950948483E-9 kg | |||
| Elementary flow | Emissions / Emissions to soil / Emissions to agricultural soil | 7.20928278278873E-14 kg | 7.20928278278873E-14 kg | |||
| Elementary flow | Emissions / Emissions to soil / Emissions to agricultural soil | 1.67410817270878E-12 kg | 1.67410817270878E-12 kg | |||
| Elementary flow | Emissions / Emissions to air / Emissions to air, unspecified (long-term) | 1.96971121594193E-14 kg | 1.96971121594193E-14 kg | |||
| Elementary flow | Emissions / Emissions to air / Emissions to air, unspecified | 8.34125981108338E-13 kg | 8.34125981108338E-13 kg | |||
| Elementary flow | Emissions / Emissions to water / Emissions to fresh water | 4.93135171401465E-6 m3 | 4.93135171401465E-6 m3 | |||
| Elementary flow | Emissions / Emissions to water / Emissions to fresh water | 2.48125690521073E-16 kg | 2.48125690521073E-16 kg | |||
| Elementary flow | Emissions / Emissions to soil / Emissions to non-agricultural soil | 8.5553245937429E-9 kg | 8.5553245937429E-9 kg | |||
| Elementary flow | Emissions / Emissions to water / Emissions to water, unspecified (long-term) | 9.40423582501218E-7 kg | 9.40423582501218E-7 kg | |||
| Elementary flow | Emissions / Emissions to soil / Emissions to agricultural soil | 1.8824615572967E-13 kg | 1.8824615572967E-13 kg | |||
| Elementary flow | Emissions / Emissions to water / Emissions to fresh water | 1.00564860171479E-11 kg | 1.00564860171479E-11 kg | |||
| Elementary flow | Emissions / Emissions to air / Emissions to urban air close to ground | 1.95905854208257E-10 kg | 1.95905854208257E-10 kg | |||
| Elementary flow | Emissions / Emissions to air / Emissions to air, unspecified (long-term) | 2.46019005656181E-11 kg | 2.46019005656181E-11 kg | |||
| Elementary flow | Emissions / Emissions to air / Emissions to air, unspecified | 6.94039116867024E-22 kg | 6.94039116867024E-22 kg | |||
| Elementary flow | Emissions / Emissions to air / Emissions to air, unspecified | 2.85201891767934E-9 kg | 2.85201891767934E-9 kg | |||
| Elementary flow | Emissions / Emissions to water / Emissions to water, unspecified | 1.96428496021924E-15 kg | 1.96428496021924E-15 kg | |||
| Elementary flow | Emissions / Emissions to soil / Emissions to non-agricultural soil | 7.71940010467958E-6 kg | 7.71940010467958E-6 kg | |||
| Elementary flow | Emissions / Emissions to water / Emissions to sea water | 7.91637052326087E-17 kg | 7.91637052326087E-17 kg | |||
| Elementary flow | Emissions / Emissions to air / Emissions to air, unspecified | 3.83597498350154E-11 kBq | 3.83597498350154E-11 kBq | |||
| Elementary flow | Emissions / Emissions to air / Emissions to air, unspecified | 3.90134199981012E-13 kg | 3.90134199981012E-13 kg | |||
| Elementary flow | Emissions / Emissions to soil / Emissions to agricultural soil | 1.32528495010903E-10 kg | 1.32528495010903E-10 kg | |||
| Elementary flow | Emissions / Emissions to water / Emissions to fresh water | 1.6922082375836E-16 kg | 1.6922082375836E-16 kg | |||
| Elementary flow | Emissions / Emissions to soil / Emissions to agricultural soil | 4.8909659176662E-13 kg | 4.8909659176662E-13 kg | |||
| Elementary flow | Emissions / Emissions to air / Emissions to urban air close to ground | 1.24086831794209E-11 kg | 1.24086831794209E-11 kg | |||
| Elementary flow | Emissions / Emissions to water / Emissions to fresh water | 5.70665641574858E-4 kBq | 5.70665641574858E-4 kBq | |||
| Elementary flow | Emissions / Emissions to water / Emissions to fresh water | 3.29836416022976E-9 m3 | 3.29836416022976E-9 m3 | |||
| Elementary flow | Emissions / Emissions to water / Emissions to fresh water | 1.42588057185907E-13 kg | 1.42588057185907E-13 kg | |||
| Elementary flow | Emissions / Emissions to air / Emissions to air, unspecified | 2.27636172615641E-11 kg | 2.27636172615641E-11 kg | |||
| Elementary flow | Emissions / Emissions to air / Emissions to non-urban air or from high stacks | 5.69526992232328E-8 kg | 5.69526992232328E-8 kg | |||
| Elementary flow | Emissions / Emissions to soil / Emissions to non-agricultural soil | 1.02856363440298E-15 kg | 1.02856363440298E-15 kg | |||
| Elementary flow | Emissions / Emissions to water / Emissions to fresh water | 2.50055916878488E-9 kBq | 2.50055916878488E-9 kBq | |||
| Elementary flow | Emissions / Emissions to water / Emissions to fresh water | 1.53710331735812E-15 kg | 1.53710331735812E-15 kg | |||
| Elementary flow | Emissions / Emissions to air / Emissions to air, unspecified | 5.75347216791364E-12 kBq | 5.75347216791364E-12 kBq | |||
| Elementary flow | Emissions / Emissions to soil / Emissions to agricultural soil | 2.34477687877005E-27 kg | 2.34477687877005E-27 kg | |||
| Elementary flow | Emissions / Emissions to air / Emissions to air, unspecified | 6.71002805057468E-7 kg | 6.71002805057468E-7 kg | |||
| Elementary flow | Emissions / Emissions to water / Emissions to fresh water | 4.08523217695389E-8 m3 | 4.08523217695389E-8 m3 | |||
| Elementary flow | Emissions / Emissions to soil / Emissions to agricultural soil | 9.72193201579643E-11 kg | 9.72193201579643E-11 kg | |||
| Elementary flow | Emissions / Emissions to air / Emissions to urban air close to ground | 5.86955838543528E-10 kg | 5.86955838543528E-10 kg | |||
| Elementary flow | Emissions / Emissions to soil / Emissions to agricultural soil | 6.84361880844984E-12 kg | 6.84361880844984E-12 kg | |||
| Elementary flow | Emissions / Emissions to water / Emissions to fresh water | 3.75842791527114E-8 kg | 3.75842791527114E-8 kg | |||
| Elementary flow | Emissions / Emissions to air / Emissions to air, unspecified | 6.6227499694063E-10 kg | 6.6227499694063E-10 kg | |||
| Elementary flow | Emissions / Emissions to air / Emissions to air, unspecified | 0.40371713714615 kBq | 0.40371713714615 kBq | |||
| Elementary flow | Emissions / Emissions to air / Emissions to air, unspecified | 1.27999653144651E-5 kBq | 1.27999653144651E-5 kBq | |||
| Elementary flow | Emissions / Emissions to air / Emissions to air, unspecified | 6.68643647655698E-28 kg | 6.68643647655698E-28 kg | |||
| Elementary flow | Emissions / Emissions to air / Emissions to air, unspecified | 1.99396555836561E-11 kg | 1.99396555836561E-11 kg | |||
| Elementary flow | Emissions / Emissions to water / Emissions to water, unspecified (long-term) | 4.57748617680198E-4 kg | 4.57748617680198E-4 kg | |||
| Elementary flow | Emissions / Emissions to water / Emissions to water, unspecified (long-term) | 1.21835865751018E-7 kg | 1.21835865751018E-7 kg | |||
| Elementary flow | Emissions / Emissions to air / Emissions to non-urban air or from high stacks | 4.8533091715977E-14 kg | 4.8533091715977E-14 kg | |||
| Elementary flow | Emissions / Emissions to air / Emissions to air, unspecified | -1.3975792273913E-21 kg | -1.3975792273913E-21 kg | |||
| Elementary flow | Emissions / Emissions to air / Emissions to air, unspecified | 2.46390825219578E-12 kg | 2.46390825219578E-12 kg | |||
| Elementary flow | Emissions / Emissions to water / Emissions to fresh water | 1.20451093751488E-7 kBq | 1.20451093751488E-7 kBq | |||
| Elementary flow | Emissions / Emissions to water / Emissions to sea water | 7.18052466378631E-13 kg | 7.18052466378631E-13 kg | |||
| Elementary flow | Emissions / Emissions to air / Emissions to air, unspecified | 4.32149413169418E-12 kg | 4.32149413169418E-12 kg | |||
| Elementary flow | Emissions / Emissions to water / Emissions to sea water | 0.00320900600521936 kg | 0.00320900600521936 kg | |||
| Elementary flow | Emissions / Emissions to water / Emissions to fresh water | 1.75666999299368E-6 m3 | 1.75666999299368E-6 m3 | |||
| Elementary flow | Emissions / Emissions to soil / Emissions to non-agricultural soil | 3.58083241484559E-14 kg | 3.58083241484559E-14 kg | |||
| Elementary flow | Emissions / Emissions to air / Emissions to air, unspecified | 3.60931216231473E-8 kg | 3.60931216231473E-8 kg | |||
| Elementary flow | Emissions / Emissions to water / Emissions to fresh water | 4.40843930181926E-8 kg | 4.40843930181926E-8 kg | |||
| Elementary flow | Emissions / Emissions to soil / Emissions to agricultural soil | 5.65930984553569E-14 kg | 5.65930984553569E-14 kg | |||
| Elementary flow | Emissions / Emissions to air / Emissions to non-urban air or from high stacks | 4.02183470699221E-13 kg | 4.02183470699221E-13 kg | |||
| Elementary flow | Emissions / Emissions to air / Emissions to air, unspecified (long-term) | 7.13666561301576E-8 kBq | 7.13666561301576E-8 kBq | |||
| Elementary flow | Emissions / Emissions to water / Emissions to fresh water | 1.34974910042442E-4 m3 | 1.34974910042442E-4 m3 | |||
| Elementary flow | Emissions / Emissions to water / Emissions to fresh water | 2.78300655756122E-7 m3 | 2.78300655756122E-7 m3 | |||
| Elementary flow | Emissions / Emissions to water / Emissions to sea water | 0.002834536242686 MJ | 0.002834536242686 MJ | |||
| Elementary flow | Emissions / Emissions to air / Emissions to air, unspecified | 5.3477559234478E-12 kg | 5.3477559234478E-12 kg | |||
| Elementary flow | Emissions / Emissions to air / Emissions to air, unspecified | -3.39060454620192E-22 kg | -3.39060454620192E-22 kg | |||
| Elementary flow | Emissions / Emissions to air / Emissions to air, unspecified | 1.80572464807065E-9 kg | 1.80572464807065E-9 kg | |||
| Elementary flow | Emissions / Emissions to air / Emissions to air, unspecified | 3.69053860400241E-19 kg | 3.69053860400241E-19 kg | |||
| Elementary flow | Emissions / Emissions to air / Emissions to air, unspecified | 4.4952819505838E-14 kg | 4.4952819505838E-14 kg | |||
| Elementary flow | Emissions / Emissions to soil / Emissions to agricultural soil | 5.46471324540718E-17 kg | 5.46471324540718E-17 kg | |||
| Elementary flow | Emissions / Emissions to water / Emissions to fresh water | 3.11470343981383E-15 kg | 3.11470343981383E-15 kg | |||
| Elementary flow | Emissions / Emissions to water / Emissions to fresh water | 3.22262591932236E-5 m3 | 3.22262591932236E-5 m3 | |||
| Elementary flow | Emissions / Emissions to air / Emissions to air, unspecified (long-term) | 1.18418609924237E-9 kg | 1.18418609924237E-9 kg | |||
| Elementary flow | Emissions / Emissions to air / Emissions to air, unspecified | 8.46031363033368E-9 kg | 8.46031363033368E-9 kg | |||
| Elementary flow | Emissions / Emissions to soil / Emissions to agricultural soil | 2.47050247715339E-13 kg | 2.47050247715339E-13 kg | |||
| Elementary flow | Emissions / Emissions to soil / Emissions to non-agricultural soil | 5.98783038448174E-9 kg | 5.98783038448174E-9 kg | |||
| Elementary flow | Emissions / Emissions to soil / Emissions to agricultural soil | 9.21589611874738E-15 kg | 9.21589611874738E-15 kg | |||
| Elementary flow | Emissions / Emissions to water / Emissions to fresh water | 8.17556028116894E-10 m3 | 8.17556028116894E-10 m3 | |||
| Elementary flow | Emissions / Emissions to soil / Emissions to agricultural soil | 5.46695941957115E-11 kg | 5.46695941957115E-11 kg | |||
| Elementary flow | Emissions / Emissions to air / Emissions to air, unspecified | 8.32534830215065E-9 kg | 8.32534830215065E-9 kg | |||
| Elementary flow | Emissions / Emissions to soil / Emissions to agricultural soil | 6.86176734391778E-14 kg | 6.86176734391778E-14 kg | |||
| Elementary flow | Emissions / Emissions to water / Emissions to sea water | 2.06540847854789E-9 kBq | 2.06540847854789E-9 kBq | |||
| Elementary flow | Emissions / Emissions to soil / Emissions to agricultural soil | 6.06083659867486E-15 kg | 6.06083659867486E-15 kg | |||
| Elementary flow | Emissions / Emissions to air / Emissions to non-urban air or from high stacks | 9.72289761827925E-17 kg | 9.72289761827925E-17 kg | |||
| Elementary flow | Emissions / Emissions to water / Emissions to fresh water | 1.369497583927554E-12 kg | 1.369497583927554E-12 kg | |||
| Elementary flow | Emissions / Emissions to water / Emissions to fresh water | 6.366772275041254E-8 kg | 6.366772275041254E-8 kg | |||
| Elementary flow | Emissions / Emissions to air / Emissions to air, unspecified | 2.21227186335905E-4 kBq | 2.21227186335905E-4 kBq | |||
| Elementary flow | Emissions / Emissions to water / Emissions to sea water | 7.65754434932671E-9 kg | 7.65754434932671E-9 kg | |||
| Elementary flow | Emissions / Emissions to soil / Emissions to agricultural soil | 6.31458290670643E-14 kg | 6.31458290670643E-14 kg | |||
| Elementary flow | Emissions / Emissions to water / Emissions to fresh water | 2.15591001069294E-6 m3 | 2.15591001069294E-6 m3 | |||
| Elementary flow | Emissions / Emissions to water / Emissions to sea water | 5.22134908364249E-9 kg | 5.22134908364249E-9 kg | |||
| Elementary flow | Emissions / Emissions to water / Emissions to water, unspecified | 8.243802958282E-17 kg | 8.243802958282E-17 kg | |||
| Elementary flow | Emissions / Emissions to air / Emissions to air, unspecified | 9.01969457938953E-5 kBq | 9.01969457938953E-5 kBq | |||
| Elementary flow | Emissions / Emissions to water / Emissions to sea water | 7.42771636421988E-8 kg | 7.42771636421988E-8 kg | |||
| Elementary flow | Emissions / Emissions to soil / Emissions to agricultural soil | 3.30104135755038E-12 kg | 3.30104135755038E-12 kg | |||
| Elementary flow | Emissions / Emissions to air / Emissions to air, unspecified | 2.86841370164832E-13 kg | 2.86841370164832E-13 kg | |||
| Elementary flow | Emissions / Emissions to water / Emissions to fresh water | 8.74099428024952E-10 m3 | 8.74099428024952E-10 m3 | |||
| Elementary flow | Emissions / Emissions to soil / Emissions to agricultural soil | 1.42465594137995E-12 kg | 1.42465594137995E-12 kg | |||
| Elementary flow | Emissions / Emissions to soil / Emissions to non-agricultural soil | 4.73477569673392E-16 kg | 4.73477569673392E-16 kg | |||
| Elementary flow | Emissions / Emissions to air / Emissions to air, unspecified | 1.72719848937445E-7 kg | 1.72719848937445E-7 kg | |||
| Elementary flow | Emissions / Emissions to air / Emissions to air, unspecified | 1.37098189465014E-13 kg | 1.37098189465014E-13 kg | |||
| Elementary flow | Emissions / Emissions to soil / Emissions to agricultural soil | 1.04789497559411E-17 kg | 1.04789497559411E-17 kg | |||
| Elementary flow | Emissions / Emissions to water / Emissions to fresh water | 3.43897213939311E-13 kg | 3.43897213939311E-13 kg | |||
| Elementary flow | Emissions / Emissions to air / Emissions to air, unspecified | 2.4803728765112E-11 kg | 2.4803728765112E-11 kg | |||
| Elementary flow | Emissions / Emissions to soil / Emissions to agricultural soil | 7.87973701963555E-13 kg | 7.87973701963555E-13 kg | |||
| Elementary flow | Emissions / Emissions to air / Emissions to air, unspecified (long-term) | 2.58088378431091E-9 kg | 2.58088378431091E-9 kg | |||
| Elementary flow | Emissions / Emissions to air / Emissions to air, unspecified | 1.174920306859205E-13 kg | 1.174920306859205E-13 kg | |||
| Elementary flow | Emissions / Emissions to air / Emissions to air, unspecified | 1.24088432135777E-14 kg | 1.24088432135777E-14 kg | |||
| Elementary flow | Emissions / Emissions to soil / Emissions to agricultural soil | 3.18351644160682E-11 kg | 3.18351644160682E-11 kg | |||
| Elementary flow | Emissions / Emissions to soil / Emissions to non-agricultural soil | 8.19136194115902E-14 kg | 8.19136194115902E-14 kg | |||
| Elementary flow | Emissions / Emissions to air / Emissions to air, unspecified | 5.9054639739244E-4 kg | 5.9054639739244E-4 kg | |||
| Elementary flow | Emissions / Emissions to water / Emissions to fresh water | 2.20880952239188E-8 m3 | 2.20880952239188E-8 m3 | |||
| Elementary flow | Emissions / Emissions to water / Emissions to fresh water | 1.36213263255031E-13 kg | 1.36213263255031E-13 kg | |||
| Elementary flow | Emissions / Emissions to air / Emissions to air, unspecified (long-term) | 2.99761150034271E-7 kg | 2.99761150034271E-7 kg | |||
| Elementary flow | Emissions / Emissions to water / Emissions to fresh water | 1.5686669441591E-10 kg | 1.5686669441591E-10 kg | |||
| Elementary flow | Emissions / Emissions to soil / Emissions to agricultural soil | 7.20785831170505E-11 kg | 7.20785831170505E-11 kg | |||
| Elementary flow | Emissions / Emissions to water / Emissions to water, unspecified (long-term) | 2.24422283807893E-7 kg | 2.24422283807893E-7 kg | |||
| Elementary flow | Emissions / Emissions to air / Emissions to non-urban air or from high stacks | 4.53346673747212E-15 kg | 4.53346673747212E-15 kg | |||
| Elementary flow | Emissions / Emissions to soil / Emissions to agricultural soil | 2.45199050540724E-15 kg | 2.45199050540724E-15 kg | |||
| Elementary flow | Emissions / Emissions to soil / Emissions to agricultural soil | 3.11005794495E-15 kg | 3.11005794495E-15 kg | |||
| Elementary flow | Emissions / Emissions to soil / Emissions to agricultural soil | 2.1363740647362E-12 kg | 2.1363740647362E-12 kg | |||
| Elementary flow | Emissions / Emissions to soil / Emissions to agricultural soil | 4.76430034803826E-12 kg | 4.76430034803826E-12 kg | |||
| Elementary flow | Emissions / Emissions to air / Emissions to air, unspecified (long-term) | 3.63005375153818E-7 kg | 3.63005375153818E-7 kg | |||
| Elementary flow | Emissions / Emissions to water / Emissions to sea water | 9.12801234862131E-6 kBq | 9.12801234862131E-6 kBq | |||
| Elementary flow | Emissions / Emissions to air / Emissions to air, unspecified | 2.75939731003826E-17 kg | 2.75939731003826E-17 kg | |||
| Elementary flow | Emissions / Emissions to air / Emissions to air, unspecified | 7.50064923155674E-28 kg | 7.50064923155674E-28 kg | |||
| Elementary flow | Emissions / Emissions to water / Emissions to water, unspecified (long-term) | 9.6645750230262E-5 kg | 9.6645750230262E-5 kg | |||
| Elementary flow | Emissions / Emissions to air / Emissions to air, unspecified | 7.9351736149742E-6 kBq | 7.9351736149742E-6 kBq | |||
| Elementary flow | Emissions / Emissions to soil / Emissions to non-agricultural soil | 5.36304828493483E-15 kg | 5.36304828493483E-15 kg | |||
| Elementary flow | Emissions / Emissions to water / Emissions to fresh water | 2.12832005362191E-9 m3 | 2.12832005362191E-9 m3 | |||
| Elementary flow | Emissions / Emissions to water / Emissions to fresh water | 8.73080970901112E-14 kg | 8.73080970901112E-14 kg | |||
| Elementary flow | Emissions / Emissions to water / Emissions to fresh water | 6.45215599541281E-8 kg | 6.45215599541281E-8 kg | |||
| Elementary flow | Emissions / Emissions to air / Emissions to air, unspecified | 2.40825853555992E-8 kg | 2.40825853555992E-8 kg | |||
| Elementary flow | Emissions / Emissions to air / Emissions to urban air close to ground | 1.51779844423668E-10 kg | 1.51779844423668E-10 kg | |||
| Elementary flow | Emissions / Emissions to soil / Emissions to agricultural soil | 8.13420381639881E-18 kg | 8.13420381639881E-18 kg | |||
| Elementary flow | Emissions / Emissions to air / Emissions to air, unspecified | 2.25475533201927E-27 kg | 2.25475533201927E-27 kg | |||
| Elementary flow | Emissions / Emissions to air / Emissions to air, unspecified | 4.36499421561629E-27 kg | 4.36499421561629E-27 kg | |||
| Elementary flow | Emissions / Emissions to water / Emissions to fresh water | 3.28296738429591E-6 m3 | 3.28296738429591E-6 m3 | |||
| Elementary flow | Emissions / Emissions to soil / Emissions to agricultural soil | 6.61419704807369E-11 kg | 6.61419704807369E-11 kg | |||
| Elementary flow | Emissions / Emissions to air / Emissions to air, unspecified | 9.59972112634391E-12 kg | 9.59972112634391E-12 kg | |||
| Elementary flow | Emissions / Emissions to water / Emissions to water, unspecified | 3.07223484561905E-16 kg | 3.07223484561905E-16 kg | |||
| Elementary flow | Emissions / Emissions to air / Emissions to air, unspecified | 3.1713344170149E-15 kg | 3.1713344170149E-15 kg | |||
| Elementary flow | Emissions / Emissions to water / Emissions to water, unspecified | 2.68911371710211E-16 kg | 2.68911371710211E-16 kg | |||
| Elementary flow | Emissions / Emissions to water / Emissions to fresh water | 4.60509329196811E-17 kg | 4.60509329196811E-17 kg | |||
| Elementary flow | Emissions / Emissions to air / Emissions to air, unspecified | 2.13799360049132E-9 kg | 2.13799360049132E-9 kg | |||
| Elementary flow | Emissions / Emissions to air / Emissions to air, unspecified | 1.00992861494335E-5 kBq | 1.00992861494335E-5 kBq | |||
| Elementary flow | Emissions / Emissions to air / Emissions to air, unspecified | 4.90188411252467E-10 kg | 4.90188411252467E-10 kg | |||
| Elementary flow | Emissions / Emissions to water / Emissions to fresh water | -4.05877815495836E-14 kg | -4.05877815495836E-14 kg | |||
| Elementary flow | Emissions / Emissions to air / Emissions to air, unspecified | 1.5240787995949E-6 kBq | 1.5240787995949E-6 kBq | |||
| Elementary flow | Emissions / Emissions to soil / Emissions to non-agricultural soil | 7.97617239650346E-11 kg | 7.97617239650346E-11 kg | |||
| Elementary flow | Emissions / Emissions to water / Emissions to fresh water | 1.56664140009396E-6 kg | 1.56664140009396E-6 kg | |||
| Elementary flow | Emissions / Emissions to air / Emissions to air, unspecified | 6.04952971468272E-11 kg | 6.04952971468272E-11 kg | |||
| Elementary flow | Emissions / Emissions to air / Emissions to air, unspecified | 7.271108738808E-18 kg | 7.271108738808E-18 kg | |||
| Elementary flow | Emissions / Emissions to air / Emissions to air, unspecified | 1.58562642056353E-9 kg | 1.58562642056353E-9 kg | |||
| Elementary flow | Emissions / Emissions to water / Emissions to sea water | 2.10662215133533E-29 kg | 2.10662215133533E-29 kg | |||
| Elementary flow | Emissions / Emissions to air / Emissions to air, unspecified | 3.22775149665631E-10 kg | 3.22775149665631E-10 kg | |||
| Elementary flow | Emissions / Emissions to air / Emissions to air, unspecified | 0.0429479085748057 kBq | 0.0429479085748057 kBq | |||
| Waste flow | Wastes | 3.99960591485488E-7 kg | 3.99960591485488E-7 kg | |||
| Elementary flow | Emissions / Emissions to air / Emissions to air, unspecified | 1.4346512883393E-14 kg | 1.4346512883393E-14 kg | |||
| Elementary flow | Emissions / Emissions to water / Emissions to fresh water | 7.54004613297377E-10 m3 | 7.54004613297377E-10 m3 | |||
| Elementary flow | Emissions / Emissions to air / Emissions to air, unspecified (long-term) | 1.31025775088032E-10 kg | 1.31025775088032E-10 kg | |||
| Elementary flow | Emissions / Emissions to air / Emissions to urban air close to ground | 4.4955748443579E-10 kg | 4.4955748443579E-10 kg | |||
| Elementary flow | Emissions / Emissions to air / Emissions to air, unspecified | 1.96378100209529E-13 kg | 1.96378100209529E-13 kg | |||
| Elementary flow | Emissions / Emissions to soil / Emissions to non-agricultural soil | 8.88990593688289E-15 kg | 8.88990593688289E-15 kg | |||
| Elementary flow | Emissions / Emissions to air / Emissions to air, unspecified | 5.1665482091288E-21 kg | 5.1665482091288E-21 kg | |||
| Elementary flow | Emissions / Emissions to air / Emissions to air, unspecified | 1.39697114570796E-7 kg | 1.39697114570796E-7 kg | |||
| Elementary flow | Emissions / Emissions to air / Emissions to air, unspecified (long-term) | 1.62095857462009E-10 kg | 1.62095857462009E-10 kg | |||
| Elementary flow | Emissions / Emissions to soil / Emissions to agricultural soil | 5.04978531074978E-23 kg | 5.04978531074978E-23 kg | |||
| Elementary flow | Emissions / Emissions to air / Emissions to air, unspecified | 6.28686485608422E-14 kg | 6.28686485608422E-14 kg | |||
| Elementary flow | Emissions / Emissions to water / Emissions to fresh water | 1.10640689734554E-9 kg | 1.10640689734554E-9 kg | |||
| Elementary flow | Emissions / Emissions to water / Emissions to fresh water | 5.33562293031429E-15 kg | 5.33562293031429E-15 kg | |||
| Elementary flow | Emissions / Emissions to air / Emissions to lower stratosphere and upper troposphere | 8.5892770723784E-10 kg | 8.5892770723784E-10 kg | |||
| Elementary flow | Emissions / Emissions to water / Emissions to sea water | 1.18402189413284E-6 kBq | 1.18402189413284E-6 kBq | |||
| Other flow | Materials production / Other materials | 1.0 kg | 1.0 kg | |||
| Elementary flow | Emissions / Emissions to water / Emissions to fresh water | 1.86639671974467E-5 m3 | 1.86639671974467E-5 m3 | |||
| Elementary flow | Emissions / Emissions to soil / Emissions to agricultural soil | 5.42140623330704E-16 kg | 5.42140623330704E-16 kg | |||
| Elementary flow | Emissions / Emissions to soil / Emissions to agricultural soil | 5.79799099841313E-10 kg | 5.79799099841313E-10 kg | |||
| Elementary flow | Emissions / Emissions to air / Emissions to air, unspecified | 1.66287209449479E-13 kg | 1.66287209449479E-13 kg | |||
| Elementary flow | Emissions / Emissions to water / Emissions to water, unspecified | 4.63488896836357E-16 kg | 4.63488896836357E-16 kg | |||
| Elementary flow | Emissions / Emissions to water / Emissions to fresh water | 1.85125464340643E-8 kBq | 1.85125464340643E-8 kBq | |||
| Elementary flow | Emissions / Emissions to water / Emissions to fresh water | 1.78014906942955E-9 kg | 1.78014906942955E-9 kg | |||
| Elementary flow | Emissions / Emissions to air / Emissions to air, unspecified | 1.93469724513197E-10 kg | 1.93469724513197E-10 kg | |||
| Elementary flow | Emissions / Emissions to air / Emissions to air, unspecified | 1.41518666056911E-10 kg | 1.41518666056911E-10 kg | |||
| Elementary flow | Emissions / Emissions to air / Emissions to air, unspecified | 1.81667330784994E-9 kBq | 1.81667330784994E-9 kBq | |||
| Elementary flow | Emissions / Emissions to water / Emissions to water, unspecified (long-term) | 9.21989284969715E-7 kg | 9.21989284969715E-7 kg | |||
| Elementary flow | Emissions / Emissions to water / Emissions to water, unspecified | 2.34734198322221E-16 kg | 2.34734198322221E-16 kg | |||
| Elementary flow | Emissions / Emissions to water / Emissions to sea water | 0.00319574554346695 kg | 0.00319574554346695 kg | |||
| Elementary flow | Emissions / Emissions to water / Emissions to fresh water | 1.90982961314179E-5 m3 | 1.90982961314179E-5 m3 | |||
| Elementary flow | Emissions / Emissions to air / Emissions to air, unspecified | 1.44283862194551E-13 kg | 1.44283862194551E-13 kg | |||
| Elementary flow | Emissions / Emissions to soil / Emissions to agricultural soil | 1.19458904510446E-14 kg | 1.19458904510446E-14 kg | |||
| Elementary flow | Emissions / Emissions to water / Emissions to sea water | 9.28539730040399E-11 kg | 9.28539730040399E-11 kg | |||
| Elementary flow | Emissions / Emissions to air / Emissions to non-urban air or from high stacks | 1.35086081669689E-21 kg | 1.35086081669689E-21 kg | |||
| Elementary flow | Emissions / Emissions to water / Emissions to fresh water | 1.64613558951234E-15 kg | 1.64613558951234E-15 kg | |||
| Elementary flow | Emissions / Emissions to water / Emissions to water, unspecified (long-term) | 4.48200521110266E-8 kg | 4.48200521110266E-8 kg | |||
| Elementary flow | Emissions / Emissions to water / Emissions to fresh water | 5.8063317184642E-10 kg | 5.8063317184642E-10 kg | |||
| Elementary flow | Emissions / Emissions to air / Emissions to air, unspecified | 1.76184224352915E-8 kg | 1.76184224352915E-8 kg | |||
| Elementary flow | Emissions / Emissions to air / Emissions to air, unspecified | 3.85970509739655E-25 kg | 3.85970509739655E-25 kg | |||
| Elementary flow | Emissions / Emissions to air / Emissions to non-urban air or from high stacks | 7.85687063579887E-12 kg | 7.85687063579887E-12 kg | |||
| Elementary flow | Emissions / Emissions to water / Emissions to sea water | 4.45662988034058E-9 kg | 4.45662988034058E-9 kg | |||
| Elementary flow | Emissions / Emissions to air / Emissions to air, unspecified | 1.44071556108666E-13 kg | 1.44071556108666E-13 kg | |||
| Elementary flow | Emissions / Emissions to air / Emissions to lower stratosphere and upper troposphere | 1.44071556108666E-13 kg | 1.44071556108666E-13 kg | |||
| Elementary flow | Emissions / Emissions to air / Emissions to air, unspecified | 7.948102518557E-26 kg | 7.948102518557E-26 kg | |||
| Elementary flow | Emissions / Emissions to air / Emissions to non-urban air or from high stacks | 3.47300741886657E-10 kg | 3.47300741886657E-10 kg | |||
| Elementary flow | Emissions / Emissions to air / Emissions to urban air close to ground | 5.17884128365998E-9 kg | 5.17884128365998E-9 kg | |||
| Elementary flow | Emissions / Emissions to water / Emissions to fresh water | 7.90350273587182E-11 kg | 7.90350273587182E-11 kg | |||
| Elementary flow | Emissions / Emissions to water / Emissions to water, unspecified (long-term) | 5.09574645991389E-6 kg | 5.09574645991389E-6 kg | |||
| Elementary flow | Emissions / Emissions to water / Emissions to sea water | 0.00148554876244325 kBq | 0.00148554876244325 kBq | |||
| Elementary flow | Emissions / Emissions to water / Emissions to water, unspecified (long-term) | 1.28373833519517E-4 kg | 1.28373833519517E-4 kg | |||
| Elementary flow | Emissions / Emissions to air / Emissions to air, unspecified | 4.5861090215377E-8 kBq | 4.5861090215377E-8 kBq | |||
| Elementary flow | Emissions / Emissions to air / Emissions to air, unspecified | 3.9239198139119E-9 kg | 3.9239198139119E-9 kg | |||
| Elementary flow | Emissions / Emissions to water / Emissions to fresh water | 4.615099716062E-13 kg | 4.615099716062E-13 kg | |||
| Elementary flow | Emissions / Emissions to air / Emissions to air, unspecified | 4.3933421182081E-7 kBq | 4.3933421182081E-7 kBq | |||
| Elementary flow | Emissions / Emissions to water / Emissions to fresh water | 8.09871669367222E-14 kg | 8.09871669367222E-14 kg | |||
| Elementary flow | Emissions / Emissions to air / Emissions to urban air close to ground | 8.05794900614043E-15 kg | 8.05794900614043E-15 kg | |||
| Elementary flow | Emissions / Emissions to soil / Emissions to agricultural soil | 4.90718808563806E-16 kg | 4.90718808563806E-16 kg | |||
| Elementary flow | Emissions / Emissions to soil / Emissions to agricultural soil | 1.35701004523562E-16 kg | 1.35701004523562E-16 kg | |||
| Elementary flow | Emissions / Emissions to water / Emissions to sea water | 3.96512764672208E-8 kg | 3.96512764672208E-8 kg | |||
| Elementary flow | Emissions / Emissions to water / Emissions to fresh water | 0.00163878492363298 kBq | 0.00163878492363298 kBq | |||
| Elementary flow | Emissions / Emissions to air / Emissions to urban air close to ground | 5.45088358454414E-11 kg | 5.45088358454414E-11 kg | |||
| Elementary flow | Emissions / Emissions to air / Emissions to non-urban air or from high stacks | 1.23145297934404E-4 m3 | 1.23145297934404E-4 m3 | |||
| Elementary flow | Emissions / Emissions to air / Emissions to air, unspecified (long-term) | 7.93600364063766E-13 kg | 7.93600364063766E-13 kg | |||
| Elementary flow | Emissions / Emissions to soil / Emissions to non-agricultural soil | 4.99072840508447E-8 kg | 4.99072840508447E-8 kg | |||
| Elementary flow | Emissions / Emissions to water / Emissions to fresh water | 2.53417322655893E-4 kBq | 2.53417322655893E-4 kBq | |||
| Elementary flow | Emissions / Emissions to soil / Emissions to non-agricultural soil | 2.94705423266572E-11 kg | 2.94705423266572E-11 kg | |||
| Elementary flow | Emissions / Emissions to water / Emissions to fresh water | 1.03165458795356E-11 m3 | 1.03165458795356E-11 m3 | |||
| Elementary flow | Emissions / Emissions to water / Emissions to fresh water | 4.57602293864443E-13 kg | 4.57602293864443E-13 kg | |||
| Elementary flow | Emissions / Emissions to air / Emissions to air, unspecified | 3.14289677475815E-13 kg | 3.14289677475815E-13 kg | |||
| Elementary flow | Emissions / Emissions to air / Emissions to non-urban air or from high stacks | 1.16855605679216E-4 kg | 1.16855605679216E-4 kg | |||
| Elementary flow | Emissions / Emissions to air / Emissions to air, unspecified | 2.24259390771579E-11 kg | 2.24259390771579E-11 kg | |||
| Elementary flow | Emissions / Emissions to water / Emissions to fresh water | 1.15636972936463E-8 kg | 1.15636972936463E-8 kg | |||
| Elementary flow | Emissions / Emissions to air / Emissions to air, unspecified | 3.9226911992756E-15 kg | 3.9226911992756E-15 kg | |||
| Elementary flow | Emissions / Emissions to soil / Emissions to non-agricultural soil | 5.49962552580377E-14 kg | 5.49962552580377E-14 kg | |||
| Elementary flow | Emissions / Emissions to water / Emissions to fresh water | 1.8474022539092364E-5 kg | 1.8474022539092364E-5 kg | |||
| Waste flow | Wastes / Other waste | 0.0204380013401857 kg | 0.0204380013401857 kg | |||
| Elementary flow | Emissions / Emissions to water / Emissions to fresh water | 1.27201453652632E-4 m3 | 1.27201453652632E-4 m3 | |||
| Elementary flow | Emissions / Emissions to air / Emissions to air, unspecified | 6.79904067243097E-11 kg | 6.79904067243097E-11 kg | |||
| Elementary flow | Emissions / Emissions to soil / Emissions to agricultural soil | 3.57078368801153E-13 kg | 3.57078368801153E-13 kg | |||
| Elementary flow | Emissions / Emissions to water / Emissions to fresh water | 2.12170538043006E-9 kBq | 2.12170538043006E-9 kBq | |||
| Elementary flow | Emissions / Emissions to air / Emissions to air, unspecified | 1.30853585632208E-10 kg | 1.30853585632208E-10 kg | |||
| Elementary flow | Emissions / Emissions to air / Emissions to air, unspecified | -1.88635975678095E-24 kg | -1.88635975678095E-24 kg | |||
| Elementary flow | Emissions / Emissions to water / Emissions to fresh water | 1.35638245097003E-12 kg | 1.35638245097003E-12 kg | |||
| Elementary flow | Emissions / Emissions to air / Emissions to air, unspecified | 2.94073068428226E-13 kg | 2.94073068428226E-13 kg | |||
| Elementary flow | Emissions / Emissions to air / Emissions to urban air close to ground | 9.00273763340396E-7 kg | 9.00273763340396E-7 kg | |||
| Elementary flow | Emissions / Emissions to water / Emissions to fresh water | 2.30246655943611E-9 kg | 2.30246655943611E-9 kg | |||
| Elementary flow | Emissions / Emissions to water / Emissions to fresh water | 1.31121771023429E-8 kg | 1.31121771023429E-8 kg | |||
| Elementary flow | Emissions / Emissions to air / Emissions to air, unspecified (long-term) | 3.48182506540349E-8 kg | 3.48182506540349E-8 kg | |||
| Waste flow | Wastes / Other waste | 1.04684705687847E-13 kg | 1.04684705687847E-13 kg | |||
| Elementary flow | Emissions / Emissions to air / Emissions to air, unspecified | 9.00105812169837E-12 kg | 9.00105812169837E-12 kg | |||
| Elementary flow | Emissions / Emissions to water / Emissions to sea water | 3.26516020941724E-8 kg | 3.26516020941724E-8 kg | |||
| Elementary flow | Emissions / Emissions to water / Emissions to fresh water | 3.43754785034231E-10 kg | 3.43754785034231E-10 kg | |||
| Elementary flow | Emissions / Emissions to water / Emissions to fresh water | 2.09839245479715E-6 kg | 2.09839245479715E-6 kg | |||
| Elementary flow | Emissions / Emissions to water / Emissions to fresh water | -3.7679065007139E-23 kg | -3.7679065007139E-23 kg | |||
| Elementary flow | Emissions / Emissions to water / Emissions to fresh water | 1.78433471718689E-9 m3 | 1.78433471718689E-9 m3 | |||
| Elementary flow | Emissions / Emissions to soil / Emissions to agricultural soil | 2.19286126301128E-13 kg | 2.19286126301128E-13 kg | |||
| Elementary flow | Emissions / Emissions to water / Emissions to fresh water | 4.67378693915418E-6 kBq | 4.67378693915418E-6 kBq | |||
| Elementary flow | Emissions / Emissions to water / Emissions to fresh water | 6.13502193087349E-16 kg | 6.13502193087349E-16 kg | |||
| Elementary flow | Emissions / Emissions to water / Emissions to fresh water | 3.58269688019036E-6 kBq | 3.58269688019036E-6 kBq | |||
| Elementary flow | Emissions / Emissions to air / Emissions to air, unspecified | 6.96899070185346E-11 kg | 6.96899070185346E-11 kg | |||
| Elementary flow | Emissions / Emissions to air / Emissions to air, unspecified | 3.37434840234673E-11 kg | 3.37434840234673E-11 kg | |||
| Elementary flow | Emissions / Emissions to air / Emissions to air, unspecified | 2.63210707953304E-13 kg | 2.63210707953304E-13 kg | |||
| Elementary flow | Emissions / Emissions to air / Emissions to air, unspecified | 9.80894643448005E-11 kBq | 9.80894643448005E-11 kBq | |||
| Elementary flow | Emissions / Emissions to water / Emissions to water, unspecified | 5.33526411602351E-16 kg | 5.33526411602351E-16 kg | |||
| Elementary flow | Emissions / Emissions to air / Emissions to air, unspecified (long-term) | 6.92015143551952E-5 kg | 6.92015143551952E-5 kg | |||
| Elementary flow | Emissions / Emissions to air / Emissions to air, unspecified (long-term) | 1.20656482663296E-12 kg | 1.20656482663296E-12 kg | |||
| Elementary flow | Emissions / Emissions to air / Emissions to air, unspecified | 2.11044994456186E-10 kBq | 2.11044994456186E-10 kBq | |||
| Elementary flow | Emissions / Emissions to air / Emissions to air, unspecified | 5.18469314798287E-14 kg | 5.18469314798287E-14 kg | |||
| Elementary flow | Emissions / Emissions to water / Emissions to sea water | 2.03629309676961E-7 kg | 2.03629309676961E-7 kg | |||
| Elementary flow | Emissions / Emissions to air / Emissions to non-urban air or from high stacks | 6.89378180343524E-22 kg | 6.89378180343524E-22 kg | |||
| Elementary flow | Emissions / Emissions to water / Emissions to sea water | 5.199401517628E-6 kg | 5.199401517628E-6 kg | |||
| Elementary flow | Emissions / Emissions to air / Emissions to air, unspecified | 1.26094279889926E-8 kg | 1.26094279889926E-8 kg | |||
| Elementary flow | Emissions / Emissions to water / Emissions to fresh water | 4.40893228260548E-4 m3 | 4.40893228260548E-4 m3 | |||
| Elementary flow | Emissions / Emissions to soil / Emissions to agricultural soil | 4.78613995718586E-15 kg | 4.78613995718586E-15 kg | |||
| Elementary flow | Emissions / Emissions to water / Emissions to water, unspecified (long-term) | 1.65740800332775E-5 kg | 1.65740800332775E-5 kg | |||
| Elementary flow | Emissions / Emissions to water / Emissions to sea water | 1.60643831468029E-10 kg | 1.60643831468029E-10 kg | |||
| Elementary flow | Emissions / Emissions to soil / Emissions to agricultural soil | 4.61897026392496E-7 kg | 4.61897026392496E-7 kg | |||
| Elementary flow | Emissions / Emissions to water / Emissions to fresh water | -1.41894858157496E-10 m3 | -1.41894858157496E-10 m3 | |||
| Elementary flow | Emissions / Emissions to soil / Emissions to agricultural soil | 1.56271803159605E-13 kg | 1.56271803159605E-13 kg | |||
| Elementary flow | Emissions / Emissions to air / Emissions to non-urban air or from high stacks | 0.0016525816381448 kg | 0.0016525816381448 kg | |||
| Elementary flow | Emissions / Emissions to water / Emissions to fresh water | 1.15156282075343E-10 kg | 1.15156282075343E-10 kg | |||
| Elementary flow | Emissions / Emissions to air / Emissions to air, unspecified (long-term) | 3.86743622303756E-8 MJ | 3.86743622303756E-8 MJ | |||
| Elementary flow | Emissions / Emissions to air / Emissions to air, unspecified | 2.116253873284E-14 kg | 2.116253873284E-14 kg | |||
| Elementary flow | Emissions / Emissions to air / Emissions to air, unspecified | 6.54486576531236E-11 kg | 6.54486576531236E-11 kg | |||
| Elementary flow | Emissions / Emissions to water / Emissions to sea water | 1.87866655767795E-6 kBq | 1.87866655767795E-6 kBq | |||
| Elementary flow | Emissions / Emissions to water / Emissions to fresh water | 3.89857732018951E-10 m3 | 3.89857732018951E-10 m3 | |||
| Elementary flow | Emissions / Emissions to water / Emissions to fresh water | 3.80270054938695E-18 kg | 3.80270054938695E-18 kg | |||
| Elementary flow | Emissions / Emissions to soil / Emissions to non-agricultural soil | 2.16814874994031E-11 kg | 2.16814874994031E-11 kg | |||
| Elementary flow | Emissions / Emissions to air / Emissions to air, unspecified | 9.26112935374003E-12 kg | 9.26112935374003E-12 kg | |||
| Elementary flow | Emissions / Emissions to air / Emissions to air, unspecified | 1.65414744866902E-6 kg | 1.65414744866902E-6 kg | |||
| Elementary flow | Emissions / Emissions to water / Emissions to fresh water | 1.77658427130995E-9 kg | 1.77658427130995E-9 kg | |||
| Elementary flow | Emissions / Emissions to soil / Emissions to agricultural soil | 7.37181595741072E-14 kg | 7.37181595741072E-14 kg | |||
| Elementary flow | Emissions / Emissions to air / Emissions to air, unspecified | 1.98551323756576E-11 kg | 1.98551323756576E-11 kg | |||
| Elementary flow | Emissions / Emissions to soil / Emissions to agricultural soil | 2.07451931695426E-15 kg | 2.07451931695426E-15 kg | |||
| Elementary flow | Emissions / Emissions to soil / Emissions to agricultural soil | 2.14721203045087E-27 kg | 2.14721203045087E-27 kg | |||
| Elementary flow | Emissions / Emissions to water / Emissions to fresh water | 2.11836943226106E-8 m3 | 2.11836943226106E-8 m3 | |||
| Elementary flow | Emissions / Emissions to air / Emissions to urban air close to ground | 6.21008124816464E-10 kg | 6.21008124816464E-10 kg | |||
| Elementary flow | Emissions / Emissions to soil / Emissions to agricultural soil | 6.40902510388855E-8 kg | 6.40902510388855E-8 kg | |||
| Elementary flow | Emissions / Emissions to water / Emissions to water, unspecified | 6.25971379670502E-17 kg | 6.25971379670502E-17 kg | |||
| Elementary flow | Emissions / Emissions to water / Emissions to fresh water | 8.56628407640681E-5 kBq | 8.56628407640681E-5 kBq | |||
| Elementary flow | Emissions / Emissions to air / Emissions to non-urban air or from high stacks | 1.92717182183287E-8 kg | 1.92717182183287E-8 kg | |||
| Elementary flow | Emissions / Emissions to air / Emissions to urban air close to ground | 1.99657001642938E-12 kg | 1.99657001642938E-12 kg | |||
| Elementary flow | Emissions / Emissions to air / Emissions to air, unspecified | 9.71274362797191E-8 kg | 9.71274362797191E-8 kg | |||
| Elementary flow | Emissions / Emissions to water / Emissions to fresh water | 4.22601117081078E-11 kg | 4.22601117081078E-11 kg | |||
| Elementary flow | Emissions / Emissions to soil / Emissions to agricultural soil | 1.52774695759855E-16 kg | 1.52774695759855E-16 kg | |||
| Elementary flow | Emissions / Emissions to air / Emissions to air, unspecified | 3.2800045592962E-12 kg | 3.2800045592962E-12 kg | |||
| Elementary flow | Emissions / Emissions to soil / Emissions to agricultural soil | 1.62460115793631E-13 kg | 1.62460115793631E-13 kg | |||
| Elementary flow | Emissions / Emissions to air / Emissions to air, unspecified | 7.34934173050321E-6 kBq | 7.34934173050321E-6 kBq | |||
| Elementary flow | Emissions / Emissions to water / Emissions to fresh water | 2.27793547071518E-8 kBq | 2.27793547071518E-8 kBq | |||
| Elementary flow | Emissions / Emissions to water / Emissions to sea water | 6.12677818265591E-8 kg | 6.12677818265591E-8 kg | |||
| Elementary flow | Emissions / Emissions to water / Emissions to fresh water | 8.33239909991097E-14 kg | 8.33239909991097E-14 kg | |||
| Elementary flow | Emissions / Emissions to soil / Emissions to non-agricultural soil | 7.66506503132843E-10 kg | 7.66506503132843E-10 kg | |||
| Elementary flow | Emissions / Emissions to water / Emissions to water, unspecified | 1.20349580975809E-8 kg | 1.20349580975809E-8 kg | |||
| Elementary flow | Emissions / Emissions to air / Emissions to air, unspecified | 5.15355899905648E-13 kg | 5.15355899905648E-13 kg | |||
| Elementary flow | Emissions / Emissions to soil / Emissions to non-agricultural soil | 2.86930521014812E-5 kg | 2.86930521014812E-5 kg | |||
| Elementary flow | Emissions / Emissions to water / Emissions to fresh water | 4.8841728344013E-13 kg | 4.8841728344013E-13 kg | |||
| Elementary flow | Emissions / Emissions to water / Emissions to fresh water | 5.75739167599502E-7 kg | 5.75739167599502E-7 kg | |||
| Elementary flow | Emissions / Emissions to water / Emissions to fresh water | 3.46524610889207E-20 kg | 3.46524610889207E-20 kg | |||
| Elementary flow | Emissions / Emissions to air / Emissions to air, unspecified | 0.0871023774412551 kg | 0.0871023774412551 kg | |||
| Elementary flow | Emissions / Emissions to water / Emissions to fresh water | -3.15715641951776E-21 kg | -3.15715641951776E-21 kg | |||
| Elementary flow | Emissions / Emissions to water / Emissions to sea water | 3.06306813451352E-7 kg | 3.06306813451352E-7 kg | |||
| Elementary flow | Emissions / Emissions to soil / Emissions to agricultural soil | 1.29756409023596E-10 kg | 1.29756409023596E-10 kg | |||
| Elementary flow | Emissions / Emissions to air / Emissions to non-urban air or from high stacks | 1.09985727458938E-9 kg | 1.09985727458938E-9 kg | |||
| Elementary flow | Emissions / Emissions to air / Emissions to air, unspecified | 1.4558868981151E-13 kg | 1.4558868981151E-13 kg | |||
| Elementary flow | Emissions / Emissions to air / Emissions to lower stratosphere and upper troposphere | 1.4558868981151E-13 kg | 1.4558868981151E-13 kg | |||
| Elementary flow | Emissions / Emissions to water / Emissions to fresh water | 2.90610684180463E-17 kg | 2.90610684180463E-17 kg | |||
| Elementary flow | Emissions / Emissions to soil / Emissions to agricultural soil | 9.4463981471142E-10 kg | 9.4463981471142E-10 kg | |||
| Elementary flow | Emissions / Emissions to water / Emissions to fresh water | 5.13420930905647E-8 m3 | 5.13420930905647E-8 m3 | |||
| Elementary flow | Emissions / Emissions to water / Emissions to water, unspecified (long-term) | 1.0858824340349E-6 kg | 1.0858824340349E-6 kg | |||
| Elementary flow | Emissions / Emissions to water / Emissions to fresh water | 5.14845167540156E-20 kg | 5.14845167540156E-20 kg | |||
| Elementary flow | Emissions / Emissions to water / Emissions to fresh water | 2.35787687321078E-21 kg | 2.35787687321078E-21 kg | |||
| Elementary flow | Emissions / Emissions to soil / Emissions to non-agricultural soil | 1.26674863044549E-12 kg | 1.26674863044549E-12 kg | |||
| Elementary flow | Emissions / Emissions to water / Emissions to sea water | 8.30728266759241E-11 kg | 8.30728266759241E-11 kg | |||
| Elementary flow | Emissions / Emissions to water / Emissions to fresh water | 2.6575201285369E-8 kg | 2.6575201285369E-8 kg | |||
| Elementary flow | Emissions / Emissions to air / Emissions to air, unspecified | 9.73848170291043E-6 kg | 9.73848170291043E-6 kg | |||
| Elementary flow | Emissions / Emissions to air / Emissions to air, unspecified | 4.49211233753614E-6 kg | 4.49211233753614E-6 kg | |||
| Elementary flow | Emissions / Emissions to air / Emissions to air, unspecified | 6.4695111435399E-8 kg | 6.4695111435399E-8 kg | |||
| Elementary flow | Emissions / Emissions to water / Emissions to fresh water | 2.91535872508191E-5 kBq | 2.91535872508191E-5 kBq | |||
| Elementary flow | Emissions / Emissions to water / Emissions to water, unspecified (long-term) | 1.41275255826624E-6 kg | 1.41275255826624E-6 kg | |||
| Elementary flow | Emissions / Emissions to air / Emissions to non-urban air or from high stacks | 1.37012050581209E-12 kg | 1.37012050581209E-12 kg | |||
| Elementary flow | Emissions / Emissions to air / Emissions to air, unspecified | 3.90733417967697E-4 kg | 3.90733417967697E-4 kg | |||
| Elementary flow | Emissions / Emissions to water / Emissions to water, unspecified (long-term) | 9.19345396152798E-8 kg | 9.19345396152798E-8 kg | |||
| Elementary flow | Emissions / Emissions to air / Emissions to air, unspecified | 1.18998587394566E-4 kBq | 1.18998587394566E-4 kBq | |||
| Elementary flow | Emissions / Emissions to water / Emissions to water, unspecified | 4.30332458966072E-15 kg | 4.30332458966072E-15 kg | |||
| Elementary flow | Emissions / Emissions to air / Emissions to air, unspecified | 1.92889790306323E-23 kg | 1.92889790306323E-23 kg | |||
| Elementary flow | Emissions / Emissions to water / Emissions to sea water | 9.59073238581425E-9 kBq | 9.59073238581425E-9 kBq | |||
| Elementary flow | Emissions / Emissions to soil / Emissions to non-agricultural soil | 4.9980149778397E-14 kg | 4.9980149778397E-14 kg | |||
| Elementary flow | Emissions / Emissions to water / Emissions to fresh water | 7.70074404993247E-5 kBq | 7.70074404993247E-5 kBq | |||
| Elementary flow | Emissions / Emissions to soil / Emissions to agricultural soil | 2.03554459829241E-15 kg | 2.03554459829241E-15 kg | |||
| Elementary flow | Emissions / Emissions to air / Emissions to air, unspecified | 2.37689691732502E-11 kg | 2.37689691732502E-11 kg | |||
| Elementary flow | Emissions / Emissions to air / Emissions to air, unspecified | -4.38739902678903E-23 kg | -4.38739902678903E-23 kg | |||
| Elementary flow | Emissions / Emissions to water / Emissions to fresh water | 2.26318128557722E-13 kg | 2.26318128557722E-13 kg | |||
| Elementary flow | Emissions / Emissions to water / Emissions to sea water | 3.79188193003756E-11 kg | 3.79188193003756E-11 kg | |||
| Elementary flow | Emissions / Emissions to soil / Emissions to non-agricultural soil | 3.70869713327881E-15 kg | 3.70869713327881E-15 kg | |||
| Elementary flow | Emissions / Emissions to water / Emissions to sea water | 3.21175339707369E-4 kg | 3.21175339707369E-4 kg | |||
| Elementary flow | Emissions / Emissions to air / Emissions to lower stratosphere and upper troposphere | 2.28810632298003E-13 kg | 2.28810632298003E-13 kg | |||
| Elementary flow | Emissions / Emissions to water / Emissions to fresh water | 6.0385244607487E-7 kBq | 6.0385244607487E-7 kBq | |||
| Elementary flow | Emissions / Emissions to water / Emissions to fresh water | 3.58326265336362E-7 m3 | 3.58326265336362E-7 m3 | |||
| Elementary flow | Emissions / Emissions to water / Emissions to fresh water | 1.37802333407827E-10 kg | 1.37802333407827E-10 kg | |||
| Elementary flow | Emissions / Emissions to soil / Emissions to agricultural soil | 1.90758325542391E-15 kg | 1.90758325542391E-15 kg | |||
| Elementary flow | Emissions / Emissions to air / Emissions to air, unspecified | 7.03005481783308E-14 kg | 7.03005481783308E-14 kg | |||
| Elementary flow | Emissions / Emissions to water / Emissions to fresh water | 4.44110318584556E-14 kg | 4.44110318584556E-14 kg | |||
| Elementary flow | Emissions / Emissions to water / Emissions to fresh water | 7.55078386369059E-14 kg | 7.55078386369059E-14 kg | |||
| Elementary flow | Emissions / Emissions to water / Emissions to fresh water | 1.39207597720116E-17 kg | 1.39207597720116E-17 kg | |||
| Elementary flow | Emissions / Emissions to air / Emissions to air, unspecified | 7.71776084297276E-15 kg | 7.71776084297276E-15 kg | |||
| Elementary flow | Emissions / Emissions to water / Emissions to fresh water | 2.81862218004954E-12 kg | 2.81862218004954E-12 kg | |||
| Elementary flow | Emissions / Emissions to soil / Emissions to agricultural soil | 5.17252533839152E-12 kg | 5.17252533839152E-12 kg | |||
| Elementary flow | Emissions / Emissions to water / Emissions to fresh water | 3.96663066080039E-17 kg | 3.96663066080039E-17 kg | |||
| Elementary flow | Emissions / Emissions to air / Emissions to air, unspecified | 5.12348216820333E-13 kBq | 5.12348216820333E-13 kBq | |||
| Elementary flow | Emissions / Emissions to air / Emissions to air, unspecified (long-term) | 9.62255384193961E-11 kg | 9.62255384193961E-11 kg | |||
| Elementary flow | Emissions / Emissions to air / Emissions to non-urban air or from high stacks | 4.16939432628109E-8 kg | 4.16939432628109E-8 kg | |||
| Elementary flow | Emissions / Emissions to water / Emissions to fresh water | 5.73985568952563E-16 kg | 5.73985568952563E-16 kg | |||
| Elementary flow | Emissions / Emissions to soil / Emissions to agricultural soil | 1.94066705588527E-14 kg | 1.94066705588527E-14 kg | |||
| Elementary flow | Emissions / Emissions to soil / Emissions to non-agricultural soil | 1.59386137338176E-11 kg | 1.59386137338176E-11 kg | |||
| Elementary flow | Emissions / Emissions to soil / Emissions to agricultural soil | 6.27062767243317E-11 kg | 6.27062767243317E-11 kg | |||
| Elementary flow | Emissions / Emissions to air / Emissions to air, unspecified | 6.79402231356562E-11 kg | 6.79402231356562E-11 kg | |||
| Elementary flow | Emissions / Emissions to water / Emissions to fresh water | 2.76725543253811E-10 kg | 2.76725543253811E-10 kg | |||
| Elementary flow | Emissions / Emissions to soil / Emissions to agricultural soil | 7.25980490468504E-15 kg | 7.25980490468504E-15 kg | |||
| Elementary flow | Emissions / Emissions to water / Emissions to fresh water | 6.12191716943711E-10 m3 | 6.12191716943711E-10 m3 | |||
| Elementary flow | Emissions / Emissions to air / Emissions to air, unspecified | 2.35916091376964E-12 kg | 2.35916091376964E-12 kg | |||
| Elementary flow | Emissions / Emissions to soil / Emissions to non-agricultural soil | 1.13111960914169E-8 kg | 1.13111960914169E-8 kg | |||
| Waste flow | Wastes / Radioactive waste | 1.7173042219188E-8 kg | 1.7173042219188E-8 kg | |||
| Elementary flow | Emissions / Emissions to water / Emissions to sea water | 0.00103019403574769 kg | 0.00103019403574769 kg | |||
| Elementary flow | Emissions / Emissions to soil / Emissions to agricultural soil | 1.19426991200474E-13 kg | 1.19426991200474E-13 kg | |||
| Elementary flow | Emissions / Emissions to water / Emissions to water, unspecified (long-term) | 3.03363246035806E-8 kg | 3.03363246035806E-8 kg | |||
| Elementary flow | Emissions / Emissions to soil / Emissions to agricultural soil | 2.46884712087943E-10 kg | 2.46884712087943E-10 kg | |||
| Elementary flow | Emissions / Emissions to water / Emissions to fresh water | 8.73526122208913E-22 kg | 8.73526122208913E-22 kg | |||
| Elementary flow | Emissions / Emissions to water / Emissions to fresh water | 2.89402017689662E-7 kg | 2.89402017689662E-7 kg | |||
| Elementary flow | Emissions / Emissions to water / Emissions to sea water | 5.24087719450866E-8 kg | 5.24087719450866E-8 kg | |||
| Elementary flow | Emissions / Emissions to air / Emissions to air, unspecified | 3.18477539568462E-6 kBq | 3.18477539568462E-6 kBq | |||
| Elementary flow | Emissions / Emissions to soil / Emissions to agricultural soil | 4.88574990867921E-12 kg | 4.88574990867921E-12 kg | |||
| Elementary flow | Emissions / Emissions to water / Emissions to water, unspecified | 2.25703736251562E-18 kg | 2.25703736251562E-18 kg | |||
| Elementary flow | Emissions / Emissions to water / Emissions to sea water | 8.55200255792462E-8 kg | 8.55200255792462E-8 kg | |||
| Elementary flow | Emissions / Emissions to air / Emissions to non-urban air or from high stacks | 6.24010085036623E-14 kg | 6.24010085036623E-14 kg | |||
| Elementary flow | Emissions / Emissions to water / Emissions to water, unspecified | 5.14422430205541E-16 kg | 5.14422430205541E-16 kg | |||
| Elementary flow | Emissions / Emissions to soil / Emissions to agricultural soil | 4.44169354227792E-12 kg | 4.44169354227792E-12 kg | |||
| Elementary flow | Emissions / Emissions to air / Emissions to air, unspecified | 1.09036458878558E-12 kg | 1.09036458878558E-12 kg | |||
| Elementary flow | Emissions / Emissions to soil / Emissions to non-agricultural soil | 5.0573791397337E-10 kg | 5.0573791397337E-10 kg | |||
| Elementary flow | Emissions / Emissions to water / Emissions to fresh water | 5.0584517921282E-18 kg | 5.0584517921282E-18 kg | |||
| Elementary flow | Emissions / Emissions to air / Emissions to air, unspecified | 5.90997106779348E-7 kBq | 5.90997106779348E-7 kBq | |||
| Elementary flow | Emissions / Emissions to soil / Emissions to non-agricultural soil | 2.02372644762908E-6 kg | 2.02372644762908E-6 kg | |||
| Elementary flow | Emissions / Emissions to water / Emissions to fresh water | -2.61472111177895E-20 kg | -2.61472111177895E-20 kg | |||
| Elementary flow | Emissions / Emissions to air / Emissions to urban air close to ground | 4.44239334889602E-9 kg | 4.44239334889602E-9 kg | |||
| Elementary flow | Emissions / Emissions to soil / Emissions to agricultural soil | 3.56646364854171E-13 kg | 3.56646364854171E-13 kg | |||
| Elementary flow | Emissions / Emissions to air / Emissions to air, unspecified (long-term) | 4.48011121090216E-4 kg | 4.48011121090216E-4 kg | |||
| Elementary flow | Emissions / Emissions to air / Emissions to air, unspecified | 6.88039239956143E-14 kg | 6.88039239956143E-14 kg | |||
| Elementary flow | Emissions / Emissions to soil / Emissions to agricultural soil | 6.8059134753323E-15 kg | 6.8059134753323E-15 kg | |||
| Elementary flow | Emissions / Emissions to air / Emissions to air, unspecified | 0.0475691165162568 kBq | 0.0475691165162568 kBq | |||
| Elementary flow | Emissions / Emissions to soil / Emissions to agricultural soil | 3.3288489406951E-14 kg | 3.3288489406951E-14 kg | |||
| Elementary flow | Emissions / Emissions to air / Emissions to urban air close to ground | 9.19041955763789E-9 kg | 9.19041955763789E-9 kg | |||
| Elementary flow | Emissions / Emissions to water / Emissions to fresh water | 5.68773566090224E-11 m3 | 5.68773566090224E-11 m3 | |||
| Elementary flow | Emissions / Emissions to soil / Emissions to agricultural soil | 1.12726358731424E-11 kg | 1.12726358731424E-11 kg | |||
| Elementary flow | Emissions / Emissions to air / Emissions to urban air close to ground | 5.58715149505628E-11 kg | 5.58715149505628E-11 kg | |||
| Elementary flow | Emissions / Emissions to air / Emissions to air, unspecified | 8.6396806694352E-11 kg | 8.6396806694352E-11 kg | |||
| Elementary flow | Emissions / Emissions to soil / Emissions to agricultural soil | 2.55656981338044E-15 kg | 2.55656981338044E-15 kg | |||
| Elementary flow | Emissions / Emissions to water / Emissions to fresh water | 3.80228509400352E-8 m3 | 3.80228509400352E-8 m3 | |||
| Elementary flow | Emissions / Emissions to water / Emissions to sea water | 2.06752915143723E-7 kBq | 2.06752915143723E-7 kBq | |||
| Elementary flow | Emissions / Emissions to water / Emissions to fresh water | 9.36328110531049E-13 kg | 9.36328110531049E-13 kg | |||
| Elementary flow | Emissions / Emissions to soil / Emissions to agricultural soil | 6.25583648972961E-14 kg | 6.25583648972961E-14 kg | |||
| Elementary flow | Emissions / Emissions to water / Emissions to fresh water | 1.17230413607951E-7 m3 | 1.17230413607951E-7 m3 | |||
| Elementary flow | Emissions / Emissions to air / Emissions to air, unspecified | 6.94738738370025E-8 kg | 6.94738738370025E-8 kg | |||
| Elementary flow | Emissions / Emissions to water / Emissions to fresh water | 4.0211203926602E-17 kg | 4.0211203926602E-17 kg | |||
| Elementary flow | Emissions / Emissions to water / Emissions to fresh water | 1.49156216329512E-17 kg | 1.49156216329512E-17 kg | |||
| Elementary flow | Emissions / Emissions to water / Emissions to fresh water | 6.27605416228169E-9 kg | 6.27605416228169E-9 kg | |||
| Elementary flow | Emissions / Emissions to air / Emissions to non-urban air or from high stacks | 2.78970627492827E-13 kg | 2.78970627492827E-13 kg | |||
| Elementary flow | Emissions / Emissions to water / Emissions to sea water | 3.96246129217994E-20 kg | 3.96246129217994E-20 kg | |||
| Elementary flow | Emissions / Emissions to water / Emissions to sea water | 3.82319721035163E-11 kg | 3.82319721035163E-11 kg | |||
| Elementary flow | Emissions / Emissions to water / Emissions to fresh water | 1.38594943893359E-15 kg | 1.38594943893359E-15 kg | |||
| Elementary flow | Emissions / Emissions to air / Emissions to air, unspecified (long-term) | 3.3077191376139E-7 kg | 3.3077191376139E-7 kg | |||
| Elementary flow | Emissions / Emissions to water / Emissions to water, unspecified (long-term) | 0.0105291310602365 kg | 0.0105291310602365 kg | |||
| Elementary flow | Emissions / Emissions to water / Emissions to water, unspecified | 5.3278568175308E-16 kg | 5.3278568175308E-16 kg | |||
| Elementary flow | Emissions / Emissions to soil / Emissions to agricultural soil | 1.38556072263897E-8 kg | 1.38556072263897E-8 kg | |||
| Elementary flow | Emissions / Emissions to water / Emissions to fresh water | 3.32406150968475E-7 kg | 3.32406150968475E-7 kg | |||
| Elementary flow | Emissions / Emissions to water / Emissions to fresh water | 4.33813884176294E-11 kBq | 4.33813884176294E-11 kBq | |||
| Elementary flow | Emissions / Emissions to air / Emissions to air, unspecified | 2.47681609109584E-9 kBq | 2.47681609109584E-9 kBq | |||
| Elementary flow | Emissions / Emissions to water / Emissions to fresh water | 6.25149992327404E-12 kg | 6.25149992327404E-12 kg | |||
| Elementary flow | Emissions / Emissions to air / Emissions to urban air close to ground | 8.04649342512542E-9 kg | 8.04649342512542E-9 kg | |||
| Elementary flow | Emissions / Emissions to air / Emissions to air, unspecified | 5.50150311558761E-14 kg | 5.50150311558761E-14 kg | |||
| Elementary flow | Emissions / Emissions to soil / Emissions to agricultural soil | 4.55709558247299E-14 kg | 4.55709558247299E-14 kg | |||
| Elementary flow | Emissions / Emissions to water / Emissions to fresh water | -1.14602869961004E-20 kg | -1.14602869961004E-20 kg | |||
| Elementary flow | Emissions / Emissions to soil / Emissions to agricultural soil | 2.69910645695855E-14 kg | 2.69910645695855E-14 kg | |||
| Elementary flow | Emissions / Emissions to air / Emissions to air, unspecified | 7.72921654013161E-10 kg | 7.72921654013161E-10 kg | |||
| Elementary flow | Emissions / Emissions to soil / Emissions to non-agricultural soil | 3.47089534143678E-15 kg | 3.47089534143678E-15 kg | |||
| Elementary flow | Emissions / Emissions to water / Emissions to fresh water | 8.96657045501093E-16 kg | 8.96657045501093E-16 kg | |||
| Elementary flow | Emissions / Emissions to soil / Emissions to agricultural soil | 5.26529350432264E-14 kg | 5.26529350432264E-14 kg | |||
| Elementary flow | Emissions / Emissions to air / Emissions to air, unspecified | 3.4610618226049E-10 kg | 3.4610618226049E-10 kg | |||
| Elementary flow | Emissions / Emissions to soil / Emissions to non-agricultural soil | 5.18926353733766E-18 kg | 5.18926353733766E-18 kg | |||
| Elementary flow | Emissions / Emissions to air / Emissions to urban air close to ground | 8.2078256032971E-9 kg | 8.2078256032971E-9 kg | |||
| Elementary flow | Emissions / Emissions to air / Emissions to air, unspecified | 1.11132881979219E-13 kg | 1.11132881979219E-13 kg | |||
| Elementary flow | Emissions / Emissions to water / Emissions to water, unspecified | 9.91275691517078E-16 kg | 9.91275691517078E-16 kg | |||
| Elementary flow | Emissions / Emissions to soil / Emissions to agricultural soil | 1.32984451258803E-10 kg | 1.32984451258803E-10 kg | |||
| Elementary flow | Emissions / Emissions to water / Emissions to water, unspecified (long-term) | 4.63719706758462E-10 kg | 4.63719706758462E-10 kg | |||
| Elementary flow | Emissions / Emissions to air / Emissions to air, unspecified | 1.57191379975495E-18 kg | 1.57191379975495E-18 kg | |||
| Elementary flow | Emissions / Emissions to soil / Emissions to non-agricultural soil | 1.80419209270197E-12 kg | 1.80419209270197E-12 kg | |||
| Elementary flow | Emissions / Emissions to soil / Emissions to agricultural soil | 5.26119791074838E-13 kg | 5.26119791074838E-13 kg | |||
| Elementary flow | Emissions / Emissions to air / Emissions to lower stratosphere and upper troposphere | 4.72375032857843E-16 kg | 4.72375032857843E-16 kg | |||
| Elementary flow | Emissions / Emissions to soil / Emissions to non-agricultural soil | 1.27655929977241E-13 kg | 1.27655929977241E-13 kg | |||
| Elementary flow | Emissions / Emissions to soil / Emissions to non-agricultural soil | 4.55367668014497E-6 kg | 4.55367668014497E-6 kg | |||
| Elementary flow | Emissions / Emissions to air / Emissions to air, unspecified | 1.63660365469962E-11 kg | 1.63660365469962E-11 kg | |||
| Elementary flow | Emissions / Emissions to soil / Emissions to agricultural soil | 9.00543455947239E-14 kg | 9.00543455947239E-14 kg | |||
| Elementary flow | Emissions / Emissions to soil / Emissions to agricultural soil | 8.18559363738405E-14 kg | 8.18559363738405E-14 kg | |||
| Elementary flow | Emissions / Emissions to soil / Emissions to non-agricultural soil | 1.78637911712636E-14 kg | 1.78637911712636E-14 kg | |||
| Elementary flow | Emissions / Emissions to air / Emissions to urban air close to ground | 8.93363944538508E-13 kg | 8.93363944538508E-13 kg | |||
| Elementary flow | Emissions / Emissions to air / Emissions to air, unspecified | 1.12147436442545E-10 kg | 1.12147436442545E-10 kg | |||
| Elementary flow | Emissions / Emissions to soil / Emissions to non-agricultural soil | 2.13015507872528E-14 kg | 2.13015507872528E-14 kg | |||
| Elementary flow | Emissions / Emissions to soil / Emissions to agricultural soil | 2.01765999211114E-17 kg | 2.01765999211114E-17 kg | |||
| Elementary flow | Emissions / Emissions to water / Emissions to fresh water | 4.06084588895793E-21 kg | 4.06084588895793E-21 kg | |||
| Elementary flow | Emissions / Emissions to soil / Emissions to agricultural soil | 1.3144836022351E-14 kg | 1.3144836022351E-14 kg | |||
| Elementary flow | Emissions / Emissions to soil / Emissions to agricultural soil | 1.24664141926177E-12 kg | 1.24664141926177E-12 kg | |||
| Elementary flow | Emissions / Emissions to water / Emissions to fresh water | 2.38232782828541E-7 m3 | 2.38232782828541E-7 m3 | |||
| Elementary flow | Emissions / Emissions to soil / Emissions to non-agricultural soil | 1.43448306381168E-15 kg | 1.43448306381168E-15 kg | |||
| Elementary flow | Emissions / Emissions to soil / Emissions to agricultural soil | 6.02352814727848E-16 kg | 6.02352814727848E-16 kg | |||
| Elementary flow | Emissions / Emissions to air / Emissions to air, unspecified | 5.91153273802743E-7 kBq | 5.91153273802743E-7 kBq | |||
| Elementary flow | Emissions / Emissions to soil / Emissions to agricultural soil | 4.82832659874172E-16 kg | 4.82832659874172E-16 kg | |||
| Elementary flow | Emissions / Emissions to water / Emissions to fresh water | 5.73605408226643E-6 kg | 5.73605408226643E-6 kg | |||
| Elementary flow | Emissions / Emissions to water / Emissions to fresh water | -2.27214959390208E-8 m3 | -2.27214959390208E-8 m3 | |||
| Elementary flow | Emissions / Emissions to air / Emissions to air, unspecified (long-term) | 1.30672680053446E-15 kg | 1.30672680053446E-15 kg | |||
| Elementary flow | Emissions / Emissions to water / Emissions to water, unspecified | 9.84286438206396E-15 kg | 9.84286438206396E-15 kg | |||
| Elementary flow | Emissions / Emissions to air / Emissions to air, unspecified | 6.58158138634316E-8 kBq | 6.58158138634316E-8 kBq | |||
| Elementary flow | Emissions / Emissions to soil / Emissions to agricultural soil | 5.61507960961437E-13 kg | 5.61507960961437E-13 kg | |||
| Elementary flow | Emissions / Emissions to soil / Emissions to agricultural soil | 1.75490782007125E-6 kg | 1.75490782007125E-6 kg | |||
| Elementary flow | Emissions / Emissions to water / Emissions to fresh water | 1.69100234158298E-18 kg | 1.69100234158298E-18 kg | |||
| Elementary flow | Emissions / Emissions to air / Emissions to non-urban air or from high stacks | 1.0273111090123E-9 kg | 1.0273111090123E-9 kg | |||
| Elementary flow | Emissions / Emissions to water / Emissions to water, unspecified (long-term) | 1.7616205279054E-4 kg | 1.7616205279054E-4 kg | |||
| Elementary flow | Emissions / Emissions to water / Emissions to fresh water | 8.51767098060305E-6 m3 | 8.51767098060305E-6 m3 | |||
| Elementary flow | Emissions / Emissions to soil / Emissions to agricultural soil | 7.84884663719917E-16 kg | 7.84884663719917E-16 kg | |||
| Elementary flow | Emissions / Emissions to air / Emissions to non-urban air or from high stacks | 2.79586069171851E-7 kg | 2.79586069171851E-7 kg | |||
| Elementary flow | Emissions / Emissions to water / Emissions to sea water | 1.08418065393588E-12 kg | 1.08418065393588E-12 kg | |||
| Elementary flow | Emissions / Emissions to water / Emissions to fresh water | 4.89922630175164E-9 kBq | 4.89922630175164E-9 kBq | |||
| Elementary flow | Emissions / Emissions to water / Emissions to water, unspecified | 3.99161604048458E-17 kg | 3.99161604048458E-17 kg | |||
| Elementary flow | Emissions / Emissions to air / Emissions to air, unspecified | 3.23731212754461E-14 kg | 3.23731212754461E-14 kg | |||
| Elementary flow | Emissions / Emissions to water / Emissions to fresh water | 1.35795986616979E-5 kBq | 1.35795986616979E-5 kBq | |||
| Elementary flow | Emissions / Emissions to air / Emissions to urban air close to ground | 1.13726699878279E-8 kg | 1.13726699878279E-8 kg | |||
| Elementary flow | Emissions / Emissions to water / Emissions to fresh water | 3.29108019203366E-11 m3 | 3.29108019203366E-11 m3 | |||
| Elementary flow | Emissions / Emissions to air / Emissions to non-urban air or from high stacks | 8.05236944950937E-15 kg | 8.05236944950937E-15 kg | |||
| Elementary flow | Emissions / Emissions to water / Emissions to fresh water | 8.373031850421E-17 kg | 8.373031850421E-17 kg | |||
| Elementary flow | Emissions / Emissions to water / Emissions to fresh water | 2.66116275856301E-13 kg | 2.66116275856301E-13 kg | |||
| Elementary flow | Emissions / Emissions to water / Emissions to water, unspecified | 1.08894620071617E-17 kg | 1.08894620071617E-17 kg | |||
| Elementary flow | Emissions / Emissions to water / Emissions to fresh water | 4.58844331314003E-8 kg | 4.58844331314003E-8 kg | |||
| Elementary flow | Emissions / Emissions to soil / Emissions to agricultural soil | 2.99673112531696E-16 kg | 2.99673112531696E-16 kg | |||
| Elementary flow | Emissions / Emissions to air / Emissions to air, unspecified | 2.13554367168895E-23 kg | 2.13554367168895E-23 kg | |||
| Elementary flow | Emissions / Emissions to water / Emissions to fresh water | 2.09242869827147E-6 kg | 2.09242869827147E-6 kg | |||
| Elementary flow | Emissions / Emissions to water / Emissions to sea water | 2.3664129570171E-6 kg | 2.3664129570171E-6 kg | |||
| Elementary flow | Emissions / Emissions to air / Emissions to air, unspecified | 1.01143201302678E-8 kBq | 1.01143201302678E-8 kBq | |||
| Elementary flow | Emissions / Emissions to air / Emissions to air, unspecified | 3.39583969854168E-9 kg | 3.39583969854168E-9 kg | |||
| Elementary flow | Emissions / Emissions to water / Emissions to fresh water | 0.00215970056184199 kg | 0.00215970056184199 kg | |||
| Elementary flow | Emissions / Emissions to soil / Emissions to agricultural soil | 1.3861413190524E-10 kg | 1.3861413190524E-10 kg | |||
| Elementary flow | Emissions / Emissions to soil / Emissions to agricultural soil | 5.38179413637135E-10 kg | 5.38179413637135E-10 kg | |||
| Elementary flow | Emissions / Emissions to air / Emissions to air, unspecified | 1.82402788300077E-13 kg | 1.82402788300077E-13 kg | |||
| Elementary flow | Emissions / Emissions to air / Emissions to air, unspecified | 4.69492666664651E-14 kg | 4.69492666664651E-14 kg | |||
| Elementary flow | Emissions / Emissions to water / Emissions to fresh water | 1.2124942310612E-4 m3 | 1.2124942310612E-4 m3 | |||
| Elementary flow | Emissions / Emissions to air / Emissions to non-urban air or from high stacks | 2.48024242627555E-7 kg | 2.48024242627555E-7 kg | |||
| Elementary flow | Emissions / Emissions to soil / Emissions to agricultural soil | 1.20633158018714E-9 kg | 1.20633158018714E-9 kg | |||
| Elementary flow | Emissions / Emissions to water / Emissions to sea water | 7.13465081309667E-7 kBq | 7.13465081309667E-7 kBq | |||
| Elementary flow | Emissions / Emissions to soil / Emissions to agricultural soil | 4.70444660022758E-16 kg | 4.70444660022758E-16 kg | |||
| Elementary flow | Emissions / Emissions to water / Emissions to fresh water | 4.92462110840655E-8 m3 | 4.92462110840655E-8 m3 | |||
| Elementary flow | Emissions / Emissions to air / Emissions to air, unspecified | 0.247409493198583 kg | 0.247409493198583 kg | |||
| Elementary flow | Emissions / Emissions to soil / Emissions to agricultural soil | 1.51620300082317E-10 kg | 1.51620300082317E-10 kg | |||
| Waste flow | Wastes / Other waste | 0.00216545666591949 kg | 0.00216545666591949 kg | |||
| Elementary flow | Emissions / Emissions to soil / Emissions to agricultural soil | 3.82963531712614E-13 kg | 3.82963531712614E-13 kg | |||
| Elementary flow | Emissions / Emissions to water / Emissions to water, unspecified | 6.5423279780148E-16 kg | 6.5423279780148E-16 kg | |||
| Elementary flow | Emissions / Emissions to air / Emissions to air, unspecified | 1.51595668243001E-4 kg | 1.51595668243001E-4 kg | |||
| Elementary flow | Emissions / Emissions to soil / Emissions to agricultural soil | 5.8026300182017E-15 kg | 5.8026300182017E-15 kg | |||
| Elementary flow | Emissions / Emissions to air / Emissions to air, unspecified | 5.33870261626636E-7 kg | 5.33870261626636E-7 kg | |||
| Elementary flow | Emissions / Emissions to water / Emissions to water, unspecified | 2.99572919523433E-17 kg | 2.99572919523433E-17 kg | |||
| Elementary flow | Emissions / Emissions to water / Emissions to fresh water | 1.92837573554504E-6 kg | 1.92837573554504E-6 kg | |||
| Elementary flow | Emissions / Emissions to water / Emissions to fresh water | 3.16889157664694E-10 kg | 3.16889157664694E-10 kg | |||
| Elementary flow | Emissions / Emissions to water / Emissions to fresh water | 5.55134435623664E-9 m3 | 5.55134435623664E-9 m3 | |||
| Elementary flow | Emissions / Emissions to air / Emissions to air, unspecified (long-term) | 3.61115274515174E-7 kBq | 3.61115274515174E-7 kBq | |||
| Elementary flow | Emissions / Emissions to water / Emissions to water, unspecified | 1.18560276936455E-15 kg | 1.18560276936455E-15 kg | |||
| Elementary flow | Emissions / Emissions to water / Emissions to fresh water | 2.41721259588027E-8 kg | 2.41721259588027E-8 kg | |||
| Elementary flow | Emissions / Emissions to water / Emissions to fresh water | 2.42125056730199E-7 m3 | 2.42125056730199E-7 m3 | |||
| Elementary flow | Emissions / Emissions to water / Emissions to fresh water | 2.30732673120129E-5 m3 | 2.30732673120129E-5 m3 | |||
| Elementary flow | Emissions / Emissions to water / Emissions to fresh water | 8.98305133629081E-7 m3 | 8.98305133629081E-7 m3 | |||
| Elementary flow | Emissions / Emissions to air / Emissions to air, unspecified | 1.50446989897917E-7 kg | 1.50446989897917E-7 kg | |||
| Elementary flow | Emissions / Emissions to water / Emissions to fresh water | 4.04584801728091E-5 kg | 4.04584801728091E-5 kg | |||
| Elementary flow | Emissions / Emissions to air / Emissions to air, unspecified | 5.46668521927579E-13 kg | 5.46668521927579E-13 kg | |||
| Elementary flow | Emissions / Emissions to water / Emissions to fresh water | 3.19860909648029E-21 kg | 3.19860909648029E-21 kg | |||
| Elementary flow | Emissions / Emissions to water / Emissions to sea water | 0.00996271732397753 kg | 0.00996271732397753 kg | |||
| Elementary flow | Emissions / Emissions to water / Emissions to fresh water | 1.43258402297436E-9 kg | 1.43258402297436E-9 kg | |||
| Elementary flow | Emissions / Emissions to soil / Emissions to non-agricultural soil | 2.4372614017131E-13 kg | 2.4372614017131E-13 kg | |||
| Elementary flow | Emissions / Emissions to soil / Emissions to agricultural soil | 2.39663910392321E-15 kg | 2.39663910392321E-15 kg | |||
| Elementary flow | Emissions / Emissions to soil / Emissions to agricultural soil | 5.75171625724168E-13 kg | 5.75171625724168E-13 kg | |||
| Elementary flow | Emissions / Emissions to water / Emissions to sea water | 1.26818202364601E-16 kg | 1.26818202364601E-16 kg | |||
| Elementary flow | Emissions / Emissions to water / Emissions to fresh water | 6.7317882066441E-22 kg | 6.7317882066441E-22 kg | |||
| Elementary flow | Emissions / Emissions to water / Emissions to fresh water | 8.16750651403655E-7 kg | 8.16750651403655E-7 kg | |||
| Elementary flow | Emissions / Emissions to air / Emissions to air, unspecified | 9.44139910105782E-5 kBq | 9.44139910105782E-5 kBq | |||
| Elementary flow | Emissions / Emissions to water / Emissions to fresh water | 1.22736320635402E-14 kg | 1.22736320635402E-14 kg | |||
| Elementary flow | Emissions / Emissions to water / Emissions to fresh water | 7.85741041700442E-9 kg | 7.85741041700442E-9 kg | |||
| Elementary flow | Emissions / Emissions to air / Emissions to air, unspecified | 3.17080061068202E-27 kg | 3.17080061068202E-27 kg | |||
| Elementary flow | Emissions / Emissions to soil / Emissions to non-agricultural soil | 3.78861899540749E-7 kg | 3.78861899540749E-7 kg | |||
| Elementary flow | Emissions / Emissions to air / Emissions to non-urban air or from high stacks | 1.04488777870805E-4 kg | 1.04488777870805E-4 kg | |||
| Elementary flow | Emissions / Emissions to water / Emissions to fresh water | 1.73494258633804E-14 kg | 1.73494258633804E-14 kg | |||
| Elementary flow | Emissions / Emissions to soil / Emissions to agricultural soil | 8.79154316773902E-13 kg | 8.79154316773902E-13 kg | |||
| Elementary flow | Emissions / Emissions to air / Emissions to air, unspecified (long-term) | 1.97423971019438E-8 kg | 1.97423971019438E-8 kg | |||
| Elementary flow | Emissions / Emissions to air / Emissions to air, unspecified | 9.06309999271843E-11 kg | 9.06309999271843E-11 kg | |||
| Elementary flow | Emissions / Emissions to water / Emissions to fresh water | 8.01243829629387E-7 m3 | 8.01243829629387E-7 m3 | |||
| Elementary flow | Emissions / Emissions to air / Emissions to urban air close to ground | 2.48627762434451E-9 kg | 2.48627762434451E-9 kg | |||
| Elementary flow | Emissions / Emissions to water / Emissions to fresh water | 0.00219883067276102 kBq | 0.00219883067276102 kBq | |||
| Elementary flow | Emissions / Emissions to air / Emissions to non-urban air or from high stacks | 0.00123089709245747 kg | 0.00123089709245747 kg | |||
| Elementary flow | Emissions / Emissions to air / Emissions to air, unspecified | 5.38178804878783E-10 kg | 5.38178804878783E-10 kg | |||
| Elementary flow | Emissions / Emissions to water / Emissions to fresh water | 1.38406722170402E-8 kBq | 1.38406722170402E-8 kBq | |||
| Elementary flow | Emissions / Emissions to water / Emissions to sea water | 1.04621156919272E-7 kg | 1.04621156919272E-7 kg | |||
| Elementary flow | Emissions / Emissions to water / Emissions to fresh water | 1.11852743052589E-6 kBq | 1.11852743052589E-6 kBq | |||
| Elementary flow | Emissions / Emissions to soil / Emissions to non-agricultural soil | 2.99158528460813E-15 kg | 2.99158528460813E-15 kg | |||
| Elementary flow | Emissions / Emissions to soil / Emissions to agricultural soil | 9.2082560008172E-9 kg | 9.2082560008172E-9 kg | |||
| Elementary flow | Emissions / Emissions to air / Emissions to air, unspecified | 2.70935193397105E-9 kg | 2.70935193397105E-9 kg | |||
| Elementary flow | Emissions / Emissions to air / Emissions to air, unspecified | 6.78988152429623E-16 kg | 6.78988152429623E-16 kg | |||
| Elementary flow | Emissions / Emissions to air / Emissions to urban air close to ground | 2.78915972152078E-6 kg | 2.78915972152078E-6 kg | |||
| Elementary flow | Emissions / Emissions to air / Emissions to air, unspecified | 4.36235362134671E-18 kg | 4.36235362134671E-18 kg | |||
| Elementary flow | Emissions / Emissions to water / Emissions to fresh water | 1.03750758061632E-12 kg | 1.03750758061632E-12 kg | |||
| Elementary flow | Emissions / Emissions to soil / Emissions to non-agricultural soil | 3.90101688059898E-14 kg | 3.90101688059898E-14 kg | |||
| Elementary flow | Emissions / Emissions to air / Emissions to air, unspecified | -3.19485339464631E-14 kg | -3.19485339464631E-14 kg | |||
| Elementary flow | Emissions / Emissions to soil / Emissions to agricultural soil | 2.12229019477319E-14 kg | 2.12229019477319E-14 kg | |||
| Elementary flow | Emissions / Emissions to air / Emissions to air, unspecified | 5.13334664483897E-10 kg | 5.13334664483897E-10 kg | |||
| Elementary flow | Emissions / Emissions to water / Emissions to fresh water | 1.89099049104385E-14 kg | 1.89099049104385E-14 kg | |||
| Elementary flow | Emissions / Emissions to air / Emissions to air, unspecified | 5.61279773922903E-12 kg | 5.61279773922903E-12 kg | |||
| Elementary flow | Emissions / Emissions to air / Emissions to non-urban air or from high stacks | 4.99488534289602E-14 kg | 4.99488534289602E-14 kg | |||
| Elementary flow | Emissions / Emissions to water / Emissions to water, unspecified (long-term) | 3.5211808925835E-5 kg | 3.5211808925835E-5 kg | |||
| Elementary flow | Emissions / Emissions to soil / Emissions to non-agricultural soil | 4.97341527453967E-18 kg | 4.97341527453967E-18 kg | |||
| Elementary flow | Emissions / Emissions to soil / Emissions to agricultural soil | 6.11965984502247E-13 kg | 6.11965984502247E-13 kg | |||
| Elementary flow | Emissions / Emissions to soil / Emissions to agricultural soil | 4.33988636373344E-20 kg | 4.33988636373344E-20 kg | |||
| Elementary flow | Emissions / Emissions to soil / Emissions to agricultural soil | 1.35102297219357E-13 kg | 1.35102297219357E-13 kg | |||
| Elementary flow | Emissions / Emissions to soil / Emissions to agricultural soil | 6.01574907354979E-16 kg | 6.01574907354979E-16 kg | |||
| Elementary flow | Emissions / Emissions to air / Emissions to air, unspecified | 2.81540888195968E-14 kg | 2.81540888195968E-14 kg | |||
| Elementary flow | Emissions / Emissions to air / Emissions to air, unspecified | 1.25889227582474E-17 kg | 1.25889227582474E-17 kg | |||
| Elementary flow | Emissions / Emissions to soil / Emissions to agricultural soil | 1.6686320609814E-11 kg | 1.6686320609814E-11 kg | |||
| Elementary flow | Emissions / Emissions to water / Emissions to fresh water | 3.39936686070081E-16 kg | 3.39936686070081E-16 kg | |||
| Elementary flow | Emissions / Emissions to water / Emissions to fresh water | 6.08700264057497E-8 kg | 6.08700264057497E-8 kg | |||
| Elementary flow | Emissions / Emissions to soil / Emissions to non-agricultural soil | 5.3634808113632E-14 kg | 5.3634808113632E-14 kg | |||
| Elementary flow | Emissions / Emissions to air / Emissions to air, unspecified | 1.96444397288975E-11 kBq | 1.96444397288975E-11 kBq | |||
| Elementary flow | Emissions / Emissions to air / Emissions to air, unspecified | 3.39863963934542E-7 kg | 3.39863963934542E-7 kg | |||
| Elementary flow | Emissions / Emissions to water / Emissions to fresh water | 3.8940012541561E-12 kg | 3.8940012541561E-12 kg | |||
| Elementary flow | Emissions / Emissions to soil / Emissions to agricultural soil | 6.89914688422386E-11 kg | 6.89914688422386E-11 kg | |||
| Elementary flow | Emissions / Emissions to air / Emissions to air, unspecified | 8.78957683752301E-12 kg | 8.78957683752301E-12 kg | |||
| Elementary flow | Emissions / Emissions to air / Emissions to air, unspecified | 1.08884160661304E-9 kg | 1.08884160661304E-9 kg | |||
| Elementary flow | Emissions / Emissions to soil / Emissions to agricultural soil | 5.62694373167478E-11 kg | 5.62694373167478E-11 kg | |||
| Elementary flow | Emissions / Emissions to water / Emissions to fresh water | 5.50980278011386E-5 m3 | 5.50980278011386E-5 m3 | |||
| Elementary flow | Emissions / Emissions to water / Emissions to fresh water | 1.25827222004795E-7 kBq | 1.25827222004795E-7 kBq | |||
| Elementary flow | Emissions / Emissions to water / Emissions to fresh water | 4.37772145674347E-13 kg | 4.37772145674347E-13 kg | |||
| Elementary flow | Emissions / Emissions to soil / Emissions to agricultural soil | 3.15326960318655E-10 kg | 3.15326960318655E-10 kg | |||
| Elementary flow | Emissions / Emissions to water / Emissions to fresh water | 3.58777836607377E-10 m3 | 3.58777836607377E-10 m3 | |||
| Elementary flow | Emissions / Emissions to soil / Emissions to agricultural soil | 4.55497099214413E-11 kg | 4.55497099214413E-11 kg | |||
| Elementary flow | Emissions / Emissions to air / Emissions to urban air close to ground | 7.7432363307867E-9 kg | 7.7432363307867E-9 kg | |||
| Elementary flow | Emissions / Emissions to air / Emissions to air, unspecified | 1.72668723232158E-10 kg | 1.72668723232158E-10 kg | |||
| Elementary flow | Emissions / Emissions to air / Emissions to air, unspecified | 9.70221396627254E-14 kg | 9.70221396627254E-14 kg | |||
| Elementary flow | Emissions / Emissions to water / Emissions to fresh water | 5.07313843802216E-10 kg | 5.07313843802216E-10 kg | |||
| Elementary flow | Emissions / Emissions to soil / Emissions to agricultural soil | 1.58213589920075E-19 kg | 1.58213589920075E-19 kg | |||
| Elementary flow | Emissions / Emissions to soil / Emissions to agricultural soil | 1.31811188787879E-16 kg | 1.31811188787879E-16 kg | |||
| Elementary flow | Emissions / Emissions to air / Emissions to air, unspecified | 3.05289542010925E-11 kg | 3.05289542010925E-11 kg | |||
| Elementary flow | Emissions / Emissions to water / Emissions to fresh water | 1.00860800612201E-9 m3 | 1.00860800612201E-9 m3 | |||
| Elementary flow | Emissions / Emissions to water / Emissions to fresh water | 1.53559585467145E-18 kg | 1.53559585467145E-18 kg | |||
| Elementary flow | Emissions / Emissions to water / Emissions to fresh water | 1.41898448586264E-12 kg | 1.41898448586264E-12 kg | |||
| Elementary flow | Emissions / Emissions to water / Emissions to water, unspecified | 9.04297013804949E-16 kg | 9.04297013804949E-16 kg | |||
| Elementary flow | Emissions / Emissions to soil / Emissions to agricultural soil | 5.17480740969253E-11 kg | 5.17480740969253E-11 kg | |||
| Elementary flow | Emissions / Emissions to air / Emissions to air, unspecified | 2.22218745473547E-8 kg | 2.22218745473547E-8 kg | |||
| Elementary flow | Emissions / Emissions to soil / Emissions to agricultural soil | 1.59725359712656E-12 kg | 1.59725359712656E-12 kg | |||
| Elementary flow | Emissions / Emissions to water / Emissions to fresh water | 1.73871350447853E-16 kg | 1.73871350447853E-16 kg | |||
| Elementary flow | Emissions / Emissions to water / Emissions to fresh water | 2.02807842757447E-7 m3 | 2.02807842757447E-7 m3 | |||
| Elementary flow | Emissions / Emissions to water / Emissions to fresh water | 5.19454005974628E-12 kg | 5.19454005974628E-12 kg | |||
| Elementary flow | Emissions / Emissions to water / Emissions to fresh water | -9.96649254480162E-18 kg | -9.96649254480162E-18 kg | |||
| Elementary flow | Emissions / Emissions to water / Emissions to fresh water | 7.86854220868033E-8 m3 | 7.86854220868033E-8 m3 | |||
| Elementary flow | Emissions / Emissions to water / Emissions to fresh water | 1.03109634523093E-5 m3 | 1.03109634523093E-5 m3 | |||
| Elementary flow | Emissions / Emissions to air / Emissions to air, unspecified | 7.35170382376126E-12 kg | 7.35170382376126E-12 kg | |||
| Elementary flow | Emissions / Emissions to water / Emissions to fresh water | 6.44366384888932E-10 m3 | 6.44366384888932E-10 m3 | |||
| Elementary flow | Emissions / Emissions to water / Emissions to fresh water | 3.63455818009042E-10 m3 | 3.63455818009042E-10 m3 | |||
| Elementary flow | Emissions / Emissions to water / Emissions to sea water | 4.61240171554808E-12 kg | 4.61240171554808E-12 kg | |||
| Elementary flow | Emissions / Emissions to water / Emissions to fresh water | 5.61084520199744E-6 m3 | 5.61084520199744E-6 m3 | |||
| Elementary flow | Emissions / Emissions to soil / Emissions to agricultural soil | 8.03060678054801E-13 kg | 8.03060678054801E-13 kg | |||
| Elementary flow | Emissions / Emissions to water / Emissions to sea water | 1.89327339256189E-12 kg | 1.89327339256189E-12 kg | |||
| Elementary flow | Emissions / Emissions to air / Emissions to air, unspecified | 1.387229486904E-7 kg | 1.387229486904E-7 kg | |||
| Elementary flow | Emissions / Emissions to soil / Emissions to non-agricultural soil | 1.73882399671503E-13 kg | 1.73882399671503E-13 kg | |||
| Elementary flow | Emissions / Emissions to air / Emissions to air, unspecified | 8.44957888597423E-26 kg | 8.44957888597423E-26 kg | |||
| Elementary flow | Emissions / Emissions to air / Emissions to air, unspecified | 0.0169212451034662 kBq | 0.0169212451034662 kBq | |||
| Elementary flow | Emissions / Emissions to water / Emissions to water, unspecified (long-term) | 1.21920552673253E-4 kg | 1.21920552673253E-4 kg | |||
| Elementary flow | Emissions / Emissions to water / Emissions to water, unspecified | 3.67954260451104E-21 kg | 3.67954260451104E-21 kg | |||
| Elementary flow | Emissions / Emissions to air / Emissions to air, unspecified | 1.82578388536025E-13 kg | 1.82578388536025E-13 kg | |||
| Elementary flow | Emissions / Emissions to water / Emissions to fresh water | 8.13512047467072E-14 kg | 8.13512047467072E-14 kg | |||
| Elementary flow | Emissions / Emissions to air / Emissions to air, unspecified | 1.28363535881455E-14 kg | 1.28363535881455E-14 kg | |||
| Elementary flow | Emissions / Emissions to soil / Emissions to agricultural soil | 5.03230279436949E-13 kg | 5.03230279436949E-13 kg | |||
| Elementary flow | Emissions / Emissions to water / Emissions to sea water | 7.3209762074706E-22 kg | 7.3209762074706E-22 kg | |||
| Elementary flow | Emissions / Emissions to air / Emissions to non-urban air or from high stacks | 8.44579121671351E-9 kg | 8.44579121671351E-9 kg | |||
| Elementary flow | Emissions / Emissions to water / Emissions to fresh water | 1.82504549667748E-12 kg | 1.82504549667748E-12 kg | |||
| Elementary flow | Emissions / Emissions to water / Emissions to water, unspecified (long-term) | 1.56834889242992E-7 kg | 1.56834889242992E-7 kg | |||
| Elementary flow | Emissions / Emissions to soil / Emissions to non-agricultural soil | 3.53734382773817E-6 kg | 3.53734382773817E-6 kg | |||
| Elementary flow | Emissions / Emissions to water / Emissions to fresh water | 3.7791261964887E-5 m3 | 3.7791261964887E-5 m3 | |||
| Elementary flow | Emissions / Emissions to soil / Emissions to agricultural soil | 4.24327970934872E-8 kg | 4.24327970934872E-8 kg | |||
| Elementary flow | Emissions / Emissions to air / Emissions to non-urban air or from high stacks | 1.06378602330366E-13 kg | 1.06378602330366E-13 kg | |||
| Elementary flow | Emissions / Emissions to water / Emissions to water, unspecified | 2.39902575446714E-19 kg | 2.39902575446714E-19 kg | |||
| Elementary flow | Emissions / Emissions to air / Emissions to non-urban air or from high stacks | 7.9421085984711E-11 kg | 7.9421085984711E-11 kg | |||
| Elementary flow | Emissions / Emissions to water / Emissions to fresh water | -1.09588722585324E-25 kg | -1.09588722585324E-25 kg | |||
| Elementary flow | Emissions / Emissions to soil / Emissions to agricultural soil | 5.95900191413454E-6 MJ | 5.95900191413454E-6 MJ | |||
| Elementary flow | Emissions / Emissions to air / Emissions to air, unspecified | 4.2096599318351E-10 kg | 4.2096599318351E-10 kg | |||
| Elementary flow | Emissions / Emissions to air / Emissions to air, unspecified | 8.14935558388979E-7 kg | 8.14935558388979E-7 kg | |||
| Elementary flow | Emissions / Emissions to water / Emissions to fresh water | 5.25865865032356E-16 kg | 5.25865865032356E-16 kg | |||
| Elementary flow | Emissions / Emissions to water / Emissions to fresh water | 3.19057058160823E-21 kg | 3.19057058160823E-21 kg | |||
| Elementary flow | Emissions / Emissions to water / Emissions to sea water | 1.4413729931007E-28 kg | 1.4413729931007E-28 kg | |||
| Elementary flow | Emissions / Emissions to water / Emissions to fresh water | 2.05709792418386E-11 kg | 2.05709792418386E-11 kg | |||
| Elementary flow | Emissions / Emissions to air / Emissions to non-urban air or from high stacks | 1.26328818352232E-6 kg | 1.26328818352232E-6 kg | |||
| Elementary flow | Emissions / Emissions to air / Emissions to non-urban air or from high stacks | 6.43148044565504E-16 kg | 6.43148044565504E-16 kg | |||
| Elementary flow | Emissions / Emissions to air / Emissions to air, unspecified | 8.08842890081605E-8 kg | 8.08842890081605E-8 kg | |||
| Elementary flow | Emissions / Emissions to air / Emissions to air, unspecified | 2.19721746290165E-11 kg | 2.19721746290165E-11 kg | |||
| Elementary flow | Emissions / Emissions to soil / Emissions to agricultural soil | 4.14152087003207E-15 kg | 4.14152087003207E-15 kg | |||
| Elementary flow | Emissions / Emissions to air / Emissions to air, unspecified | 6.95836713669642E-13 kg | 6.95836713669642E-13 kg | |||
| Elementary flow | Emissions / Emissions to air / Emissions to air, unspecified | 4.49026560888592E-18 kg | 4.49026560888592E-18 kg | |||
| Elementary flow | Emissions / Emissions to soil / Emissions to agricultural soil | 1.07207335228977E-15 kg | 1.07207335228977E-15 kg | |||
| Elementary flow | Emissions / Emissions to air / Emissions to air, unspecified | 4.5905763410598E-18 kg | 4.5905763410598E-18 kg | |||
| Elementary flow | Emissions / Emissions to soil / Emissions to agricultural soil | 9.27570123748253E-11 kg | 9.27570123748253E-11 kg | |||
| Elementary flow | Emissions / Emissions to water / Emissions to sea water | 3.21396403212364E-7 kBq | 3.21396403212364E-7 kBq | |||
| Elementary flow | Emissions / Emissions to water / Emissions to water, unspecified | 1.76460143115017E-7 kg | 1.76460143115017E-7 kg | |||
| Elementary flow | Emissions / Emissions to air / Emissions to air, unspecified | 2.20457553872259E-6 kBq | 2.20457553872259E-6 kBq | |||
| Elementary flow | Emissions / Emissions to water / Emissions to sea water | 1.42943265358577E-8 kg | 1.42943265358577E-8 kg | |||
| Elementary flow | Emissions / Emissions to air / Emissions to air, unspecified | 3.32748289835398E-8 kg | 3.32748289835398E-8 kg | |||
| Elementary flow | Emissions / Emissions to air / Emissions to air, unspecified | 1.7611539449514E-13 kg | 1.7611539449514E-13 kg | |||
| Elementary flow | Emissions / Emissions to soil / Emissions to agricultural soil | 4.26534306916308E-14 kg | 4.26534306916308E-14 kg | |||
| Elementary flow | Emissions / Emissions to air / Emissions to air, unspecified | 2.83370231489895E-12 kg | 2.83370231489895E-12 kg | |||
| Elementary flow | Emissions / Emissions to soil / Emissions to non-agricultural soil | 2.5050010136686E-5 kg | 2.5050010136686E-5 kg | |||
| Elementary flow | Emissions / Emissions to air / Emissions to air, unspecified | 1.51016277362752E-16 kg | 1.51016277362752E-16 kg | |||
| Elementary flow | Emissions / Emissions to air / Emissions to air, unspecified (long-term) | 3.31238370476589E-7 kg | 3.31238370476589E-7 kg | |||
| Elementary flow | Emissions / Emissions to air / Emissions to air, unspecified | 1.04790537517409E-5 kBq | 1.04790537517409E-5 kBq | |||
| Elementary flow | Emissions / Emissions to water / Emissions to fresh water | 2.22110960750481E-5 m3 | 2.22110960750481E-5 m3 | |||
| Elementary flow | Emissions / Emissions to soil / Emissions to agricultural soil | 5.65712164100139E-11 kg | 5.65712164100139E-11 kg | |||
| Elementary flow | Emissions / Emissions to air / Emissions to air, unspecified (long-term) | 6.8431033200045E-19 kg | 6.8431033200045E-19 kg | |||
| Elementary flow | Emissions / Emissions to water / Emissions to fresh water | 6.27657369264835E-4 kg | 6.27657369264835E-4 kg | |||
| Elementary flow | Emissions / Emissions to water / Emissions to water, unspecified | 1.91307383929281E-16 kg | 1.91307383929281E-16 kg | |||
| Elementary flow | Emissions / Emissions to soil / Emissions to agricultural soil | 9.36707122941785E-11 kg | 9.36707122941785E-11 kg | |||
| Elementary flow | Emissions / Emissions to soil / Emissions to agricultural soil | 1.06850993101909E-13 kg | 1.06850993101909E-13 kg | |||
| Elementary flow | Emissions / Emissions to air / Emissions to air, unspecified | 8.01296722571063E-13 kg | 8.01296722571063E-13 kg | |||
| Elementary flow | Emissions / Emissions to air / Emissions to air, unspecified | 2.09166427283499E-10 kg | 2.09166427283499E-10 kg | |||
| Elementary flow | Emissions / Emissions to soil / Emissions to agricultural soil | 3.68776752791611E-16 kg | 3.68776752791611E-16 kg | |||
| Waste flow | Wastes / Radioactive waste | 3.12992879875832E-7 kg | 3.12992879875832E-7 kg | |||
| Elementary flow | Emissions / Emissions to water / Emissions to sea water | 1.96697890580921E-10 kg | 1.96697890580921E-10 kg | |||
| Elementary flow | Emissions / Emissions to water / Emissions to water, unspecified | 6.22109258503187E-15 kg | 6.22109258503187E-15 kg | |||
| Elementary flow | Emissions / Emissions to water / Emissions to water, unspecified | 7.61797292429999E-17 kg | 7.61797292429999E-17 kg | |||
| Elementary flow | Emissions / Emissions to air / Emissions to non-urban air or from high stacks | 4.53329587985162E-15 kg | 4.53329587985162E-15 kg | |||
| Elementary flow | Emissions / Emissions to water / Emissions to fresh water | 1.01585597725783E-5 m3 | 1.01585597725783E-5 m3 | |||
| Elementary flow | Emissions / Emissions to soil / Emissions to agricultural soil | 1.36390786810556E-10 kg | 1.36390786810556E-10 kg | |||
| Elementary flow | Emissions / Emissions to air / Emissions to urban air close to ground | 2.1086009483777E-10 kg | 2.1086009483777E-10 kg | |||
| Elementary flow | Emissions / Emissions to water / Emissions to sea water | 6.22962016869506E-6 kg | 6.22962016869506E-6 kg | |||
| Elementary flow | Emissions / Emissions to water / Emissions to sea water | 3.67796685168184E-7 kg | 3.67796685168184E-7 kg | |||
| Elementary flow | Emissions / Emissions to soil / Emissions to non-agricultural soil | 1.84442146328832E-14 kg | 1.84442146328832E-14 kg | |||
| Elementary flow | Emissions / Emissions to soil / Emissions to agricultural soil | 3.2687515270967E-14 kg | 3.2687515270967E-14 kg | |||
| Elementary flow | Emissions / Emissions to water / Emissions to fresh water | 2.81872904678328E-16 kg | 2.81872904678328E-16 kg | |||
| Elementary flow | Emissions / Emissions to water / Emissions to fresh water | 9.68080940765436E-13 kg | 9.68080940765436E-13 kg | |||
| Elementary flow | Emissions / Emissions to soil / Emissions to agricultural soil | 2.59540155510031E-13 kg | 2.59540155510031E-13 kg | |||
| Elementary flow | Emissions / Emissions to water / Emissions to fresh water | 8.829356937631945E-9 m3 | 8.829356937631945E-9 m3 | |||
| Elementary flow | Emissions / Emissions to water / Emissions to fresh water | 1.24342593868086E-15 kg | 1.24342593868086E-15 kg | |||
| Elementary flow | Emissions / Emissions to water / Emissions to sea water | 2.29392276709182E-10 kg | 2.29392276709182E-10 kg | |||
| Elementary flow | Emissions / Emissions to air / Emissions to air, unspecified | -6.75779033213982E-8 kg | -6.75779033213982E-8 kg | |||
| Elementary flow | Emissions / Emissions to soil / Emissions to agricultural soil | 3.66672803929671E-11 kg | 3.66672803929671E-11 kg | |||
| Elementary flow | Emissions / Emissions to air / Emissions to air, unspecified | 1.75919587670246E-8 kg | 1.75919587670246E-8 kg | |||
| Elementary flow | Emissions / Emissions to water / Emissions to sea water | 1.38800904761379E-5 kg | 1.38800904761379E-5 kg | |||
| Elementary flow | Emissions / Emissions to air / Emissions to non-urban air or from high stacks | 9.40752494913472E-9 kg | 9.40752494913472E-9 kg | |||
| Elementary flow | Emissions / Emissions to water / Emissions to fresh water | 3.59207761084569E-6 kBq | 3.59207761084569E-6 kBq | |||
| Elementary flow | Emissions / Emissions to air / Emissions to air, unspecified | 8.16201332959513E-12 kg | 8.16201332959513E-12 kg | |||
| Elementary flow | Emissions / Emissions to soil / Emissions to agricultural soil | 6.36286213408071E-10 kg | 6.36286213408071E-10 kg | |||
| Elementary flow | Emissions / Emissions to water / Emissions to fresh water | 1.74302046961297E-6 kg | 1.74302046961297E-6 kg | |||
| Elementary flow | Emissions / Emissions to air / Emissions to air, unspecified | 2.95092387826462E-13 kg | 2.95092387826462E-13 kg | |||
| Elementary flow | Emissions / Emissions to water / Emissions to fresh water | 1.32365052028601E-15 kg | 1.32365052028601E-15 kg | |||
| Elementary flow | Emissions / Emissions to air / Emissions to air, unspecified | 9.33356819531552E-12 kg | 9.33356819531552E-12 kg | |||
| Elementary flow | Emissions / Emissions to air / Emissions to non-urban air or from high stacks | 5.22867635789445E-11 kg | 5.22867635789445E-11 kg | |||
| Elementary flow | Emissions / Emissions to water / Emissions to fresh water | 8.21677236056323E-7 m3 | 8.21677236056323E-7 m3 | |||
| Elementary flow | Emissions / Emissions to air / Emissions to air, unspecified | 2.45651602055354E-11 kg | 2.45651602055354E-11 kg | |||
| Elementary flow | Emissions / Emissions to air / Emissions to non-urban air or from high stacks | 8.1731883098715E-9 kg | 8.1731883098715E-9 kg | |||
| Elementary flow | Emissions / Emissions to water / Emissions to fresh water | 8.08032776289363E-8 kBq | 8.08032776289363E-8 kBq | |||
| Elementary flow | Emissions / Emissions to water / Emissions to fresh water | 3.86150119837448E-14 kg | 3.86150119837448E-14 kg | |||
| Elementary flow | Emissions / Emissions to air / Emissions to air, unspecified | 1.4111816007569E-13 kg | 1.4111816007569E-13 kg | |||
| Elementary flow | Emissions / Emissions to water / Emissions to water, unspecified | 5.53079886038419E-17 kg | 5.53079886038419E-17 kg | |||
| Elementary flow | Emissions / Emissions to water / Emissions to water, unspecified (long-term) | 7.87565713715818E-8 kg | 7.87565713715818E-8 kg | |||
| Elementary flow | Emissions / Emissions to air / Emissions to air, unspecified | 4.00564119073128E-14 kg | 4.00564119073128E-14 kg | |||
| Elementary flow | Emissions / Emissions to water / Emissions to fresh water | 1.24434328307598E-13 kg | 1.24434328307598E-13 kg | |||
| Elementary flow | Emissions / Emissions to water / Emissions to fresh water | 1.13533876813173E-15 kg | 1.13533876813173E-15 kg | |||
| Elementary flow | Emissions / Emissions to soil / Emissions to agricultural soil | 3.17528119610475E-12 kg | 3.17528119610475E-12 kg | |||
| Elementary flow | Emissions / Emissions to water / Emissions to fresh water | 8.15518455083794E-13 kg | 8.15518455083794E-13 kg | |||
| Elementary flow | Emissions / Emissions to water / Emissions to water, unspecified | 2.86091249532987E-16 kg | 2.86091249532987E-16 kg | |||
| Elementary flow | Emissions / Emissions to air / Emissions to air, unspecified | 2.46217636008435E-18 kg | 2.46217636008435E-18 kg | |||
| Elementary flow | Emissions / Emissions to water / Emissions to water, unspecified | 1.90663347734145E-16 kg | 1.90663347734145E-16 kg | |||
| Elementary flow | Emissions / Emissions to air / Emissions to air, unspecified | 5.89495805429969E-13 kg | 5.89495805429969E-13 kg | |||
| Elementary flow | Emissions / Emissions to air / Emissions to air, unspecified (long-term) | 7.25961687076372E-8 kg | 7.25961687076372E-8 kg | |||
| Elementary flow | Emissions / Emissions to air / Emissions to air, unspecified | 2.75969544503366E-15 kg | 2.75969544503366E-15 kg | |||
| Elementary flow | Emissions / Emissions to water / Emissions to fresh water | 1.88081510052096E-16 kg | 1.88081510052096E-16 kg | |||
| Elementary flow | Emissions / Emissions to air / Emissions to air, unspecified | 4.79084976615619E-13 kg | 4.79084976615619E-13 kg | |||
| Elementary flow | Emissions / Emissions to soil / Emissions to agricultural soil | 2.37053575541812E-13 kg | 2.37053575541812E-13 kg | |||
| Elementary flow | Emissions / Emissions to air / Emissions to air, unspecified | 1.93754466070403E-12 kg | 1.93754466070403E-12 kg | |||
| Elementary flow | Emissions / Emissions to air / Emissions to urban air close to ground | 3.924357993466E-12 kg | 3.924357993466E-12 kg | |||
| Elementary flow | Emissions / Emissions to water / Emissions to sea water | 2.32054447674409E-7 kg | 2.32054447674409E-7 kg | |||
| Elementary flow | Emissions / Emissions to soil / Emissions to agricultural soil | 5.69548281000375E-10 kg | 5.69548281000375E-10 kg | |||
| Elementary flow | Emissions / Emissions to water / Emissions to fresh water | 7.80691432721732E-5 kg | 7.80691432721732E-5 kg | |||
| Elementary flow | Emissions / Emissions to water / Emissions to fresh water | 8.27540766329992E-6 kBq | 8.27540766329992E-6 kBq | |||
| Elementary flow | Emissions / Emissions to water / Emissions to fresh water | 1.91447361859575E-8 m3 | 1.91447361859575E-8 m3 | |||
| Elementary flow | Emissions / Emissions to water / Emissions to fresh water | 3.90868169625205E-7 m3 | 3.90868169625205E-7 m3 | |||
| Elementary flow | Emissions / Emissions to air / Emissions to air, unspecified | 8.9265443144032E-5 m3 | 8.9265443144032E-5 m3 | |||
| Elementary flow | Emissions / Emissions to soil / Emissions to agricultural soil | 2.98559573712511E-12 kg | 2.98559573712511E-12 kg | |||
| Elementary flow | Emissions / Emissions to air / Emissions to air, unspecified (long-term) | 8.36757310946253E-7 kg | 8.36757310946253E-7 kg | |||
| Elementary flow | Emissions / Emissions to water / Emissions to fresh water | 8.68836385774805E-19 kg | 8.68836385774805E-19 kg | |||
| Elementary flow | Emissions / Emissions to soil / Emissions to agricultural soil | 4.57941388358308E-14 kg | 4.57941388358308E-14 kg | |||
| Elementary flow | Emissions / Emissions to air / Emissions to urban air close to ground | 1.9758194304118E-13 kg | 1.9758194304118E-13 kg | |||
| Elementary flow | Emissions / Emissions to soil / Emissions to agricultural soil | 5.38899289734013E-10 kg | 5.38899289734013E-10 kg | |||
| Elementary flow | Emissions / Emissions to air / Emissions to air, unspecified | 1.17731153996694E-13 kg | 1.17731153996694E-13 kg | |||
| Elementary flow | Emissions / Emissions to water / Emissions to fresh water | 1.00601694451844E-10 m3 | 1.00601694451844E-10 m3 | |||
| Elementary flow | Emissions / Emissions to water / Emissions to fresh water | 0.00220292490276849 kg | 0.00220292490276849 kg | |||
| Elementary flow | Emissions / Emissions to soil / Emissions to non-agricultural soil | 2.11474543682996E-14 kg | 2.11474543682996E-14 kg | |||
| Elementary flow | Emissions / Emissions to water / Emissions to fresh water | 6.49690082053581E-13 kg | 6.49690082053581E-13 kg | |||
| Elementary flow | Emissions / Emissions to soil / Emissions to non-agricultural soil | 2.90938247446813E-9 kg | 2.90938247446813E-9 kg | |||
| Elementary flow | Emissions / Emissions to soil / Emissions to non-agricultural soil | 2.17032474448366E-13 kg | 2.17032474448366E-13 kg | |||
| Elementary flow | Emissions / Emissions to soil / Emissions to non-agricultural soil | 6.14616529848555E-11 kg | 6.14616529848555E-11 kg | |||
| Elementary flow | Emissions / Emissions to air / Emissions to urban air close to ground | 1.53355416783752E-12 kg | 1.53355416783752E-12 kg | |||
| Waste flow | Wastes / Other waste | 3.89937996154222E-4 kg | 3.89937996154222E-4 kg | |||
| Elementary flow | Emissions / Emissions to water / Emissions to fresh water | -3.08598647632876E-21 kg | -3.08598647632876E-21 kg | |||
| Elementary flow | Emissions / Emissions to air / Emissions to air, unspecified (long-term) | 1.37888452881487E-9 kg | 1.37888452881487E-9 kg | |||
| Elementary flow | Emissions / Emissions to soil / Emissions to non-agricultural soil | 6.86563043603525E-18 kg | 6.86563043603525E-18 kg | |||
| Elementary flow | Emissions / Emissions to water / Emissions to water, unspecified | 8.56289221749751E-18 kg | 8.56289221749751E-18 kg | |||
| Elementary flow | Emissions / Emissions to water / Emissions to water, unspecified (long-term) | 0.00140264768278277 MJ | 0.00140264768278277 MJ | |||
| Elementary flow | Emissions / Emissions to water / Emissions to fresh water | 6.10321646364158E-11 kg | 6.10321646364158E-11 kg | |||
| Elementary flow | Emissions / Emissions to water / Emissions to fresh water | 2.52932083542399E-6 kg | 2.52932083542399E-6 kg | |||
| Waste flow | Wastes / Other waste | 2.99832301901517E-13 kg | 2.99832301901517E-13 kg | |||
| Elementary flow | Emissions / Emissions to air / Emissions to air, unspecified | 2.08290226495578E-13 kg | 2.08290226495578E-13 kg | |||
| Elementary flow | Emissions / Emissions to water / Emissions to fresh water | 4.75925392857019E-7 m3 | 4.75925392857019E-7 m3 | |||
| Elementary flow | Emissions / Emissions to water / Emissions to fresh water | 2.02144277756534E-9 kg | 2.02144277756534E-9 kg | |||
| Elementary flow | Emissions / Emissions to water / Emissions to fresh water | 5.30774122328775E-18 kg | 5.30774122328775E-18 kg | |||
| Elementary flow | Emissions / Emissions to air / Emissions to non-urban air or from high stacks | 1.48199318484316E-9 kg | 1.48199318484316E-9 kg | |||
| Elementary flow | Emissions / Emissions to air / Emissions to air, unspecified | 1.27265025557384E-11 kg | 1.27265025557384E-11 kg | |||
| Elementary flow | Emissions / Emissions to soil / Emissions to agricultural soil | 5.71033809017843E-18 kg | 5.71033809017843E-18 kg | |||
| Elementary flow | Emissions / Emissions to soil / Emissions to agricultural soil | 2.6872053207965E-12 kg | 2.6872053207965E-12 kg | |||
| Elementary flow | Emissions / Emissions to water / Emissions to water, unspecified (long-term) | 4.80187417612945E-4 kg | 4.80187417612945E-4 kg | |||
| Elementary flow | Emissions / Emissions to air / Emissions to air, unspecified | 4.71743275326722E-22 kg | 4.71743275326722E-22 kg | |||
| Elementary flow | Emissions / Emissions to water / Emissions to water, unspecified (long-term) | 6.13456281007729E-5 kg | 6.13456281007729E-5 kg | |||
| Elementary flow | Emissions / Emissions to water / Emissions to water, unspecified (long-term) | 1.63688296000619E-7 kg | 1.63688296000619E-7 kg | |||
| Elementary flow | Emissions / Emissions to air / Emissions to non-urban air or from high stacks | 1.11715101612097E-15 kg | 1.11715101612097E-15 kg | |||
| Elementary flow | Emissions / Emissions to air / Emissions to air, unspecified | 3.03738985522459E-7 kg | 3.03738985522459E-7 kg | |||
| Elementary flow | Emissions / Emissions to soil / Emissions to agricultural soil | 2.89933910955167E-14 kg | 2.89933910955167E-14 kg | |||
| Elementary flow | Emissions / Emissions to air / Emissions to air, unspecified | 4.37703026780703E-6 kBq | 4.37703026780703E-6 kBq | |||
| Elementary flow | Emissions / Emissions to soil / Emissions to non-agricultural soil | 2.13038237683186E-8 kg | 2.13038237683186E-8 kg | |||
| Elementary flow | Emissions / Emissions to water / Emissions to water, unspecified (long-term) | 0.00104256927848007 kg | 0.00104256927848007 kg | |||
| Elementary flow | Emissions / Emissions to water / Emissions to sea water | 5.26860121738025E-6 kBq | 5.26860121738025E-6 kBq | |||
| Elementary flow | Emissions / Emissions to water / Emissions to fresh water | 1.44287073425356E-4 m3 | 1.44287073425356E-4 m3 | |||
| Elementary flow | Emissions / Emissions to water / Emissions to fresh water | 3.85321293047932E-5 kBq | 3.85321293047932E-5 kBq | |||
| Elementary flow | Emissions / Emissions to water / Emissions to water, unspecified (long-term) | 5.69091166867617E-6 kg | 5.69091166867617E-6 kg | |||
| Elementary flow | Emissions / Emissions to air / Emissions to air, unspecified | 5.17623096426973E-10 kg | 5.17623096426973E-10 kg | |||
| Waste flow | Wastes / Radioactive waste | 1.58891783716431E-7 kg | 1.58891783716431E-7 kg | |||
| Elementary flow | Emissions / Emissions to soil / Emissions to agricultural soil | 7.62499203200553E-15 kg | 7.62499203200553E-15 kg | |||
| Elementary flow | Emissions / Emissions to soil / Emissions to agricultural soil | 5.15296454599028E-11 kg | 5.15296454599028E-11 kg | |||
| Elementary flow | Emissions / Emissions to air / Emissions to air, unspecified | 3.50563947108256E-7 kg | 3.50563947108256E-7 kg | |||
| Elementary flow | Emissions / Emissions to air / Emissions to non-urban air or from high stacks | 7.7414831240843E-10 kg | 7.7414831240843E-10 kg | |||
| Elementary flow | Emissions / Emissions to soil / Emissions to non-agricultural soil | 1.81978345767503E-14 kg | 1.81978345767503E-14 kg | |||
| Elementary flow | Emissions / Emissions to air / Emissions to urban air close to ground | 2.1168180488514E-10 kg | 2.1168180488514E-10 kg | |||
| Elementary flow | Emissions / Emissions to air / Emissions to air, unspecified | 1.45857803987337E-9 kBq | 1.45857803987337E-9 kBq | |||
| Elementary flow | Emissions / Emissions to water / Emissions to sea water | -4.10866466591944E-21 kg | -4.10866466591944E-21 kg | |||
| Elementary flow | Emissions / Emissions to water / Emissions to fresh water | 2.09447795078778E-8 m3 | 2.09447795078778E-8 m3 | |||
| Elementary flow | Emissions / Emissions to water / Emissions to sea water | 1.29381609360351E-18 kg | 1.29381609360351E-18 kg | |||
| Elementary flow | Emissions / Emissions to water / Emissions to sea water | 2.26844749967599E-11 kg | 2.26844749967599E-11 kg | |||
| Elementary flow | Emissions / Emissions to air / Emissions to non-urban air or from high stacks | 1.52162631077355E-10 kg | 1.52162631077355E-10 kg | |||
| Elementary flow | Emissions / Emissions to soil / Emissions to non-agricultural soil | 8.29351976653065E-16 kg | 8.29351976653065E-16 kg | |||
| Elementary flow | Emissions / Emissions to water / Emissions to water, unspecified | 9.41273606130953E-20 kg | 9.41273606130953E-20 kg | |||
| Elementary flow | Emissions / Emissions to air / Emissions to urban air close to ground | 4.299044181944E-13 kg | 4.299044181944E-13 kg | |||
| Elementary flow | Emissions / Emissions to air / Emissions to air, unspecified | 1.69433199272052E-13 kg | 1.69433199272052E-13 kg | |||
| Elementary flow | Emissions / Emissions to water / Emissions to fresh water | 1.92213577872274E-6 kg | 1.92213577872274E-6 kg | |||
| Elementary flow | Emissions / Emissions to air / Emissions to air, unspecified | 1.20812517560734E-12 kg | 1.20812517560734E-12 kg | |||
| Elementary flow | Emissions / Emissions to air / Emissions to air, unspecified | 9.92231252986868E-12 kg | 9.92231252986868E-12 kg | |||
| Elementary flow | Emissions / Emissions to air / Emissions to air, unspecified | 8.37161872099543E-24 kg | 8.37161872099543E-24 kg | |||
| Elementary flow | Emissions / Emissions to water / Emissions to water, unspecified | 9.34600095884898E-14 kg | 9.34600095884898E-14 kg | |||
| Elementary flow | Emissions / Emissions to water / Emissions to fresh water | 4.98713898754388E-7 m3 | 4.98713898754388E-7 m3 | |||
| Elementary flow | Emissions / Emissions to water / Emissions to sea water | 4.94374136038777E-19 kg | 4.94374136038777E-19 kg | |||
| Elementary flow | Emissions / Emissions to water / Emissions to fresh water | 6.1586479569867E-16 kg | 6.1586479569867E-16 kg | |||
| Elementary flow | Emissions / Emissions to air / Emissions to lower stratosphere and upper troposphere | 1.49307296219947E-12 kg | 1.49307296219947E-12 kg | |||
| Elementary flow | Emissions / Emissions to air / Emissions to air, unspecified | 2.97234488269925E-11 kg | 2.97234488269925E-11 kg | |||
| Elementary flow | Emissions / Emissions to water / Emissions to fresh water | -7.49425275371285E-16 kg | -7.49425275371285E-16 kg | |||
| Elementary flow | Emissions / Emissions to air / Emissions to air, unspecified | 5.465475327992089E-8 kg | 5.465475327992089E-8 kg | |||
| Elementary flow | Emissions / Emissions to water / Emissions to water, unspecified | 1.85396973261018E-13 kg | 1.85396973261018E-13 kg | |||
| Elementary flow | Emissions / Emissions to water / Emissions to fresh water | 3.61528150594407E-9 kg | 3.61528150594407E-9 kg | |||
| Elementary flow | Emissions / Emissions to air / Emissions to air, unspecified | 1.51880523199023E-14 kg | 1.51880523199023E-14 kg | |||
| Elementary flow | Emissions / Emissions to water / Emissions to fresh water | 3.30817570421616E-13 kg | 3.30817570421616E-13 kg | |||
| Elementary flow | Emissions / Emissions to water / Emissions to water, unspecified | 1.64912542711901E-15 kg | 1.64912542711901E-15 kg | |||
| Elementary flow | Emissions / Emissions to air / Emissions to air, unspecified (long-term) | 1.15975516324335E-9 kg | 1.15975516324335E-9 kg | |||
| Elementary flow | Emissions / Emissions to water / Emissions to fresh water | 6.57128813603414E-18 kg | 6.57128813603414E-18 kg | |||
| Elementary flow | Emissions / Emissions to air / Emissions to air, unspecified | 4.07396090083794E-9 kg | 4.07396090083794E-9 kg | |||
| Elementary flow | Emissions / Emissions to water / Emissions to fresh water | 1.37156896196967E-9 kg | 1.37156896196967E-9 kg | |||
| Elementary flow | Emissions / Emissions to air / Emissions to air, unspecified | 2.45276675703011E-14 kg | 2.45276675703011E-14 kg | |||
| Elementary flow | Emissions / Emissions to water / Emissions to fresh water | 2.32169709177841E-5 kg | 2.32169709177841E-5 kg | |||
| Elementary flow | Emissions / Emissions to water / Emissions to fresh water | 1.1736978596928E-8 m3 | 1.1736978596928E-8 m3 | |||
| Elementary flow | Emissions / Emissions to soil / Emissions to non-agricultural soil | 8.73567697851154E-7 kg | 8.73567697851154E-7 kg | |||
| Elementary flow | Emissions / Emissions to air / Emissions to air, unspecified | 4.74669662728979E-7 kg | 4.74669662728979E-7 kg | |||
| Elementary flow | Emissions / Emissions to water / Emissions to fresh water | 7.22281038876302E-19 kg | 7.22281038876302E-19 kg | |||
| Elementary flow | Emissions / Emissions to water / Emissions to fresh water | 4.33882924962649E-10 m3 | 4.33882924962649E-10 m3 | |||
| Elementary flow | Emissions / Emissions to soil / Emissions to agricultural soil | 6.3144461872022E-11 kg | 6.3144461872022E-11 kg | |||
| Elementary flow | Emissions / Emissions to water / Emissions to water, unspecified | 3.71287867101589E-24 kg | 3.71287867101589E-24 kg | |||
| Elementary flow | Emissions / Emissions to soil / Emissions to agricultural soil | 5.65380999917761E-15 kg | 5.65380999917761E-15 kg | |||
| Elementary flow | Emissions / Emissions to air / Emissions to air, unspecified | 3.34506828046927E-13 kg | 3.34506828046927E-13 kg | |||
| Elementary flow | Emissions / Emissions to water / Emissions to fresh water | 4.31035625907366E-12 kg | 4.31035625907366E-12 kg | |||
| Elementary flow | Emissions / Emissions to soil / Emissions to non-agricultural soil | 1.25011146716548E-15 kg | 1.25011146716548E-15 kg | |||
| Elementary flow | Emissions / Emissions to water / Emissions to fresh water | 1.62809473540125E-17 kg | 1.62809473540125E-17 kg | |||
| Elementary flow | Emissions / Emissions to water / Emissions to fresh water | 1.77095297583745E-22 kg | 1.77095297583745E-22 kg | |||
| Elementary flow | Emissions / Emissions to air / Emissions to air, unspecified | 2.58207295580961E-14 kg | 2.58207295580961E-14 kg | |||
| Elementary flow | Emissions / Emissions to air / Emissions to air, unspecified | 4.45049385019618E-6 kBq | 4.45049385019618E-6 kBq | |||
| Elementary flow | Emissions / Emissions to air / Emissions to air, unspecified | 1.95463812770054E-5 kg | 1.95463812770054E-5 kg | |||
| Elementary flow | Emissions / Emissions to water / Emissions to fresh water | 8.53593592350586E-13 kg | 8.53593592350586E-13 kg | |||
| Elementary flow | Emissions / Emissions to soil / Emissions to agricultural soil | 2.57000569484287E-14 kg | 2.57000569484287E-14 kg | |||
| Elementary flow | Emissions / Emissions to air / Emissions to air, unspecified | 1.52234431785813E-6 kg | 1.52234431785813E-6 kg | |||
| Elementary flow | Emissions / Emissions to soil / Emissions to agricultural soil | 1.48244096794288E-7 kg | 1.48244096794288E-7 kg | |||
| Elementary flow | Emissions / Emissions to soil / Emissions to agricultural soil | 2.17455587126583E-14 kg | 2.17455587126583E-14 kg | |||
| Elementary flow | Emissions / Emissions to water / Emissions to fresh water | 4.16606606069438E-11 kg | 4.16606606069438E-11 kg | |||
| Elementary flow | Emissions / Emissions to air / Emissions to air, unspecified | 1.24036875719554E-10 kg | 1.24036875719554E-10 kg | |||
| Elementary flow | Emissions / Emissions to soil / Emissions to agricultural soil | 6.38243555770293E-13 kg | 6.38243555770293E-13 kg | |||
| Elementary flow | Emissions / Emissions to water / Emissions to fresh water | 8.02272096341578E-16 kg | 8.02272096341578E-16 kg | |||
| Elementary flow | Emissions / Emissions to air / Emissions to air, unspecified | 3.56982125285015E-19 kg | 3.56982125285015E-19 kg | |||
| Elementary flow | Emissions / Emissions to soil / Emissions to non-agricultural soil | 3.56610215189707E-15 kg | 3.56610215189707E-15 kg | |||
| Elementary flow | Emissions / Emissions to water / Emissions to fresh water | 6.22514621745043E-18 kg | 6.22514621745043E-18 kg | |||
| Elementary flow | Emissions / Emissions to air / Emissions to air, unspecified (long-term) | 2.08932992295803E-10 kg | 2.08932992295803E-10 kg | |||
| Elementary flow | Emissions / Emissions to water / Emissions to sea water | 1.52401720294096E-7 kg | 1.52401720294096E-7 kg | |||
| Elementary flow | Emissions / Emissions to water / Emissions to fresh water | 3.6464849683379E-6 m3 | 3.6464849683379E-6 m3 | |||
| Elementary flow | Emissions / Emissions to water / Emissions to fresh water | 1.6648138531351E-12 kg | 1.6648138531351E-12 kg | |||
| Elementary flow | Emissions / Emissions to soil / Emissions to non-agricultural soil | 3.00163203268611E-9 kg | 3.00163203268611E-9 kg | |||
| Elementary flow | Emissions / Emissions to air / Emissions to air, unspecified | 1.04802235691385E-7 kg | 1.04802235691385E-7 kg | |||
| Waste flow | Wastes / Other waste | 5.82870509604583E-12 kg | 5.82870509604583E-12 kg | |||
| Elementary flow | Emissions / Emissions to air / Emissions to air, unspecified | 5.19567120934902E-5 kg | 5.19567120934902E-5 kg | |||
| Elementary flow | Emissions / Emissions to air / Emissions to air, unspecified | 5.98624473476866E-10 kBq | 5.98624473476866E-10 kBq | |||
| Elementary flow | Emissions / Emissions to water / Emissions to sea water | 3.63374139579054E-19 kg | 3.63374139579054E-19 kg | |||
| Elementary flow | Emissions / Emissions to air / Emissions to air, unspecified | 4.0042184632299E-13 kg | 4.0042184632299E-13 kg | |||
| Elementary flow | Emissions / Emissions to water / Emissions to fresh water | 5.81128666471595E-6 kBq | 5.81128666471595E-6 kBq | |||
| Elementary flow | Emissions / Emissions to soil / Emissions to agricultural soil | 1.99989323184043E-12 kg | 1.99989323184043E-12 kg |
| LCIA Method Data set | Mean amount | Unit | Kommentar |
|---|---|---|---|
|
0.00315674356106634
| mol H+ equivalents | ||
|
0.424865445299206
| kg CO2 Equivalents | ||
|
2.62939005978582E-4
| kg CO2-Equivalents | ||
|
0.424449474920413
| kg CO2 Equivalents | ||
|
1.53031372813642E-4
| kg CO2-Equivalents | ||
|
6.84634609953012E-9
| disease incidence | ||
|
8.08837438879996
| CTUe | ||
|
7.51208889151588
| CTUe | ||
|
0.57628549728411
| CTUe | ||
|
7.25312486898244E-4
| kg N equivalents | ||
|
5.22414229224281E-5
| kg P equivalents | ||
|
0.00789625272040335
| mol N equivalents | ||
|
1.80306917350205E-10
| CTUh | ||
|
1.40042734228448E-10
| CTUh | ||
|
4.02641831217567E-11
| CTUh | ||
|
3.0726227602641E-9
| CTUh | ||
|
2.87979735789162E-9
| CTUh | ||
|
1.9282540237248E-10
| CTUh | ||
|
0.248359333216724
| kBq U235 equivalents | ||
|
1.42267326662194
| dimensionless (pt) | ||
|
1.61770520040724E-7
| kg CFC11 equivalents | ||
|
0.0031658323297117
| kg NMVOC equivalents | ||
|
47.2504021861705
| MJ | ||
|
3.21625381460865E-7
| kg Sb equivalents | ||
|
0.39492747890799
| m3-world equivalents |